Матвеев А. А. - Модели и методы управления портфелями проектов
Настоящая работа содержит описание моделей и методов управления портфелями проектов. В работе рассматривается связь управления проектами со стратегическим планированием на основе портфельного управления. Приводятся математические модели управления портфелями проектов: оценки эффективности проектов, формирования портфеля проектов, планирования процесса реализации портфеля проектов, распределения ресурсов между проектами портфеля, оперативного управления портфелем проектов. Значительное внимание уделяется изучению практически важных случаев применения моделей и методов управления портфелями проектов в рамках существующих программных средств.
Работа рассчитана как на специалистов-теоретиков по управлению сложными системами, так и на руководителей реальных проектов.
Рецензент: д.т.н., профессор В.Н. Бурков
Введение
Руководителей любого уровня смущает, а иногда и раздражает противопоставление процессного и проектного подхода в управлении. И тот, и другой нацелен на достижение результата с помощью выполнения некоторого набора работ (действий). Но в процессном подходе действия совершаются до достижения результата, а содержание и технология (последовательность действий), как правило, не меняются. Так как процесс предполагает повторяемость и регулярность достижения результата, вероятность каких-то изменений минимальна. В проектном подходе и технология, и содержание работ может меняться, если результат недостижим или велика вероятность срыва графика. Кроме того, результаты предыдущих этапов могут стать основанием для разработки и изменения, не только графика, но и содержания последующих работ, что характерно для Hi-Teck проектов.
Если использовать эти подходы «грамотно», то они только дополняют и усиливают, а не исключают друг друга. Тем не менее, их совместное использование предполагает нацеленность действий на разные по своей природе объекты, например, на систему управления проектами для процессного подхода и на сами проекты для проектного. Возможных вариантов их совместного использования много. Каждый зависит от специфики проектов и организаций, их реализующих.
Любая организация, чтобы быть успешной на рынке, ставит перед собой стратегические цели обеспечения конкурентоспособности своих товаров, услуг, технологий и бизнес-процессов. Но, к сожалению, только около 20% стратегических инициатив руководства, которые призваны обеспечивать достижения этих целей, реализуются.
Переход от стратегии к конкретным тактикам и действиям исполнителей в проектах «пробуксовывает» из-за отсутствия регулярного механизма, того самого бизнес-процесса, который бы устанавливал нужные приоритеты. Эта проблема может быть 4
успешно решена в рамках управления портфелем проектов -набором проектов (не обязательно технологически зависимых), реализуемым организацией в условиях ресурсных ограничений и обеспечивающим достижение стратегических целей. Здесь при формировании портфеля удается учесть стратегические цели и расставить нужные приоритеты для проектов, пакетов работ и самих работ, используя процессный подход. А затем успешно реализовать включенную в портфель совокупность проектов, опять же используя оба подхода.
С другой стороны, если сама организация становится проектом, то проектный подход может успешно применяться к ее бизнес-процессам в силу ряда причин. В последнее время характерно сокращение времени изменения внешних по отношению к организации условий - начиная с макроэкономической обстановки и заканчивая требованиями потребителей и внутренними потребностями самой организации. То есть организация подвержена постоянным изменениям, и ей необходимо перестраивать свой бизнес, готовя к выпуску новые товары и т. д.
Современная концепция управления проектами (УП) заключается в идее создания организаций, развитие, изменение деятельности, а иногда и сама деятельность которых может быть представлена как совокупность различных проектов, обеспечивающих достижение именно в совокупности стратегических целей организации. Такие организации становятся более конкурентоспособными по отношению к вертикально интегрированным предприятиям с их функциональной организацией деятельности. Эта концепция ставит на одно из главных мест в системе управления предприятием так называемый офис управления проектами
(ОУП), который координирует работу подразделений, отвечающих за обеспечение проектов критическими ресурсами, руководствуясь при этом корпоративными стратегией и политикой. ОУП участвует в отборе проектов, помогает в простановке приоритетов в портфелях проектов и т.д.
Противоречия между потребностями отдельных проектов и портфеля проектов могут вызвать неразбериху в работе компании. Как правило, нечто подобное возникает, если ее высшее руководство не уделяет должного внимания формированию общих взглядов на цели компании, распределению приоритетов между проектами и доведению принятых стратегических инициатив до всех руководителей и исполнителей.
Существующие на сегодняшний день подходы и метод управления проектами не учитывают или решают не в полной мере перечисленные выше проблемы. Поэтому целью настоящей работы является разработка и исследование моделей и методов эффективного управления портфелями проектов для реализации стратегических целей организации.
В первой главе рассматриваются общие проблемы управления портфелями проектов. В том числе описаны современные проблемы управления проектами (раздел 1.1). Исследована ключевая для портфелей проектов взаимосвязь управления проектами со стратегическим планированием (раздел 1.2). Выявлена роль Офиса управления проектами в управлении портфелями проектов в организации (раздел 1.3). Обоснована возможность и целесообразность использования известных механизмов управления применительно к портфелям проектов. Проведен анализ применимости этих механизмов к задачам управления портфелями проектов, что позволило сформулировать актуальные задачи исследования - перечислить требующие разработки модели и методы (раздел 1.4).
Анализ специфики управления портфелями проектов и возможности использования известных механизмов управления дают основание сделать вывод, что актуальным является решение следующих задач:
- оценка проектов и хода их реализации с точки зрения достижения стратегических целей организации;
- формирование эффективного (жизнеспособного) портфеля проектов;
- планирование реализации портфеля проектов;
- распределение ресурсов организации между проектами портфеля;
- оперативное управление портфелем проектов с учетом изменяющихся внешних условий и целей организации.
Эти задачи рассматриваются во второй главе. В том числе: раздел 2.1 посвящен моделям и методам оценки эффективности проектов, в разделе 2.2 представлены процедур формирования портфеля проектов; в разделе 2.3 рассматривается планирование реализации портфеля проектов; раздел 2.4 содержит описание подходов к распределению ресурсов между проектами портфеля; и, наконец, раздел 2.5 завершает главу описанием оперативного управления портфелем проектов.
Полученные результаты кратко содержат следующее.
Оценка эффективности проектов. Первоочередной задачей, стоящей перед руководством организации и офисом управления проектами, является определение критериев, по которым должны оцениваться проекты и их совокупность в виде портфелей при принятии решений о включении того или иного проекта в портфель, а также при выборе самого портфеля.
Эти критерии должны удовлетворять следующим требованиям. Во-первых, они должны отражать существенные и измеримые характеристики проектов. Во-вторых, определять степень достижения стратегических целей организации, реализующей портфель проектов, учитывать прогнозную и экспертную информацию. И, наконец, в третьих, учитывать и позволять согласовывать мнения различных субъектов (руководителей, подразделений и т.д.), представления которых о значимости тех или иных проектов и/или о стратегических целях организации могут различаться.
Эти субъекты, принимая участие в формировании системы критериев и последующей оценке проектов, могут быть заинтересованы в получаемом результате, следовательно, возникает проблема искажения ими сообщаемой руководству информации о своих предпочтениях относительно важности критериев, по которым оцениваются проекты и их портфели.
В разделе 2.1 рассмотрен класс механизмов принятия решений об относительной важности критериев. Считается, что эти механизмы, отображающие совокупность мнений заинтересованных субъектов в приоритеты критериев, обладают следующими свойствами: непрерывность по всем переменным, выполнение условия единогласия, анонимность, сепарабельность и монотонность.
Доказано, что в случае двух критериев возможно использование неманипулируемого механизма принятия решений и предложен конкретный вид этого механизма.
Формирование портфеля проектов. Введем следующие основания классификации задач формирования портфеля проектов:
1. Зависимость проектов. Возможные значения признаков классификации по данному основанию - независимые проекты (для которых отсутствуют какие-либо технологические ограничения на последовательность их выполнения и моменты начала, кроме ресурсных ограничений) и зависимые проекты (для которых задан сетевой график, отражающий допустимую последовательность реализации проектов).
2. Фиксированность портфеля. Возможные значения признаков классификации по данному основанию - портфель заранее фиксирован, или портфель требуется найти.
3. Решаемая задача. Возможные значения признаков классификации по данному основанию - решение задачи распределения ресурса и/или поиска моментов времени начала реализации проектов.
Можно выделить следующие общие классы оптимизационных задач, используемых в моделях формирования портфеля проектов: задачи о ранце, задачи распределения ресурса на сетях, задачи выбора моментов времени начала операций. Последний класс задач в общем случае заключается в определении последовательности выполнения (точнее - моментов времени начала выполнения) фиксированного множества проектов. Наиболее детально из них исследованы задачи минимизации упущенной выгоды и самофинансирования.
Как отмечалось выше, специфика управления портфелями проектов заключается, в том числе, в том, что целесообразность реализации отдельных проектов оценивается с точки зрения стратегии организации в целом, то есть в общем случае - по нескольким критериям, однозначная оценка проекта по которым не всегда возможна. Кроме того, проекты требуют затрат ресурсов, как минимум, нескольких видов (в отличие от инвестиционных портфелей или портфелей ценных бумаг, описываемых лишь финансовыми показателями). Поэтому возникает необходимость обобщения «задачи о ранце» на случай, во-первых, многокритериальных нечетких оценок проектов, и, во-вторых, на случай использования при реализации проектов ресурсов нескольких видов.
В рамках предложенной в разделе 2.2 многокритериальной нечеткой модели формирования портфеля проектов формально определена степень соответствия портфеля проектов стратегическим целям организации. Разработанная модель обобщает на нечеткий и многокритериальный случай классическую «задачу о ранце» и допускает нахождение оптимального портфеля методом динамического программирования.
Планирование процесса реализации портфеля проектов. На этапе планирования определяются все необходимые параметры реализации портфеля: продолжительность по каждому из контролируемых элементов портфеля, потребность в трудовых, материально-технических и финансовых ресурсах, сроки поставки сырья, материалов, комплектующих и технологического оборудования, сроки и объемы привлечения подрядных организаций. Процессы и процедуры планирования портфеля должны обеспечивать реализуемость портфеля в заданные сроки с минимальной стоимостью, в рамках нормативных затрат ресурсов и с надлежащим качеством.
В рассматриваемой в разделе 2.3 модели планирования учтен параметр налогообложения проектов портфеля, являющийся существенным при реализации некоторых проектов, и учтены моменты выплат налоговых платежей. То есть, в данной модели выбором моментов начала проектов и их продолжительности максимизируется рентабельность портфеля с учетом налогообложения. С использованием описанной модели с той или иной степенью точности возможно решение следующих типичных задач, возникающих в ходе реализации практически каждого портфеля проектов:
1. Прогнозирование наличия и движения денежных средств по конкретному портфелю.
2. Проверка финансовой реализуемости портфеля.
3. Определение сроков и объемов необходимых заемных средств.
4. Анализ целесообразности взятия заемных средств.
5. Формирование финансово реализуемого портфеля с минимальной упущенной прибылью.
6. Определение срока окупаемости затрат, оценка прибыли за период реализации портфеля и создание его целевого плана.
7. Мониторинг и корректировка финансового плана портфеля с учетом его фактического выполнения.
8. Построение и анализ консолидированного финансового баланса по нескольким портфелям или же по отдельным проектам, входящим в разные портфели, в разрезе различных критериев, характерных для каждой отдельно взятой организации.
9. Разукрупнение, детализация консолидированного финансового баланса на группу финансовых балансов по объектам.
10. Анализ влияния на динамику затрат по портфелю отдельно взятого налога.
11. Анализ целесообразности применения методов налоговой оптимизации (изменение учетной политики по проекту, изменение структуры затрат по проекту и т.д.).
В настоящей работе предпринята попытка объединения перечисленных задач в три укрупненные группы задач. В выделенных группах все перечисленные выше задачи рассматриваются с «обособлением» налоговых выплат по проектам портфеля для проведения анализа их влияния на динамику текущего финансового баланса:
Группа 1. При заданных технологических зависимостях между проеками и критическом пути портфеля, найти оптимальный размер собственных средств, необходимый для реализации портфеля (необходимым условием реализации портфеля является неотрицательность текущего финансового баланса в любой момент реализации портфеля).
Группа 2. При заданных технологических зависимостях между проектами и оптимальной величине собственных средств, найденной в группе задач 1, найти минимальную длительность портфеля, варьируя величину затрат на реализацию его проектов, при условии, что длительность выполнения проектов портфеля является известной функцией от затрат на их реализацию.
Группа 3. При заданных технологических зависимостях между проектами, варьируя значения затрат и величину собственных средств, найти оптимальную величину рентабельности портфеля
:
По результатам проведенного имитационного моделирования и решения оптимизационных задач для рассмотренных примеров видно, что варианты портфелей, полученные при решении первой и третьей групп задач практически совпадают. Прибыль, получаемая в результате реализации портфеля по результатам решения третьей группы задач, незначительно превышает прибыль, получаемую по портфелю, реализуемому по первому сценарию.
Таким образом, если отсутствуют жесткие ограничения по срокам реализации портфеля, оптимальным является его реализация по сценарию, полученному в результате решения третьей группы задач. В случае же, если срок реализации портфеля является более приоритетным показателем, то оптимальным является сценарий, полученный в результате решения второй группы задач.
В данном случае прибыль от реализации портфеля меньше, но срок его реализации может быть существенно сокращен.
Распределение ресурсов между проектами портфеля. Портфели проектов характеризуются, в частности, тем, что для них существенной оказывается возможность несовпадения интересов управляющих органов, отвечающих за реализацию (или заинтересованных в реализации) тех или иных проектов (будем дальше условно называть их руководителями проектов) и владельцев ресурсов, необходимых для реализации проектов (условно будем называть последних функциональными руководителями). Поэтому возникает задача построения модели такого распределения ресурсов между проектами, входящими в портфель, которое позволяло бы согласовать интересы всех заинтересованных участников.
Эта задача решается в разделе 2.4. Для этого сначала дается общее описание модели, формулируется задача оптимального распределения ресурсов в рамках централизованной схемы без учета интересов функциональных руководителей и руководителей проектов. Далее решение этой задачи (эффективность распределения ресурса) сравнивается с эффективностью использования схемы, учитывающей интересы участников и с эффективностью введения трансфертных (внутрифирменных) цен за использование ресурсов организации при реализации проектов портфеля.
Полученные результаты свидетельствуют, что, если возможно согласование интересов руководителей проектов, то распределение ресурса, предлагаемое в рамках централизованной схемы, также является согласованным. Отметим, что это отнюдь не означает согласованность любого централизованного решения по распределению ресурса между проектами портфеля.
Частным, но достаточно распространенным на практике, случаем взаимодействия участников организации при реализации портфеля проектов является использование так называемых трансфертных цен, определяющих стоимость использования в проекте единицы того или иного ресурса. Оказывается, что использование централизованной схемы при распределении ресурсов между 12
проектами портфеля эквивалентно использованию системы трансфертных цен, удовлетворяющих определенным (и приводимым ниже) условиям. Однако при заданном оптимальном распределении ресурса может и не существовать эквивалентной системы трансфертных цен.
Оперативное управление портфелем проектов. Задача оперативного управления решается в ходе реализации проекта и заключается в определении на основании всей имеющейся на данный момент (текущей) информации оптимальных текущих и будущих значений управляющих параметров, то есть оптимальных «плановых» значений управляющих параметров и, соответственно, состояний проекта на всю оставшуюся часть планируемого периода его реализации. То есть, задачи планирования и оперативного управления являются частными случаями одной и той же задачи управления, отличающимися лишь той информацией, которая имеется на момент принятия решений.
Задача оперативного управления портфелем проектов отличается от управления мультипроектом. Действительно, мультипроект, состоящий из множества технологически и ресурсно взаимосвязанных проектов, требует решения задачи агрегирования - например, оценки состояния проекта на основании детальной информации о состоянии подпроектов и работ. Решение этой задачи далеко не тривиально. В то же время, проекты, входящие в портфель проектов, реализуемых той или иной организацией, как правило, технологически независимы. Учет же только ресурсной их взаимосвязи осуществляется проще, чем и ресурсной и технологической. При этом, правда, необходимо оценивать текущее состояние портфеля проектов с точки зрения целей организации.
Для того, чтобы описать, как это возможно сделать, в разделе 2.5 приведена система показателей освоенного объема - наиболее распространенного на сегодняшний день инструмента оценки хода реализации проектов и оперативного управления ими. Общепризнанно, что основным свойством методики освоенного объема является возможность: «раннего обнаружения» (обнаружения на ранних стадиях реализации проекта) несоответствия фактических показателей проекта плановым значениям, прогнозирования на их основании результатов выполнения проекта (сроков, затрат и т.д.) и принятия своевременных корректирующих воздействий, вплоть до прекращения проекта.
Плановые и фактические (текущие) значения финансовых показателей позволяют описать динамику реализации портфеля проектов с точки зрения организации в целом. Показано, что сравнение планового (директивного) и фактического графиков освоенного объема и расходования средств может служить основанием для принятия эффективных оперативных управленческих решений.
Третья глава посвящена рассмотрению практических аспектов использования моделей управления портфелями проектов в автоматизации проектной деятельности российских коммерческих организаций.
В разделе 3.1 рассмотрены общие свойства автоматизированных систем управления проектами/портфелями проектов, в том числе: требования к автоматизированным системам управления проектами/портфелями проектов (подраздел 3.1.1), цели внедрения (подраздел 3.1.2), назначение и функции внедряемых систем (подраздел 3.1.3).
В разделе 3.2 приведено описание подсистем и модулей практической реализации автоматизированной системы управления проектами/портфелями проектов, в том числе: участники автоматизированной системы (подраздел 3.2.1), процессы, реализованные в автоматизированной системе (подраздел 3.2.2) и состав автоматизированной системы (подраздел 3.2.3).
То есть, в третей главе установлено соответствие между процедурами принятия решений при управлении портфелями проектов и математическими моделями, рассмотренными во второй главе настоящей работы.
ГЛАВА 1. Проблемы управления портфелями проектов
Теория управления организационными системами (ОС) на сегодняшний день является интенсивно развивающейся областью теории управления, результаты исследований в которой [22, 36, 37, 34, 41, 43] находят широкое применение на практике. Одним из направлений исследований теории управления организационными системами является разработка моделей управления проектами (УП) [9, 46, 61, 78, 80, 92, 142].
В последнее время управление проектами становится в России все более востребованной дисциплиной. Все больше компаний представляют свою деятельность в виде проектов. В соответствии с [42, 53], под проектом будем понимать «ограниченное во времени целенаправленное изменение отдельной системы с установленными требованиями к качеству результатов, возможными рамками расхода средств и ресурсов и специфической организацией», причем в зависимости от масштаба (в порядке его возрастания) и степени взаимозависимости выделяют следующие классы целенаправленных изменений:
- работы (операции);
- пакеты работ (комплексы операций);
- проекты;
- мультипроекты (мультипроект - «проект, состоящий из нескольких технологически независимых проектов, объединенных общими ресурсами (финансовыми и материальными)» [35, с. 5]);
- программы (программа - «комплекс операций (мероприятий), увязанных технологически, ресурсно и организационно и обеспечивающих достижение поставленной цели» [131, с. 8]);
- портфели проектов (набор не обязательно технологически зависимых проектов, реализуемый организацией в условиях ресурсных ограничений и обеспечивающий достижение стратегических целей).
Для описания каждого из перечисленных элементов необходимо учитывать цели, ресурсы, технологию деятельности и механизмы управления. Каждый из этих аспектов является определяющим для соответствующего класса целенаправленных изменений:
- для мультипроекта существенным является наличие технологических ограничений (накладываемых на взаимосвязь входящих в него работ и подпроектов) и ресурсных ограничений;
- для программы существенным (системообразующим) является достижение цели при существующих ресурсных ограничениях;
- для портфеля проектов существенным является использование единых механизмов управления (портфель проектов всегда рассматривается "в привязке" к реализующей его организации), позволяющих наиболее эффективно достигать стратегических целей организации с учетом ресурсных ограничений.
В первой главе настоящей работы рассматриваются проблемы управления портфелями проектов. В том числе качественно описаны современные проблемы управления проектами (раздел 1.1); исследована ключевая для портфелей проектов взаимосвязь управления проектами со стратегическим планированием (раздел 1.2); выявлена роль офиса управления проектами в управлении портфелями проектов в организации (раздел 1.3); обоснована возможность и целесообразность использования известных в теории управления организационными системами механизмов управления для управления портфелями проектов, установлено соответствие между этими механизмами и задачами управления портфелями проектов, что позволило сформулировать актуальные задачи исследования - перечислить требующие разработки модели и методы (раздел 1.4). С теоретической точки зрения эти модели рассматриваются далее - во второй главе настоящей работы, а результаты их использования совместно с автоматизированными системами управления портфелями проектов - в третьей главе.
1.1. ПРОБЛЕМЫ УПРАВЛЕНИЯ ПРОЕКТАМИ
Организации, деятельность которых преимущественно связана с выполнением проектов, можно подразделить на две категории [149]:
¦ организации, извлекающие основную часть своих доходов от осуществления заказных проектов;
¦ организации, применяющие управление проектами как базовый тип управления.
На сегодняшний день в таких организациях обычно системы управления, ориентированны на управление отдельными проектами. Например, их финансовые системы зачастую специально разработаны для удобства ведения бухгалтерского учета, контроля отчетности по нескольким одновременно выполняемым проектам. Но в большинстве организаций отсутствуют методы, позволяющие связать стратегическое управление и оперативное управление по отдельным проектам воедино. Применение методов управления портфелями проектов позволяет обеспечить соответствие проектной деятельности стратегическим целям организации, исполнение только стратегически значимых работ и предотвращение расходования ограниченных ресурсов на стратегически незначимые цели.
 |
|
Рис. 1. Развитие теории управления проектами |
Конец 1990-х годов и начало 21-го века ознаменовались возвратом большинства компаний к политике, отличающейся повышенным вниманием к объединению краткосрочных задач в корпоративные проекты, а затем и в портфели определенным образом отобранных (нацеленных на увеличение их прибылей) проектов (см. Рис. 1).
Развитие подходов управления проектами продолжается в направлении создания таких наборов проектов (корпоративных проектов, программ и портфелей), которые бы минимизировали риски незавершения отдельных и всех проектов, а также максимизировали показатели типа ROI (рентабельность инвестированного капитала). При этом главными движущими силами эволюции управления проектами служат: 1) необходимость повышения
конкурентоспособности; 2) соответствие организации темпам научно-технического прогресса и 3) оптимизация размеров компаний.
Система управления проектами может рассматриваться как совокупность процессов, перечисленных ниже (см. Рис. 2):
1. Изучение потенциально возможных проектов.
2. Выбор проекта, подлежащего исполнению.
3. Инициирование проекта.
4. Планирование проекта и организация работ.
5. Разработка технического предложения (если требуется).
6. Составление бюджета проекта.
7. Выполнение проекта.
8. Отчетность и контроль.
9. Завершение и закрытие проекта.
10. Текущее совершенствование процессов и улучшение согласованности проектов.
Все перечисленные процессы объединены между собой коммуникациями, которые служат основой для их надлежащего протекания. Коммуникации должны обеспечивать обмен объективной и полной информацией между всеми заинтересованными сторонами. Коммуникации имеют особое значение в управлении проектами, позволяя заинтересованным сторонам вести переговоры, планировать свою работу, разрешать возникающие проблемы, информировать друг друга и обеспечивать согласованность в целях и результатах.
В перечисленных процессах применяют принципы и методы управления содержанием проекта, сроками выполнения проекта и затратами на него, управления коммуникациями, конструкторскими работами, человеческими ресурсами, качеством и рисками, управления закупками (контрактами) [42, 52-56, 76, 78, 80, 89, 92, 121, 122, 136, 137, 142, 149, 154-156, 158-163].
 |
|
Рис. 2. Процессы управления проектами |
С самого начала разработки концепции проекта ее обоснованность должна быть оценена с финансовой точки зрения. Необходим финансовый анализ исходных допущений и предположений. Этот анализ должен продемонстрировать окупаемость инвестиций в проект до того, как переходить к этапам планирования и организации его выполнения, требующих значительных капиталовложений.
После того, как завершены этапы планирования и организации выполнения проекта, вступают в силу следующие взаимосвязанные процессы:
¦ контроль. Руководитель проекта совместно с офисом управления проектами должны учредить систему оценки эффективности работ по проекту и приступить к отслеживанию установленных графиков выполнения работ и соответствия затрат на проект утвержденному бюджету.
¦ текущее совершенствование процессов выполнения проектов и его согласованности с другими проектами. Руководитель проекта приступает к ведению отчетности, отражающей достигнутые успехи и эффективность проводимых работ в ходе выполнения проекта. По мере необходимости проводят бенчмаркинг и анализ выполняемых работ с тем, чтобы убедиться в их необходимой равномерности и эффективности.
¦ финансовая ориентированность. Финансовая ориентированность процессов управления проектами должна обеспечивать, чтобы, по возможности, все проводимые работы вносили свой финансовый вклад в итоговые результаты работы компании. Проводимый анализ затрат на работы должен при этом обеспечивать выбор наиболее экономически эффективных способов их выполнения.
Перечисленные процессы также имеют отношение к этапам выполнения проекта, его завершения и закрытия.
Схема взаимосвязей между процессами управления проектами имеет следующий вид (см. Рис. 3).
 |
|
Рис. 3. Финансовая ориентированность управления проектами |
Основными задачами, стоящими перед руководством проекта, являются составление оптимального графика выполнения проекта и минимизация затрат на его реализацию (или максимизация прибыли, или соответствие директивным срокам и т.д.). Задачи определения оптимальной (с той или иной точки зрения) последовательности работ решаются в рамках сетевого планирования и управления [39, 52, 62]: это выравнивание ресурсов проекта, составление оптимального графика и т.д.; задачи распределения ответственности и назначения исполнителей [33, 45]; определение оптимальных графиков поступления и расходования денежных средств, учета налоговых платежей в федеральный и местные бюджеты, при заданном графике проекта решаются с использованием методов финансового анализа [20].
Модель оптимизации сетевого графика с учетом налоговых отчислений рассматривается во второй главе настоящей работы. Эта модель позволяет оптимизировать проект с точки зрения его затратной составляющей и сроков выполнения. Но она не даст такого же результата, если ее применять ко всем проектам, ведущимся в рамках организации. При многопроектном управлении необходимо распределять ресурсы (в том числе и финансовые) по всем проектам организации, причем оптимальным должен быть финансовый поток уже по всей совокупности проектов. В такой ситуации, может быть, придется «пожертвовать» отдельными проектами ради достижения поставленных перед организацией целей.
Принципы портфельного управления проектами применимы на любых развивающихся предприятиях. Ключом к их внедрению должно быть выявление текущих проектов, систематизация их в виде EPS (структура декомпозиции проектов) и WBS (структура декомпозиции работ) структур [152] и управление этими проектами как совокупностью в виде одного или нескольких портфелей, ориентируясь, в первую очередь, на получение преимуществ для компании в целом, а не только для реализации отдельно взятого проекта.
1.2. УПРАВЛЕНИЕ ПРОЕКТАМИ И СТРАТЕГИЧЕСКОЕ ПЛАНИРОВАНИЕ
Для достижения конкурентных преимуществ уже недостаточно успешного выполнения отдельно взятых проектов и программ, желательно выполнение всех начатых. Причем, достижение конкурентного преимущества является не только следствием успешной реализации проектов, но и правильного выбора проектов. Одной из основных проблем при этом является: как связать реализуемые проекты и программы с достижением стратегических целей компании при условии эффективного распределение ограниченных ресурсов по проектам с целью получения максимальной выгоды?
При стратегическом планировании определяется так называемый вектор развития организации, который позволяет определить критерии и приоритеты при принятии решений относительно выполнения тех или иных проектов. В свою очередь, методы и средства управления проектами позволяют осуществлять контроль проектов и обеспечивают их выполнение в срок и в рамках заданного бюджета. Однако, эти процессы реализуются на разных уровнях управления - на стратегическом и оперативном, поэтому неизбежно возникает ряд вопросов [160]:
¦ В какой степени выполняемые проекты соответствуют поставленным целям?
¦ Соответствует ли структура финансирования поставленным целям?
¦ Есть ли в наличии все необходимые ресурсы? и т.д.
Применение методов управления портфелями проектов дает
возможность получить ответы на эти и другие не менее важные вопросы, позволяющие гарантировать, что у организации есть все необходимые ресурсы для выполнения всех стратегически необходимых проектов. Правильный выбор и успешная реализаций портфелей проектов является связкой между стратегическим планированием и управлением проектами (см. Рис. 4). В такой среде руководящее звено организаций имеет всю необходимую информацию для поиска оптимального способа использования ресурсов, фокусируясь только на «реально выполнимых» проектах, соответствующих стратегическим целям.
Управление
портфелями
проектов
Стратегическое/ планирование'
Управление
проектами
Рис. 4. Связь стратегического планирования и управления проектами
При использовании методов управления портфелями проектов преследуются следующие цели:
¦ «инвентаризация» всех проектов для четкого определения потребностей в ресурсах и оценки самой возможности выполнения портфеля проектов;
¦ анализ соответствия проектов стратегическим целям;
¦ определение ключевых показателей контроля проектов;
¦ анализ структуры финансирования проектов;
¦ формирование сбалансированных портфелей;
¦ максимизация полезности портфеля проектов.
Методы управления портфелями проектов уже достаточно широко распространены в организациях, в которых ведется большое количество высокоинтенсивных проектов. В этом плане лидерами являются компании, занимающиеся разработкой новых продуктов, и ИТ компании. Но в последнее время все больше и больше компаний и в других отраслях видят преимущества в применении методов управления портфелями проектов.
Процесс управления портфелем проектов можно условно разделить на четыре части или этапа [160]: определение всего перечня проектов, анализ проектов, оптимизация портфеля и реализация портфеля (см. Рис. 5).
 |
|
Рис. 5. Процесс управления портфелем проектов |
Процесс управления портфелем проектов - это циклический процесс выбора и управления оптимальным набором проектноориентированных инвестиций, дающих максимальную полезность. В таблице 1 представлены выходы каждой части приведенного процесса:
Таблица 1
Выходы процесса управления портфелем проектов |
|
Определение перечня проектов |
Сбор актуальной информации, обеспечивающей «прозрачность» портфеля проектов |
|
Анализ |
Анализ проектов по ключевым показателям на основании различных аналитических представлений |
|
Оптимизация |
Выбор оптимального портфеля проектов |
|
Реализация |
Выполнение портфеля проектов и отчетность о показателях его выполнения |
|
Более подробно методика реализации управления портфелями проектов приведена в третьей главе настоящей работы.
Бюджеты определяются руководством компании и являются одним из способов санкционирования определенных им стратегических целей. Эти бюджеты верхнего уровня представляют собой направления финансирования компании и определяют «оптимальный способ» распределения финансирования, необходимого для выполнения определенного объема работ. Этот подход называется бюджетированием «сверху вниз» и является одним из ключевых элементов стратегического планирования компании, но в нем всегда не хватает детализации, которая является следствием четко сформулированного плана с заданным объемом работ и детализированными бюджетами, определяемыми в процессе управления отдельными проектами или бюджетирования «снизу вверх».
В такой ситуации на передний план также выходит управление портфелями проектов: оно минимизирует слабые стороны бюджетирования как «сверху вниз», так и «снизу вверх». Управление портфелями проектов увеличивает степень прозрачности стратегических целей компании посредством совершенствования коммуникаций и формирования единой структуры планирования в рамках компании в целом.
Итак, управление портфелями проектов заключается в оценке полезности для организации всей совокупности выполняемых и намечаемых к реализации проектов и сопряженных с ними рисков путем сбора, анализа и обобщения всей относящейся к проектам информации, необходимой для выработки и принятия управленческих решений. Оно также подразумевает рациональное распределение между проектами имеющихся ресурсов и оценку согласованности применяемых методов, средств и процессов управления проектами.
Для управления портфелями проектов нужна соответствующая информационная поддержка. Она осуществляется с помощью применения современного программного обеспечения для управления проектами и портфелями проектов . В программных продуктах реализованы инструменты анализа проектной информации, что дает возможность руководству организаций оценивать выгоды и риски, связанные с реализуемыми и намечаемыми к выполнению проектами.
Из теории и из практики управления известна необходимость диверсификации бизнеса. В самой идее диверсификации нет ничего нового. Уже более полувека диверсификацию считают основой финансовой стабильности предприятий. Только совершенно неграмотный консультант по финансовым вопросам порекомендует предпринимателю вкладывать все заработанные средства в какой-то один, единственный инвестиционный инструмент - акции, бонды, ценные бумаги, валюту. Точно также и управление портфелями проектов не советует, по возможности, «складывать все яйца в одну корзину», имея в виду сосредоточение всех ресурсов предприятия на одном, единственном проекте.
Как следует из самого названия данного подхода, он предполагает объединение проектов в единый портфель, которым можно управлять методами, во многом сходными с теми, что применяют для управления портфелями ценных бумаг, акций, бондов и других финансовых инструментов. Еще в 1950-е годы экономист Г. Марковиц (H. Markowitz), работавший в Чикагском университете, пришел к выводу, что применение портфельных, диверсифицированных инвестиций позволяет значительно ускорить их окупаемость и снизить риски по сравнению с разрозненными капитало-ложениями [145]. Очевидным преимуществом управления портфелями проектов является возможность анализа всей совокупности реализуемых проектов, образно говоря, с высоты птичьего полета, выявить имеющееся дублирование, правильно распределить ресурсы между проектами и отследить достигнутый прогресс в ходе их выполнения.
1.3. ОФИС УПРАВЛЕНИЯ ПРОЕКТАМИ И ЕГО РОЛЬ В ПРОЦЕССЕ УПРАВЛЕНИЯ ПОРТФЕЛЯМИ ПРОЕКТОВ
1.3.1. Офис управления проектами
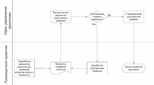
Общая схема управления портфелем проектов организации включает сбор данных, оценку хода выполнения проектов и программ, входящих в портфель, сопоставление достигнутых результатов с требованиями стратегического плана организации и составление отчетов (см. Рис. 6) [200]. Решением всех перечисленных задач руководит Офис управления проектами (ОУП), ежедневно или еженедельно получающий отчеты о состоянии проектов и скорректированные графики их выполнения для составления на их основе обобщенных отчетов о состоянии портфеля проектов в целом.
 |
|
Рис. 6. Схема процесса управления портфелями |
ОУП это «офис» - физический или виртуальный - в состав которого входят специалисты в области управления проектами, выполняющие функции управления проектами в своей организации. Также ОУП является центром накопления знаний организации в области управления проектами.
Контроль выполнения проектов в организациях может вестись разными способами. Расходы по проектам отслеживает финансовая служба, но, зачастую, она не ведет учета расходов по отдельным проектам. За использованием трудовых ресурсов следят функциональные подразделения, в которых работают специалисты занятные в проектах. Возможно, отдел кадров, который, также как и финансовая служба, не контролирует отдельные проекты. Задача этих подразделений состоит в отслеживании финансовых и трудовых затрат по отдельным подразделениям в соответствии со структурной схемой организации или по отдельным статьям расходов в соответствии с принятой системой управленческого учета. Исключение составляют компании, занимающиеся исключительно выполнением проектов такие, как строительные компании, компании, занимающиеся постройкой судов и другие, им подобные.
Финансовый отдел и отдел кадров обычно не занимаются обобщением данных по проектам в привязке к стратегическим целям организации. Они также не располагают временем и соответствующей квалификацией, чтобы непосредственно отслеживать ход выполнения проектов и своевременно вмешиваться в него. В большинстве случаев в функции этих подразделений не входит координация всех проектов, выполняемых в организации, и, как правило, они не способны собирать и представлять руководству необходимые данные для успешного контроля за выполнением проектов. Все это ведет к экономическим потерям, которые в отчетах о прибылях и убытках компании обычно не отражаются, как непосредственно связанные с управлением проектами. Поэтому важной задачей представляется «открыть глаза» руководству на реальную цену реализации проектов.
По мнению редакционной коллегии журнала Project Management Journal формализация процедур внедрения ОУП является одним из наиболее значительных достижений за последние годы в этой области. ОУП в зависимости от нацеленности решаемых им задач может иметь различные названия. Например, проектного офиса, если основными являются задачи по оперативному управ-лению проектами. Распространенны и другие названия - центр совершенствования управления проектами или дирекция по управлению проектами, но, независимо от конкретного наименования, под ОУП понимают службу с постоянными сотрудниками и отвечающую за внедрение и применение в организации методов и средств управления проектами. По оценкам американской консал-тинговой компании Meta Group, организация ОУП может сократить число неуспешных проектов на 80%.
Офисы управления проектами являются наследниками офисов поддержки проектов (проектных офисов), которые впервые стали появляться на западе в 1960-х годах с целью поддержки сложных строительных и аэрокосмических проектов. В 1990-х годах спектр задач, которые должны были решать проектные офисы, изменился и основной их функцией стала координация множества проектов для обеспечения согласованности методов и средств управления проектами, применяемых в организации и поддержания функций управления портфелями проектов. В то время как в рамках отдельных проектов, в зависимости от их масштабов и сложности, могут создаваться собственные проектные офисы, ОУП обеспечивает поддержку всего множества проектов, реализуемых организацией.
С началом нового, 21-го века все большее число организаций учреждает у себя ОУП в качестве инструмента обеспечения и поддержки управления проектами. ОУП призваны осуществлять поддержку качественных и количественных аспектов финансовоориентированного управления проектами. При этом под количественными аспектами понимают создание и применение формализованных процедур и методов управления содержанием проектов, их стоимостью, качеством, графиками, рисками, контрактами, интеграцией и условиями выполнения. Качественные аспекты деятельности ОУП помогают справляться с усложняющимися коммуникациями при выполнении проектов, управлять отношениями внутри команды исполнителей проектов, взаимоотношениями организации с заказчиками и поставщиками.
Цели работы ОУП могут варьироваться в широких пределах по своей сложности и ответственности. Предприятия, осуществляющие проекты, могут ставить перед собой задачи достижения результатов, лучших в своем классе, которые могут служить отраслевыми стандартами в части организации работ по проектам. Менее амбициозные предприятия могут довольствоваться решением частных задач совершенствования управления проектами, но чаще всего имеют своими целями просто своевременное завершение запущенных проектов в пределах выделенных на их выполнение бюджетов.
Внедряя у себя ОУП, организация стремится усилить внимание, уделяемое тем сторонам собственной стратегии, которые связаны с наилучшим исполнением функции управления проекта-
ми. При этом долговременные планы организации в отношении ОУП, безусловно, должны включать сокращение превышений фактической продолжительности выполнения проектов предусмотренной графиком, совершенствование распределения ресурсов между проектами, ускорение темпов поставки потребителям результатов проектов. Уровень сложности и формализации структуры ОУП, размеры его финансирования могут сильно различаться между организациями в зависимости от общих целей, которые они перед собой ставят. Такими целями могут быть:
¦ повышение эффективности выполнения отдельных проектов;
¦ повышение эффективности выполнения всех проектов данного подразделения и организации в целом;
¦ повышение уровня зрелости организации в части управления проектами.
Наличие в организации ОУП способно приносить ей следующие выгоды и преимущества:
¦ внедрение в должной степени формализованных и устойчивых процедур управления проектами;
¦ повышение эффективности выполнения проектов в части обеспечения требуемого содержания, сокращения стоимости и продолжительности, использования трудовых ресурсов;
¦ внедрение современных подходов к управлению проектами;
¦ повышение прибыльности работы организации.
К числу полезных для предприятия результатов от создания и внедрения ОУП следует отнести создание принципов, средств и методов, способствующих применению количественных подходов к управлению содержанием, стоимостью и сроками выполнения проектов.
Для того, чтобы организация была способна гибко реагировать на пожелания и нужды потребителей, она должна особое внимание уделять всем трем указанным характеристикам проектов и устранению любых оправданных и необоснованных их отклонений от первоначально запланированных. Порой, в погоне за рационализа-32
цией при выполнении проектов, организации в ходе интенсивного внедрения ОУП забывают об интересах людей или упускают их из виду. Поэтому методы и средства, которыми пользуется ОУП в своей работе, должны предусматривать эффективное обращения с такими, на первый взгляд, не поддающимися строгому количественному описанию категориями как удовлетворенность клиентов, взаимоотношения внутри команд исполнителей проектов и т.д.
Если организация сознательно прежде не уделяла должного внимания управлению проектами, то создание в ней полноценного ОУП может потребовать значительных капиталовложений. Вместе с тем, организациям, которые всегда очень трепетно относились к успешности и эффективности собственных проектов, часто не требуются значительные дополнительные расходы на учреждение ОУП. В том или ином виде эти организации уже располагают всем необходимым для выполнения тех функций, которые обычно возлагают на офисы управления проектами, хотя соответствующие структуры могут называться в них по-иному.
1.3.2. Типы офисов управления проектами
ОУП может иметь иерархическую структуру и выполнять свои задачи на различных уровнях управления в организации. Например, как на любом из трех уровней управления, так и на каждом из уровней (см. Рис. 7).
 |
|
Рис. 7. Структура офисов управления проектами |
Уровень 1: Проектный офис
Офисы данного типа обычно создаются для поддержки отдельных масштабных и сложных проектов. Они ориентированы на один единственный проект, который является настолько сложным, что требует ведения нескольких календарно-сетевых графиков отдельных подпроектов, входящих в его состав, которые впоследствии должны быть интегрированы в единый график программы. По проектам такого типа может работать несколько руководите -лей, отвечающих за отдельные подпроекты, из которых определяются потребности в ресурсах и стоимость программы в целом. В такой ситуации руководитель программы является ответственным за объединение графиков в единое целое, координацию ресурсов и анализ затрат программы в целом, а также за контроль выполнения программы и достижение поставленных целей.
Уровень 2: Проектный офис бизнес единицы (функцио
нального подразделения)
Дополнительная ценность офиса второго уровня заключается в том, что акценты уже смещаются с достижения результата по отдельным проектам и программам на цели бизнес-подразделения. В дополнение к функциям офиса первого уровня, в функции офиса второго уровня входит многопроектное управление, включающее в себя координацию ресурсов в рамках всех проектов подразделения и управление межпроектными зависимостями. На уровне 1 применение методов и средств управления проектами позволяет повысить эффективность процесса реализации проекта (больше проектов выполняются в срок и в рамках бюджета) - план проекта и его календарно-сетевой график становятся средствами коммуникации участников команды проекта как внутри нее, так и с руководством организации. На втором уровне проектный офис выполняет те же функции, но в тоже время он позволяет достичь большей эффективности, обеспечивая анализ не только на уровне отдельных проектов, но и с учетом всех проектов, ведущихся в подразделении.
Уровень 3: Офис управления проектами (корпоративный
офис управления проектами)
Для организации, состоящей из множества подразделений и множества проектов в каждом из подразделений, задача выбора проектов в соответствии со стратегией компании входит в обязанности высшего звена руководства компании. В тоже время проектный офис второго уровня не имеет полномочий на определение приоритетности проектов с точки зрения стратегии компании в целом.
Офис управления проектами третьего уровня позволяет достичь максимальной эффективности деятельности проектноориентированной компании (два других уровня управления также имеют соответствующие подразделения). На корпоративном уровне ОУП поддерживает репозитарий стандартов, процессов и методологий, что позволяет совершенствовать методы выполнения проектов всех бизнес-единиц организации. Также ОУП является органом, решающим конфликтные ситуации относительно распределения ресурсов на уровне компании в целом. Но, что более важно, корпоративный офис управления проектами дает возможность организациям управлять всем набором проектов, как одним или несколькими взаимосвязанными портфелями. При этом руководство компании всегда может получить общую картину по всем проектам, ведущимся в организации из одного источника - офиса управления проектами. К основным функциям корпоративного офиса управления проектами можно отнести следующие:
¦ Разработка, документирование и хранение методик управления проектами;
¦ Оценка ресурсов: на основании опыта, полученного в результате реализации прошлых проектов, ОУП может делать предположения о ресурсах, необходимых для выполнения проекта, его стоимости и сроках выполнения; разрешение межпроектных ресурсных конфликтов;
¦ Планирование проектов: библиотека планов уже реализованных проектов;
¦ «Консультационный центр управления проектами»: наставничество, обучение;
¦ Центр контроля и анализа проектов.
1.3.3. Роли и обязанности участников ОУП
Типовой перечень услуг, предоставляемых полномасштабным ОУП, приведен в таблице 2 [76]. Каждая из перечисленных услуг требует соответствующего обеспечения персоналом.
Таблица 2
Роли и обязанности участников ОУП |
|
Должность в ОУП |
Роль |
Обязанности |
|
Руководитель ОУП |
- руководство разработкой техникоэкономического обоснования организации ОУП;
- осуществление стратегического руководства |
- разработка и реализация устава ОУП;
- обеспечение нацеленности работы
ОУП на улучшение
основных показате- |
|
|
Должность в ОУП |
Роль |
Обязанности |
|
|
работой ОУП;
- обеспечение поддержки ОУП со стороны руководства организации. |
лей организации;
- обеспечение заинтересованности и
участия в деятельности ОУП высшего
руководства организации, руководителей проектов и распорядителей ресурсов;
- подбор персонала ОУП;
- утверждение ежемесячных отчетов о
выполнении плана
работы ОУП;
- недопущение текучести кадров;
- утверждение контрактов на обеспечение управления проектами
необходимыми методиками, консультациями и обучением исполнителей;
- разработка проекта годового бюджета ОУП. |
|
Руководи- |
- разработка портфелей |
- анализ портфеля |
|
тель порт- |
проектов, ресурсов, |
проектов и выдача |
|
феля проек- |
активов и стратегических |
рекомендаций лицам, |
|
тов |
целей организации; |
ответственным за |
|
Должность в ОУП |
Роль |
Обязанности |
|
|
- поддержание портфелей в рабочем состоянии;
- отчетность перед руководителем ОУП о состоянии портфелей;
- проведение финансового и причинноследственного анализа портфелей. |
принятие связанных с ним решений;
- формирование сбалансированного портфеля проектов;
- оценка и помощь во
внедрении процессов,
направленных на
увеличение потока
проектов и сокращение сроков их реализации;
- формирование
ежемесячных отчетов
о состоянии и прогнозах изменения портфеля проектов для всех заинтересованных сторон;
- руководство разработкой и внедрением модели определения
приоритетов проектов;
- заместитель руководителя ОУП;
- организация совещаний Совета по управлению проектами. |
Главный
специалист |
- поддержка усилий по управлению проблемны- |
- выполнение функций ментора и трене- |
|
Должность в ОУП |
Роль |
Обязанности |
|
по управле- |
ми (кризисными) проек- |
ра по решению клю- |
|
нию проек- |
тами; |
чевых проблем |
|
тами |
- помощь командам |
управления портфе- |
|
|
исполнителей в наборе |
лем проектов для всех |
|
|
требуемых темпов работ |
исполнителей проек- |
|
|
по выполнению проек- |
тов; |
|
|
тов; |
- взаимодействие со |
|
|
- обучение руководите- |
спонсорами и руко- |
|
|
лей проектов справлять- |
водителями проектов |
|
|
ся с основными затруд- |
при выявлении угроз |
|
|
нениями при их |
для выполнения |
|
|
выполнении;
- оценка проектов;
- доклады руководителю ОУП и портфеля проектов. |
проектов. |
|
Главный |
- обеспечение техниче- |
- обеспечение со- |
|
специалист |
ского руководства по |
вместимости всех |
|
по средствам |
применению всех |
данных, используе- |
|
управления |
средств управления |
мых программными |
|
проектами |
проектами, имеющимися |
средствами управле- |
|
|
в распоряжении ОУП, |
ния проектами; |
|
|
включая программные |
- обучение всех |
|
|
средства календарно- |
руководителей и |
|
|
сетевого планирования |
членов команд ис- |
|
|
проектов, и обучение |
полнителей проектов, |
|
|
пользованию ими. |
распорядителей ресурсов правилам работы с имеющимися средствами управления проектами;
- помощь в перерас- |
|
Должность в ОУП |
Роль |
Обязанности |
|
|
|
пределении нагрузок и переработок ресурсов в графиках проектов, находящихся под
угрозой срыва. |
|
Специалист |
- обслуживание потре- |
- оказание помощи |
|
справочного |
бителей услуг ОУП; |
руководителям и |
|
бюро ОУП |
- информационная под- |
исполнителям проек- |
|
|
держка руководителей и |
тов, ответы на их |
|
|
исполнителей проектов |
запросы и отслежива- |
|
|
по их запросам. |
ние результатов
использования предоставленной информации. |
|
Руководи- |
- поддержка и админи- |
- обеспечение полно- |
|
тель порт- |
стрирование портфеля |
го и правильного |
|
феля ресур- |
ресурсов организации, |
использования стра- |
|
сов |
включая стратегические |
тегических ресурсов |
|
|
ресурсы; |
предприятия; |
|
|
- совместная работа с |
- отслеживание |
|
|
руководителем портфеля |
соответствия сущест- |
|
|
проектов над формиро- |
вующих трендов в |
|
|
ванием сбалансирован- |
использовании ресур- |
|
|
ных портфелей; |
сов целям организа- |
|
|
- поиск путей оптималь- |
ции; |
|
|
ного распределения |
- помощь руководи- |
|
|
ресурсов между функ- |
телям проектов в |
|
|
циональными подразде- |
предоставлении им |
|
|
лениями. |
требуемых ресурсов
точно в назначенное
время. |
|
Методист |
- работа с командами |
- оценка правильно- |
|
Должность в ОУП |
Роль |
Обязанности |
|
|
исполнителей по приме- |
сти применения |
|
|
нению методологии |
исполнителями всех |
|
|
управления проектами. |
ключевых проектов существующей методологии управления
проектами и сопряженными с ними
рисками;
- выявление существующих препятствий и сопротивления исполнителей применению соответствующей методологии и выработка мер по их преодолению. |
|
Наставник |
- обучение и повышение |
- обучение базовым |
|
(тренер) |
квалификации членов |
концепциям управле- |
|
|
команд исполнителей |
ния проектами и их |
|
|
проектов, работников |
практическим прило- |
|
|
функциональных служб и подразделений организации в области методологии управления проектами. |
жениям. |
|
Админист- |
- составление ежемесяч- |
- ведение текущей |
|
ратор базы |
ных отчетов о ходе |
отчетности; |
|
данных |
выполнения проектов и |
- обработка и обеспе- |
|
|
прогнозах их заверше- |
чение полноты базы |
|
|
ния; |
данных ОУП; |
|
|
- информационная под- |
- анализ отчетов о |
|
|
держка всех основных |
состоянии проектов и |
|
Должность в ОУП |
Роль |
Обязанности |
|
|
специалистов ОУП;
- предоставление исходных данных руководителям портфелей проектов и ресурсов;
- ведение библиотеки
документации. |
графиков их выполнения с целью пополнения базы данных. |
1.3.4. Результаты внедрения ОУП
Правильный выбор проектов, отвечающих целям организации и всех заинтересованных в ее деятельности сторон, ускорение процессов их выполнения способны существенно повысить эффективность работы любой организации. Для поддержки процесса достижения этих целей требуется создание в организации офиса управления проектами (ОУП), решающего следующие основные задачи:
• формирование портфеля проектов, утвержденного руководством, с установленными приоритетами входящих в него проектов;
• создание в рамках организации необходимой базы знаний и навыков для повышения производительности при выполнении проектов;
• отслеживание и анализ портфеля проектов, повышение его эффективности и ведение отчетности;
• замена неэффективных методов и процессов управления проектами современными и проверенными на практике методами, средствами и процессами;
• повышение отдачи от обучения и повышения квалификации сотрудников в области управления проектами;
• внедрение справочной службы в области управления проектами.
Участники организации и выгоды, которые они могут получать в результате внедрения ОУП, приведены в таблице 3.
Таблица 3
Результаты внедрения ОУП для различных заинтересованных __сторон_ |
Заинтересованные
стороны |
Результаты внедрения ОУП |
|
Руководители всех уровней, включая генерального директора, ИТ-директора, финансового директора и т. д. |
Получение в реальном времени обобщенных данных о распределении ресурсов и капиталов между проектами, что позволяет им принимать более обоснованные решения и рассматривать при
планировании различные сценарии причинно-следственных связей. Руководители получают более точную информацию об ограничениях по срокам выполнения и изменениях содержания проектов. Они получают возможность устанавливать приоритеты для всех
проектов организации |
Проектные офисы
(офисы первого и второго уровней) |
Получают доступ к процессам, обзору портфеля их набора проектов и детальному анализу распределения ресурсов
между ними |
|
Руководители проектов |
Повышение квалификации в области управления проектами, применение
типовых жизненных циклов проектов,
методов планирования и составления графиков проектов, получение помощи в решении проблем ресурсного обеспе- |
|
Заинтересованные
стороны |
Результаты внедрения ОУП |
|
|
чения, в отслеживании разрешения проблем и сотрудничество с ОУП. Все это будет способствовать сокращению числа случаев превышения установленных сроков выполнения проектов и проектных затрат. Большинству руководителей проектов потребуется обучение для обеспечения более полного использования ими возможностей программных средств, предоставляемых ОУП. Значительно усилится помощь со стороны спонсоров проектов, улучшится взаимодействие с функциональными службами и подразделениями |
Участники команд
проектов |
Получат помощь и поддержку в улучшении результатов их работ по проектам. Они смогут лучше понимать взаимосвязи между выполняемыми ими работами и целями предприятия. Им не придется самостоятельно принимать
решения о приоритетности тех или иных работ. Будут устранены барьеры между функциональными подразделениями, в которых работают исполнители, что
поможет повысить интенсивности потока проектов и их качество |
|
Распорядители ресурсов (руководители функциональных подразделений) |
Для них станут яснее приоритеты отдельных проектов, сократится число конфликтов с руководителями проектов |
|
|
В результате внедрения ОУП достигаются следующие цели: |
1. Создание условий для формирования сбалансированного портфеля проектов, который, будет отвечать стратегическим целям организации, утвержденным руководством.
2. Внедрение процессов и процедур, необходимых для управления проектами, входящими в портфель предприятия, и установления для них приоритетов, для сбора необходимой информации, отслеживания, анализа и совершенствования выполнения проектов, ведения необходимой отчетности.
3. Повышение темпов и качества выполнения проектов.
4. Обеспечение способности предприятия выполнять большее число проектов без привлечения дополнительных ресурсов.
5. Обеспечение руководства всей необходимой информацией для принятия решений в отношении выбора состава выполняемых проектов и управления ими.
1.4. ЗАДАЧИ УПРАВЛЕНИЯ ПОРТФЕЛЯМИ ПРОЕКТОВ
Предметом исследования в настоящей работе являются модели и методы управления портфелями проектов, следовательно, основной задачей является разработка моделей и механизмов (процедур) принятия решений по управлению портфелем проектов при заданных ограничениях (по ресурсам, срокам выполнения, рискам). Эффективные процедуры принятия решений (соответствующие содержательным аспектам деятельности по управлению портфелями проектов), в свою очередь, служат основой создания автоматизированных систем управления портфелями проектов (берущих на себя рутинные аспекты деятельности) - см. третью главу настоящей работы.
Заметим, что термин "портфель" в теории управления закономерно вызывает ассоциации с портфелем ценных бумаг или/и с инвестиционным портфелем. При управлении портфелями проектов целесообразно использовать весь арсенал моделей и методов, полученных для управления инвестиционными портфелями и портфелями ценных бумаг [18, 76, 138, 145] - см. также краткий обзор во второй главе. Однако портфели проектов обладают своей спецификой.
Итак, можно выделить следующие общие задачи в области управления портфелями проектов:
1. Определение эффективности проектов (структуры портфеля проектов: определение типов и характеристик проектов, которые должны быть включены в портфель для достижения поставленных целей организации). При оценке эффективности портфеля проектов необходимо определить систему критериев оценки и сформулировать функцию целей организации в пространстве заданных критериев. Но такая общая постановка задачи не учитывает мнений нескольких экспертов относительно важности того или иного критерия, поэтому в рамках модели необходимо получить максимально согласованную с мнениями всех экспертов целевую функцию. При этом возникает существенная проблема, заключающаяся в том, что как только в системе появля-ютсянесколько участников, каждый со своими интерсами, то сразу же возникает проблема манипулирования информацией, так как каждый эксперт будет стремиться максимально приблизить результирующий критерий оценки эффективности к своему субъективному мнению. Поэтому необходимо построить такую систему оценки эффективности портфеля проектов, которая, во-первых, учитывала бы все существенные критерии, во-вторых, учитывала бы мнение нескольких экспертов и была бы максимально согласованной и, в-третьих, в этой системе необходимо исключить возможность сообщения недостоверной информации.
2. Формирование портфеля проектов (выбор проектов, которые будут включены в портфель). Формирование портфеля проектов является одной из ключевых задач, стоящих перед любой компанией. В портфель проектов должны попасть только те проекты, которые приносят наибольшую пользу, удовлетворяют ресурсным ограничениям и, что особенно важно, соответствуют стратегическим целям организации. При этом, важно, что при формировании портфеля, необходимо отбирать проекты не по одному критерию эффективности, а по достаточно большому набору параметров (как то: финансовая эффективность, общественная значимость и т.д.). Более того, задача усложняется еще и тем, что оценки проектам-претендетнам на включение в портфель даются экспертами, которые зачастую по тем или иным причинам не могут дать четкой оценки параметра, а оперируют в лучшем случае интервальными или нечеткими оценками. В свете вышеперечисленного можно сделать вывод, что для формирования эффективного портфеля проектов необходимо определить многокритериальную нечеткую модель формирования портфеля проектов, которая будет учитывать степень соответствия портфеля стратегическим целям.
3. Планирование процесса реализации проектов портфеля. При планировании процесса реализации проектов необходимо также учитывать специфику портфеля, которая заключается в том, что проекты портфеля, вообще говоря, не связаны технологически. В данном случае это только облегчает процесс планирования, так как выбором моментов начала проектов портфеля и их продолжительности можно подбирать оптимальные варианты портфелей по рентабельности, собственным и заемным средствам, привлекаемым при реализации портфеля, налогообложению, продолжительности портфеля в целом и др. параметрам.
4. Распределение ресурсов между проектами портфеля. В любой организации, в которой проектная деятельность сочетается с процессной, неизбежно возникает конфликт между владельцами ресурсов (руководителями функциональных подразделений) и руководителями проектов. Поэтому, при распределении ресурсов, необходимо использовать такой механизм, с помощью которого возможно распределение ресурсов, согласованное с интересами функциональных руководителей и руководителей проектов.
5. Оперативное управление портфелем проектов. Основной целью управления проектами/портфелями проектов является их завершение в срок, в рамках бюджета и с надлежащим качеством.
Это достижимо только лишь при постоянном мониторинге и прогнозировании параметров проекта в ходе его реализации и принятии на основании этих прогнозов обоснованных управленческих решений - оперативного управления. При оперативном управлении портфелем проектов необходимо постоянно сопоставлять плановые и прогнозные показатели портфеля, полученные с учетом его фактического выполнения и скорректированные с учетом динамики изменения того или иного параметра.
Для решения этих задач, прежде всего, можно использовать известные результаты, в том числе - известные в теории управления механизмы организационного управления. Рассмотрим базовые механизмы управления проектами, которые могут быть использованы при управлении портфелями проектов. Задачи управления портфелями проектов (см. выше) приводятся в столбцах таблицы 4, в ее строках указаны базовые механизмы управления проектами (с указанием основных работ, содержащих их описание). На пересечении строк и столбцов отмечена целесообразность использования механизмов управления при решении тех или иных задач управления портфелями проектов («+» - рекомендуется использовать, «•» - возможно использовать, «-» - практически не используются).
|
Известные механизмы управления и задачи управления _портфелями проектов_ |
Задачи УПП
Механизмы УП |
Оценка эффективности проектов |
Формирования портфеля
проектов |
Планирования процесса
реализации
портфеля проектов |
Распределения ресурсов между
проектами портфеля |
Оперативного управления
портфелем проектов |
Механизмы комплексного
оценивания [5, 6, 42, 411 |
+ |
• |
• |
• |
+ |
|
Механизмы экспертизы [3, 11, 27, 78, 1181 |
+ |
• |
+ |
• |
• |
|
Механизмы агрегирования [14, 24, 39, 781 |
• |
• |
+ |
+ |
• |
|
Тендеры и конкурсы [22, 27, 41] |
• |
+ |
- |
+ |
- |
|
Механизмы прогнозирования [78] |
+ |
• |
- |
- |
• |
|
Механизмы управления составом [65, 75, 1151 |
• |
+ |
• |
• |
• |
|
Механизмы управления структурой [51, 112, 1141 |
+ |
+ |
• |
- |
• |
|
Механизмы материальнотехнического обеспечения [15, 13, 331 |
- |
• |
• |
+ |
• |
|
Механизмы планирования (оптимизации производственного и коммерческого циклов, минимизации упущенной выгоды и др.) [13, 331 |
• |
+ |
+ |
+ |
• |
|
Задачи УПП
Механизмы УП |
Оценка эффективности проектов |
Формирования портфеля
проектов |
Планирования процесса
реализации
портфеля проектов |
Распределения ресурсов между
проектами портфеля |
Оперативного управления
портфелем проектов |
|
Механизмы распределения ресурсов и затрат [9, 13, 25, 27, 41] |
- |
• |
• |
+ |
• |
|
Механизмы управления риском [13, 42, 44, 46, 116] |
• |
+ |
• |
• |
+ |
|
Механизмы смешанного финансирования [32, 42] |
- |
+ |
• |
+ |
- |
|
Механизмы самоокупаемости [33, 32, 42] |
- |
+ |
• |
+ |
- |
|
Механизмы страхования [31, 42, 41] |
- |
+ |
• |
+ |
+ |
|
Противозатратные механизмы [27, 41, 147] |
- |
+ |
• |
+ |
• |
|
Механизмы стимулирования [85, 111, 115, 116, 121, 142] |
- |
- |
• |
+ |
+ |
|
Механизмы освоенного объема [78, 142] |
+ |
• |
• |
• |
+ |
|
Механизмы оперативного управления [22, 42, 80] |
- |
• |
• |
• |
+ |
Результаты анализа специфики управления портфелями проектов и возможности использования известных механизмов управления позволяют сделать вывод, что актуальным является решение следующих теоретических задач управления портфелями проектов: - оценка эффективности проектов с точки зрения достижения стратегических целей организации;
- формирование эффективного портфеля проектов;
- планирование процесса реализации портфеля проектов, в том числе, с учетом возможностей оптимизации финансовых потоков;
- распределение ресурсов организации между проектами портфеля;
- оперативное управление портфелем проектов с учетом изменяющихся внешних условий и целей организации.
Итак, в первой главе рассмотрены общие проблемы управления портфелями проектов. В том числе качественно описаны современные проблемы управления проектами; исследована ключевая для портфелей проектов взаимосвязь управления проектами со стратегическим планированием; выявлена роль офиса управления проектами в управлении портфелями проектов в организации; обоснована возможность и целесообразность использования известных в теории управления организационными системами механизмов управления для управления портфелями проектов, установлено соответствие между этими механизмами и задачами управления портфелями проектов, что позволило сформулировать актуальные задачи исследования - перечислить требующие разработки модели и методы: оценки эффективности проектов с точки зрения достижения стратегических целей организации; формирования эффективного портфеля проектов; планирования процесса реализации портфеля проектов; распределения ресурсов организации между проектами портфеля; оперативного управления портфелем проектов с учетом изменяющихся внешних условий и целей организации.
Перечисленные задачи решаются во второй главе настоящей работы.
ГЛАВА 2. Модели и методы управления портфелями проектов
В настоящей главе формулируются и решаются теоретические задачи управления портфелями проектов, сформулированные в первой главе. В том числе, раздел 2.1 включает модели и методы (механизмы) оценки эффективности проектов, раздел 2.2 - модели и методы формирования портфеля проектов; раздел 2.3 - модели и методы планирования процесса реализации портфеля проектов; раздел 2.4 - модели и методы распределения ресурсов между проектами портфеля; раздел 2.5 - модели и методы оперативного управления портфелем проектов.
2.1. ОЦЕНКА ЭФФЕКТИВНОСТИ ПРОЕКТОВ
2.1.1. Обзор существующих моделей и методов оценки эффективности проектов
На прединвестиционной фазе жизненного цикла проекта важнейшим этапом является оценка эффективности проекта. Дальнейшая судьба проекта полностью зависит от результатов анализа его эффективности. Применение модели, описываемой в данном разделе, наиболее целесообразно на стадии анализа эффективности проекта и определения условий его реализуемости.
Эффективность проекта - это категория, отражающая соответствие проекта целям и интересам его участников [101].
В связи с этим необходимо оценивать эффективность проекта в целом, а также эффективность участия в проекте каждого из его участников.
Эффективность проекта в целом оценивается с целью определения потенциальной привлекательности проекта для возможных его участников и поисков источников финансирования. В общем случае она включает социально-экономическую эффективность проекта и коммерческую эффективность проекта.
Эффективность участия в проекте определяется с целью проверки реализуемости проекта и заинтересованности в нем всех его участников и включает в себя:
• эффективность участия предприятий и организаций в проекте;
• эффективность инвестирования в проект;
• эффективность участия в проекте структур более высокого уровня, в том числе:
о региональную и народнохозяйственную эффективность;
о отраслевую эффективность;
о бюджетную эффективность.
В числе наиболее важных основных принципов оценки эффективности проектов можно выделить следующие:
• рассмотрение проекта на протяжении всего его жизненного цикла (оценка эффективности проекта должна осуществляться при разработке инвестиционного предложения, при разработке обоснования инвестиций, при разработке ТЭО проекта и в ходе реализации проекта в виде экономического мониторинга в рамках управления стоимостью проекта);
• моделирование денежных потоков;
• сопоставимость условий сравнения различных проектов (или вариантов одного проекта);
• принцип положительности и максимума эффекта;
• учет фактора времени;
• учет только предстоящих затрат и поступлений;
• сравнение состояний «с проектом» и «без проекта»;
• учет всех наиболее существенных последствий проекта;
• учет наличия разных участников проекта;
• многоэтапность оценки;
• учет влияния на эффективность проекта потребности в оборотном капитале;
• учет влияния инфляции;
• учет влияния неопределенности и риска, сопровождающих реализацию проекта.
Оценка эффективности проекта проводится в три этапа [137] (см. Рис. 8).
• Первоначальным шагом является экспертная оценка общественной значимости проекта. Общественно значимыми считаются крупномасштабные, народнохозяйственные и глобальные проекты.
• На втором этапе рассчитываются показатели эффективности проекта в целом. Цель этого этапа - интегральная экономическая оценка проектных решений и создание необходимых условий для поиска инвестора. Для локальных проектов оценивается только их коммерческая эффективность и, если она оказывается приемлемой, рекомендуется непосредственно переходить к третьему этапу оценки. Для общественно значимых проектов оценивается, в первую очередь, их социально-экономическая эффективность. При неудовлетворительной оценке такие проекты не рекомендуются к реализации и не могут претендовать на государственную поддержку. Если же социально-экономическая эффективность оказывается достаточной, оценивается их коммерческая эффективность.
• Третий этап оценки осуществляется после выработки схемы финансирования. На этом этапе уточняется состав участников и определяются финансовая реализуемость и эффективность участия в проекте каждого из них (региональная и отраслевая эффективность, эффективность участия в проекте отдельных предприятий и акционеров, бюджетная эффективность и прочее).
Схема оценки эффективности проекта
Этап 1
Этап 2
Этап 3
Оценка
общественной
значимости
проекта
/ Проект \ общественно \ значим? /
Определение
организационно
экономического
механизма
реализации
Оценка социальноэкономической эффективности
Определение
х Проект
х Эффективен?
состава
участников
Оценка
коммерческой
эффективности
Оценка
коммерческой
эффективности
Выработка
схемы
финансирования
^ Проект
х Эффективен?
' Проект
х эффективен?
Проект
реализуем?
Оценка
Рассмотрение и
эффективности
оценка вариантов поддержки
проекта для каждого участника
Оценка
х Проект
х Эффективен?
коммерческой
эффективности с
учетом поддержки
Проект
х фективен?
Реализация
проекта
КОНЕЦ
Рис. 8. Схема оценки эффективности проекта
Предлагаемые в данной работе модели и методы значительно упрощают процесс оценки эффективности проекта и удовлетворяют перечисленным принципам. Наиболее целесообразно их применение на втором и третьем этапах оценки эффективности проекта.
В соответствии с определенной стратегией организации по каждому прогнозируемому портфелю проектов разрабатывается максимальное количество вариантов проектов. Этап оценки эффективности проектов предшествует формированию портфеля проектов: на нем отбрасываются заведомо неэффективные проекты, и сокращается число альтернатив по каждому направлению деятельности. Альтернативные варианты проектов могут отличаться друг от друга стратегиями реализации, используемыми активами, участниками и т.д.
Таким образом, задача выбора проекта из множества альтернатив сводится к задаче максимизации целевого критерия эффективности F(-). Формально эта задача может быть представлена следующим образом:
F(s) ^ max, s е S ,
где S - вектор возможных стратегий (см. подробное описание соответствующих моделей и методов в разделе 2.2).
Процесс выбора и оценки эффективности проектов можно условно разделить на следующие этапы (см. Рис. 9):
 |
|
Рис. 9. Этапы оценки эффективности проекта |
На этапе предварительного отбора проектов отсеиваются заведомо неэффективные проекты. На данном этапе вместо критерия максимума целевой функции целесообразно использовать определенное пороговое значение критерия эффективности:
F (s) > D, s е S
D ,
где D - некоторое действительное число; S
D - подможество множества S .
На следующем этапе осуществляется анализ наиболее конкурентоспособных проектов.
В настоящее время существует ряд методик оценки эффективности проектов [19, 47, 79, 101], основанных принципиально на единой методологической базе и отличающихся в основном условиями применимости и предметными областями. Наиболее адекватной современным российским условиям методикой являются Методические рекомендации по оценке эффективности инвестиционных проектов (вторая редакция, утверждено Министерством экономики РФ, Министерством финансов РФ, Государственным комитетом РФ по строительной, архитектурной и жилищной политике № ВК 477 от 21.06.1999) [101].
В [101] при оценке эффективности проектов предлагается использовать следующие характеристики:
• чистый доход (Net Value - NV);
• чистый дисконтированный доход (Net Present Value -NPV);
• внутреннюю норму доходности (Internal Rate of Return
- IRR);
• индексы доходности затрат и инвестиций;
• дисконтированный срок окупаемости (Payback Period -PP).
Чистый дисконтированный доход (Net Present Value - NPV) представляет собой разность между суммарной текущей стоимостью потоков денежных средств (cash-flow), дисконтированных в соответствии с выбранной ставкой процента и величиной первоначальных инвестиций.
Ді
(1 + г)"
чдд = 2
i=1
где
і - номер периода, і = 1,...,n; n - длительность проекта в периодах;
Д
і - денежный поток (cash-flow);
г - ставка дисконтирования;
K - сумма первоначальных инвестиций в проект;
Р
{ - экономический результат от реализации проекта в период і;
З
і - затраты, связанные с реализацией проекта в период і.
В случае если проект предполагает не единовременные капиталовложения, а последовательное инвестирование в течение ряда периодов, то формула приобретает следующий вид:
Д,
(1 + r )
n
чдд = z
i=1
z
i=1
i
(1 + r )
n’
Ді = Pi
Показатель чистого дисконтированного дохода носит абсолютный характер. Он показывает, какую полезность (в финансовом выражении) принесет организации реализация данного проекта. Но при этом он не дает никакого представления о том, на какой объем затрат приходится данная полезность и какова эффективность каждого затраченного рубля. В случаях, когда ограничения в финансовых средствах для инвестирования отсутствуют, рекомендуется выбирать проекты с наибольшим чистым дисконтированным доходам. В случае же, когда вариантов проектов достаточно много, а финансовые возможности ограничены, рекомендуется использовать относительные показатели, например внутреннюю норму доходности.
Внутренняя норма доходности (Internal Rate of Return - IRR) представляет собой процентную ставку (норму дисконта), при которой чистый дисконтированный доход проекта равен нулю. Внутренняя норма доходности (ВНД) определяется путем решения следующего уравнения:
Ді
(1 + ВНД )n
ЧДД = z
і=1
0.
В случае если проект предполагает не единовременные капиталовложения, а последовательное инвестирование в течение ряда периодов, то формула приобретает следующий вид:
Ді
(1 + ВНД )n
z
i =1
ЧДД = z
i=1
(1 + ВНД)
n '
Проект считается эффективным, если внутренняя норма доходности больше требуемой ставки доходности и неэффективным - в противном случае.
Данный показатель имеет два недостатка: во-первых, дает завышенную оценку высокоприбыльных проектов, поскольку при его расчете подразумевается, что положительные денежные потоки от инвестиций реинвестируются по ставке равной ВНД проекта, что представляется маловероятным. Второй недостаток связан с тем, что решение приведенного уравнения может дать несколько значений ВНД.
Эти недостатки можно устранить, воспользовавшись расчетом показателя модифицированной внутренней нормы доходности (Modified Internal Rate of Return - MIRR - МВНД), которая определяется следующим образом:
„
К У Д (1+>¦)-
у = j=1_
?(1 + r)” (1 + МВНД) ’
где
К - размер инвестиций;
Д
і - денежный поток (выручка).
Дисконтированный срок окупаемости (Payback Period - PP) - характеризует период времени от начала реализации проекта до момента, начиная с которого значение чистого дисконтированного дохода будет положительным и не изменит знак.
(1 + Г у
і=0
ДСО
Ді
(1 + r )
n
і=0
Данный показатель никогда не используется как основной при оценке эффективности проектов. Как правило, он дополняет показатели чистого дисконтированного дохода и внутренней нормы окупаемости.
Наряду с вышеперечисленными, при оценке эффективности проектов применяются следующие показатели:
• Индекс рентабельности инвестиций (Profitability Index);
• Коэффициент эффективности инвестиций;
• Норма доходности финансового менеджмента (Financial Management Rate of Return) и др.
На практике при оценке эффективности проектов в качестве целевых показателей обычно берется либо чистый дисконтированный доход, либо внутренняя норма доходности, а период окупаемости выступает в качестве дополнительного ограничения.
Приведенные показатели позволяют оценить проект с точки зрения его финансовой составляющей, но никак не учитывают полезность проекта для его непосредственных участников и сторон, косвенно связанных с его реализацией. В связи с этим при оценке эффективности проекта необходимо оценивать и его полезность для заинтересованных сторон при заданных условиях.
Также приведенные методы оценки эффективности проектов не учитывают специфики портфельного управления проектами, т.е. ориентированности портфеля проектов на достижение стратегических целей организации. Эти методы отражают только одну составляющую проекта - финансовую - и никак не учитывают других критериев эффективности.
Первоочередной же задачей, стоящей перед руководством организации и офисом управления проектами [76], является выработка системы критериев, по которым должны оцениваться проекты и их портфели при принятии решений о включении того или иного проекта в портфель, или при выборе портфеля.
Эта система критериев должна удовлетворять следующим требованиям. Во-первых, она должна отражать существенные и измеримые характеристики проектов [74, 78, 153, 154]. Во-вторых, она должна отражать стратегические цели организации, реализующей портфель проектов [7, 48, 133], учитывать прогнозную и экспертную информацию [49, 90, 94, 134]. И, наконец, в третьих, она должна учитывать и позволять согласовывать мнения различных субъектов (руководителей, подразделений и т.д.), представления которых о ценности тех или иных проектов или о стратегических целях организации могут различаться. Эти субъекты, принимая участие в формировании системы критериев и последующей оценке проектов, могут быть заинтересованы в получаемом результате, следовательно, возникает проблема манипулирования информацией [41].
Поэтому в настоящем разделе работы рассматриваются модели и методы оценки эффективности портфелей проектов с точки зрения соответствия их целям организации, мнения о которых различных субъектов могут в общем случае не совпадать.
2.1.2. Описание модели оценки эффективности проектов портфеля
Пусть имеется множество Р оцениваемых проектов, P = {1, 2, n
p}. Обозначим Q сP - подмножество множества проектов - портфель проектов. Каждый портфель проектов Q оценивается по k критериям: Xj(Q) - оценка портфеля Q по критерию j е K = {1, 2, ..., k} - множеству критериев.
Будем считать, что система критериев такова, что:
- Xj(-): 2
P , j еK, то есть Xj() - функция множеств
(функция оценки определенного эффекта от реализации портфеля проектов), принимающая неотрицательные действительные значения;
- Wj е K, VQ
1 cQ
2 Xj(Q
1)
2), то есть считается, что чем выше оценка, тем "лучше" - больше эффект, причем добавление новых проектов в портфель не снижает его оценки;
- Wj е K, WQi, Q2 сР: Qi nQ2 = 0
X](Ql UQ2) >Xj(Qi) + Xj(Q2)
- свойство супераддитивности функций оценок, отражающих синергетический эффект портфеля - одновременная реализация двух различных портфелей приводит к не меньшему эффекту, чем реализация этих портфелей по отдельности.
Положительный "октант" Щ + представляет собой пространство состояний рассматриваемой системы - введенный набор критериев отображает в это пространство любой портфель проектов.
Рассмотрим теперь цели организации, реализующей портфель проектов. Цель, фактически, определяет, движение в каком направлении в пространстве Щ + является предпочтительным, или,
что почти то же самое (см. [66]), какая из любых двух точек в этом пространстве "лучше" с точки зрения организации (является более предпочтительной). Цель будем описывать функцией F(x), где x = (xi, x2, xk) - вектор оценок, F: Щ + — Щ.
Относительно критерия эффективности - функции F(-) - будем предполагать, что она монотонно возрастает по всем переменным (данное предположение естественно, так как выше введено предположение о том, что организация заинтересована в увеличении оценок по всем критериям). Более того, потребуем, чтобы критерий эффективности был согласован с отношением Парето-доминирования векторов оценок. Содержательно, функция F(-) отражает приоритеты критериев - значения по всем из них хотелось бы увеличивать, однако, если присутствуют ограничения, то оптимум будет зависеть от "приоритетов" [77, 118].
Введем множество W ограничений Wj(-): 2 — Щ^,
j е R = {1, 2, nr}, имеющих вид w{(Q) >0, l ей.
Если на множестве Щ + задан критерий эффективности F(-) и
ограничения, то задачу выбора оптимального портфеля проектов
Q* сР можно записать в виде
(1) F(xi(Q), x2(Q), xk(Q)) — max .
{QCP|wi(Q)>0, leR}
Задача (1) является задачей дискретной оптимизации (в частном случае - при одном ограничении - задачей о ранце) [26] и
останавливаться подробно на методах ее решения мы не будем (эта проблема заслуживает отдельного исследования).
2.1.3. Задача согласования интересов
Выше задача выбора портфеля проектов была сведена к задаче дискретной оптимизации (1). При этом предполагалось, что все функции и ограничения известны. Обсудим, откуда "берутся" система критериев, критерий эффективности и ограничения.
Выбор критериев оценки проектов и портфелей проектов, как правило, не вызывает затруднений - обычно используются временные (например, время завершения), финансовые (например, доход, прибыль, рентабельность и т.д.), социальные (например, социальная значимость проекта) и другие показатели [74, 76, 78]. Ограничения также обычно легко перечисляются - технологические, ресурсные и другие.
Сложнее дело обстоит с критерием эффективности. Фактически, имеется многокритериальная задача принятия решений [77, 118], в которой специфика портфелей проектов отражается тем, что, во-первых, не всегда руководитель способен сформулировать четко свои предпочтения, а, во-вторых, может существовать несколько различных (несовпадающих) мнений относительно того, какой портфель проектов считать более эффективным.
Последний эффект обусловлен тем, что любая организация является сложной системой, однозначно описать цели которой с позиций одного субъекта не всегда удается. Кроме того, любая организация состоит из множества агентов (руководителей, подразделений, сотрудников), представления которых о том, "что такое хорошо, и что такое плохо", могут быть различными как в силу несовпадения их интересов, так и в силу отличий в опыте, квалификации и т.д.
Поэтому рассмотрим множество N = [1, 2, п} агентов, оценивающих эффективность портфеля проектов, каждый со своей точки зрения. Агент i имеет свои представления Fj(x) об эффективности F]: Ш + — Ш, i eN.
Тогда задача построения "агрегированного" критерия эффективности F(-) заключается в нахождении такого отображения F(x): Ш + — Ш1, которое было бы "максимально согласовано" с набором предпочтений Fi(x): Ш + — Ш1, i eN, агентов из множества N.
Неоднозначность толкования "максимальной согласованности" порождает целый класс задач согласования интересов, изучению которого посвящено множество исследований (см. [90, 134 и
др.]).
Формально задача согласования интересов выглядит следующим образом: пусть задана метрика || • || и известна область X с Ш + возможных значений оценок по критериям: x e X; требуется найти
(2) F*( •) = arg min max V || F(x) - Ft (x) ||,
FW xeX ieN
где минимум вычисляется по множеству всевозможных отображений F(-): Ш + — Ш1, удовлетворяющих перечисленным выше свойствам.
Решать задачу (2) в общем виде достаточно трудоемко, поэтому целесообразно введение дополнительных предположений.
Можно искать критерий эффективности в виде линейной комбинации критериев эффективности агентов:
(3) F(a, x) = VaF (x),
ieN
где a = (a1t a2, an), ai >0, i eN, V^ai = 1.
ieN
Если предпочтения агентов таковы, что относительная важность критериев не зависит от оценки (локальной характеристикой относительной важности j-го критерия с точки зрения i-го агента
dF1(x) X
может служить частная производная - в точке x е X, норми-
dxj
рованная на абсолютное значение градиента в этой точке), то есть, например
(4) F,(x) = ^а1}х} , 1 е N,
jeK
а значения оценок по критериям нормированы, то при использовании квадратичной метрики задача (2) примет вид:
С \2
Z Z(аи -Zaqaj)
ieN \ jeK qeN J
В итоге решения данной задачи условной оптимизации получим так называемый линейный приоритетный критерий эффективности
(5) FL(x) = ZP1x] ,
jeK
где
(6) Р = Zaiav’ j eK
ieN
В качестве другого примера можно привести равномерный критерий: Fjx) = min [jj xj}. Для него (и других, подобных рас-
jeK
смотренным выше, критериев) задача согласования (2) сводится к той или иной известной оптимизационной задаче.
2.1.4. Проблема манипулирования информацией
Выше, при постановке и решении задачи построения агрегированного критерия эффективности, считалось, что приоритеты агентов известны. Такая ситуация не всегда имеет место - возможно, что лицу, принимающему решения - центру, неизвестны предпочтения агентов, и он просит их сообщить информацию о своих предпочтениях.
Если решения, принимаемые на основании агрегированного критерия, затрагивают интересы агентов, то они будут стремиться сообщить такую информацию, чтобы принимались наиболее предпочтительные для них решения. Следовательно, возникает проблема манипулирования информацией [41]. Значит необходимо исследование условий, при которых агентам будет выгодно сообщать достоверную информацию.
Обозначим А - k-мерный единичный симплекс, где к - число критериев. Будем параллельно рассматривать два механизма: n(s): (А)" —А и g(v): (Ш +-1 )" — Ш +-1, где n - число агентов.
Механизм я(-). Будем считать, что в механизме n(s) i-ый агент сообщает центру информацию Si = (sn, sa sik), I sy = h где
jeK
Sy >0 - сообщение (не обязательно истинное) о его представлениях об относительной важности критерия j е K, i е N.
Истинные предпочтения i-го агента - идеальная точка - его субъективные представления об относительной нормированной важности критериев (его тип [41]) - обозначим ri = (ri1, ri2, rik),
Гу >0, j eK I rj = 1, i eN.
jeK
Центр принимает решения на основании процедуры планирования (механизма принятия решений, механизма агрегирования мнений агентов) - вектор-функции п(-), такой, что ny-(s) является относительным приоритетом j-го критерия, где s = (sh, s2, s"), j е K.
Механизм g(-). В механизме п(-) считалось, что каждый из агентов сообщает вектор приоритетов критериев, удовлетворяющий условию нормировки. Мыслить в таких категориях (отслеживать нормированность и т.д.) может быть затруднительно, поэтому рассмотрим модель, в которой требование нормировки априори не накладывается.
В механизме g( •) сообщение каждого агента имеет вид вектора vi = (vi1, vi2, vik-1, 1), где vy - приоритет j-го критерия относительно к-то с точки зрения /-го агента, j eK \ {k}, i eN (понятно, что в качестве точки отсчета - базового критерия - может быть выбран любой критерий, а не обязательно k-ый, как это сделано выше).
Истинные предпочтения i-го агента в механизме g(-) обозначим wi = (w/1, w/2, 1), Wj >0, j eK \ {k}, i eN.
Сообщения в механизмах п( •) и g( •) связаны следующим образом:
(7) sj = v/j/(1 + 2vj )’j eK \ {k}, i eN,
J^k
(8) s,k = 1 /(1 + 2vv ), i eN.
k
(9) Vj = S/j /Sik, i eN, j eK.
Сообщения (7), (8) уже удовлетворяют условию нормировки для любых сообщений {vij >0}.
Относительно механизмов п(-) и g(-) будем предполагать, что вектор-функции п(-) и g(-):
1) непрерывны по всем переменным;
2) удовлетворяют условию единогласия: если для некоторого j eK для всех i eN выполнено s/j = aj (vij = aj), то 7Cj(s) = aj (gj(s) = aj). Другими словами, если все агенты сообщают одну и ту же оценку приоритета некоторого критерия, то итоговый приоритет этого критерия должен равняться данной оценке.
3) анонимны, то есть, симметричны относительно перестановок агентов.
4) сепарабельны, то есть
n(s) = n(slp S2j, sj), j eK;
gj(v) = gj(v1p v2j ¦¦¦> vnj), j eK;
5) монотонны, то есть n(s) не убывает по s/j, а gj(v) не убывает по vij, j e K, i e N.
Кроме того, будем предполагать, что п( •) удовлетворяет условию нормировки: Vs n(s) >0, j e K, 2 ж} (s) = 1
jeK
Частным является случай, в котором агрегированный критерий эффективности определяется "усреднением" оценок, сообщенных агентами:
(10) n(s) = - 2 sv > j еК
nlGN
что приводит, например, к линейному агрегированному критерию.
(11) FL(x, s) = 2п (s)Xj .
jeK
Отметим, что процедура (10) удовлетворяет требованиям 1-5. Опишем теперь предпочтения агентов. Будем считать, что каждый агент заинтересован в том, чтобы итоговое значение приоритетов критериев было как можно ближе к его субъективному мнению. Тогда предпочтения агентов (напомним, что рациональные агенты стремятся максимизировать свои целевые функции [66]) можно описать однопиковыми [118, 128, 150, 157] действительнозначными функциями f,(n(s), r,) (соответственно, f(g(v), w,)), возрастающими по мере приближения n(s) к r,j (соответственно, gj(v) к Wj), j е K, i е N. Примерами могут служить
(12) f(n(s), r,) = - 21 (s) - ry. |, i е N,
jeK
или
 |
rj)2>i еN |
(13) f(n(s), r,)
Имея целевые функции и множества допустимых действий (сообщений) агентов, и считая, что они сообщают центру информацию однократно, одновременно и независимо (при условии, что предпочтения агентов являются общим знанием между ними), можно анализировать игру агентов [66].
Вектор равновесных по Нэшу сообщений агентов s (соответственно, v ) будет зависеть от их истинных мнений r (соответственно, w), то есть в общем случае
s*(r) = (si*(r), s2*(r), sn\rj), v*(w) = (Vi\w), V2*(w), V„*(w)).
Обозначим соответствующие механизмам п(') и g(-) прямые механизмы hJr): (Ak)n — A, hj(r) = n(s*(r)) и
hg(w): (Щ +-1)n — Щ +-1, hg(w') = g(v*(w)), где идеальные точки {riJ} и {м>ц) связаны соотношениями (7)-(9).
В случае к = 2 однопиковые сепарабельные предпочтения агента на A порождают однопиковые сепарабельные предпочтения на Щ + 1, и наоборот. В случае к >3 это уже не так. Кроме того, так как, несмотря на то, что каждый из механизмов п( •) и g( •) предполагается сепарабельным, процедуры (7)-(9) «пересчета» весов критериев уже не сепарабельны, поэтому будем исследовать механизмы по отдельности.
Рассмотрим последовательно ряд случаев.
Случай 1 (к = 2, n >1).
В этом случае легко показать, что механизмы п( •) и g( •) являются манипулируемыми. Построим для них соответствующие прямые механизмы. Начнем с анализа примера для механизма п(-).
Пример 1. Рассмотрим сначала частный случай, когда: имеется два критерия и используется линейная процедура (10).
Обозначим su = pu тогда si2 = 1 - pu p, e [0, 1] - сообщаемая i-ым агентом оценка приоритета первого критерия, i e N.
1Z Pi,
П ieN
Получаем: n1(s)
n(s)
Z(1 - Pi) =1 - n(s).
ieN
Приведем пример. Обозначимp = (p1t p2).
Пусть n = 2. Запишем функции наилучших ответов агентов: BRi(p3_l) = {2 ri1 - p3-i} n [0; 1], i = 1, 2. Так как прямые наилучших ответов агентов не пересекаются, то не существует равновесия Нэша, лежащего строго внутри квадрата [0; 1]2.
Пусть для определенности rn < r21 (если rn = r21, то агентам в силу условия единогласия выгодно сообщение достоверной информации). Тогда возможны три случая.
1. rn < r2i < 1/2. Тогда равновесием Нэша является следующий вектор сообщений - s (rn, r21) = (0; 2 r21), что приводит к n1(s*(r11, r21)) = r2i, то есть "диктатором" [118] является второй агент.
2. r11 < 1/2 < r21. Тогда равновесием Нэша является следующий вектор сообщений - s (r11, r21) = (0; 1), что приводит к n1(s (r11, r21)) = 1/2, то есть "диктаторы" отсутствуют.
3. 1/2 < r11 < r21. Тогда равновесием Нэша является следующий вектор сообщений - s (r11, r21) = (2 r11 - 1; 1), что приводит к n1(s (r11, r21)) = r11, то есть "диктатором" является первый агент.
Видно, что при несовпадающих интересах агентов (r11 ^r21) сообщение достоверной информации не является равновесием Нэша игры агентов.
Тем не менее, в данном случае возможно построение эквивалентного прямого механизма (то есть такой процедуры, в которой агентам выгодно сообщать достоверную информацию о своих предпочтениях, и которая приводит к тому же итоговому решению, что и исходная процедура [118, 128]).
Эквивалентный прямой механизм имеет следующий вид. Центр спрашивает агентов об их представлениях о приоритетах критериев, обещая использовать процедуру вычисления равновесия в соответствии с приведенными выше тремя случаями. Легко убедиться, что каждому из агентов выгодно сообщать в этом механизме достоверную информацию. •
Отметив сходство описываемой модели с механизмами экспертизы [41, 118, 128, 151, 157], перейдем к рассмотрению более общего случая. А именно, предположим, что процедура п(-) принятия решений удовлетворяет требованиям 1-5, имеются два критерия, а целевые функции агентов fi(n1(p), п2(п), ri1t ri2) являются однопиковыми (примерами являются (12) и (13)) по переменным П, п2 с точками пика, соответственно, ri1 и ri2.
По аналогии с механизмами экспертизы [41, 118, 128] исследуем структуру равновесия Нэша игры агентов. Для этого вычис-
При этом z0 = 1 > zi > z2 > ... > zn = 0.
Центр может попросить агентов сообщить истинные значения {rii}i eN и использовать их следующим образом (эквивалентный прямой механизм): упорядочить агентов в порядке возрастания их сообщений; если существует число q e 2, n , такое, что zq-i - rq-i>i; zq qj (легко показать, что существует единственный агент с таким номером q), то п = min (zq-i; rql) - звездочка здесь и далее обозначает равновесность соответствующей величины.
Пусть все rii различны и упорядочены в порядке возрастания, то есть rii < r2i < ... < rni и пі* - равновесие Нэша (п* = п(5*(г))). Можно показать, что если п > rii, то pt = 0, если п < riU то
* - /"Ч * 1 * *
pt = 1. Если же 0 < pt < 1, то п = rii. При этом если п = rqi, то У/ < q p/* = °, yj > q p * = 1, а величина p* определяет-
04 0,0, 1^.1
V i n - i
лим (n + i) число: z
п,
ся из условия п
0,0,-A p*, 1,1, ...,1
V q-1
n-q у
Таким образом, для определения ситуации равновесия достаточно найти номер q. Если z, ii i-i, то л* = rii, то есть i-ый агент является диктатором на отрезке [zy zi-i]. Легко показать, что существует единственный агент q, для которого выполнено
zq-i -rq_u, zq qi.
Определив таким образом q, можно найти итоговое равновесное значение приоритета первого критерия: пі = min (zq-i, rqi).
По аналогии с рассмотренным выше примером можно показать, что сообщение достоверной информации (pt = rf1 )i eN
является равновесием Нэша игры агентов.
Таким образом, обоснована справедливость следующего утверждения.
Утверждение 1. Механизм НП •) = min (zqi, rqI) является нема-нипулируемым.
Таким образом, механизм принятия решений об относительной важности двух критериев отличается от классического механизма активной экспертизы наличием "второго критерия". Однако его присутствие (в силу условия нормировки) не меняет результата - при удалении (приближении) равновесия от точки пика по первому критерию, равновесие "автоматически" удаляется (приближается) к точке пика по второму критерию.
Рассмотрим теперь механизм hg(-) для первого случая. Обозначим qi = arg max {м>ц}, q2 = arg max {wi2}, где w - совокуп-
ieN ieN
ность идеальных точек всех агентов.
Отметим, что, хотя механизм hg(-) является неманипулируе-мым, равновесие в общем случае зависит от того, какой критерий выбран в качестве базового (см. также пример 2).
Пример 2. Пусть rn = i/3;, rn = 2/3, Г21 = 3/4, Г22 = i/4, ф) = (sij + s2j) / 2, gj(v) = (vij + V2j) / 2, j = i,2. Тогда wu = i/2, W12 = i, W21 = 3, W22 = i.
Если в механизме п(-) все агенты говорят правду, то
Пг) = (13/24, ii/24). Механизм НП/) обеспечивает сообщение достоверной информации и дает в равновесии НПг) = (i/2, i/2).
Если в механизме g(-) все агенты говорят правду, то
g(r) = (7/4, i). Механизм hg(-) обеспечивает сообщение достоверной информации и дает в равновесии, если базовым выбран пер
вый критерий - hg(r) = (i/3, 2/3), если второй - hg(r) = (3/4, i/4). Три механизма (для каждого из которых существует эквивалентный прямой (неманипулируемый) механизм), которые, казалось бы, в соответствии с (7)-(9) «однозначно связаны», приводят к трем различным исходам, что свидетельствует о том, что выбор механизма агрегирования мнений агентов о приоритетах критериев следует производить чрезвычайно вдумчиво и осторожно, учитывая возможные последствия манипулирования. •
Обозначим qj = arg max {wij}, j e K.
ieN
Утверждение 2. В механизме hg() равновесие имеет следующий вид:
* (0, 1 * я,
(14> '*¦(w) = к (г), /=яг1 e' №Ь
где Vq,, (w) таково, что g,(0, 0, 0, Vq,, > = Wq,,, j e К \ {k}.
q,i
я,,'-
При этом
(15) hgj(w) = gj(v(w>> = Wq,, j eK \ {k}.
Справедливость утверждения 2 следует из подстановки (10) в (1) с учетом свойств 1-5 механизма g(). Содержательно утверждение означает, что приоритет каждого критерия определяется мнением агента, считающего данный критерий наиболее важным. Этого агента, следуя традиции [26, 105], назовем «диктатором».
Следствие. Механизм hg(), определяемый (15), является нема-нипулируемым.
Для механизма hg) можно привести пример, показывающий его манипулируемость в случае, если число критериев больше либо равно трем.
Агрегируем полученные в настоящем разделе результаты в виде следующей теоремы.
Теорема. а) Для механизма g() принятия решений об относительной важности критериев, удовлетворяющего предположениям 1-5, существует эквивалентный прямой (неманипулируемый) механизм (15).
б) Для механизма п(-> принятия решений об относительной важности двух критериев, удовлетворяющего предположениям 1-5, существует эквивалентный прямой (неманипулируемый) механизм.
Таким образом, в настоящем разделе предложена модель, позволяющая оценивать эффективности реализации различных портфелей проектов с точки зрения стратегических целей организации, выражаемых группой заинтересованных лиц. Описаны процедуры согласования интересов этих лиц и исследованы эффекты манипулирования ими информацией.
2.2. ФОРМИРОВАНИЕ ПОРТФЕЛЯ ПРОЕКТОВ
2.2.1. Обзор существующих моделей и методов формирования портфеля проектов
Модели формирования портфеля проектов можно разделить на два больших класса: однокритериальные и многокритериальные задачи.
Однокритериальные модели принятия решений об отборе проектов в портфель по учету неизвестных факторов можно подразделить на детерминированные, стохастические и модели с элементами неопределенности [140].
Существующие модели формирования портфеля, реализуемые в условиях определенности, а также в зависимости от вида целевой функции и ограничений можно разделить на четыре вида: 1) линейные, 2) нелинейные, 3) динамические и 4) графические [140].
В [141] приведена следующая классификация моделей, с использованием которых возможно формирование портфеля проектов (см. Рис. 10):
 |
|
Рис. 10. Классификация однокритериальных моделей формирования портфеля проектов |
При наличии достаточной определенности исходных данных, решения о формировании портфеля принимаются в следующей последовательности [21]:
1. Определяется критерий, по которому будет осуществляться отбор проектов в портфель.
2. Вычисляются оценки проектов, выбранных на этапе анализа эффективности, по выбранному критерию.
3. Вариант с наилучшим значением рекомендуется к включению в портфель.
Наибольшим разнообразием отличается группа линейных моделей. В линейных моделях целевая функция и ограничения линейны по управляющим переменным. На сегодняшний день наиболее известны следующие линейные модели [141]:
• задача о ранце;
• статическая модель Дина;
• одноступенчатая модель Альбаха;
• многоступенчатая модель Хакса и Вайнгартнера;
• модель с несколькими производственными ступенями -расширенная модель Ферстнера-Хенна;
• модель с возможностями выбора установок и дезинвестиций Якоба.
Авторами нелинейных моделей являются Бумба, Ментцен-Шольц, Якоб, Дитхл, Петерс и др.
Динамические модели были разработаны Вагнером, Лайером, Зеелбахом.
Графические модели представлены различными модификациями сетевых моделей.
Основным преимуществом однокритериальных задач формирования портфеля является их относительная простота.
Но однокритериальные модели не отражают многоцелевой сущности проектов и портфелей проектов. Таким образом, такое преимущество однокритериальных моделей одновременно является и их основным недостатком. Однокритериальные задачи формирования портфеля не отражают синергетического эффекта портфеля проектов.
Синергетический эффект портфеля проектов, в частности, заключается в одновременном достижении наилучших экономических, финансовых, социальных и др. конечных результатов. Под эффектом синергизма портфеля проектов понимается ситуация, когда получаемая полезность от реализации портфеля проектов превышает полезность от реализации проектов портфеля по отдельности.
В [141] предлагается описывать все синергетические эффекты тремя переменными: увеличение прибыли, снижение издержек, уменьшение потребности в инвестициях и динамику изменения этих переменных. Таким образом, общий синергетический эффект можно было бы выразить посредством роста величины денежных потоков (или нормы возврата капитала).
На современном этапе развития задач формирования портфелей проектов наибольшее распространение получили задачи оптимизации портфеля по критериям «риск-доходность». В частности, подробно двухкритериальная задача оптимизации портфеля по критериям «риск-доходность» описана в [162]. Обобщенная модель многокритериальной задачи формирования портфеля проектов приведена в [141, с. 285].
После рассмотрения общей классификации задач формирования портфеля проектов, попытаемся систематизировать известные подходы к формированию портфеля проектов с учетом специфики самих портфелей и составляющих их проектов. Далее сформулируем модель формирования портфеля, формально учитывающую степень соответствия портфеля стратегическим целям организации.
2.2.2. Классификация моделей и методов формирования портфеля проектов
Предположим, что имеются n проектов, характеризуемых кортежами (с,, dj, т), i е N - множеству проектов, где ci - затраты, di -доход, т - продолжительность проекта i (предполагается, что организация, реализующая проект, несет затраты до момента его начала, а доход получает после его завершения). В общем случае продолжительность проекта может зависеть от интенсивности работ (графика использования ресурсов) и, следовательно, от суммарных затрат.
Введем следующие основания классификации.
1. Зависимость проектов. Возможные значения признаков классификации по данному основанию - независимые проекты (для которых отсутствуют какие-либо технологические ограничения на последовательность их выполнения и моменты начала, кроме ресурсных ограничений) и зависимые проекты (для которых задан сетевой график, отражающий допустимую последовательность реализации проектов).
2. Фиксированность портфеля. Возможные значения признаков классификации по данному основанию - портфель заранее фиксирован и совпадает с множеством N, или портфель - множество Q с N - требуется найти.
3. Решаемая задача. Возможные значения признаков классификации по данному основанию - решение задачи распределения ресурса и/или поиска моментов времени начала реализации проектов.
Так как по первым двум основаниям значения признаков взаимоисключающие, то по третьему основанию обе задачи могут решаться как одновременно, так и поодиночке (кроме того, в случае формирования портфеля, времена и ресурсы могут быть фиксированы). Поэтому получаем 13 вариантов оптимизационных задач, перечисленных в таблице 5.
Таблица 5
Классификация задач формирования портфеля проектов |
|
№ |
Проекты |
Портфель |
Распре
деление
ресурса |
Опреде
ление
времен |
Тип задачи |
|
1 |
Независи
мые |
Формиро
вание |
+ |
+ |
? |
|
2 |
Независи
мые |
Формиро
вание |
+ |
- |
? |
|
3 |
Независи
мые |
Формиро
вание |
- |
+ |
? |
|
4 |
Независи
мые |
Формиро
вание |
|
|
«Задача о ранце» (см.
ссылки
ниже) |
|
5 |
Зависимые |
Формиро
вание |
+ |
+ |
? |
|
6 |
Зависимые |
Формиро
вание |
+ |
- |
? |
|
7 |
Зависимые |
Формиро
вание |
- |
+ |
? |
|
8 |
Зависимые |
Фиксирован |
+ |
+ |
см. 9 |
|
9 |
Зависимые |
Фиксирован |
+ |
|
«Задача
распределения ресурсов на |
|
|
№ |
Проекты |
Портфель |
Распре
деление
ресурса |
Опреде
ление
времен |
Тип задачи |
|
|
|
|
|
|
сетях» (см.
ссылки
ниже) |
|
10 |
Зависимые |
Фиксирован |
|
+ |
«Задача КСПУ» (см.
ссылки
ниже) |
|
11 |
Независи
мые |
Фиксирован |
+ |
+ |
см. 8 |
|
12 |
Независи
мые |
Фиксирован |
+ |
- |
см. 9 |
|
13 |
Независи
мые |
Фиксирован |
|
+ |
«Задача
выбора
моментов
начала
операций» (см. ссылки ниже) |
В таблице 5 перечислены варианты, получаемые всевозможными комбинациями значений признаков классификации. Перечислим теперь известные из литературы классы задач (а их, оказывается, всего три), и затем установим соответствие между ними и 13 вариантами из таблицы 5.
Задачи о ранце. Данный класс задач заключается в следующем. Требуется найти множество независимых проектов (время не учитывается, то есть можно считать, что отбираемые проекты начинаются одновременно и реализуются параллельно), максимизирующих заданный критерий при известном ресурсном ограничении [33, 35, 4141, 45]. То есть, задача заключается в формировании портфеля независимых проектов, удовлетворяющих ресурсным ограничениям. Характеристики проектов фиксированы, поэтому данная задача совпадает с задачей 4 в таблице 5.
Для решения задачи о ранце (иногда ее формулируют как модель «затраты-эффект» [41]) применяют метод динамического программирования, которым она эффективно решается. Известны обобщения этой задачи на случаи, когда каждый проект (и, следовательно, портфель в целом) оценивается по нескольким аддитивным по проектам показателям [28, 32], или существуют несколько ограничений [12]. Использование метода динамического программирования и в этом случае позволяет перечислить Парето-оптимальные [129] варианты портфеля.
Задачи распределения ресурса на сетях. Исторически, управление проектами выделилось в самостоятельную дисциплину, наверное, с появлением в начале 50-х годов XX века календарно-сетевого планирования и управления (КСПУ) [24, 39, 62]. Сначала появился метод критического пути и связанные с ним задачи сокращения продолжительности проекта - см. задачу 10 в таблице 1; затем - задачи распределения ресурса на сетях, заключающиеся в следующем.
Предположим, что скорости выполнения операций, входящих в проект, зависят от количеств используемых ресурсов. При фиксированном и известном объеме операции, варьируя количество ресурсов на операциях, можно влиять на их продолжительности, и, следовательно, при известном сетевом графике - на продолжительность проекта в целом (длину критического пути и т.д.).
Возможны различные постановки: распределения ресурса (например, оптимизации графика финансирования) таким образом, чтобы минимизировать продолжительность проекта при известных ресурсных ограничениях, или таким образом, чтобы минимизировать расходуемые ресурсы при условии, что проект завершится за заданное время и т.д. [10, 16, 35].
Задача может усложняться за счет учета времени на перемещение ресурсов [9, 10], или допущения наличия мягких зависимостей между операциями [16] и т.д.
Кроме того, следует упомянуть работы, связанные с механизмами сокращения продолжительности проекта (например, производственного или коммерческого цикла), учитывающими активность поведения участников проекта (исполнителей) [33, 41, 42, 80].
Все эти задачи объединяет то, что в них проекты (или работы внутри одного проекта) являются зависимыми, а набор проектов (портфель) - фиксирован. Поэтому можно считать, что все они относятся к задаче 9 в таблице 5. Для данного класса задач в общем случае уже не существует эффективных алгоритмов решения, поэтому задача исследователя заключается либо в нахождении содержательно интерпретируемых частных случаев, для которых удается найти эффективные алгоритмы, либо в нахождении эвристик и анализе их эффективности.
Задачи выбора моментов времени начала операций. Этот класс задач в общем случае заключается в определении последовательности выполнения (точнее - моментов времени начала выполнения) фиксированного множества независимых проектов - задача 13 в таблице 5 (быть может, с одновременной оптимизацией распределения ресурсов - см. задачу 8 в таблице 5). Наиболее детально исследованы две задачи - минимизации упущенной выгоды и самофинансирования.
Задача минимизации упущенной выгоды заключается в следующем. Заданы директивные сроки завершения каждого проекта, известны также потери (упущенная выгода) от задержки в завершении каждого проекта сверх его директивного срока. Требуется найти последовательность реализации проектов, удовлетворяющую ресурсным ограничениям и минимизирующую упущенную выгоду. На сегодняшний день эффективные алгоритмы известны лишь для ряда частных случаев задачи минимизации упущенной выгоды [11, 12, 10, 13, 16, 28].
Задача самофинансирования заключается в определении моментов времени начала реализации проектов с целью минимизации величины привлеченных средств при условии, что доход, полученный от уже реализованных проектов, может использоваться для начала реализации новых проектов. Аналитическое решение этой задачи для случая последовательной реализации проектов приведено в [42], эффективный алгоритм для несколько более общего случая - в [32].
В заключение описания задач, приведенных в таблице 5, отметим, что, во-первых, на сегодняшний день общих постановок и методов решения задач 1-3 (и, тем более, задач 5-7) не известно (исключение составляет работа [45], в которой задача 1 формулировалась и решалась для частного случая выбора проектов управляющей компанией с учетом возможности привлечения заемных средств). Задача 8 при известных зависимостях между ресурсами и продолжительностями операций сводится к задаче 9; задачи 11-12 являются частными случаями, соответственно, задач 8-9.
Завершив классификацию и краткий обзор моделей и методов формирования портфелей проектов, обсудим специфику последних.
2.2.3. Специфика портфелей проектов
Как отмечалось выше, в портфель проектов, реализуемых организацией, входят, как правило, независимые проекты. Следовательно, к формированию портфеля проектов, в первую очередь, относятся задачи 1-4, приведенные в таблице 1. Решение задач 1-3 может использовать известные результаты решения задач 9, 10, и 13 следующим образом: для каждого допустимого фиксированного портфеля решается соответствующая задача, после чего портфели сравниваются, и выбирается оптимальный портфель (аналогичные методы использовались при решении задач формирования состава организационных систем [115]).
Кроме того, модели формирования портфеля должны учитывать многокритериальность оценки результатов отдельных проектов, так как стратегические цели организации обычно описываются векторным критерием. Многокритериальная нечеткая модель формирования портфеля проектов рассматривается ниже.
Также необходимо принимать во внимание необходимость динамического формирования портфеля проектов - возможного его пересмотра при появлении новых проектов - "претендентов" на включение в портфель и реализацию их рассматриваемой организацией. При использовании моделей типа "задачи о ранце" учет того, что на момент принятия решений некоторые проекты находятся в процессе выполнения, производится следующим образом -считаем портфель пустым, начальные затраты - равными суммарным освоенным затратам уже выполняемых проектов, а затраты выполняемых проектов - равными разности между плановыми и освоенными. В остальном метод динамического программирования остается без изменений и дает новый оптимальный портфель, в который могут быть включены как новые, так и старые проекты.
Задача формирования портфеля существенно усложняется, если исходная информация включает ранние допустимые моменты начала реализации проектов (будущих "претендентов" на включение в портфель), а планирование должно производиться на достаточно большой период времени. Еще более усложнит задачу допущение возможности перерывов в выполнении отдельных проектов.
2.2.4. Многокритериальная нечеткая модель
формирования портфеля проектов
Как отмечалось выше, специфика управления портфелями проектов заключается, в том числе, в том, что целесообразность реализации отдельных проектов оценивается с точки зрения стратегии организации в целом, то есть в общем случае - по нескольким критериям, однозначная оценка проекта по которым не всегда возможна. Кроме того, проекты требуют затрат ресурсов, как минимум, нескольких видов (в отличие от инвестиционных портфелей или портфелей ценных бумаг, описываемых лишь финансовыми показателями). Поэтому обобщим "задачу о ранце" на случай, во-первых, многокритериальных нечетких оценок проектов, и, во-вторых, на случай использования при реализации проектов ресурсов нескольких видов.
Рассмотрим следующую модель. Пусть имеется m видов ресурсов и известно, что каждый проект i eN требует ресурсы cij, j eM = {1, 2, m} - множеству ресурсов.
Будем считать, что каждый проект i e N оценивается по k критериям, оценки aii по которым принимают значения из множеств Al, l eK = {1, 2, k} - множеству критериев.
Введем предположение об аддитивности оценок и ресурсов по проектам: оценка портфеля по каждому критерию получается суммированием оценок по данному критерию по всем проектам, входящим в портфель; ресурсы каждого вида, требуемые для реализации портфеля проектов, определяются суммированием количеств ресурса данного вида по всем проектам, входящим в портфель. Отметим, что, если отказаться от этого предположения, то в общем случае для решения задачи формирования портфеля необходимо сравнивать все (!) возможные портфели.
Портфель Q <^N характеризуется векторной оценкой aQ = (aQ1’ aQ2> ¦¦¦> aQk)>
где aQi = I ail, l e K, и вектором требуемых ресурсов
ieQ
CQ = (CQ1, CQ2, ., CQm),
где CQj = I cj ’j eM.
ieQ
Под ресурсным ограничением будем понимать следующее. Пусть известны имеющиеся в организации ресурсы каждого вида, которые могут быть использованы для реализации проектов:
R = (Ri, R2, Rm)-
Портфель Q будем считать удовлетворяющим ресурсным ограничениям, если выполнено:
(1) с0 <Rpj еМ.
Задача формирования портфеля может формулироваться следующим образом: либо найти все допустимые (удовлетворяющие ресурсному ограничению (1)) оптимальные по Парето портфели1 и предоставить лицу, принимающему решения, возможность выбора из этого множества; либо (если задана функция агрегирования оценок F(aQ), отображающая множество П Л{ в любое упорядо-
ІеК
ченное множество) найти оптимальный (допустимый и наилучший с точки зрения значения функции агрегирования) портфель .
Для решения этой задачи может быть использован следующий алгоритм.
Построим на плоскости следующую сеть: из начальной точки (0; 0) отложим две дуги, соответствующие включению или невключению первого проекта в портфель. Горизонтальная дуга (невключение проекта в портфель) не требует ресурсов и не дает никакого эффекта. Наклонной дуге (включение проекта в портфель) поставим в соответствие два вектора - вектор ресурсов с1 = (с11, с12, c1m) и вектор эффекта a1 = (an, a12, a1k). Далее, продолжая аналогично (суммируя покомпонентно соответствующие ресурсы и эффекты по всем проектам, включенным в тот или иной портфель, описываемый путем из начальной точки) для второго, третьего и т.д. проектов (до n-го включительно), получим в общем случае 2п вариантов.
Если в некоторой точке "пересекаются" два пути, то есть два набора проектов характеризуются одинаковыми затратами ресурсов (что, как правило, делает метод динамического программирования более эффективным, чем простой полный перебор), то, если один набор Парето-доминирует другой по критериальным оценкам, то следует оставить доминирующие оценки, если же доминирования нет, то следует в дальнейшем (добавляя новые проекты) рассматривать обе комбинации оценок.
Для каждого из окончательных вариантов рассчитываем вектор затрат ресурсов и вектор эффектов.
Достоинством описанного метода является то, что при добавлении новых проектов - претендентов на включение в портфель, или исключении части имеющихся, нет необходимости пересчитывать заново все варианты. Это возможно в силу введенного выше предположения об аддитивности оценок и аддитивности ресурсов.
В результате получаем в общем случае 2 n портфелей, каждый из которых описывается двумя векторами - затрат и эффектов (всего - m-k числами). Затем исключаем портфели, нарушающие ресурсное ограничение (1) (если оно фиксировано, то проверять его можно и в процессе построения сети, сразу оставляя только допустимые портфели), и портфели, доминируемые по Парето с точки зрения затрат и эффектов (такую проверку также можно осуществлять в процессе построения сети, сразу оставляя только недоминируемые портфели). В результате получаем множество допустимых и эффективных по Парето портфелей проектов.
Завершив описание алгоритма, отметим, что далее возникает задача многокритериальной оптимизации (принятия решений при многих критериях), для решения которой существует множество детально проработанных методов [129].
Число вариантов (возможных портфелей) быстро растет с ростом числа проектов-претендентов. Понятно, что даже при не очень большом числе претендентов содержательный анализ всех вариантов затруднителен, особенно в случае многих критериев, поэтому необходима разработка процедур сокращения числа (предварительного отбора) анализируемых вариантов. Одной из таких процедур является используемая в приведенном выше алгоритме процедура отсева неэффективных вариантов в процессе построения сети, соответствующей методу динамического программирования.
Сократив число вариантов, можно применять те или иные процедуры выбора окончательного множества проектов, включаемых в портфель. Для этого в случае одного вида ресурса и двух критериев оценки проектов (k = 2) удобно использовать следующий прием: нанесем на плоскости точки, соответствующие отобранным портфелям и проставим около каждой точки соответствующие затраты. Примерами использования такого подхода являются: так называемые РЭСТ-диаграммы (в случае, когда критериями являются эффект и риск) [28] и модели отбора предприятий на получение налоговых льгот [32]. Полученная диаграмма, во-первых, может служить основой для обсуждения и согласования окончательных вариантов портфеля проектов, и, во-вторых, позволяет ставить и решать ряд практически важных задач: определения "минимальных" затрат, обеспечивающих достижение заданного вектора оценок, принятия решений о целесообразности взятия кредита для финансирования части проектов и т.д.
Отметим, что рассмотренная в настоящем разделе модель в случае скалярных оценок и одного вида ресурса переходит в описанный в [33, 32, 41] метод "затраты-эффект".
Нечеткая модель. Выше рассмотрена многокритериальная модель формирования портфеля проектов, в которой требуемые для реализации проектов количества ресурсов и оценки эффекта были четкими. Если для получения информации о затратах ресурсов можно использовать нормативы или ретроспективные данные, то эффект от реализации проекта, особенно с точки зрения стратегических целей организации, не всегда можно оценить однозначно. Поэтому целесообразным представляется использование нечетких оценок эффекта от реализации проектов. Данные оценки могут быть получены, в том числе, экспертным путем.
Рассмотрим многокритериальную модель формирования портфеля проектов, в которой оценки эффекта являются нечеткими, а оценки затрат ресурсов - четкими (последние также можно сделать нечеткими, однако это сделает модель слишком громоздкой).
Пусть проект i е N по критерию l е K характеризуется нечеткой оценкой ail, определяемой функцией принадлежности
(au): Ai -+[0; 1].
В силу аддитивности оценок эффекта, портфель Q cN характеризуется векторной оценкой
aQ = (~~Q1, aQ2, "', aQk ),
где aQ1 - нечеткая оценка с функцией принадлежности ju~ (aQl): Al ^ [0; 1], вычисляемой (в силу принципа соответст-
UQl х-
вия [127]) следующим образом:
(2) Va0l (aQl ) = SUP mQn { (aH ) } l е K
{(an )^? au=aQi} е
ieQ
Вектор ресурсов для портфеля вычисляется также как и выше.
В остальном алгоритм, описанный выше для четкого случая, остается без изменений (если носители нечетких множеств оценок пересекаются, то необходимо рассматривать обе комбинации, приведшие к одному и тому же значению). Отметим аддитивность процедуры (2) вычисления значений функций принадлежности, то есть
(aQi) = SUP min {^dji {afl ),
{(ajl ,a(Q\{ J})l )lajl +a(Q\{J})l =aQl}
U\{j})i (a(Q\{ j))i) }, J eQ,l eK, Q
Определим четкое множество (критериальное пространство) A' = Л{ и предположим, что стратегические цели организации
leK
описываются нечеткой целью в этом пространстве. Функцию принадлежности нечеткой цели обозначим jUg (a),
a = (ai, a2, ak)eA'.
Функцию принадлежности векторной нечеткой оценки aQ
портфеля Q в пространстве A' определим в соответствии с [127] как
(3) UaQ (a) = min { uSq, (aQi)}.
Степень соответствия портфеля Q нечеткой стратегической цели организации jU~d(a') определим как
(4) F(Q) = max min [u (a), Ug(a)], Q cN.
aeA Q
Число F(Q), принимающее значения в интервале от нуля до единицы, можно считать степенью (четкой!) соответствия портфеля Q стратегическим целям организации. Эту характеристику можно вычислять на каждом из шагов описанного выше алгоритма, что сводит нечеткую задачу к четкой.
Интервальная модель. Частным случаем нечеткой модели является интервальная модель, в которой функция принадлежности принимает значения либо ноль, либо единица. Интервальная оценка ail i-го проекта по l-му критерию будет описываться интерва-
лом [ a- , a+ ]:
U (ai)
1 ai e [a-; a+]
0, aii e [a-; a+]
, i e N, l e K.
Интервальная оценка 3q1 портфеля Q cN по l-му критерию вычисляется следующим образом:
(5) aQl = [ aQl; a+Ql ],
где cx-q1 = Z an > aQl = Z a+ ’ l eK
ieQ ieQ
Обозначим B(Q) = П^1; aQl ] cA' - параллелепипед в про-
le К
странстве A', соответствующий интервальным оценкам Sq1 , l eK,
портфеля Q. Тогда степень соответствия интервально оцениваемого портфеля Q нечеткой стратегической цели ju~^(a) организации
можно вычислить как
(6) F (Q) = max (a), Q cN.
aeB (Q) G
Приведем иллюстративный пример.
2.2.5. Пример формирования портфеля проектов
Пусть имеются четыре проекта, характеристики которых заданы таблицей 6 (каждый проект оценивается по двум критериям).
Таблица 6
Характеристики проектов |
|
Характеристики |
Проект 1 |
Проект 2 |
Проект 3 |
Проект 4 |
|
c |
1 |
3 |
2 |
4 |
|
a- |
2 |
5 |
3 |
5 |
|
а2 |
1 |
7 |
4 |
6 |
|
|
3 |
7 |
4 |
9 |
|
a2 |
3 |
9 |
6 |
7 |
|
Из 4 проектов возможно составить 16 различных портфелей проектов (16 = 24), перечисленных в таблице 7. Нулевое значение переменной xi соответствует невключению i-го проекта в портфель, единичное - включению.
Стратегической целью будем считать достижение критериальных оценок (а*, а*), где а* = а* = 30. Обозначим d(-, •) - евклидово расстояние в ^ 2, ив качестве степени достижения цели выберем "расстояние до идеальной точки" а* (отметим, что критерии, по которым оцениваются проекты, считаются "равнозначными"):
F (Q) = 1 - min d^, а*) / д/(а*)2 + (а*)2 , Q czN.
ачБ (Q) ?
Характеристики портфелей проектов приведены в таблице 7.
Таблица 7
Характеристики портфелей проектов |
|
№ |
Хі |
Х2 |
Хз |
Х4 |
c |
Q- |
Q2- |
Q1+ |
q2+ |
F (Q) |
|
1 |
0 |
0 |
0 |
0 |
0 |
0 |
0 |
0 |
0 |
0,000 |
|
2 |
1 |
0 |
0 |
0 |
1 |
2 |
1 |
3 |
3 |
0,100 |
|
3 |
0 |
1 |
0 |
0 |
3 |
5 |
7 |
7 |
9 |
0,266 |
|
4 |
0 |
0 |
1 |
0 |
2 |
3 |
4 |
4 |
6 |
0,166 |
|
5 |
0 |
0 |
0 |
1 |
4 |
6 |
5 |
9 |
7 |
0,266 |
|
6 |
1 |
1 |
0 |
0 |
4 |
7 |
8 |
10 |
12 |
0,366 |
|
7 |
1 |
0 |
1 |
0 |
3 |
5 |
5 |
7 |
9 |
0,266 |
|
8 |
1 |
0 |
0 |
1 |
5 |
8 |
6 |
12 |
10 |
0,366 |
|
9 |
1 |
1 |
1 |
0 |
6 |
10 |
12 |
14 |
18 |
0,529 |
|
10 |
1 |
1 |
0 |
1 |
8 |
13 |
13 |
19 |
19 |
0,633 |
|
11 |
1 |
0 |
1 |
1 |
7 |
11 |
10 |
16 |
16 |
0,533 |
|
12 |
0 |
0 |
1 |
1 |
6 |
9 |
9 |
13 |
13 |
0,433 |
|
13 |
0 |
1 |
0 |
1 |
7 |
11 |
12 |
16 |
16 |
0,533 |
|
14 |
0 |
1 |
1 |
0 |
5 |
8 |
11 |
11 |
15 |
0,429 |
|
15 |
0 |
1 |
1 |
1 |
9 |
14 |
16 |
20 |
22 |
0,698 |
|
16 |
1 |
1 |
1 |
1 |
10 |
16 |
17 |
23 |
25 |
0,797 |
|
Видно, что пятый, восьмой и двенадцатый портфели являются доминируемыми. Для остальных портфелей построим зависимость степени достижения цели от затрат, приведенную на рисунке (см. Рис. 11).
 |
|
Рис. 11. Степень достижения цели оптимальным портфелем проектов в зависимости от затрат |
Прямая, проведенная методом наименьших квадратов: F (с) ~ 0,075 с, свидетельствует, что проекты схожи по своим характеристикам - зависимость степени достижения цели от затрат не имеет резких скачков. Эта зависимость позволяет оценить затраты, необходимые для "гарантированного" достижения цели a*: эти затраты равны с* « 13,3.
Итак, проведенный анализ свидетельствует, что актуальной теоретической задачей является разработка моделей и методов распределения ресурса и определения времен начала реализации технологически зависимых и независимых проектов в процессе решения задачи формирования портфеля проектов.
В рамках предложенной многокритериальной нечеткой модели формирования портфеля проектов формально определена степень соответствия портфеля проектов стратегическим целям организации. Разработанная модель обобщает на нечеткий и многокритериальный случаи классическую задачу о ранце и допускает нахождение оптимального портфеля методом динамического программирования.
2.3. ПЛАНИРОВАНИЕ ПРОЦЕССА РЕАЛИЗАЦИИ ПОРТФЕЛЯ ПРОЕКТОВ
2.3.1. Обзор существующих моделей и методов планирования проектов
Понятие «план» имеет много значений и в него часто вкладывается различный смысл. План реализации проекта отличается от функциональных планов типа плана производства, плана материально-технического снабжения, финансового плана и т.д., так как носит в принципе комплексный характер, то есть содержит полную систему целей и задач, соответствующих им детальных работ и мероприятий, направленных на достижение основной цели (миссии) проекта.
Сущность планирования процесса реализации портфеля проектов состоит в задании целей и способов их достижения на основе формирования комплекса работ (мероприятий, действий), которые должны быть выполнены, применении методов и средств реализации этих работ, увязки ресурсов, необходимых для их выполнения, согласовании действий организаций-участников проекта [1, 53, 137].
На этапе планирования определяются все необходимые параметры реализации проекта: продолжительность по каждому из контролируемых элементов проекта, потребность в трудовых, материально-технических и финансовых ресурсах, сроки поставки сырья, материалов, комплектующих и технологического оборудования, сроки и объемы привлечения подрядных организаций. Процессы и процедуры планирования проекта должны обеспечивать реализуемость проекта в заданные сроки с минимальной стоимостью, в рамках нормативных затрат ресурсов и с надлежащим качеством.
В общем случае, задача планирования процесса реализации портфеля проектов сводится к планированию независимых (в общем случае) проектов, входящих в состав портфеля. Класс задач планирования проектов является достаточно разработанным и нашел широкое распространение в литературе. Задачи планирования решаются до начала реализации проекта и заключаются в определении на основании всей имеющейся на данный момент информации оптимальных плановых значений управляющих параметров и, соответственно, состояний проекта на весь планируемый период его реализации [80].
В [41] приведена следующая классификация механизмов планирования в организационных системах:
• Механизмы распределения ресурса [10, 27, 42];
• Механизмы активной экспертизы [27, 42, 41, 127];
• Механизмы внутренних цен [41, 147];
• Конкурсные механизмы [27, 41];
• Механизмы обмена [82].
Классификация и применение механизмов распределения ресурса в задачах управления портфелями проектов будет приведена ниже.
Применение механизмов активной экспертизы в процессе планирования позволяет существенно повысить его эффективность. Суть механизмов активной экспертизы заключается в получении и обработке информации о ключевых характеристиках проекта и его окружающей среды от экспертов - специалистах в конкретных областях.
Применение механизмов внутренних цен решает проблему перераспределения работ по проекту и результатов, полученных от реализации проектов (в общем случае они могут измеряться в денежном эквиваленте), между участниками проекта.
Конкурсные механизмы применяются в основном при выборе участников (подрядчиков) проекта. Общая идея любого конкурса заключается в следующем [41] - претенденты упорядочиваются на основании имеющейся у них информации (как объективной, так и сообщаемой самими претендентами), затем победителем (или победителями) объявляется претендент, занявший первое место (или, соответственно, несколько первых мест - в зависимости от условий конкурса). Возникающая при этом проблема заключается в том, что участники конкурса могут искажать сообщаемую информацию, то есть манипулировать ею с целю войти в число победителей. Именно для снижения негативной тенденции манипулирования информацией в процессе планирования проектов и применяются конкурсные механизмы.
Существенный интерес представляет задача обмена ресурсами в рамках системы управления проектами. В данном случае задача заключается [41] в совершении наиболее выгодного для центра обмена ресурсов с агентами. Данный тип задач решается путем применения механизмов обмена.
Также важным классом задач планирования проектов является его финансовое планирование. В [42] приведены следующие механизмы финансирования проектов:
• Механизмы смешанного финансирования и кредитова
ния;
• Механизмы страхования;
• Механизмы самоокупаемости;
• Противозатратные механизмы.
Механизмы смешанного финансирования и кредитования применяются при реализации крупномасштабных инвестиционных проектов, когда финансирование проекта из одного источника невозможно из-за его масштабности. В таких случаях региональных бюджетов бывает недостаточно для финансирования проектов
и необходимо привлекать частных инвесторов путем предоставления разного рода льгот (льготные условия работы в регионе, льготное кредитование, бюджетное финансирование и т.д.). Идея смешанного финансирования заключается в том, что бюджетные средства или льготный кредит выдаются при условии, что компания-участник обязуется выделить на проект собственное финансирование.
Механизмы страхования в первую очередь ориентированы на минимизацию воздействия неопределенных и случайных факторов на участников проекта и непосредственно проект. В любом проекте имеет место дилемма «риск-доходность», причем в проектах она приобретает существенный вес, так как любой проект в какой-то степени уникален. Одним из методов защиты от отрицательных последствий является применение механизмов страхования.
И, наконец, противозатратные механизмы позволяют нивелировать степень влияния на результат проекта его участников-монополистов. Противозатратными механизманми называются механизмы, побуждающие каждого участника максимально повышать эффективность своей деятельности.
Перейдем теперь к рассмотрению одной из задач финансового планирования проекта. В данную модель включен параметр налогообложения проекта, являющийся существенным при реализации некоторых проектов, и учитываются моменты выплат налоговых платежей и заемные средства, необходимые для реализации проекта.
2.3.2. Описание модели планирования проектов портфеля с учетом параметров налогообложения
Рассмотрим следующую модель управления портфелем проектов, учитывающую возможность оптимизации налоговых отчислений. Обозначим:
R0 - собственные средства на момент начала реализации портфеля (t = 0) (руб.).
R - заемные средства на момент начала реализации портфеля (t = 0) (руб.).
tt - время начала /-го проекта.
Т - продолжительность /-го проекта (мес.).
8 - ставка налога на прибыль. ci (тІ ) - затраты на реализацию /-го проекта (руб.). dt (тІ ) - выручка от реализации /-го проекта (руб.). ^ - дисконтирующий множитель (ставка кредита).
I (Z ) - функция-индикатор I (Z ) =
Гі, z > о
0, Z < 0
T = max{t/ + тІ} - время завершения (длительность) портфеля
І
(мес.).
0.
T0 ^ ТК - кварталы, где K
Для простоты в настоящей модели будем считать, что имеется единственный налог - налог на прибыль, который начисляется в момент завершения /-го проекта и уплачивается поквартально (по всем проектам, завершенным в данном квартале). Налог на прибыль уплачивается инвестором в порядке, установленном законодательством Российской Федерации, с учетом следующих особенностей: объектом обложения этим налогом является часть прибыльной продукции, принадлежащей инвестору.
При этом такая стоимость уменьшается на сумму платежей инвестора за пользование заемными средствами, разовых платежей инвестора при пользовании недрами, а также на сумму других не возмещаемых инвестору затрат, состав и порядок учета которых при определении объекта обложения налогом на прибыль устанав-
ливаются в соответствии с законодательством Российской Федерации.
В случае, если указанные затраты превышают стоимость принадлежащей инвестору части прибыльной продукции, в последующие периоды объект обложения налогом на прибыль уменьшается на сумму, соответствующую возникающей разнице, до полного ее возмещения. В данном случае будем считать, что уплата налога на прибыль по проектам производится обособленно от уплаты налога на прибыль по другим видам деятельности.
Также будем считать, что на реализацию портфеля проектов берется целевой кредит. Тогда можно считать, что R = 0 и учитывать в модели только параметр наличия собственных средств R0, в
которые включен и размер целевого кредита.
В указанных обозначениях, текущий финансовый баланс по портфелю проектов может быть представлен следующим образом:
Ф(0 = Ro xe^ + X(t -t +Т)xd(T)xe^‘ -X (t-1)xС(T)x_
/=1 /=1
-XI (t = Tj+i)x I (t -1/ +Т) xSx ((d/ (Т/) - С/ (t/)) x e-^1 ,t e [0;T]. j=i
В финансовый баланс по портфелю входят:
А. Притоки - выручка от реализации продукции (услуг), получаемых в ходе реализации проектов портфеля, определяемая по конечной (реализуемой на сторону) продукции, прочие и внереализационные доходы, доходы (за вычетом налогов) от реализации имущества и нематериальных активов (в частности при прекращении проекта), а также от возврата (в конце проекта) оборотных активов, уменьшение оборотного капитала на всех шагах расчетного периода;
Б. Оттоки - вложения в основные средства на всех шагах расчетного периода, ликвидационные затраты, вложения средств
на депозит и в ценные бумаги других хозяйствующих субъектов, в увеличение оборотного капитала, компенсации (в конце проектов портфеля и портфеля в целом) оборотных пассивов.
Эскиз графика финансового баланса представлен на рисунке (см. Рис. 12).
 |
Рис. 12. Эскиз графика финансового баланса по портфелю
проектов |
Если не учитывать условия неопределенности и риска реализации каждого отдельно взятого проекта, то достаточным (но не необходимым) условием финансовой реализуемости портфеля проектов является неотрицательность на каждом моменте времени реализации величины текущего финансового баланса по портфелю проектов.
В указанных обозначениях, задача оптимизации рентабельности портфеля проектов может быть представлена следующим образом:
Ф(Т) ^
R ^ max
R (ti,Ro,Ti)
Ф(Т) > 0Vt е[0; T]
U > tj + 4> ^ j = -n
То есть, в данной модели выбором моментов начала проектов портфеля и их продолжительности максимизируется рентабельность портфеля с учетом параметра налогообложения.
При реализации того или иного портфеля проектов у руководства организации часто возникают вопросы, связанные с наличием денежных средств, необходимых для начала выполнения проектов, составляющих портфель, и сроках выполнения проектов -возможно ли завершить тот или иной проект раньше или задержать его выполнение, и как это скажется на финансовом состоянии портфеля. Поэтому им необходим инструмент прогноза наличия денежных средств и анализа изменения сроков выполнения проектов и соответственно интенсивности их выполнения на финансовую составляющую портфеля. Также, нельзя исключать из внимания вопрос равномерного распределения затрат по портфелю. Приведенная модель позволяет проведение укрупненного анализа финансовой составляющей портфеля по всем этим показателям с выделением параметра налогообложения, как параметра, оказывающего существенное влияние на реализуемость портфеля в тот или иной момент времени. С использованием описанной модели с той или иной степенью точности возможно решение следующих типичных задач с необходимостью возникающих в ходе реализации практически каждого портфеля проектов:
Задача 1. Прогнозирование наличия и движения денежных
средств по портфелю проектов.
При планировании любого проекта или портфеля проектов обязательно возникает вопрос «А реализуем ли проект/портфель при ограниченных ресурсах?». В каждой организации в качестве проектов/портфеля можно рассматривать и план реализации продукции (план продаж), и план производства, и план развития и т.д. Общим для них ресурсом являются финансы. В связи с этим возникает следующая задача.
Задача 2. Проверка финансовой реализуемости портфеля.
Если для реализации портфеля не хватает собственных средств, то необходимо заблаговременно определить, когда и сколько требуется заемных средств (на каждый отдельный временной отрезок портфеля и портфеля в целом).
Отсутствие такой информации зачастую ведет к крупным финансовым потерям (например, неожиданно приходится брать кредит под большие проценты, или же наоборот, берутся лишние кредиты и т.д.) или же к приостановке или закрытию портфеля или части его проектов.
Возникает следующая задача.
Задача 3. Определение сроков и объемов необходимых заем
ных средств.
Ответ на этот вопрос также можно получить на основании анализа текущего финансового баланса по портфелю проектов.
Еще сложнее определить полезно или вредно использовать при реализации портфеля проектов заемные средства. В одних ситуациях это может существенно укрепить финансовое состояние портфеля и содействовать повышению его рентабельности. В других же ситуациях необходимость возврата кредита с процентами может привести к еще более острому дефициту, а может и к потерям. В худшем случае взятие кредита без предварительного анализа последствий может привести к «кредитной ловушке» и несостоятельности отдельных проектов и портфеля в целом.
В связи с этим необходим инструмент для вариантного анализа и оценки последствий взятия заемных средств на различных условиях, и возникает
Задача 4. Анализ целесообразности взятия заемных средств.
В случае, если предлагаемый портфель все-таки остается финансово нереализуеым, необходимо его скорректировать, «урезав» требуемые финансовые средства (например, изменить технологию осуществления работ проектов, составляющих портфель, на более длительную, но менее затратную, заменить часть объектов на более дешевые объекты-аналоги и т.д.), и возникает вопрос: как нужно корректировать портфель, чтобы его новый вариант был реализуем при имеющихся ограничениях на финансы и в то же самое время был бы наиболее рентабельным. Возникает
Задача 5. Формирование финансово реализуемого портфеля с
минимальной упущенной прибылью.
Также, для всех портфелей проектов характерна
Задача 6. Определение срока окупаемости затрат, оценка
прибыли за период реализации портфеля и создание его целевого
плана.
Одним из ключевых этапов жизненного цикла каждого проекта/портфеля является стадия его контроля. На этой стадии возникает
Задача 7. Мониторинг и корректировка финансового плана
портфеля и проектов, входящих в его состав, с учетом его факти
ческого выполнения.
Наряду с уже перечисленными задачами в организациях с проектно-ориентированной формой управления, часто возникает необходимость решения следующих задач:
Задача 8. Построение и анализ консолидированного финан
сового баланса по нескольким портфелям или же по отдельным проектам, входящим в разные портфели, в разрезе различных
критериев, характерных для каждой отдельно взятой организации.
Задача 9. Разукрупнение, детализация консолидированного
финансового баланса на группу финансовых балансов по объектам.
Если смотреть на портфель с точки зрения налоговых выплат, то здесь возникают следующие задачи:
Задача 10. Анализ влияния на динамику затрат по портфелю
отдельно взятого налога.
Задача 11. Анализ целесообразности применения методов
налоговой оптимизации (изменение учетной политики по проекту,
изменение структуры затрат по проекту и т.д.).
В данной работе предпринята попытка объединения перечисленных задач в более укрупненные. Все приведенные задачи в той или иной степени включены ниже в три укрупненных группы задач. В выделенных группах все перечисленные задачи сознательно рассматриваются с «обособлением» налоговых выплат по проектам, составлюящим портфель, для проведения анализа их влияния на динамику текущего финансового баланса по портфелю. Также особое внимание уделяется анализу влияния изменения технологий на менее интенсивные, а значит и менее затратные, на динамику финансового состояния портфеля.
2.3.3. Модификации модели планирования портфеля проектов с учетом параметров налогообложения
Итак, цель любой организации, реализующей портфель проектов, заключается в том, чтобы выполнить его в сжатые сроки и с минимальными затратами. Однако, цели минимизации времени реализации портфеля и минимизации затрат на его реализацию вступают в противоречие друг с другом. Поэтому для выявления множества рациональных вариантов (соотношения длительностей проектов, составляющих портфель, и затрат на их реализацию) целесообразно исследовать возможные комбинации времен реализации и затрат. Экстремальные их оценки могут быть получены в результате решения следующих групп задач.
Группа 1. При заданных технологических зависимостях между проектами и критическими путями этих проектов, найти оптимальный размер собственных средств R0, необходимый для реализации портфеля. Необходимым условием реализации портфеля является неотрицательность текущего финансового баланса в любой момент реализации портфеля. В данной задаче длительность проектов ті , соответствует минимальному размеру затрат
ct (т) на их реализацию. Величина выручки, получаемой в результате реализации проекта dt (ті) должна быть больше затрат на его реализацию и для каждого отдельного проекта является постоянной величиной (в данной задаче):
'"Rq ^ min
Ъ +АУ., i, j = 1-..n .
ІФ(і) > 0
Группа 2. При заданных технологических зависимостях между проектами и оптимальной величиной собственных средств R0 , найденном в группе задач 1, найти минимальную длительность портфеля, варьируя величину затрат на реализацию составляющих его проектов. Длительность выполнения проектов портфеля является функцией от затрат на их реализацию. Необходимым условием реализации портфеля является неотрицательность текущего финансового баланса в любой момент реализации портфеля:
'T ^ min
t > fj +Aj ^ j = 1-n
I Ф(і) > 0
T = f (ci).
Группа 3. При заданных технологических зависимостях между проектами, варьируя значения затрат ci и величину собственных средств R0, найти оптимальную величину рентабельности
портфеля:
>max
Г Ф(Т)
R0
Ъ > fj +АУ., i, j = -..n Ф(і) > 0
T = f (ci) ^ R0 = var.
Сформулированные задачи относятся к классу задач дискретной оптимизации, для которых в общем случае не существует эффективных методов решения [33]. Поэтому для решения этого класса задач могут быть использованы следующие методы:
¦ полный перебор, позволяющий найти точное решение в случае, когда число проектов, составляющих портфель, не превышает 10-15;
¦ методы локальной оптимизации [33];
¦ эвристические алгоритмы, использующие специфику конкретной задачи и применяемые в режиме диалога с пользователем, быть может, с использованием средств имитационного моделирования на пакетах прикладных программ. Примеры применения эвристических алгоритмов для решения задач финансирования портфелей проектов приведены ниже в этой главе.
2.3.4. Практические результаты применения моделей и методов планирования процесса реализации портфеля проектов
Выше был рассмотрен ряд задач, возникающих в ходе реализации каждого портфеля проектов и, затем, все приведенные задачи были объединены в три группы. Каждая последующая группа задач постепенно усложнялась путем ввода в нее новых варьируемых переменных. В итоге, мы пришли к модели оптимизации рентабельности портфеля путем варьирования моментов начала составляющих его проектов, их длительностей, затрат на их выполнение и размера заемных средств, необходимого для финансовой реализуемости портфеля. Используя приведенные модели можно наиболее полно проанализировать все возможные варианты реализации портфеля проектов и принять обоснованное решение о наиболее приемлемой схеме финансирования портфеля по каждому из его сценариев.
Перейдем теперь к качественному анализу приведенных моделей на примере конкретного портфеля, который будем осуществлять по уже использованному ранее принципу - последовательного перехода от простейшей к более сложным моделям, что позволит сравнивать и анализировать полученные результаты
Рассмотрим реализацию данной модели на примере портфеля состоящего из семи проектов. Проекты приведенного портфеля могут выполняться в строго определенной последовательности, что обусловлено наличием жестких технологических зависимостей. В случае нарушения зависимостей между проектами, портфель нереализуем. Технологическая последовательность выполнения проектов портфеля приведена на рисунке (см. Рис. 10).
 |
|
Рис. 13. Технологическая последовательность выполнения проектов портфеля |
Условно будем считать, что проекты, составляющие портфель, могут выполняться по различным технологиям. Переход от применения одной технологии к другой описывается соответствующими уравнениями зависимостей (в данном случае под изменением технологии будем понимать изменение затрат на реализацию работ проекта и их длительностей). Последовательность выполнения проектов портфеля не зависит от применяемой технологии. Применение различных технологий выполнения проектов портфеля влияет только на длительность выполнения проектов и затраты на их выполнение.
В таблице 8 приведены исходные данные по выполнению проектов портфеля. В данном случае возможно два варианта изменения технологии выполнения проектов - отклонение от исходных данных в сторону увеличения затрат и уменьшения длительности и наоборот, отклонение в сторону увеличения длительности и уменьшения затрат.
|
Исходные показатели выполнения проектов портфеля |
Номер
проекта |
Длительность (в днях) |
Затраты на
выполнение |
Выручка от
реализации |
|
Проект 1 |
45 |
1550 |
3000 |
|
Проект 2 |
85 |
2775 |
5500 |
|
Проект 3 |
135 |
8550 |
15000 |
|
Проект 4 |
90 |
9900 |
17000 |
|
Проект 5 |
75 |
5750 |
9000 |
|
Проект 6 |
120 |
57800 |
90000 |
|
Проект 7 |
125 |
28125 |
40000 |
|
На рисунке (см. Рис. 14) представлен календарно-сетевой график выполнения проектов портфеля, данные по которому приведены в таблице 3. На рисунке темным цветом обозначены проекты, лежащие на критическом пути портфеля, резервы времени по проектам показаны тонкими темными линиями. Проекты, отображенные на рисунке серым цветом, являются некритическими, и следовательно, их сдвиг в пределах резервов не окажет никакого влияния на длительность портфеля. Таким образом, уже на основании приведенного графика реализации портфеля можно снизить его стоимость, увеличив длительность выполнения отдельных проектов и следовательно уменьшив затраты. Но такое изменение возможно только в рамках резервов времени по проектам.
|
Проект |
Длительность |
|
1 | 2 |
Квартал
3 I 4 I 5 I 6 I |
Старт портфеля
Проект 1
Проект 2
Проект 3 |
45 |
_ 85 135І |
с |
............. |
Проект 4
Проект 5
Проект 6
Финиш портфеля |
90
75
120 |
|
|
L-1
^^^^^иниш портфеля |
Рис. 14. Сетевой график портфеля проектов (в виде диаграммы Ганта), выполняемого по традиционной технологии с резервами времени по работам
На следующих двух рисунках (см. Рис. 15, Рис. 16) приведена диаграмма затрат и диаграмма доходов по описанному портфе-
лю.
 |
|
Рис. 15. Диаграмма затрат по проектам портфеля, выполняемого по традиционной технологии с резервами времени по проектам |
 |
|
Рис. 16. Диаграмма выручки по проектам портфеля, выполняемого по традиционной технологии с резервами времени попроектам |
Более длительная технология выполнения работ по проектам портфеля является менее затратной. При изменении технологии выполнения проектов на более длительную, затраты на выполнение проектов сокращаются, но незначительно.
Интенсивная технология выполнения проектов портфеля является менее длительной (длительность каждого проекта, в зависимости от его типа, может быть сокращена на 20-30%), но более дорогостоящей. Длительность каждого проекта может быть сокращена только до определенного предела, что обусловлено технологической невозможностью его реализации в еще более сжатые сроки. Ниже переход от использования одной технологии к другой будет описан при помощи функций, отображающих зависимость затрат на выполнение определенного проекта от длительности его выполнения и функций длительности выполнения проектов от затрат на их выполнение. Отметим, что если организация, реализующая портфель, не ограничена в средствах, а более приоритетным условием является выполнение портфеля в наиболее сжатые сроки, то оптимальной является более интенсивная технология.
В действительности наиболее реалистичным является применение смешанной технологии выполнения проектов, составляющих портфель, что и будет показано при решении описанных выше групп задач.
Остановимся теперь на решении каждой группы задач.
Группа 1.: В рассматриваемой модели портфеля проектов введем предположение, что затраты на реализацию i-го проекта портфеля c зависят от его продолжительности ті следующим образом:
сі(Т) = аТ -2аіті<ті + ci, где Т0- длительность проекта при условии, что он выполняется по приведенной в исходных данных по портфелю технологии. Графически эта зависимость может быть представлена следующим образом (см. Рис. 17):
 |
|
Рис. 17. График зависимости затрат на выполнение проектов портфеля от их длительности |
Уравнения затрат по проектам рассматриваемого портфеля приведены в таблице 9:
Таблица 9
Уравнения зависимости стоимости проектов портфеля от их _длительности_ |
Номер
проекта |
Уравнение затрат |
|
1 |
C(т) = 2т2 - 180т + 5600 |
|
2 |
C(т2) = т22 - 170т2 +10000 |
|
3 |
C(т3) = 2т32 - 540т3 + 45000 |
|
4 |
C(т4) = т42 - 180г4 +18000 |
|
5 |
C(т5) = 2т52 - 300т5 +17000 |
|
6 |
C(т6) = 0,5т62 - 120т6 + 65000 |
|
7 |
C(т7) = 3т72 - 750т7 + 75000 |
|
То есть, при сокращении продолжительности проекта, увеличиваются затраты на его реализацию, что может быть обусловлено различными факторами (более интенсивная работа оборудования и его износ, использование большего количества ресурсов, оплата сверхурочных и т.д.), но, в то же время, длительность проекта не может быть меньше определенной величины ті0. Существенное
увеличение длительности проекта также приводит к росту затрат на его реализацию, что может быть обусловлено простоями оборудования, замораживанием оборотных средств и т. д.
В данной задаче наиболее разумным способом реализации проекта является его выполнение по традиционной технологии. На рисунке (см. Рис. 18) представлен график финансового баланса портфеля, реализуемого по традиционной технологии.
 |
Рис. 18. Динамика текущего финансового баланса без инвестирования по портфелю, полученному в результате решения
первой группы задач |
Как видно, из приведенного графика, без дополнительного инвестирования портфель проектов нереализуем, так как не соблюдено условие положительности текущего финансового баланса по портфелю на каждом шаге расчета. Для того чтобы портфель был реализуем, в него необходимо инвестировать дополнительные денежные средства. Применяя описанную выше модель, получим, что оптимальная (минимальная) величина денежных средств (сумма собственных и заемных средств) должна равняться 63000.
Основные показатели, характеризующие портфель, полученный при решении первой группы задач, приведены в таблице 13.
Группа 2.: При решении этой группы задач введем следующее предположение о зависимости длительности выполнения проектов портфеля от затрат на их выполнение: ті (еі) = ae~Ьс‘ (см. Рис. 19).
 |
|
Рис. 19. Зависимость длительности выполнения проектов портфеля от затрат на их выполнение |
Уравнения зависимостей длительности выполнения проектов портфеля от затрат на их выполнение приведены в таблице 10:
|
Уравнения зависимости длительности выполнения проектов от __затрат_ |
Номер
проекта |
Зависимость длительности выполнения проектов от затрат |
|
1 |
Т (Cj) = 507e-°’Ш4С1 |
|
2 |
т2(с2) = 9987e ^0’0009c2 |
|
3 |
T3(c3) = 1858e -°’0003Сз |
|
4 |
т4 (c4) = 359e -°’00013c4 |
|
5 |
т5(с5) = 260e -°’0002 C5 |
|
6 |
т6(с6) = 5932e ^°’00007 С6 |
|
7 |
т7(с7) = 1592e -°’00009 C7 |
|
Таким образом, сокращая длительность проектов портфеля, мы увеличиваем затраты на их выполнение.
При решении второй группы задач используются результаты, полученные при решении первой группы, а именно размер средств, инвестируемых в проект принимается равным 63000.
В результате решения второй группы задач, в следствие увеличения затрат на реализацию проектов портфеля, его длительность была сокращена до 300 дней. Данные по проектам портфеля, полученного в результате решения второй группы задач, приведены в таблице 11:
|
Данные по проектам, полученные в результате решения второй __группы задач _ |
Номер
проекта |
Длительность (в днях) |
Затраты |
|
1 |
25 |
2150 |
|
2 |
62 |
3378 |
|
3 |
95 |
9911 |
|
4 |
60 |
13750 |
|
5 |
44 |
8766 |
|
6 |
104 |
57629 |
|
7 |
75 |
33946 |
|
Динамика текущего финансового баланса с инвестированием по портфелю, полученному в результате решения второй группы задач, приведена на рисунке (см. Рис. 20).
 |
|
Рис. 20. Динамика текущего финансового баланса с инвестированием по портфелю, полученному в результате решения второй группы задач |
Основные показатели, характеризующие портфель, полученный при решении второй группы задач, приведены в таблице 13.
Группа 3. При решении третьей группы задач сохраняется предположение о зависимости длительности выполнения проектов портфеля от затрат на их выполнение, сделанное при решении второй группы задач.
При решении данной группы задач возможно как сокращение, так и увеличение длительности проектов, что повлечет за собой увеличение или уменьшение затрат на их выполнение соответственно.
При решении третьей группы задач мы также варьируем величину размера собственных и заемных средств, необходимую для реализации портфеля.
В результате решения третьей группы задач, длительность рассматриваемого портфеля составила 483 дня.
В результате решения третьей группы задач длительность портфеля совпала с исходным портфелем, но из-за изменения технологии выполнения проектов, увеличилась прибыль от реализации портфеля. Данные по проектам портфеля, полученного в результате решения третьей группы задач, приведены в таблице 12.
Таблица 12
Данные по проектам, полученные в результате решения третьей __группы задач _ |
Номер
проекта |
Длительность (в днях) |
Затраты |
|
1 |
59 |
1527 |
|
2 |
94 |
2775 |
|
3 |
125 |
8992 |
|
4 |
89 |
10695 |
|
5 |
81 |
5766 |
|
6 |
103 |
57800 |
|
7 |
126 |
28125 |
|
Динамика текущего финансового баланса с инвестированием по портфелю, полученному в результате решения третьей группы задач, приведена на рисунке (см. Рис. 21).
 |
|
Рис. 21. Динамика текущего финансового баланса с инвестированием по портфелю, полученному в результате решения третьей группы задач |
В таблице 13 приведено сравнение результатов, полученных по трем группам задач.
|
Сводная таблица результатов решения трех групп задач |
№
пока
зате
ля |
Название показателя |
Значение по группе задач 1 |
Значение по группе задач 2 |
Значение
по
группе задач 3 |
|
1 |
Длительность портфеля (в днях) |
486 |
300 |
483 |
|
2 |
Прибыль от реализации портфеля |
24650 |
20000 |
25148 |
|
3 |
Рентабельность
портфеля |
0,39 |
0,31 |
0,4 |
|
4 |
Размер собственных и заемных средств |
63000 |
63000 |
63535 |
|
5 |
Выручка по портфелю |
162478 |
167995 |
162836 |
|
6 |
Совокупные затраты по портфелю |
107019 |
124202 |
108180 |
|
7 |
Совокупные налоговые выплаты по портфелю |
21389 |
17260 |
20006 |
|
По результатам имитационного моделирования и решениям оптимизационных задач видно, что варианты портфелей, полученные при решении первой и третьей групп задач практически совпадают. Прибыль, получаемая в результате реализации портфеля по сценарию, полученному в результате решения третьей группы задач, незначительно превышает прибыль, получаемую по портфелю, реализуемому по первому сценарию. Такое различие вызвано изменением технологии выполнения проектов портфеля и введенным в модель параметром дисконтирования. Однако, и налоговые выплаты по портфелю, реализуемому по третьему сценарию также меньше. Таким образом, если отсутствуют жесткие ограничения по срокам реализации портфеля, оптимальным является его реализа-
ция по сценарию, полученному в результате решения третьей группы задач.
В случае же, если срок реализации портфеля является более приоритетным показателем, то оптимальным является сценарий, полученный в результате решения второй группы задач. В данном случае прибыль от реализации портфеля меньше, но срок его реализации сокращен более чем на 1/3.
В случае, если наиболее приоритетным условием реализации портфеля является минимизация налоговых платежей, то оптимальным способом его реализации будет применение сценария, полученного в результате решения второй группы задач. Реализация портфеля по предлагаемому сценарию сократит совокупный объем налоговых платежей на 15%.
2.4. РАСПРЕДЕЛЕНИЕ РЕСУРСОВ МЕЖДУ ПРОЕКТАМИ ПОРТФЕЛЯ
2.4.1. Обзор существующих моделей и методов распределения ресурсов
Одной из важных задач управления проектами является задача распределения ресурсов. Механизмы распределения ресурса составляют обширный и чрезвычайно важный, с точки зрения практических приложений, класс механизмов управления проектами.
Далее в настоящей работе в рамках теоретико-игрового подхода будет сформулирована и решена задача распределения ресурсов между проектами, входящими в портфель проектов, реализуемых организацией.
Но прежде чем переходить к постановке задачи распределения ресурса по проектам портфеля, рассмотрим уже разработанные модели распределения ресурса, их специфику и степень применимости к задачам управления портфелями проектов.
Теоретико-игровые модели анализа и синтеза механизмов управления являются предметом исследований в теории управления организационными системами [13]. Специфика управления проектами заключается, в том числе, в том, что они реализуются в рамках матричных структур, в которых исполнитель оказывается подчинен одновременно нескольким "равноправным" управляющим органам - например, руководителю проекта и своему функциональному руководителю (в отличие от линейных структур, в которых существует древовидная иерархия подчинения [112]).
Такие структуры получили название систем с распределенным контролем. Систематически впервые их модели исследованы в [122]. Полная характеризация решений задачи управления в системе с несколькими управляющими органами (центрами) и одним управляемым субъектом - агентом - получена в [64, 75]. В дальнейшем модели с распределенным контролем развивались в нескольких направлениях: в [60] получено решение задачи управления для двухуровневой системы с несколькими центрами и несколькими агентами, характеризуемыми векторными предпочтениями; в [13, 60, 65] изучалась роль высшего руководства в согласовании интересов центров; в [61] рассматривались модели так называемых Х-структур, в которых руководство исполнителями осуществляла управляющая компания; в [9] приведены модели матричных структур, в которых руководитель проекта обладает приоритетом принятия решений перед функциональным руководителем; в [120] изучена модель согласованного взаимодействия в четырехуровневой структуре с приоритетом функциональных руководителей над руководителями проектов.
Помимо кратко рассмотренных выше систем с распределенным контролем, существуют еще несколько подходов к построению механизмов распределения ресурса. Во-первых, это подход, основывающийся на решении задач распределения ресурсов на сетях - решении задач дискретной оптимизации, позволяющих минимизировать время выполнения проекта или упущенную выгоду в ситуации, когда продолжительности работ проекта зависят от используемых на них количествах ресурса [13, 10]. Во-вторых, это - модели с сообщением информации, в которых количество ресурса, выделяемое агентам, зависит от их заявок. При этом возникает проблема манипулирования информацией, результаты исследования которой приведены в [41, 117].
Портфели проектов характеризуются, в частности, тем, что для них существенной оказывается возможность несовпадения интересов управляющих органов, отвечающих за реализацию (или заинтересованных в реализации) тех или иных проектов (будем дальше называть их руководителями проектов - РП) и владельцев ресурсов, необходимых для реализации проектов (условно будем называть последних функциональными руководителями - ФР). Поэтому возникает задача построения модели такого распределения ресурсов между проектами, входящими в портфель, которое позволяло бы согласовать интересы всех заинтересованных участников. Эта задача и решается ниже в настоящей работе. Для этого сначала дается общее описание модели, формулируется задача оптимального распределения ресурсов в рамках централизованной схемы. Далее решение этой задачи (эффективность распределения ресурса) сравнивается с эффективностью использования схемы, учитывающей интересы ФР и РП и с эффективностью введения трансфертных (внутрифирменных) цен на ресурс. В заключение, будет рассмотрен модельный пример, иллюстрирующий полученные результаты.
2.4.2. Описание модели распределения ресурсов между проектами портфеля
Пусть имеется множество N = [1, 2, п} проектов - претендентов на включение в портфель, и множество M = [1, 2, т} ресурсов различных видов. Обозначим yij >0 - количество ресурса j-го вида, используемое при реализации /-го проекта, Уі = (yu, y/2, ¦¦¦, ym) - вектор ресурсов, используемых при реализации /-го проекта, jy = (yh jy2, jyn) - вектор распределения ресурса j-го вида, y = \ \yij\\ - матрица распределения ресурса, i еN, j еМ.
Обозначим Hi(yi) - доход, получаемый от реализации i-го проекта, в зависимости от количества ресурсов на нем, jy) - затраты на использование ресурса j-го вида, i eN, j еМ.
2.4.3. Централизованная схема
Задача распределения ресурса в общем виде заключается в том, чтобы распределить ресурс, максимизируя "прибыль" - разность между доходом от реализации проектов и затратами на использование ресурса:
(1) х = arg mах [?Ht (yt) - ?с} (;y)].
{yijй0} ieN jeM
Распределение ресурса в соответствии с (1) назовем централизованной схемой, так как она не учитывает интересов исполнителей работ по проектам и "владельцев" ресурсов и может быть реализована централизованно высшим руководством.
Отметим, что, так как выше не оговаривались свойства функций дохода и затрат, то задача (1) имеет максимально общий вид и включает в себя как частные случаи, наверное, все мыслимые постановки задач распределения ресурсов между проектами, включая задачи формирования портфеля проектов (проекты, на которые в оптимальном решении не выделяются ресурсы, включать в портфель не следует).
Действительно, например, ограниченность ресурсов может учитываться в функции затрат (так называемый метод штрафных функций), наряду с возможностью закупки ресурсов (привлечения кредитов) вне рассматриваемой организации; дискретность задачи (получения отличного от нуля дохода от реализации проекта только в случае, если на него выделено не менее заданного суммарного количества ресурса или ресурсов в заданной комплектности) может учитываться в функции дохода и т.д.
Итак, выражение (1) дает оптимальное распределение ресурсов между проектами портфеля, но не учитывает интересов участников организационной системы. Поэтому рассмотрим модель согласования интересов последних при распределении ресурсов.
2.4.4. Распределенный контроль: согласование интересов
Пусть РП i выплачивает ФР j сумму Aj за использование ресурса Zij >0, i eN, j e M.
Условие компенсации затрат ФР (то есть условие согласованности выборов ФР [115, 122]) имеет вид:
(2) Ф) = ZAZ; , j eM
ieN
Вычислим максимальные выигрыши РП (при реализации наиболее выгодных для них по отдельности распределений ресурса):
Wj = max [Hj(yj) - ?с, (;Ж i eN.
{у« >0} jeM
Запишем условие того, что существует система платежей от РП к ФР, такая, что выигрыш каждого из РП не меньше, чем при независимой деятельности каждого из них:
(3) Hj(Zj) - ?AjZj > Wj, i eN.
jeM
Из [122] известно, что условие согласованности интересов РП (между собой и с ФР) имеет вид:
3z: A(z) *0, где
(4) A(z) = {Aj >0, i eN, j eK | (2) и (3) }.
Из [122] известно, что интересы РП могут быть согласованы тогда и только тогда, когда
maX [ ^ Hi (у. ) - ^ Cj ( jy)] > ?Wi .
{у } ieN jeM ieN
Получаем, что справедливо следующее утверждение:
Утверждение 3. Если 3 z: A(z) ^ 0, то Л(х) ^0.
Содержательно утверждение 3 означает, что, если согласование интересов РП возможно, то распределение ресурса, предлагаемое в рамках централизованной схемы, также является согласованным. Отметим, что это отнюдь не означает согласованность любого централизованного решения по распределению ресурса между проектами портфеля.
2.4.5. Трансфертные цены
Частным, но достаточно распространенным на практике, случаем взаимодействия участников организационной системы при реализации портфеля проектов является использование так называемых трансфертных (внутрифирменных - различий между этими понятиями мы делать не будем) цен, определяющих стоимость использования РП единицы того или иного ресурса.
Обозначим затраты РП на использование ресурса
(5) с?(Угі) = Y + р Уц, г eN,j eN.
Отметим, что ставки y и в зависят только от вида ресурса и не зависят от того, в каких проектах ресурс используется (система цен является унифицированной).
Тогда целевая функция j-го ФР имеет вид:
(6) ДУ) = n Yj + Рц Z Уц - cj(jy)’j eM
ieN
Обозначим Yj = ^ y{j и предположим, что jy) = Cj(Yj),
ieN
j eM. Предположим, что функции затрат являются дифференцируемыми, выпуклыми (использование ниже условий первого порядка при поиске оптимального распределения ресурса неявно подразумевает, что реализованы будут все проекты из множества N) и равными в нуле нулю. Тогда оптимальное с точки зрения ц-го ФР количество используемого ресурса имеет вид:
(7) Y*j(flj) = С;-1(Рц), j eM.
Условие того, что при использовании трансфертных цен каждый из ФР получит тот же выигрыш, что и при централизованной схеме, имеет вид:
(8) n Y + в с;-1(в) = С(? Xj ), j еМ.
ieN
Условие совпадения количеств ресурсов, выделяемых на каждый проект при централизованной схеме и при использовании трансфертных цен, запишем в виде
(9) Z Xj = с;~1(в),] е M.
isN
Таким образом, справедливо следующее утверждение.
Утверждение 4. Использование централизованной схемы (1) при распределении ресурсов между проектами портфеля эквивалентно использованию системы трансфертных цен, удовлетворяющих (8) и (9).
Подчеркнем, что при заданном оптимальном распределении ресурса (1) может не существовать эквивалентной системы трансфертных цен, то есть множество решений системы (8)-(9) может оказаться пустым.
Аналогичным утверждению 4 образом можно записать условия эквивалентности механизма согласования интересов и механизма трансфертных цен (см. пример ниже).
2.4.6. Пример распределения ресурсов между проектами портфеля
Рассмотрим пример (обобщающий соответствующие результаты, приведенные в [117]), иллюстрирующий применение описанного выше подхода для случая организационной системы с двумя проектами (и, соответственно, двумя РП) и одним видом ресурса (и, соответственно, одним ФР).
Пусть у ФР имеется единичное количество ресурса (отметим, что количество ресурса фиксировано). Стратегией ФР является выбор действия у е [0; 1], содержательно интерпретируемого как
129
количество ресурса, выделяемого на первый проект. Соответственно, (1 - у) характеризует количество ресурса, выделяемого на первый проект.
РП получают доходы, зависящие от того количества ресурса, которое было выделено на соответствующий проект: H1(y) = у, И2(у) = 1 - у.
ФР несет затраты c(y) = ay2 / 2 + (1 - у)2 / 2, где a >0. Минимум функции затрат ФР достигается при действии 1 / (1 + a).
Определим наиболее выгодное для первого РП количество ресурса (максимизирующее разность между Hj(y) и c(y)):
f1, a < 1
a > 1'
1+a
Выигрыш первого РП при этом равен
1 -a 12, a < 1
3-a
Wj = <
2(1 + a)
Определим наиболее выгодное для второго РП количество ресурса (максимизирующее разность между H2(y) и c(y)): у2 = 0.
Выигрыш второго РП при этом равен W2 = 1 / 2.
Определим действие у0, доставляющее максимум выражению \H1{y) + Н2(у) - с(у)]: уо = 1 / (1 + a), и вычислим следующую величину:
a + 2 2(a +1).
Wo = \Hfyo) + H^o) - с(уо)]
Условие согласованности имеет вид: W1 + W2 0. Так как величины W1 и W0 зависят от параметра a, то можно найти множество значений этого параметра, при которых условие W1 + W2 < W0 выполнено.
Возможны следующие варианты:
2(1 + а) 2(1 + а)
1. а<1, при этом W1 + W2 >W0 и W1 >W2, следовательно, в данном диапазоне значений параметра а целесообразно весь ресурс выделить на первый проект;
2. а е[1; 2], при этом W1 + W2 >W0 и W2 >W1, следовательно, в данном диапазоне значений параметра а целесообразно весь ресурс выделить на второй проект;
3. а >2, при этом W1 + W2 < W0, следовательно, в данном диапазоне значений параметра а целесообразно выделение ресурса и на первый, и на второй проект.
Рассмотрим последний случай более подробно. Из условий согласования получаем, что должно иметь место
„ а-1 а-1 „ а
(10) Лі < — -- Л2 < — --, Лі + Л2 —
1 + а а
2(1 + а)
что всегда удов-
Положив Л1 = Л2 = Л, получим: Л —
- а-1
летворяет условию Л <-.
2(1 + а)
Таким образом, условия утверждения 5 выполнены при а >2. При этом рассмотрение механизмов с внутрифирменной ценой за ресурс бессмысленно, так как суммарное количество ресурса фиксировано.
В заключение рассмотрения примера найдем условия эквивалентности механизма согласования интересов и механизма трансфертных цен.
Рассмотрим случай а <1. При этом весь ресурс расходуется на первый проект (имеет место режим конкуренции РП, характеризуемый аукционным решением их игры [122]) и ФР получает от первого РП вознаграждение, равное c( у*) + W2 + s, где s - сколь угодно малая строго положительная константа.
Пусть теперь первый РП использует пропорциональную систему стимулирования ФР со ставкой (3: L(y) = Y + Ру. Целевая
функция ФР имеет вид L(y) - c(y). Выбираемое им действие мак-
симизирует его целевую функцию, то есть: у*(в) =
1 + в
Для того, чтобы побудить ФР отдать весь ресурс на первый проект руководителю первого проекта следует положить в= а, тогдау*(а) = 1. Для того, чтобы вознаграждение ФР при использовании линейной системы стимулирования совпадало с вознаграждением, получаемом в механизме согласования интересов, должно выполняться у= s + (1 - а) / 2.
Таким образом, мы рассмотрели три схемы распределения ресурса между проектами портфеля: централизованную; учитывающую интересы руководителей проектов и функциональных руководителей; и основанную на унифицированных трансфертных ценах за используемые ресурсы. В рамках рассмотренной модели получены условия эквивалентности этих схем распределения ресурса.
2.5. ОПЕРАТИВНОЕ УПРАВЛЕНИЯ ПОРТФЕЛЕМ ПРОЕКТОВ
2.5.1. Обзор существующих моделей и методов оперативного управления проектами
В проектном управлении традиционно [53] выделяют следующие фазы жизненного цикла проекта:
- начальная фаза (концепция) или фаза инициации;
- фаза разработки или фаза планирования;
- фаза реализации или фаза контроля;
- завершающая фаза или фаза закрытия.
Эти же фазы характерны и для масштабных программ, и для проектов, составляющих портфель. К сожалению, на практике во многих ситуациях, организации ограничиваются лишь оценкой эффективности проекта (фаза инициации) и разработкой плана проекта (фаза планирования) - соответствующие модели были описаны выше - существенно недооценивая при этом важность фазы контроля. Но для успешной реализации проекта, т.е. его выполнения в срок и в рамках утвержденного бюджета, недостаточно одного лишь планирования проекта, необходимо еще и постоянно отслеживать его выполнение и на основании этой информации строить прогнозы по завершении проекта и принимать необходимые корректирующие действия. Таким образом, задачи оперативного управления проектами соответствует, в основном, фазе реализации проекта.
Основной целью оперативного управления проектами [137] является обеспечение выполнения плановых показателей и повышение общей эффективности функций планирования и контроля проекта.
Содержание оперативного управления проектами [137] состоит в определении результатов деятельности на основе оценки и документирования фактических показателей выполнения и сравнения их с плановыми показателями.
Система оперативного управления проектами портфеля представляет собой часть общей системы управления портфелем, между элементами (подсистемами) которой имеются обратные связи и возможность изменения ранее заданных показателей. То есть при любом нарушении хода выполнения проектов формируется ответное воздействие, направленное на уменьшение возникшего отклонения от плана с учетом изменений в окружающей среде.
В рамках известных на сегодняшний день формальных моделей оперативного управления проектами [42, 46, 61, 78, 80, 92] состояние проекта - результат его реализации - зависит от действий, предпринимаемых его участниками (исполнителями, являющимися управляемыми субъектами) и состояния внешней среды. Активность (целенаправленность) поведения исполнителей обуславливает зависимость результата от внешних условий (определяемых окружающей средой) и управления - целенаправленного воздействия, осуществляемого управляющим органом, которого условно можно назвать "менеджером проекта" (центром в терминологии теории активных систем).
Предположим, что в рамках имеющейся информированности центра, он обладает достоверной информацией обо всех существенных параметрах, то есть условно можно считать, что функционирование системы происходит в условиях полной информированности.
Тогда задача управления проектом включает в себя задачу "планирования", решаемую до начала реализации проекта, и задачу оперативного управления - выработки оперативных управляющих воздействий в ходе реализации проекта. Задача "планирования" подробно рассмотрена в литературе [42 и др.], поэтому перейдем к определению задач оперативного управления проектом, которые включают задачи идентификации, прогнозирования и собственно управления [78].
Пусть первоначально центр построил некоторую модель проекта, и на начальных этапах решил задачу "планирования" - определил желательные будущие значения результатов. При этом необходимо принимать во внимание, что для решения задач идентификации и прогнозирования могут использоваться не только данные о ходе реализации рассматриваемого проекта, но и информация о реализации других аналогичных проектов.
Однако в ходе реализации проекта может оказаться, что модель неадекватна и фактические результаты отличаются от запланированных. Тогда на основании информации о состоянии окружающей среды, прогнозируемом (планируемом) и фактическом результате центр осуществляет коррекцию модели проекта, вырабатывает новый "план" и осуществляет соответствующие управляющие воздействия.
Процесс получения информации о существенных параметрах проекта и его окружении будем называть мониторингом. Мониторинг проекта, точнее - разработка соответствующих моделей и механизмов является отдельной задачей и выходит за рамки настоящего исследования. Для ее решения целесообразно использовать имеющиеся в теории управления результаты по методике освоенного объема [78], сбалансированным системам показателей [74], системам комплексного оценивания [41] и механизмам экспертизы [42, 78, 90].
На основании мониторинга осуществляется прогнозирование будущих состояний проекта (каким будет результат с учетом новой информации, но в условиях действия "старой" системы управления - "старого плана"). Прогнозирование, точнее - разработка соответствующих моделей и механизмов также является отдельной задачей и выходит за рамки настоящего исследования.
Если прогнозируемый результат не удовлетворяет центр, необходимо его вмешательство - оперативное управление. То есть, решив задачи идентификации и прогнозирования, можно решать задачи оперативного управления проектом - выработки таких управляющих воздействий, которые корректировали бы ход реализации проекта в нужную (с точки зрения центра) сторону.
Таким образом, под оперативным управлением проектом будем в соответствии с [80] понимать управление проектом в процессе его реализации с учетом достигнутых результатов и изменившихся внешних и внутренних условий. Под внешними условиями понимается совокупность существенных с точки зрения рассматриваемого проекта параметров, описывающих окружающую (внешнюю) среду. Под внутренними условиями понимается совокупность существенных с точки зрения рассматриваемого проекта параметров, описывающих участников проекта - центра, исполнителей и т.д.
Пусть известны ограничения на значения управляющих параметров и задан критерий эффективности управления, зависящий как от управляющих, так и от зависимых параметров. Тогда на качественном уровне задачу управления можно сформулировать следующим образом: выбрать такие допустимые значения управляющих параметров, которые доставляли бы экстремум критерию эффективности управления.
Задача «планирования», являющаяся частным случаем сформулированной выше задачи управления, решается до начала реализации проекта и заключается в определении на основании всей имеющейся на данный момент информации оптимальных плановых значений управляющих параметров и, соответственно, состояний проекта на весь планируемый период его реализации.
Задача оперативного управления, также являющаяся частным случаем задачи управления, решается в ходе реализации проекта и заключается в определении на основании всей имеющейся на данный момент (текущей) информации оптимальных текущих и будущих значений управляющих параметров, то есть оптимальных "плановых" значений управляющих параметров и, соответственно, состояний проекта на всю оставшуюся часть планируемого периода его реализации.
Таким образом, задачи планирования и оперативного управления являются частными случаями одной и той же задачи управления, отличающимися лишь той информацией, которая имеется на момент принятия решений.
Поясним последнее утверждение более подробно. При решении задачи планирования имеется информация об ограничениях на допустимые значения плановых показателей и модель проекта. При решении задачи оперативного управления имеется информация об ограничениях на допустимые значения показателей и модель проекта, скорректированные в соответствии с решениями соответствующих задач идентификации и прогнозирования и учитывающие историю реализации проекта.
Коль скоро установлена качественная эквивалентность задач планирования и оперативного управления, достаточно рассмотреть подробно одну из них, поэтому обычно в литературе по моделям управления проектами (см., например, [78]) по умолчанию подразумевается, что формулируемые и решаемые задачи могут интерпретироваться двояко.
Итак, проведенное рассмотрение позволило сделать несколько важных методологических выводов.
Во-первых, задача "планирования" обычно рассматривается в предположении, что плановые значения всех показателей определяются до момента начала реализации проекта. В то же время, если в ходе реализации проекта обнаруживается отклонение фактических значений показателей от плановых, то задачи "планирования" могут решаться «заново» с учетом имеющейся информации. При этом техника решения останется без изменений, изменятся лишь начальные условия («начальное» значение времени будет равно не нулевому, а текущему и т.д.) и параметры, скорректированные с учетом поступившей информации. Другими словами, задачи оптимизации параметров проекта (задачи оптимального «планирования»), без значительных модификаций могут решаться в ходе реализации проекта как задачи оперативного управления с учетом накопленной информации.
Второй вывод заключается в следующем. Если на этапе планирования имелась неопределенность относительно состояния природы, то в ходе реализации проекта при решении задач оперативного управления эта неопределенность может снижаться за счет имеющейся информации об истории реализации проекта. Для этого при решении соответствующих оптимизационных задач может использоваться хорошо развитая техника идентификации -методы стохастической аппроксимации, дифференциальных и повторяющихся игр и т.д.
Перейдем к общей постановке и классификации задач оперативного управления. Обычно [42] при рассмотрении механизмов управления проектами практически не рассматривается динамика реализации проекта во времени. Действительно, при решении задачи синтеза того или иного механизма неявно предполагается, что механизм «включается» в момент начала выполнения проекта и однозначно определяет результаты деятельности всех исполнителей и результат всего проекта в целом. Такое одношаговое описание проекта адекватно многим реальным ситуациям, однако, далеко не всем из них. Рассмотрим, в каком случае статическая модель проекта является достаточной (с точки зрения эффективности).
Если перед началом проекта и центр, и исполнители имеют достаточно полное и точное представление обо всех параметрах самого проекта и параметрах внешней среды, существенно влияющих на результат реализации проекта, то все возможные ситуации могут быть учтены (например, в рамках метода сценариев) при синтезе механизма управления на начальном этапе. Такой механизм может оказаться достаточно громоздким (так как он должен учитывать значительное число факторов), однако, принципиально, ничто не препятствует его созданию.
На практике ситуации, в которых априори имеется полная информация о будущих значениях существенных параметров, встречаются достаточно редко. Зачастую имеется большая неопределенность относительно результатов реализации проекта. Понятно, что со временем эта неопределенность будет уменьшаться за счет поступления новой информации, идентификации параметров, наблюдений за ходом реализации проекта и т.д. В этом случае создавать механизм управления, который изначально учитывал бы всю неопределенность и давал универсальные рецепты на все случаи жизни, неэффективно, а порой просто нереально. Поэтому возникает необходимость рассмотрения динамики реализации проекта.
Наиболее простым обобщением статических моделей на динамический случай является следующее рассуждение. Пусть процесс реализации проекта разбит на T периодов. В каждом отдельно взятом периоде центру необходимо решать задачи распределения ресурса, синтезировать механизмы финансирования, стимулирования и т.д. Если считать, что ставить и решать эти задачи для статических моделей (одного периода) мы умеем, то необходимо просто решить Т задач - каждую для своего периода. Такая модель называется квазидинамической (или моделью с несвязанными периодами функционирования [119]). Квазидинамические модели позволяют описывать динамику процесса, но при их использовании некоторые эффекты, связанные именно с динамикой, могут быть потеряны. Поэтому иногда более адекватными являются динамические модели, в которых задачи, решаемые в каждом периоде, связаны между собой.
Следует признать, что, во-первых, динамические модели являются несравненно более сложными (с точки зрения проблем синтеза, вычислительной сложности, анализа решений и т.д.), чем статические. Во-вторых, модели, достаточно полно учитывающие динамику, исследованы гораздо менее глубоко, чем статические модели. Результаты исследования некоторых динамических активных систем приведены в [119] и эти результаты можно и нужно использовать при решении задач оперативного управления проектами.
Перейдем к классификации этих задач. Так как оперативное управление проектом является частным случаем управления социально-экономической системой, то возможна его классификация по основаниям: предмет управляющего воздействия и расширение базовой модели [41]. Кроме того, специфическим именно для оперативного управления проектами являются следующие три существенных свойства принимаемых решений: время (момент принятия решений); содержание (суть и эффективность принимаемых решений); согласованность (принимаемых решений с интересами и предпочтениями участников проекта).
Соответствие между известными механизмами управления и перечисленными тремя свойствами установлено в [80]. Там же рассматриваются такие ставшие классическими механизмы оперативного управления проектами как механизмы опережающего самоконтроля и компенсационные механизмы [42]. Модели оперативного управления проектами: дополнительные соглашения, продолжительность проекта, шкалы оплаты, распределенное финансирование, типовые решения, точки контроля и др. подробно рассматривались в [80].
Завершив краткий обзор известных моделей и методов оперативного управления проектами, вспомним, что предметом настоящего исследования являются портфели проектов, поэтому обратимся к специфике последних.
2.5.2. Специфика оперативного управления портфелями проектов
Как было сказано выше, портфелем проектов называют набор технологически независимых проектов, реализуемых организацией в условиях ресурсных ограничений для достижения ее стратегических целей [76]. Следовательно, для оперативного управления отдельными проектами, входящими в портфель, можно и нужно использовать перечисленные выше известные модели и методы оперативного управления. В том числе - задачи оперативного управления и методы агрегирования совокупностью технологически взаимосвязанных работ и/или проектов, которые рассматривались в [14, 35, 78].
Однако, задача оперативного управления портфелем проектов в некотором смысле проще, чем управление мультипроектом. Действительно, мультипроект, состоящий из множества технологически и ресурсно взаимосвязанных проектов, требует решения задачи агрегирования - например, оценки состояния проекта на основании детальной информации о состоянии подпроектов и работ. Решение этой задачи далеко не тривиально - см. [14, 35]. В то же время, проекты, входящие в портфель проектов, реализуемых той или иной организацией, как правило, технологически независимы. Учет же только ресурсной их взаимосвязи осуществляется проще, чем и ресурсной и технологической. При этом, правда, необходимо оценивать текущее состояние портфеля проектов с точки зрения целей организации. Для того, чтобы описать, как это возможно сделать, приведем систему показателей освоенного объема - наиболее распространенного на сегодняшний день инструмента оценки хода реализации проектов и оперативного управления ими.
2.5.3. Показатели освоенного объема и их агрегирование
Перечислим, следуя [78], основные и производные показатели освоенного объема одного проекта (см. Рис. 22). Основные показатели освоенного объема:
С0 - планируемые суммарные затраты на проект (TB);
Т0 - планируемая продолжительность проекта;
Х0 - суммарный объем работ по проекту;
c0(t) - планируемая (здесь и далее - кумулятивная) динамика затрат (BCWS);
c(t) - фактическая динамика затрат (ACWP);
x0(t) - планируемая динамика объемов работ (BQWS);
x(t) - освоенный объем (BQWP);
Т - фактическая продолжительность проекта;
С - фактические суммарные затраты на проект (EAC -Estimate At Complete).
Производные показатели освоенного объема:
Ac(t) = c0(t) - c(t) - разность между плановыми и фактическими затратами;
Ax(t) = x0(t) - x(t) - разность между плановым и освоенным объемом;
a(t) = x(t) / x0(t) - показатель освоенного объема, характеризует выполнение плана по объему;
ДО = c(t) / c0(t) - показатель динамики затрат, характеризует соответствие поступления средств директивному графику;
Yt) = x(t) / c(t) - эффективность использования средств;
rc(t) = t - c-1 (c(t)) - текущая задержка по затратам;
rx(t) = t - xq1 (x(t)) - текущая задержка по объему;
е0 = Х0 / С0 - плановая эффективность проекта в целом;
e0(t) = x0(t) / c0(t) = ДО Yt) / a(t) - плановая эффективность использования средств;
е = X/ С - фактическая эффективность проекта в целом.
Пример динамики основных показателей освоенного объема приведен на рисунке (см. Рис. 22).
 |
|
Рис. 22. Пример динамики основных показателей освоенного объема |
Выше приведена система показателей освоенного объема для одного проекта. Если имеется портфель N = {1, 2, ..., n}, состоящий из n проектов, то каждый проект (номер которого будем обозначать нижним индексом у соответствующего показателя) может быть описан той же системой показателей.
Вычислим для каждого из проектов следующие показатели:
(1) С() = ф) + (Cio - Oi(t)) / Щ), i eN,
(2) Tit) = Tio/ Ш i eN,
где lf/i(t) - оценка "отставания" i-го проекта в момент времени t.
Величина (1) характеризует вычисляемую в момент времени t оценку суммарных затрат на i-ый проект, а слагаемое (Ci0 -ci(t)) / lFi(t) - оценку средств, необходимых для завершения этого проекта. Величина (2) дает оценку сроков завершения проекта.
Общепризнанно, что основным свойством методики освоенного объема является возможность: «раннего обнаружения» (обнаружения на ранних стадиях реализации проекта) несоответствия фактических показателей проекта плановым значениям, прогнозирования на их основании результатов выполнения проекта (сроков, затрат и т.д.) и принятия своевременных корректирующих воздействий, вплоть до прекращения проекта.
Для прогнозирования результатов выполнения проекта в различных работах (см. обзор в [78]) предлагается использовать следующие оценки:
- оптимистическая оценка - tf/i(t) = ai(t) или Д(і);
- пессимистическая оценка - tf/i(t) = ai(t) Д(і);
- субъективная оценка - tf/i(t) - величина, выбираемая экспертом.
Следует отметить, что именно такой способ "экстраполяции" используется в современных программных средствах по автоматизированному управлению проектами.
Понятно, что если существует такой момент времени, что после него величины Ді) и а(і) не изменяются, то (1) и (2) - "хорошая" оценка. Большинство известных на сегодняшний день результатов использования методики освоенного объема существенно использует предположение о «стабилизации» показателей а(і) и Ді) в ходе реализации проекта [78]. Если стабилизации не происходит, то для оценки текущих значений параметров { ifi(t)} можно использовать результаты современной теории адаптивного управления и идентификации [40, 91, 143, 144].
При оперативном управлении портфелями проектов агрегирование финансовых показателей (затрат) осуществляется суммированием для каждого момента времени по всем портфелям, входящим в проект. Необходимости агрегировать показатели освоенного объема (объемов выполненных работ) не возникает в силу "независимости" проектов портфеля (напомним, что именно агрегирование показателей освоенного объема по отдельным работам или подпроектам представляет основную трудность [78]). Таким образом, решение задачи агрегирования в случае портфеля проектов проще, чем в случае мультипроекта.
Предположим, что i-ый проект начинает давать финансовую отдачу di(t), t >Ti, после своего завершения, i eN. Пусть также известны времена {ti}i e N моментов начал реализации проектов.
Тогда директивный (плановый, прогнозный) баланс портфеля проектов имеет вид:
(3) Fo(t) = - Z Сг О (t) 1 (t e [tг , ti + T О ]) + Z d (t) 1 (t > Ti 0) ,
ieN ieN
где I( •) - функция-индикатор, а точка над функцией обозначает ее производную по времени (напомним, что c(t) - кривая кумулятивных затрат).
С учетом прогноза перерасхода средств и задержки в завершении проектов, в соответствии с (1) и (2), фактический (r>t) и прогнозный (т < t) баланс портфеля проектов в момент времени т>0 можно представить в виде:
(4) F(T 0 = - Z Сг (t)1 (t ^ т) - Z (Ci0(t)/ ?г (т))1 (t > т)
ieN ieN
+ Z di(t) 1 (t e [Ti;т]) + Z di(t) 1 (t > Ti(т)).
ieN ieN
Плановые и фактические (текущие) значения финансовых показателей позволяют описать динамику реализации портфеля проектов с точки зрения организации в целом. Сравнение выражений (3) и (4) может служить основанием для принятия оперативных (в момент времени г) управленческих решений. В том числе, используя эту информацию, можно использовать известные механизмы планирования (см. обзор в разделе 1 выше) - механизмы оценки эффективности проектов, механизмы отбора проектов, механизмы распределения ресурсов и др. Пример механизма оперативного управления портфелем проектов, использующего предложенный подход, приведен в следующем разделе.
2.5.4. Пример оперативного управления портфелем проектов
Рассмотрим портфель N из n проектов, динамика объемов работ в которых описывается линейными зависимостями (технологией [78]):
dxi (t) dt
(5)
a, Ui(t), i eN,
где u,(t) = c, (t), a, > 0 - константы, i e N.
Предположим, что при составлении плана использовались оценки b, констант а,, и считалось, что затраты на каждый проект в единицу времени (интенсивности [14, 35, 78]) постоянны:
u,(t) = и,о i eN.
Тогда, если все проекты начинаются одновременно и известны объемы работ {Xi0}i eN по проектам, то, можно определить времена их завершения: Ti0 = Xi0 / (bi ui0) и затраты:
C,o = u,0 Ti0 = Xi0 / bi, i e N.
Если известны параметры {di(t)}i eN финансовой отдачи проектов, которые будем считать константами {di} (содержательно -проект дает отдачу только в момент своего завершения и дисконтирование не учитывается), то плановый финансовый баланс имеет следующий вид:

Плановая финансовая эффективность портфеля проектов, определяемая как отношение суммарного "дохода" к суммарным затратам, имеет вид:
Z di
ieN |
 |
(7) Ро
ieN
а максимальная нехватка средств может оцениваться как (8) Л0 = max F0(t).
Предположим, что первоначальные оценки параметров [Хіо}і eN и {Ъі}і eN оказались неточными, и по результатам наблюдений за результатами реализации проектов на начальных их этапах эти оценки были скорректированы - заменены соответственно на {Х'іо}і еы и {Ъ'і}і еы.
В результате приходится произвести переоценку всех параметров портфеля:
T = Х'іо/(Ъ'і uo), С, = то T = X'i0/Ъ'і, i eN,
^ и,„ I(t < X0 /(b
ieN
)) + Z d,1 (t - X\o/(b'iui0))
(9) F(t)
i u, 0
ieN
Z d,
ieN
(10) p
Z (X' о/ b, у
ieN
(11) A = max F(t).
t-0
Сравнивая (6)-(8) и, соответственно, (9)-(11), можно ставить и решать задачи выбора управляющих воздействий (например, интенсивностей, удовлетворяющих бюджетному ограничению), которые приводили бы к улучшению ситуации (например, к повышению (11) и т.д.).
Отметим, что в рассматриваемом частном случае из (1), (2) и (5) следует, что
сф) = Xi(t) /x,o(t) = Ъ'і /Ъі, при t е [0; T,o], i eN; в) = Ci(t) /Cio(t) = 1 при t e [0; To], i eN;
Y(t) = Ъ'і при t e [0; Ti0], i eN.
Для оценки текущих значений параметров { ^i(t)} можно использовать следующие выражения:
х'
- Ur 0t
t e [0; Ti0], i eN.
х„
- U,0t
Таким образом, можно сделать вывод об обоснованности и целесообразности использования известных моделей и методов
при оперативном управлении проектами, входящими в портфель. Динамика реализации портфеля проектов может быть описана в терминах показателей освоенного объема, что дает информацию, необходимую для эффективного оперативного управления портфелем с точки зрения стратегических целей организации.
Итак, во второй главе рассмотрен класс механизмов принятия решений об относительной важности критериев, по которым оцениваются проекты и их портфели. Для механизмов, отображающих совокупность мнений заинтересованных субъектов (характеризуемых однопиковыми предпочтениями) в приоритеты критериев, обладают следующими свойствами: непрерывность по всем переменным, удовлетворение условия единогласия, анонимность и сепарабельность, доказано, что в случае двух критериев возможно использование неманипулируемого механизма принятия решений и предложен конкретный вид этого механизма. Для случая трех и более критериев показано, что любой механизм из рассматриваемого класса в общем случае является манипулируемым. Приведены достаточные условия неманипулируемости, сформулированные в терминах ограничений на возможные мнения об относительной важности критериев, по которым оцениваются проекты и их портфели.
Предложена многокритериальная нечеткая модель формирования портфеля проектов, в рамках которой формально определена степень соответствия портфеля проектов стратегическим целям организации. Показано, что данная модель обобщает на нечеткий и многокритериальный случай классическую «задачу о ранце» и допускает нахождение оптимального портфеля методом динамического программирования.
Разработана и исследована модель планирования процесса реализации портфеля проектов, в которой выбором моментов начала работ и их продолжительности максимизируется рентабельность проекта с учетом параметров налогообложения проекта и моментов выплат налоговых платежей.
В рамках предложенной модели распределения ресурсов между проектами портфеля исследованы три схемы согласования интересов функциональных руководителей и руководителей проектов: централизованная, децентрализованная и основывающаяся на системе трансфертных цен, определяющих стоимость использования в проекте единицы того или иного ресурса организации. Доказано, что, если возможно согласование интересов руководителей проектов, то распределение ресурса, предлагаемое в рамках централизованной схемы, также является согласованным. Получены условия, в рамках которых использование централизованной схемы при распределении ресурсов между проектами портфеля эквивалентно использованию системы трансфертных цен.
Введена система показателей освоенного объема - адекватного инструмента оценки хода реализации портфеля проектов. Показано, что сравнение планового (директивного) и фактического графиков освоенного объема и расходования средств может служить основанием для принятия эффективных решений по оперативному управлению портфелем проектов.
ГЛАВА 3. Результаты практического использования моделей и методов управления портфелями проектов
Настоящая глава посвящена рассмотрению практических аспектов использования моделей управления портфелями проектов при автоматизации проектной деятельности.
Задачи современной компании уже выходят за рамки управления отдельными проектами. Число реализуемых проектов постоянно возрастает, ужесточаются требования к их качеству, срокам и бюджетам. К основным сложностям управления компанией можно отнести:
• одновременную реализацию большого количества проектов;
• сложность определения приоритетов по проектам при принятии решений;
• слабую связь проектов со стратегическими целями;
• сложность оценки окупаемости проектов или выгоды, получаемой компанией от их реализации, так как не все результаты поддаются четкому измерению.
В связи с этим возникает необходимость перехода на принципиально новый уровень корпоративного управления, предполагающий неразрывную связь всех проектов, ведущихся в компании, и ее стратегии. Уже многие организации прошли сложный путь от управления отдельными проектами к корпоративному управлению проектами/портфелями проектов, когда любой проект, инициируемый компанией, должен рассматриваться через призму стратегических целей.
Также, в связи с постоянно растущей сложностью задач, стоящих перед компаниями, растут и требования к информационным системам. В корпоративной информационной системе должны быть представлены модули, реализующие весь функционал, необходимый компании, и построенные в соответствии с современными техническими требованиями.
Итак, рассмотрим некоторую организацию, которая ставит перед собой задачу автоматизации системы управления проектами/портфелями проектов. Для успешного внедрения подобной автоматизированной системы необходимо оценить ее возможности и их соответствие с задачами, стоящими перед организацией. В разделе 3.1 рассмотрены общие аспекты автоматизированных систем управления проектами/портфелями проектов, в том числе: требования к автоматизированным системам управления проектами/портфелями проектов (подраздел 3.1.1), цели внедрения (подраздел 3.1.2), назначение и функции внедряемых систем (подраздел 3.1.3). В разделе 3.2 приведено описание подсистем и модулей практической реализации автоматизированной системы управления проектами/портфелями проектов, в том числе участники автоматизированной системы (подраздел 3.2.1), процессы, реализованные в автоматизированной системе (подраздел 3.2.2) и состав автоматизированной системы (подраздел 3.2.3). Установлено соответствие между процедурами принятия решения при управлении портфелями проектов в реальных проектах и математическими моделями, рассмотренными в главе 2 настоящей работы.
3.1. АВТОМАТИЗИРОВАННЫЕ СИСТЕМЫ УПРАВЛЕНИЯ ПОРТФЕЛЯМИ ПРОЕКТОВ
При построении системы управления портфелями проектов возникает множество вопросов:
• Насколько успешно реализуется портфель проектов и составляющие его проекты?
• Насколько эффективен выбранный способ реализации отдельных проектов и портфеля в целом?
• Какой проект более успешен по сравнению с другими?
• Каким образом распределить ресурсы компании между портфелями и проектами, составляющими портфель?
В условиях отсутствия единой корпоративной автоматизированной системы управления портфелями проектов не представляется возможным оперативно дать ответы на подобные вопросы.
В настоящем разделе рассматриваются общие требования к автоматизированным системам управления портфелями проектов, в том числе: назначение, цели внедрения и требования к составу.
3.1.1. Требования к автоматизированным системам управления портфелями проектов
Автоматизированная система управления портфелями проектов обеспечивает поддержку принятия управленческих решений на основе автоматизации процессов, процедур и других способов осуществления деятельности компании. Деятельность регламентируется информационно-нормативными документами, а также результатами измерений и оценок, статистических материалов и оперативного управления и т.д. В добавление к этому, задачей информационной системы является помощь персоналу при анализе проблемы, визуальном рассмотрении сложных объектов и разработке новых продуктов [61].
Основным управляющим фактором является процедура принятия решений, на основании результата которой осуществляется воздействие на систему (предприятие, корпорацию, компанию, организацию). Корпоративная информационная система управления проектами (КИСУП) сама по себе решений не принимает, но, будучи эффективно настроенной, способна поставлять информацию руководителю, лицам принимающим решения, в том ракурсе, который наиболее подходит для принятия конкретного решения.
В соответствии с [146] управление информационными связями можно определить как управленческую функцию, направленную на обеспечение своевременного сбора, генерации, распределения и сохранения необходимой проектной информации.
Корпоративная информационная система управления проектами является своего рода фундаментом для обеспечения координации действий участников проектов компании. Общая схема информационного обмена внутри организации представлена на рисунке (см. Рис. 23) [137].
 |
|
Рис. 23. Информационный обмен в организации |
Эффективно управлять современным предприятием довольно трудно, учитывая многообразие используемых ресурсов и высокую скорость изменения операционного окружения. Основными функциями управления являются планирование, координация, контроль, анализ и оценка деятельности. Управленческие решения, формируемые в ходе выполнения вышеперечисленных функций, служат отправным моментом для конкретных исполнителей. В связи с тем, что автоматизация исполнения должностных обязанностей и отдельных поручений фактически стала в последнее время стандартом де-факто, особую остроту приобретает проблема автоматизации непосредственно управленческих функций.
Поэтому в составе информационной системы принято учитывать средства для документационного обеспечения управления, информационной поддержки предметных областей, коммуникационное программное обеспечение, средства организации коллективной работы сотрудников и другие вспомогательные (технологические) продукты. Из этого, в частности, следует, что обязательным требованием к информационной системе является интеграция большого числа программных продуктов, реализующих различные методы управления.
Развитие корпоративных информационных систем прошло через несколько этапов. С увеличением мощности ПК улучшалась функциональность систем, повышались их возможности. С введением стандартов обмена данными между системами, распространением сетевых и Web-технологий открылись новые возможности для дальнейшего развития систем поддержки процессов управления проектами и их более эффективного использования. Сами проекты становятся все более сложными, что предъявляет дополнительные требования к развитию информационных технологий управления проектами.
На сегодняшний день применение информационных технологий для управления проектами/портфелями проектов можно представить так, как изображено на рисунке (см. Рис. 24).
 |
|
Рис. 24. Автоматизация управления портфелями проектов |
3.1.2. Цели внедрения автоматизированных систем управления портфелями проектов
Целями внедрения автоматизированных систем управления портфелями проектов являются:
• Повышение качества и оперативности принятия решений по планированию и контролю проектов, программ и портфелей проектов;
• Создание единого информационного пространства, обеспечивающего эффективное распределение управленческой информации в процессе подготовки и реализации проектов, программ и портфелей проектов;
• Координация работы функциональных подразделений организации;
• Накопление опыта выполнения проектов, программ и портфелей проектов и его применение при планировании и реализации новых проектов, программ и портфелей проектов;
• Создание единой формы отчетности по проектам, программам и портфелям проектов для всех их участников;
• Формирование единых требований к содержанию этапов договоров по проектам для всех участников.
3.1.3. Назначение и функции автоматизированных систем управления портфелями проектов
Автоматизированные системы управления портфелями проектов предназначены для автоматизации следующих процессов управления проектами/программами/портфелями проектов:
• Формирование календарно-сетевых графиков проектов, включая следующие основные параметры:
o Плановые и фактические даты начала и окончания работ проектов; o Длительность работ; о Плановая и фактическая стоимость; о Плановое и фактическое количество ресурсов; o Процент выполнения по работам; o Документы, являющиеся результатами выполнения работ или входными данными для выполнения работ;
• Расчет критического пути;
• Фиксация лимита по статьям затрат и контроль превышения лимита. Фиксация бюджета проекта;
• Предоставление информации участникам системы. Агрегирование информации по уровням управления;
• Контроль реализации планов по срокам и стоимости;
• Формирование отчетов о ходе выполнения проектов с различным уровнем детализации и по различным критериям;
• Формирование портфелей проектов и контроль их состояния;
• Анализ информации о ходе выполнения проектов с помощью настраиваемых экранных форм.
3.2. РЕАЛИЗАЦИЯ АВТОМАТИЗИРОВАННЫХ СИСТЕМ УПРАВЛЕНИЯ ПОРТФЕЛЯМИ ПРОЕКТОВ
В настоящем разделе приведено описание практической реализации автоматизированной системы управления портфелями проектов.
Рассматриваемая система управления портфелями проектов построена на базе программного обеспечения компании Primavera Systems, Inc., которая специализируется на корпоративных системах управления проектами/портфелями проектов. В качестве базового модуля системы выбран пакет Primavera IT Project Office.
Пакет программного обеспечения Primavera IT Project Office предназначен для управления проектами/портфелями проектов развития, разработки новых продуктов и проектами сферы информационных технологий в масштабах всего предприятия.
Пакет программного обеспечения Primavera IT Project Office построен по модульному принципу, его составляют Windows-приложения и приложения, построенные на web-технологиях, работающие в архитектуре клиент-сервер на платформах СУБД Oracle или Microsoft SQL Server. Система Primavera IT Project Office использует единую базу данных и обладает удобным пользовательским интерфейсом, что делает ее легкой в настройке, использовании и изучении.
Primavera IT Project Office является масштабируемым решением и реализует потребности управления проектами организации любого размера. Она также является достаточно гибким инструментом для настройки системы с учетом специфики конкретной организации и отрасли. При этом настройка программного обеспечения не предполагает изменения программного кода или логики базы данных, что обеспечивает существенное сокращение затрат на поддержку создаваемого решения на предприятии, а также возможность развития версий программного обеспечения, заложенного в основу решения без необходимости корректировки процессов его эксплуатации.
3.2.1. Участники автоматизированной системы управления проектами
Практическая реализация системы управления портфелями проектов показана на примере организации с проектной организационной структурой, которая представлена на рисунке (см. Рис. 25). Также эта система может быть реализована и в компаниях с матричными организационными структурами.
В приведенной организационной структуре все стратегические решения принимаются на уровне совета директоров/руководства компании. Далее эти решения «спускаются» в офис управления проектами и обретают форму конкретных проектов, которые группируются по портфелям в соответствии с определенными целями. В совместную компетенцию руководства компании и офиса управления проектами входит определение приоритетности портфелей проектов и отдельных проектов. В задачи офиса управления проектов входит и распределение ресурсов (финансовых, людских и материальных) по портфелям и проектам с учетом их приоритетности. Следующим уровнем управления являются руководители проектов, в задачи которых входит управление отдельно взятыми проектами и перераспределение ресурсов в рамках проекта. Участники команды управления проектами отвечают за выполнение пакетов работ проектов (элементов структуры декомпозиции работ (WBS)). В данном примере под командой проекта понимаются и сторонние организации, вовлеченные в реализацию проекта -подрядчики, проектировщики, поставщики и т.д. Следующим уровнем организационной структуры являются исполнители работ проекта, в задачи которых входит выполнение работ и отчетность об их исполнении. В данной модели задачи исполнителей работ по проекту не рассматриваются.
 |
|
Рис. 25. Организационная структура, реализованная в автоматизированной системе управления портфелями проектов |
3.2.2. Процессы управления портфелями проектов в автоматизированной системе управления портфелями проектов
Рассмотрим последовательность этапов процесса управления портфелями проектов в автоматизированной системе управления портфелями проектов:
• Формирование портфеля проектов (см. Рис. 26);
• Инициация проектов портфеля (см. Рис. 27);
• Планирование проектов портфеля (см. Рис. 28);
• Контроль исполнения проектов портфеля (см. Рис. 29);
• Контроль исполнения портфеля проектов (см. Рис. 30);
• Закрытие проектов портфеля (в данной модели не рассматривается).
Первым шагом процесса управления портфелями проектов является формирование стратегии организации. Этот процесс может сильно зависеть от специфики деятельности организации: для некоторых организаций стратегия формируется вышестоящими органами (государственные организации, генподрядные организации и т.д.), а для других - это сложный процесс проведения обследования компаний, результатом которого и является формирование стратегии (самым ярким примером является случай антикризисного управления, когда формированию стратегии предшествует долгий этап обследования). В данной работе процесс формирования стратегии организации не рассматривается.
Следующим этапом управления портфелями проектов является формирование портфеля(ей) проектов с учетом выработанной стратегии организации. Общий случай формирования портфеля проектов приведен на рисунке (см. Рис. 26).
 |
|
Рис. 26. Процесс формирования портфеля проектов |
Входными данными процесса формирования портфеля проектов являются стратегические цели развития организации, принятые советом директоров. Следующим этапом является формирование требований к составу портфеля(ей) с учетом поставленных стратегических целей. В этот этап вовлечено, как руководство компании, так и офис управления проектами. Под требованиями к составу портфеля понимается принятие решений о том, какие типы проектов должны быть включены в портфель для того, чтобы он полностью соответствовал стратегии компании и был сбалансированным. Несбалансированность состава портфеля проектов может выражаться в:
• излишнем количестве проектов, относящихся к производственным аспектам, при недостаточности проектов, затрагивающих рыночные аспекты деятельности организации;
• излишнем числе проектов, направленных на разработку новой продукции при недостатке исследовательских проектов;
• слишком большом числе проектов с краткосрочными целями и малом количестве проектов, нацеленных на долгосрочную перспективу;
• несоответствии портфеля проектов наиболее важным активам организации;
• несоответствии портфеля проектов стратегическим ресурсам организации;
• недостаточном учете имеющихся основных возможностей для получения дохода, рисков и др.
В свете вышеперечисленного этап формирования требований к составу портфеля проектов является наиболее критичным для реализации стратегии организации. Результатом данного этапа является формирование требований к составу портфеля проектов.
На основании требований к составу проектов, офисом управления проектами формируется портфель, включающий в себя проекты, которые:
• соответствуют установленным требованиям к составу;
• являются наиболее эффективными по критичным для организации критериям (сроки исполнения, стоимость, уровень риска, загруженность стратегически важных ресурсов и т.д.);
• совокупность всех проектов портфеля должна доставлять ему наибольшую эффективность - это условие является ключевым в управлении портфелями проектов. В состав портфеля могут быть включены и малоэффективные проекты, но совокупность всех проектов должна быть наиболее эффективна.
На следующем этапе сформированный портфель(и) проектов должны быть утверждены советом директоров. Если портфель проектов по каким-либо соображениям отклоняется, то он должен быть скорректирован и снова представлен на утверждение.
После утверждения состава портфеля(ей) проектов, принимается решение о его инициации и инициации всех проектов, составляющих портфель. На этапе инициации проектов портфеля должны быть составлены укрупненные графики проектов (графики первого уровня). Процесс инициации проектов портфеля приведен на рисунке (см. Рис. 27).
 |
|
Рис. 27. Процесс инициации проектов портфеля |
Входными данными процесса инициации проектов портфеля является утвержденный состав проектов портфеля.
На этапе разработки укрупненных графиков проектов определяются:
• сроки исполнения проекта и его этапов (пакетов работ);
• бюджет проекта и его этапов (пакетов работ);
• состав команды проекта (в данной модели это ответственные за выполнение пакетов работ проекта как из состава организации, так и внешние исполнители).
Далее варианты укрупненных графиков должны быть рассмотрены офисом управления проектами. В наиболее общем случае, чтобы план проекта был реализуемым, в процесс утверждения укрупненного графика должны быть вовлечены все участники проекта (ответственные исполнители). В приведенном же случае, предполагается, что все эти участники участвуют в офисе управления проектами.
После утверждения укрупненного графика проекта, согласованный график первого уровня передается руководителю проекта для формирования подробного плана проекта. На рисунке (см. Рис. 28) приведен процесс планирования проектов портфеля.
 |
|
Рис. 28. Процесс планирования проектов портфеля |
В процессе планирования проектов портфеля формируются графики второго уровня. Входными данными процесса планирования проектов портфеля является график проекта первого уровня.
Командой проекта формируются подробные данные плана проекта, включающие в себя:
• технологию выполнения работ;
• длительность и сроки выполнения работ;
• ресурсы, необходимые для выполнения работ проекта;
• сметную стоимость работ проекта.
Далее эти данные агрегируются на уровне пакетов работ и проектов и предоставляются в офис управления проектами. Основной задачей офиса управления проектами на данном этапе является анализ предоставленных данных по всем проектам и их корректировка с учетом приоритетности портфелей проектов, и входящих в них проектов. Под корректировкой в данном случае понимается изменение сроков выполнения этапов проектов из-за того, что ресурс, необходимый для их выполнения в это время задействован на более приоритетном проекте, замена некоторых объектов на объекты-аналоги для сокращения сроков или стоимости реализации портфеля в целом, перераспределение ресурсов и т.д.
После корректировки детальных данных плана проекта, они утверждаются офисом управления проектами и руководителями проекта и на их основании формируется детальные графики проектов, учитывающие стратегический приоритет проектов и портфелей проектов.
После формирования плана проекта и внесения в него всех корректировок, он утверждается в качестве целевого (базового) плана проекта относительно которого будет осуществляться контроль проектов и портфелей на стадии их реализации.
Следующим процессом управления портфелями проектов является контроль проектов, входящих в состав портфеля и контроль портфеля проектов в целом. Рассмотрим эти процессы по отдельности. Процесс контроля проектов, входящих в состав портфеля приведен на рисунке (см. Рис. 29).

На основании утвержденного плана проекта формируются планы выполнения работ проекта на отчетный период (в зависимости от типов проектов и специфики работы организации, отчетные периоды могут отличаться по различным проектам). За отчетный период команда проекта должна отчитаться о выполнении работ проекта. Данные, поступающие от отдельных исполнителей, агрегируются на уровне пакетов работ и проекта в целом. На основании поступившей фактической информации формируются прогнозные сценарии развития проекта. В случае возникновения отклонений руководителями проектов и офисом управления проектами принимаются управленческие решения о корректировке оставшейся части проекта. Если это решение касается перераспределения ресурсов или изменения сроков в рамках одного проекта, то оно принимается на уровне руководителя проекта, если же решение затрагивает другие текущие проекты, то оно выносится на уровень офиса управления проектами, который принимает решение «держа в голове» приоритетность тех или иных проектов в рамках портфеля и организации в целом. После принятия решения о корректировке проекта, эти изменения вносятся в его план и дальнейшее выполнение проекта осуществляется по скорректированному плану.
Следующим этапом управления портфелями проектов является контроль выполнения портфеля проектов в целом. Процесс контроля портфеля проектов приведен на рисунке (см. Рис. 30).
 |
|
Рис. 30. Процесс контроля проектов портфеля |
На основании данных по выполнению проектов формируются агрегированные отчеты о выполнении портфеля проектов в целом. Эта информация анализируется офисом управления проектами и предоставляется совету директоров/руководству организации.
Здесь опять же необходимо привести один из принципов портфельного управления: критичным фактором является не выполнение отдельно взятых проектов, а выполнение портфеля проектов в целом. Отклонения, возникающие за счет одного проекта, можно компенсировать за счет других проектов.
Здесь же необходимо отметить, что входными данными процесса контроля портфеля являются не только данные о выполнении отдельных проектов, но и изменение стратегии, изменение активов компании и ресурсов. На основании этих данных офисом управления проектами и руководством организации принимается решение о дальнейшем выполнении портфеля:
• корректировке состава портфеля;
• изменении приоритетов портфелей/проектов;
• изменении технологии;
• перераспределении ресурсов;
• изменении сроков.
Таким образом, мы получили замкнутый процесс управления портфелями проектов. В процессе реализации, портфель может претерпевать изменения как с точки зрения своего состава, так и сточки зрения параметров составляющих его проектов - сроках, стоимости, ресурсах. Неизменным остается то, что результатом выполнения портфеля проектов (завершение всех проектов, входящих в портфель) является достижение стратегической цели организации.
Последним этапом процесса управления портфелями проектов является закрытие проектов портфеля. На этом этапе информация по реализованным проектам сохраняется в корпоративной базе знания для применения накопленного опыта в будущих проектах.
Далее установим соответствие между математическими моделями управления портфелями проектов и реальными процедурами принятия решений в рамках корпоративных автоматизированных систем управления портфелями проектов - в таблице 14 по строкам перечислены процедуры, по столбцам - модели, символ "+" в ячейке обозначает целесообразность использования данной модели при реализации соответствующей процедуры принятия решений.
Таблица 14
Соответствие между моделями и процедурами принятия решения |
Модели
Процедуры |
2.1 Модели и методы оценки эффективности проектов |
2.2 Модели и методы формирования портфеля проектов |
2.3 Модели и методы планирования процесса реализации портфеля проектов |
2.4 Модели и методы распре
деления ресурсов между проектами портфеля |
2.5 Модели и методы опера
тивного управления портфелем проектов |
|
Формирование требований к составу портфеля |
+ |
+ |
|
|
|
Определение
состава
портфеля
проектов |
|
+ |
+ |
|
|
Разработка
укрупненных
графиков
проектов
портфеля |
|
|
+ |
+ |
|
Разработка
детальных
графиков
проектов
портфеля:
стои
мость/ресурс
ы |
|
+ |
+ |
+ |
|
|
Модели
Процедуры |
2.1 Модели и методы оценки эффективности проектов |
2.2 Модели и методы форми
рования портфеля проектов |
2.3 Модели и методы плани
рования процесса реализации портфеля проектов |
2.4 Модели и методы распре
деления ресурсов между проектами портфеля |
2.5 Модели и методы опера
тивного управления портфелем проектов |
Разработка
детальных
графиков
проектов
портфеля:
техноло
гия/сроки |
|
|
+ |
+ |
|
|
Корректировка графиков с учетом приоритетов проектов/портфелей |
|
|
|
+ |
+ |
Контроль
проектов
портфеля |
+ |
|
|
|
+ |
Подготовка сводной отчетности по
проектам
портфеля |
+ |
+ |
+ |
+ |
+ |
Теперь перейдем к подробному описанию автоматизированной системы управления портфелями проектов.
3.2.3. Состав автоматизированной системы управления портфелями проектов
Для автоматизации перечисленных в п. 3.2.2 этапов процесса управления проектами, в состав автоматизированных систем управления портфелями проектов должны быть включены следующие подсистемы и модули (см. Рис. 31):
• Подсистема управления портфелями проектов;
• Подсистема управления финансами;
• Подсистема управления ресурсами;
• Подсистема управления процессами;
• Подсистема управления проектами;
• Подсистема управления требованиями;
• Подсистема обеспечения взаимодействия участников.
портфелями
УправленЩ
требованЯ
Офис
Управления
Проектами
Управление
проектами
взаимодеис
Рис. 31. Информационная система управления портфелями проектов
Подсистема управления портфелями проектов
Подсистема управления портфелями проектов предназначена для анализа агрегированной информации по стоимости, срокам и потреблению ресурсов групп проектов, называемых портфелями. Портфель формируется из проектов, сгруппированных по какому-либо значимому признаку. Например, один портфель может содержать проекты, за которые отвечает определенное функциональное подразделение, в то время как другой портфель содержит только проекты, предусмотренные в бюджете следующего года.
На основании агрегированной информации подсистема управления портфелями проектов позволяет сравнивать проекты и определять их приоритетность, выявлять проекты, на которых нужно
сфокусировать внимание в дальнейшем для избежания «узких мест».
Текущие и прогнозные данные по выполнению портфеля/проекта отслеживаются в системе посредством графических
Предупреждение
Допусти-
индикаторов - Критическое
мый ® и Исключительно ^ на так называемой панели сигнализаторов (см. Рис. 32).
 |
|
Рис. 32. Подсистема управления портфелями проектов |
Наряду со сводной информацией по статусу графика и бюджета портфеля в целом, система предоставляет информацию и по каждому проекту портфеля в отдельности для анализа источников возможных проблем. Система определяет оптимистическую и пессимистическую оценки стоимости проектов портфеля по завершении, планируемые даты финиша проектов портфеля и отклонение по дате финиша, на основании которых формируется оценка по выполнению портфеля в целом. Индикаторы по статусу, осно-
173
ванные на пороговых значениях показателей, настраиваемых пользователем, определяют проекты, которые требуют повышенного внимания.
Также для анализа данных по срокам, стоимости и ресурсам в системе доступны различные графические формы, представляющие собой диаграммы в масштабе времени в виде гистограммы или таблицы. Эти формы включают в себя суммарные линии, линии целевого плана (директивного графика), линии фактического выполнения, линии оставшегося выполнения, и линию проекта в целом, которые агрегируются на уровне портфеля (см. Рис. 33).
 |
|
Рис. 33. Подсистема управления финансами |
Модель портфеля проектов включает (см. Рис. 34):
• Проект - ограниченное во времени мероприятие, направленное на достижение конкретного результата.
Информация о проекте размещается на определенном уровне структуры проектов предприятия (EPS).
• Ответственный за проект - элемент структуры ответственных, назначенный на проект.
 |
|
Рис. 34. Модель портфеля проектов |
Подсистема управления финансами
Подсистема управления финансами предназначена для мониторинга суммарной и распределенной во времени информации по финансированию и прогнозному движению денежных средств (кэш-флоу) по портфелю проектов с детализацией до уровня проекта. На основании информации по финансированию (графику расходов по проекту), поступлению средств (доходы от реализации проектов) и ставки дисконтирования, рассчитываются значения чистой приведенной прибыли, рентабельности инвестиций и периода окупаемости портфеля и его проектов (см. Рис. 35).
 |
|
Рис. 35. Подсистема управления финансами |
Подсистема управления финансами применяется в основном на прединвестиционной стадии для оценки эффективности проектов, включаемых в портфель, и оценки эффективности портфеля в целом с точки зрения его финансовой составляющей.
Подсистема управления ресурсами
Подсистема управления ресурсами предназначена для анализа распределения ресурсов и потребностей в ресурсах. В системе возможно создание команд ресурсов и команд ролей (специальностей) с учетом их принадлежности определенным функциональным подразделениям, департаментам и уровнем квалификации, чтобы отслеживать ресурсы конкретных бизнес единиц.
С учетом сформированных команд ресурсов, осуществляется анализ их распределения по проектам и портфелям и отслеживается их загрузка. В случае наличия перерасхода по ресурсу выбранной команды, система сигнализирует об этом (см. Рис. 36).
 |
|
Рис. 36. Анализ загрузки ресурсов в подсистеме управления ресурсами |
Также в системе управление портфелями проектов возможно формирование запросов на ресурсы по специальностям. Формирование запросов осуществляется в подсистеме управления проектами, откуда они попадают в подсистему управления ресурсами. Далее в соответствии с загрузкой ресурсов по каждой специальности, они распределяются по запросам. Для удобства работы с запросами на ресурсы, в подсистеме управления ресурсами возможно создание и отображение команд ролей (специальностей) и определение потребности в ресурсах по специальностям.
Модель портфеля (пула) ресурсов представлена на рисунке (см. Рис. 37) и отражает структуру портфеля и основные учитываемые в нем параметры.
 |
|
Рис. 37. Модель пула ресурсов |
Элементами пула ресурсов являются:
• Ресурс - сотрудник функционального подразделения организации, участвующий в выполнении работ по проекту.
• Роль - специальность сотрудника.
• Команда ресурсов - ресурсы, объединенные по какому-либо значимому для организации признаку.
• Команда ролей - специальности, объединенные по какому-либо значимому для организации признаку.
Подсистема управления процессами
Основной целью подсистемы управления процессами (подсистема workflow) является обеспечение координации событий и функций в рамках системы управления портфелями проектов. Методы управления процессами используют модель организации как системы бизнес-процессов. Здесь центральными понятиями выступают процесс, функция, данные, событие.
Работа подсистемы управления процессами основывается на том, что большая часть деловых процессов представляет собой периодически повторяемую, отрегулированную последовательность действий (выполнение заданий), которая может быть легко формализована. Для этой цели в подсистеме управления процессами создается так называемая карта бизнес-процессов, которые описывают, кто, когда и как должен обработать те или иные данные. Заложенное в карту описание бизнес-процесса позволяет автоматизировать формирование, активизацию, выполнение и контроль различных заданий.
Карта бизнес-процесса создается с использованием нескольких графических примитивов и затем может быть легко изменена (см. Рис. 38).
В системе управления портфелями проектов возможно создание карт следующих бизнес-процессов:
• Инициация проектов;
• Рассмотрение документов по проектам;
• Внесение изменений в проект.
 |
|
Рис. 38. Бизнес-процесс инициации проекта |
В подсистеме управления процессами для каждого элемента процесса определяются данные, которые должны быть введены на данном этапе (для проекта это его принадлежность к определенному портфелю проектов, сроки исполнения, бюджет, документы и комментарии по нему), участники системы, которые являются ответственными за утверждение данного этапа и порядок протекания процесса.
Таким образом, каждый участник системы может инициировать процесс по уже заранее сформированному шаблону. Современные информационные технологии позволяют оперативно оповещать участников системы о том, что какой-либо процесс «поступил» к ним на утверждение, а инициаторам процесса отслеживать его статус (см. Рис. 39).
 |
|
Рис. 39. Мониторинг статуса бизнес-процесса |
Также подсистема управления процессами частично включает в себя элементы управления документами и делопроизводства, то есть к комплекс операций по созданию, управлению и исполнению документов, ведению электронного архива, организации офисного документооборота. В подсистеме управления процессами доступны следующие функции управления документами:
• Возврат и изъятие документов из системы;
• Контроль версионности документов;
• Формирование цикла утверждения документов.
Подсистема управления проектами
Подсистема управления проектами позволяет формировать планы проектов, рассчитывать расписание проектов, контролировать их выполнение и изменять информацию об их статусе. В подсистеме управления проектами формируются детальные календарно-сетевые графики проектов с учетом ресурсов и затрат по выполнению работ проектов. Календарно-сетевые графики работ по проектам являются ядром портфеля проектов. Именно на основании данных из календарно-сетевых графиков проектов осуществляется анализ и оценка эффективности портфеля. Для различных уровнях управления график имеет разный уровень детализации. На рисунке (см. Рис. 40) приведен классический пример трехуровневой иерархии графиков работ.

График первого уровня разрабатывается при инициации проекта. Он должен отражать укрупненные, наиболее значимые события в проекте, стоимостные оценки и прогнозируемые сроки. В строительстве, например, этот график, или его часть является предметом переговоров между заказчиком и генеральным подрядчиком по проекту. График первого уровня содержит следующую информацию:
• Уровни структуры декомпозиции работ (WBS) и ответственные исполнители по ним.
• Даты выполнения этапов работ;
• Бюджеты этапов работ;
• Плановые и фактические даты начала и окончания этапов;
• Ключевые вехи;
• Плановые и фактические затраты;
• Ссылки на договорные документы.
График первого уровня является ограничителем для графиков второго и третьего уровней.
График второго уровня ориентирован на подрядчиков. Цель графика второго уровня - контроль выполнения обязательств подрядными организациями. График содержит следующую информацию:
• Уровни структуры декомпозиции работ (WBS) и ответственные исполнители по ним;
• Даты выполнения этапов работ;
• Бюджеты этапов;
• Технологию выполнения работ, составляющих этапы;
• Плановые и фактические даты начала и окончания этапов;
• Плановые и фактические затраты;
• Информацию по ресурсам (трудовым, нетрудовым и материалам);
• Индивидуальные календари ресурсов;
• Даты начала и окончания работы ресурсов.
График 3го уровня представляет собой детальный график выполнения подрядных и субподрядных работ. График содержит следующую информацию:
• Уровни структуры декомпозиции работ (WBS) и ответственные исполнители по ним;
• Работы и технологию выполнения работ
• Плановые и фактические даты начала и окончания выполнения работ;
• Плановые и фактические затраты;
• Информацию по ресурсам (трудовым, нетрудовым и материалам);
• Индивидуальные календари ресурсов;
• Даты начала и окончания работы ресурсов.
• Ограничения для графиков первого и второго уровней
На рисунке (см. Рис. 41) представлен пример сопоставления графиков проекта первого и второго уровней.
 |
|
Рис. 41. Графики проекта первого и второго уровней |
Схематическая модель календарно-сетевого графика проекта представлена на рисунке (см. Рис. 42) и отражает структуру календарно-сетевого графика проекта и основные учитываемые в графике параметры.
Ключевое событие проекта
Ответственный за проект
Проект
Этап внутреннего проекта (график 1го уровня)
Стоимость
Бюджет этапа/ пакета
Работа графика проекта (график Зго уровня)
Ответственный за этап проекта/ пакет работ
Пакет работ проекта (график 2го уровня)
Документ проекта
Исполнитель
работ
Роль
(специальность
исполнителя
Рис. 42. Модель календарно-сетевого графика проекта
Элементами календарно-сетевого графика проекта являются:
• Бюджет проекта - средства, выделенные на реализацию внутреннего проекта.
• Ответственный за проект - элемент структуры ответственных, назначенный на проект.
• Этап проекта - этап реализации внутреннего проекта, приводящий к достижению конкретных документируемых результатов, имеющий выделенного ответственного.
• Пакет работ проекта - выделенный набор работ в рамках этапа проекта, имеющий выделенного ответственного.
• Бюджет этапа / пакета работ - количество средств, выделенных на исполнение соответствующего этапа / пакета работ.
• Ответственный за этап/пакет работ - элемент структуры ответственных, назначенный на уровень этапа или пакета работ проекта.
• Ключевое событие проекта - событие, которое влияет на достижение целей проекта.
• Веха этапа/пакета работ - событие, которое влияет на достижение результатов этапа/пакета работ.
• Работа графика проекта - непрерывное элементарное действие, выполняемое одним составом исполнителей. Работа графика должна иметь назначение специальностей и может иметь назначения ресурсов, расходов, документов.
• Стоимость - финансовые затраты на выполнении данной работы.
• Специальность - набор навыков исполнителя, необходимый для выполнения данной работы. Назначение специальности характеризуется плановыми и фактическими трудозатратами, интенсивностью потребления.
• Исполнитель работ - ресурс из пула ресурсов организации, обладающий специальностью, необходимой для выполнения анной работы. Назначение исполнителя работ характеризуется плановыми и фактическими трудозатратами, интенсивностью потребления.
• Документ проекта - карточка документа, назначаемая на работу графика, веху этапа/пакета работ или ключевое событие проекта. В карточку вносится название документа, автор, номер версии, присваивается категория, устанавливается статус документа.
Подсистема управления знаниями
Подсистема управления знаниями предназначена для формирования и поддержания базы типовых элементов проектных работ - типовых модулей. Типовые модули представляют собой некоторую часть календарно-сетевого графика проекта, выделенную по каким-либо признакам. Типовые модули используются как составные части при формировании нового графика проекта. Схематически связь управления проектами и портфелями проектов с управлением знаниями представлена на рисунке (см. Рис. 43).
 |
|
Рис. 43. Связь управления портфелями проектов с управлением знаниями |
Управление портфелями проектов определяет «что должно быть сделано?» для достижения стратегических целей организации (т.е. какие проекты должны быть включены в портфель), а управление проектами определяет «как будут выполняться?» эти проекты. Но возникает еще один вопрос «соответствует ли выполнение проектов определенным стандартам?». На этот вопрос помогают найти ответ методы и средства управления знаниями.
Подсистема управления знаниями - это модуль, позволяющий разрабатывать и централизованно хранить методологии или шаблоны планов проектов. При разработке конкретных планов проектов офис управления проектами (при его отсутствии руководители проектов) может выбирать нужные методологии, комбинировать их или вносить в них необходимые изменения. Преобразованные таким образом методологии переносятся в подсистему управления проектами с помощью специального «мастера» и используются в качестве шаблонов при создании новых проектов. Таким образом, при реализации каждого нового проекта можно непрерывно совершенствовать и обновлять работы, критерии и прочую информацию, относящуюся к проектам.
Подсистема обеспечения взаимодействия участников
По данным последних исследований в области управления проектами, проводившихся западными компаниями Association for the Advancement of Cost Engineering (AACE), Aberdeen Group и Project Management Institute, основными причинами неудач проектов (превышение сроков реализации и бюджета) является отсутствие коммуникаций между их участниками. Следствием этого является то, что получаемая руководством компании информация по состоянию проектов является устаревшей на 2-4 недели, руководству приходится тратить 30 % своего времени на сбор данных и отчетности по проектам и более 80 % времени руководства уходит на переговоры по «проблемным участкам» проектов, которых можно было бы избежать, имей они вовремя всю необходимую информацию.
Поэтому, для обеспечения своевременности принятия управленческих решений все участники системы должны работать в рамках единого информационного пространства, обеспечивающего своевременное предоставление всей необходимой на данном уровне управления информации. Подсистема взаимодействия обеспечивает информационный обмен между участниками проектов, предоставляя каждому только необходимую ему информацию (см. Рис. 44).
 |
|
Рис. 44. Разделы подсистемы обеспечения взаимодействия |
Для каждого участника - от руководства компании до рядовых исполнителей на местах - в системе настраиваются так называемые «персональные рабочие окружения», в которых участник системы видит только необходимые ему данные и может обмениваться информацией с другими участниками системы. Также в системе настраиваются «рабочие окружения проектов» - представления, в которых руководитель проекта может опубликовать информацию по проекту, которую он считает нужным донести до остальных участников системы.
После рассмотрения всех подсистем управления портфелями проектов, установим соответствие между ними и процессами управления портфелями проектов - в таблице 15 по строкам перечислены процессы, по столбцам - подсистемы, символ "+" в ячейке обозначает, целесообразность использования данной подсистемы в соответствующем процессе.
Таблица 15
Соответствие между подсистемами автоматизированной системы и
процессами управления портфелями проектов |
Подсистемы
Процессы |
Подсистема управления портфелями проектов |
Подсистема управления финансами |
Подсистема управления
ресурсами |
Подсистема управления
проектами |
Подсистема управления
процессами |
Подсистема управления
знаниями |
Подсистема обеспечения
взаимодействия |
Формирование
портфеля
проектов |
+ |
+ |
|
|
+ |
|
+ |
Инициация
проектов
портфеля |
+ |
+ |
|
|
+ |
+ |
+ |
Планирование
проектов
портфеля |
|
+ |
+ |
+ |
+ |
|
+ |
Контроль
проектов
портфеля |
|
+ |
+ |
+ |
+ |
|
+ |
Контроль
портфеля |
+ |
+ |
+ |
|
+ |
|
+ |
Закрытие
проектов
портфеля |
|
|
|
|
|
+ |
+ |
|
Итак, в третьей главе рассмотрены общие свойства автоматизированных систем управления проектами/портфелями проектов, в том числе: требования к автоматизированным системам управления проектами/портфелями проектов, цели внедрения, назначение и функции внедряемых систем. Приведено описание подсистем и модулей практической реализации автоматизированной системы управления проектами/портфелями проектов, в том числе: участники автоматизированной системы, процессы, реализованные в автоматизированной системе и состав автоматизированной системы. Установлено соответствие между процедурами принятия решений при управлении реальными портфелями проектов и математическими моделями, рассмотренными во второй главе настоящей работы.
Заключение
Результаты рассмотрения моделей и методов управления портфелями проектов позволяют сделать следующие выводы и выделить следующие перспективные направления дальнейших исследований.
Использование управления портфелями проектов в деятельности современных организаций является эффективным методом управления, позволяющим оперативно реагировать на изменения внешних требований и достигать стратегических целей организации с минимальными затратами ресурсов.
Предложенная в настоящей работе (см. раздел 2.1) модель позволяет оценивать эффективность реализации различных портфелей проектов с точки зрения стратегических целей организации, выражаемых группой заинтересованных лиц. Также в ней описаны процедуры согласования интересов этих лиц и исследованы эффекты манипулирования ими информацией. Перспективным направлением дальнейших исследований представляется обобщение полученных результатов о согласовании интересов на случай немонотонных функций оценки эффектов проекта, а также результатов исследования (достаточных условий) неманипулируемости процедур принятия решений.
В рамках предложенной многокритериальной нечеткой модели формирования портфеля проектов (см. раздел 2.2) формально определена степень соответствия портфеля проектов стратегическим целям организации. Разработанная модель обобщает на нечеткий и многокритериальный случай классическую «задачу о ранце» и допускает нахождение оптимального портфеля методом динамического программирования. Проведенный анализ свидетельствует, что актуальной теоретической задачей является разработка моделей и методов распределения ресурса и определения времен начала реализации технологически зависимых проектов в процессе решения задачи формирования их портфеля.
Модель планирования процесса реализации портфеля проектов (см. раздел 2.3), учитывающая параметры налогообложения проекта и моменты выплат налоговых платежей, позволяет выбором моментов начала проектов и их продолжительности максимизировать рентабельность портфеля. Использование этой модели позволяет решать задачи финансового управления, возникающие в ходе реализации практически каждого проекта или портфеля проектов. Учитывая высокую вычислительную сложность соответствующих оптимизационных задач, перспективной представляется разработка соответствующих специализированных программных средств.
Рассмотрение трех схем распределения ресурса между проектами портфеля (см. раздел 2.4): централизованной; учитывающей интересы руководителей проектов и функциональных руководителей; и основанной на унифицированных трансфертных ценах за используемые ресурсы, позволило решить задачу оптимального распределения ресурсов с учетом согласования интересов различных участников организации и получить условия эквивалентности этих схем распределения ресурса.
Можно сделать вывод (см. раздел 2.5) об обоснованности и целесообразности использования известных моделей и методов управления проектами при оперативном управлении портфелем проектов. Кроме того, показано, что динамика реализации портфеля проектов может быть описана в терминах показателей освоенного объема, что дает информацию, необходимую для эффективного оперативного управления портфелем с точки зрения стратегических целей организации.
С точки зрения практических приложений представляется актуальным накопление и тиражирование успешного опыта использования методов управления портфелями проектов, в первую очередь - создание типовых корпоративных систем управления знаниями в области управления портфелями проектов.
Литература
1 Авдеев Ю.А. Оперативное планирование в целевых программах. Одесса: Маяк, 1990. - 132 с.
2 Автономов В.С. Модель человека в экономической науке. СПб.: Экономическая школа, 1998. - 230 с.
3 Айзерман М.А., Алескеров Ф.Т. Выбор вариантов: основы теории. М.: Наука, 1990. - 236 с.
4 Акинфиев В.К., Карибский А.В., Коновалов Е.Н., Цвиркун А.Д., Шишорин Ю.Р. Анализ эффективности инвестиционных проектов. М.: ИПУ РАН, 1994. - 51 с.
5 Андронникова Н.Г., Баркалов С.А., Бурков В.Н., Котенко А.М. Модели и методы оптимизации региональных программ развития. М.: ИПУ РАН, 2001. - 60 с.
6 Андронникова Н.Г., Бурков В.Н., Леонтьев С.В. Комплексное оценивание в задачах регионального управления. М.: ИПУ РАН, 2002. - 54 с.
7 Ансоф И. Стратегическое управление. М.: Экономика, 1989. -519 с.
8 Балашов В.Г. Модели и методы принятия выгодных финансовых решений. М.: Физматлит, 2003. - 408 с.
9 Балашов В.Г., Заложнев А.Ю., Иващенко А.А., Новиков Д.А. Механизмы управления организационными проектами. М.: ИПУ РАН, 2003. - 84 с.
10 Баркалов П.С., Буркова И.В., Глаголев А.В., Колпачев В.Н. Задачи распределения ресурсов в управлении проектами. М.: ИПУ РАН, 2002. - 65 с.
11 Баркалов С.А., Бакунец О.Н., Гуреева И.В., Колпачев В.Н., Руссман И.Б. Оптимизационные модели распределения инвестиций на предприятии по видам деятельности. М.: ИПУ РАН, 2002. -68 с.
12 Баркалов С.А., Богданов Д.А., Гуреев А.Б. Модели оптимального выбора портфеля строительных проектов и исполнителей на базе экспертных технологий. М.: ИПУ РАН, 1999. - 75 с.
13 Баркалов С.А., Бурков В.Н. Минимизация упущенной выгоды в задачах управления проектами. М.: ИПУ РАН, 2001. - 56 с.
14 Баркалов С.А., Бурков В.Н., Гилязов Н.М. Методы агрегирования в управлении проектами. М.: ИПУ РАН, 1999. - 55 с.
15 Баркалов С.А., Бурков В.Н., Курочка П.Н., Образцов Н.Н. Задачи управления материально-техническим снабжением в рыночной экономике. М.: ИПУ РАН, 2000. - 58 с.
16 Баркалов С.А., Буркова И.В., Колпачев В.Н., Потапенко А.М. Модели и методы распределения ресурсов в управлении проектами. М.: ИПУ РАН, 2004. - 85 с.
17 Баркалов С.А., Новиков Д.А., Попов С.С. Индивидуальные стратегии предложения труда: теория и практика. М.: ИПУ РАН, 2002. - 109 с.
18 Белянкин Г.А., Борисов А.А., Васин А.А., Морозов В.В. Оптимальное распределение средств между инвестиционными проектами. М.: Диалог МГУ. Сборник «Проблемы математической физики. 1998. С. 45 - 54.
19 Беренс В., Хавранек П.М. Руководство по подготовке промышленных технико-экономических исследований. М.: Интерэксперт, 1995. - 128 с.
20 Бланк И.А. Финансовый менеджмент: Учебный курс. К.: Ника-Центр, Эльга, 2001. - 528 с.
21 Блех Ю., Гетце У. Инвестиционные расчеты: Пер. с нем. / Под ред. к.э.н. А.М. Чуйкина, Л.А. Галютина. - 1-е изд., стереотип. -Калининград: Янтарный сказ, 1997. 332 с.
22 Бурков В.Н. Основы математической теории активных систем. М.: Наука, 1977. - 255 с.
23 Бурков В.Н., Агеев И.А., Баранчикова Е.А., Крюков С.В., Семенов П.И. Механизмы корпоративного управления. М.: ИПУ РАН, 2004. - 109 с.
24 Бурков В.Н., Горгидзе И.А., Ловецкий С.Е. Прикладные задачи теории графов. Тбилиси: Мецниереба, 1974. - 234 с.
25 Бурков В.Н., Горгидзе И.И., Новиков Д.А., Юсупов Б.С. Модели и механизмы распределения затрат и доходов в рыночной экономике. М.: ИПУ РАН, 1997. - 57 с.
26 Бурков В.Н., Грацианский Е.В., Еналеев A.K., Умрихина Е.В. Организационные механизмы управления научно-техническими программами. М.: ИПУ РАН, 1993. - 64 с.
27 Бурков В.Н., Данев Б., Еналеев А.К. и др. Большие системы: моделирование организационных механизмов. М.: Наука, 1989. -245 с.
28 Бурков В.Н., Джавахадзе Г.С. Экономико-математические модели управления развитием отраслевого производства. М.: ИПУ РАН, 1997. - 64 с.
29 Бурков В.Н., Еналеев А.К., Новиков Д.А. Механизмы стимулирования в вероятностных моделях социально-экономических систем // Автоматика и Телемеханика. 1993. № 11. С. 3 - 30.
30 Бурков В.Н., Еналеев А.К., Новиков Д.А. Механизмы функционирования социально-экономических систем с сообщением информации // Автоматика и Телемеханика. 1996. № 3. С. 3 - 25.
31 Бурков В.Н., Заложнев А.Ю., Кулик О.С., Новиков Д.А. Механизмы страхования в социально-экономических системах. М.: ИПУ РАН, 2001. - 109 с.
32 Бурков В.Н., Заложнев А.Ю., Леонтьев С.В., Новиков Д.А., Чернышев Р.А. Механизмы финансирования программ регионального развития. М.: ИПУ РАН, 2002. - 52 с.
33 Бурков В.Н., Заложнев А.Ю., Новиков Д.А. Теория графов в управлении организационными системами. М.: Синтег, 2001. - 124 с.
34 Бурков В.Н., Ириков В.А. Модели и методы управления организационными системами. М.: Наука, 1994. - 270 с.
35 Бурков В.Н., Квон О.Ф., Цитович Л.А. Модели и методы муль-типроектного управления. М.: ИПУ РАН, 1998. - 62 с.
36 Бурков В.Н., Кондратьев В.В. Механизмы функционирования организационных систем. М.: Наука, 1981. - 384 с.
37 Бурков В.Н., Кондратьев В.В., Цыганов В.В., Черкашин А.М. Теория активных систем и совершенствование хозяйственного механизма. М.: Наука, 1984. - 272 с.
38 Бурков В.Н., Кузнецов Н.А., Новиков Д.А. Механизмы управления в сетевых структурах // Автоматика и Телемеханика. 2002. №12. С. 96 - 115.
39 Бурков В.Н., Ланда Б.Д., Ловецкий С.Е., Тейман А.И., Чернышев В.Н. Сетевые модели и задачи управления. М.: Советское радио, 1967. - 144 с.
40 Бурков В.Н., Новиков Д.А. Идентификация активных систем / Труды международной конференции «Идентификация систем и процессы управления». М.: ИПУ РАН, 2000. - С. 101.
41 Бурков В.Н., Новиков Д.А. Как управлять организациями. М.: Синтег, 2004. - 400 с.
42 Бурков В.Н., Новиков Д.А. Как управлять проектами. М.: Синтег, 1997. - 188 с.
43 Бурков В.Н., Новиков Д.А. Теория активных систем: состояние и перспективы. М.: СИНТЕГ, 1999. - 128 с.
44 Буркова И.В. Метод дихотомического программирования в задачах управления проектами. Воронеж: ВГАСУ, 2004. - 100 с.
45 Вагнер Г. Основы исследования операций. М.: Мир, 1972. Т. 13.
46 Васильев Д.К., Заложнев А.Ю., Новиков Д.А., Цветков А.В. Типовые решения в управлении проектами. М.: ИПУ РАН, 2003. -84 с.
47 Виленский П.Л., Смоляк С.А. Как рассчитать эффективность инвестиционного проекта. М.: Информэлектро, 1996. - 68 с.
48 Виханский О.С. Стратегическое управление. М.: МГУ, 1995. -252 с.
49 Вишнев С.М. Основы комплексного прогнозирования. М.: Наука, 1977. - 289 с.
50 Волкова Е.А., Колосова Е.В., Матвеевым А.А. Цветковым А.В. Глава 27: Корпоративные информационные системы / Корпоративный менеджмент: справочник для профессионалов. М.: Высшая школа, 2003. C. 936 - 988.
51 Воронин А.А., Мишин С.П. Оптимальные иерархические структуры. М.: ИПУ РАН, 2003. - 210 с.
52 Воропаев В.И. Модели и методы календарного планирования в автоматизированных системах управления строительством. М.: Стройиздат, 1974. - 232 с.
53 Воропаев В.И. Управление проектами в России. М.: Аланс, 1995. - 225 с.
54 Гаврилов Н.Н., Карамзина Н.С., Колосова Е.В., Лысаков А.В., Цветков А.В. Анализ и управление проектами. Практический курс: Учебное пособие. М.: Изд-во Рос. Экон. акад., 2000. - 114 с.
55 Гаврилов Н.Н., Козлов А.С., Матвеев А.А. «Естественный отбор» руководителя проекта / Труды 17-го Конгресса по управлению проектами «Проектно-ориентированные бизнес и общество». Москва, 2003. С. 231 - 236.
56 Гаврилов Н.Н., Колосова Е.В., Лысаков А.В., Новиков Д.А., Цветков А.В. Теоретико-игровые модели договорных отношений / Труды Инженерно-экономического института. М.: Изд-во Рос. экон. акад., 2000. - 428 с., стр. 103 - 113.
57 Гаврилов Н.Н., Матвеев А.А. Введение в управление портфелями проектов. / Труды Инженерно-экономического института (РЭА им. Г.В.Плеханова). Выпуск 4. - М.: Изд-во Россельхозака-демии, 2004. - 569 с. С. 139-149.
58 Гаврилов Н.Н., Матвеев А.А., Новиков Д.А., Цветков А.В. Модели финансирования проектов с учетом параметров налогообложения. / Труды Инженерно-экономического института. Выпуск 3. - М.: Изд-во Россельхозакадемии, 2003. - 840 с. С. 457-466
59 Гермейер Ю.Б. Игры с непротивоположными интересами. М.: Наука, 1976. - 327 с.
60 Гилев С.Е., Леонтев С.В., Новиков Д.А. Распределенные системы принятия решений в управлении региональным развитием. М.: ИПУ РАН, 2002. - 54 с.
61 Гламаздин Е.С., Новиков Д.А., Цветков А.В. Механизмы управления корпоративными программами: информационные системы и математические модели. М.: Спутник+, 2001. - 159 с.
62 Голенко Д.И. Статистические методы сетевого планирования и управления. М.: Наука, 1968. - 400 с.
63 Горелик В.А., Кононенко А.Ф. Теоретико-игровые модели принятия решений в эколого-экономических системах. М.: Радио и связь, 1982. - 144 с.
64 Губко М.В. Механизмы управления организационными система-ми с коалиционным взаимодействием участников. М.: ИПУ РАН, 2003. - 118 с.
65 Губко М.В. Управление организационными системами с коалиционным взаимодействием участников. М.: ИПУ РАН, 2003. -140 с.
66 Губко М.В., Новиков Д.А. Теория игр в управлении организационными системами. М.: Синтег, 2002. - 148 с.
67 Данилов В.И. Лекции по теории игр. М.: Российская экономическая школа, 2002. - 140 с.
68 Заложнев А.Ю. Прикладные модели и методы внутрифирменного управления. М.: ИПУ РАН, 2003. - 167 с.
69 Зинченко В.И., Лысаков А.В., Матвеев А.А., Сухачев К.А. Договоры с точки зрения теории принятия решений / Труды Международной научно-практической конференции «Теория активных систем». М.: ИПУ РАН, 2003. Том. 1. С. 107 - 110.
70 Иванилов Ю.П., Лотов А.В. Математические модели в экономике. М.: Наука, 1979. - 304 с.
71 Иващенко А.А., Матвеев А.А., Новиков Д.А., Сухачев К.А. Институциональное и мотивационное управление организационными системами / Материалы IV Международной конференции "Современные сложные системы управления". Тверь: ТГТУ, 2004. С.299 - 302.
72 Интриллигатор М. Математические методы оптимизации и экономическая теория. М.: Прогресс, 1975. - 606 с.
73 Каплан Р.С., Нортон Д.П. Организация, ориентированная на стратегию. М.: Олимп-Бизнес, 2004. - 416 с.
74 Каплан Р.С., Нортон Д.П. Сбалансированная система показателей. М.: Олимп-Бизнес, 2003. - 320 с.
75 Караваев А.П. Модели и методы управления составом активных систем. М.: ИПУ РАН, 2003. - 151 с.
76 Кендалл И., Роллинз К. Современные методы управления портфелями проектов и офис управления проектами: максимизация ROI. М.: ПМСОФТ, 2004. - 576 с.
77 Кини Р.Л., Райфа Х. Принятие решений при многих критериях: предпочтения и замещения. М.: Радио и связь, 1981. - 560 с.
78 Колосова Е.В., Новиков Д.А., Цветков А.В. Методика освоенного объема в оперативном управлении проектами. Москва, 2001. - 156 с.
79 Коммерческая оценка инвестиционных проектов. С-П.: ИКФ «Альт», 1993. - 88 с.
80 Коновальчук Е.В., Новиков Д.А. Модели и методы оперативного управления проектами. М.: ИПУ РАН, 2004. - 63 с.
81 Кононенко А.Ф., Халезов А.Д., Чумаков В.В. Принятие решений в условиях неопределенности. М.: ВЦ АН СССР, 1991. - 211 с.
82 Коргин Н.А. Неманипулируемые механизмы обмена в активных системах. М.: ИПУ РАН, 2003. - 126 с.
83 Косов Е.В., Попов Г.Х. Управление межотраслевыми научнотехническими программами. М.: Экономика, 1972. - 255 с.
84 Кофман А. Введение в теорию нечетких множеств. М.: Радио и связь, 1982. - 432 с.
85 Кочиева Т.Б., Новиков Д.А. Базовые системы стимулирования. М.: Апостроф, 2000. - 108 с.
86 Кузьмицкий А.А., Новиков Д.А. Организационные механизмы управления развитием приоритетных направлений науки и техники. М.: ИПУ РАН, 1993. - 68 с.
87 Кузьмицкий А.А., Щепкин А.В. Разработка деловых игр по управлению проектами. М.: ИПУ РАН, 1994. - 64 с.
88 Кукушкин Н.С., Морозов В.В. Теория неантагонистических игр. М.: МГУ, 1984. - 104 с.
89 Либерзон В.И. Основы управления проектами. М.: Нефтяник, 1997. - 150 с.
90 Литвак Б.Г. Экспертные оценки и принятие решений. М.: Патент, 1996. - 271 с.
91 Лотоцкий В. А. Идентификация структур и параметров систем управления // Измерения. Контроль. Автоматизация. 1991. №3-4. С. 30 - 38.
92 Лысаков А.В., Новиков Д.А. Договорные отношения в управлении проектами. М.: ИПУ РАН, 2004. - 100 с.
93 Малхасьян Ж.А., Матвеев А.А., Пужанова Е.О. Корпоративная система управления: бюджетирование и управление проектами./ Труды 17-го Конгресса по управлению проектами «Проектноориентированные бизнес и общество». Москва, 2003. С. 354 - 362.
94 Мартино Д. Технологическое прогнозирование. М.: Прогресс, 1977. - 591 с.
95 Масютин С.А. Механизмы корпоративного управления. М: Финстатинформ, 2002. - 236 с.
96 Матвеев А.А. Модели и методы распределения ресурса при управлении портфелями проектов / Управление большими системами. Сборник трудов. Выпуск 10. М.: ИПУ РАН, 2005. С. 98 -106.
97 Матвеев А.А., Новиков Д.А. Модели и методы формирования портфеля проектов / «Информационная экономика» Сборник трудов под ред. д.э.н. Р.М. Нижегородцева. М.: МГУ, 2005. С. 138 - 149.
98 Матвеев А.А., Новиков Д.А., Сухачев К.А. Модели и методы оперативного управления портфелем проектов / Труды международной конференции «Современные сложные системы управления». Тула, 2005. С. 128 - 135.
99 Месарович М., Мако Д., Такахара И. Теория иерархических многоуровневых систем. М.: Мир, 1973. - 344 с.
100 Мескон М., Альберт М., Хедоури Ф. Основы менеджмента. М.: Дело, 1998. - 800 с.
101 Методические рекомендации по оценке эффективности инве
стиционных проектов (вторая редакция) / М-во экон. РФ, М-во фин. РФ, ГК по стр-ву, архит. и жил. политике; рук. авт. кол.: Коссов В.В., Лившиц В. Н., Шахназаров А. Г. -М.: ОАО “НПО
“Изд-во “Экономика”, 2000. - 421 с.
102 Мильнер Б.З. Организация программно-целевого управления. М.: Экономика, 1987. - 238 с.
103 Мильнер Б.З. Теория организации. М.: ИНФРА-М, 2002. - 480 с.
104 Мир управления проектами / Под. ред. Х. Решке, Х. Шелле. М.: Аланс, 1993. - 304 с.
105 Моисеев Н.Н. Человек и ноосфера. М.: Молодая гвардия, 1990.
106 Мокшанцев Р.И. Психология переговоров. М.: ИНФРА-М, 2002. - 352 с.
107 Мулен Э. Кооперативное принятие решений: аксиомы и модели. М.: Мир, 1991. - 464 с.
108 Нейман Д., Моргенштерн О. Теория игр и экономическое поведение. М.: Наука, 1970. - 707 с.
109 Нижегородцев Р.М. Информационная экономика. М.: МГУ, 2002. т. 1 - 163 с., т. 2 - 173 с., т. 3 - 170 с.
110 Новиков Д.А. Институциональное управление организационными системами. М.: ИПУ РАН, 2004. - 68 с.
111 Новиков Д.А. Механизмы стимулирования в динамических и многоэлементных социально-экономических системах // Автоматика и Телемеханика. 1997. № 6. С. 3 - 26.
112 Новиков Д.А. Механизмы функционирования многоуровневых организационных систем. М.: Фонд "Проблемы управления", 1999. - 150 с.
113 Новиков Д.А. Обобщенные решения задач стимулирования в активных системах. М.: ИПУ РАН, 1998. - 68 с.
114 Новиков Д.А. Сетевые структуры и организационные системы. М.: ИПУ РАН, 2003. - 108 с.
115 Новиков Д.А. Стимулирование в организационных системах. М.: Синтег, 2003. - 312 с.
116 Новиков Д.А. Стимулирование в социально-экономических системах. М.: ИПУ РАН, 1998. - 216 с.
117 Новиков Д.А. Теория управления организационными системами. М.: ИПУ РАН, 2005. - 472 с.
118 Новиков Д.А., Петраков С.Н. Курс теории активных систем. М.: Синтег, 1999. - 108 с.
119 Новиков Д.А., Смирнов И.М., Шохина Т.Е. Механизмы управления динамическими активными системами. М.: ИПУ РАН, 2002.
- 124 с.
120 Новиков Д.А., Суханов А.Л. Модели и методы управления научными проектами. М.: ИУО РАО, 2005.
121 Новиков Д.А., Цветков А.В. Механизмы стимулирования в многоэлементных организационных системах. М.: Апостроф, 2000.
- 184 с.
122 Новиков Д.А., Цветков А.В. Механизмы функционирования организационных систем с распределенным контролем. М.: ИПУ РАН, 2001. - 118 с.
123 Новиков Д.А., Чхартишвили А.Г. Рефлексивные игры. М.: Синтег, 2003. - 158 с.
124 Ногин В.Д., Протодьяконов И.О., Евлампиев И.И. Основы теории оптимизации. М.: Высшая школа, 1986. - 384 с.
125 Опойцев В.И. Равновесие и устойчивость в моделях коллективного поведения. М.: Наука, 1977. - 248 с.
126 Опыт переходных экономик и экономическая теория / Под ред. В.В. Радаева, Р.П. Колосовой, В.М. Моисеенко, К.В. Папенова. М.: ТЕИС, 1999. - 516 с.
127 Орловский С.А. Проблемы принятия решений при нечеткой исходной информации. М.: Наука, 1981. - 206 с.
128 Петраков С.Н. Механизмы планирования в активных системах: неманипулируемость и множества диктаторства. М.: ИПУ РАН, 2001. - 135 с.
129 Подиновский В.В., Ногин В.Д. Парето-оптимальные решения многокритериальных задач. М.: Наука, 1982.
130 Поспелов Г.С., Ириков В.А. Программно-целевое планирование и управление. М.: Советское радио, 1976. - 344 с.
131 Поспелов Г.С., Ириков В.А., Курилов А.Е. Процедуры и алгоритмы формирования комплексных программ. М.: Наука, 1985. -424 с.
132 Путеводитель в мир управления проектами: пер. с англ. Екатеринбург: УГТУ, 1998. - 191 с.
133 Санталайнен Т. и др. Управление по результатам. М.: Прогресс, 1988. - 320 с.
134 Сидельников Ю.В. Теория и практика экспертного прогнозирования. М.: ИМЭМО РАН, 1990. - 195 с.
135 Управление проектами / Общая редакция - В.Д. Шапиро. С.-Пб.: «ДваТрИ», 1996. - 610 с.
136 Управление проектами. Зарубежный опыт / Под. ред. В.Д. Шапиро. С.-Пб.: «ДваТрИ», 1993. - 443 с.
137 Управление проектами: справочное пособие / Под ред. И.И. Мазура, В.Д. Шапиро. М.: Высшая школа, 2001. - 875 с.
138 Финансовая математика. М.: ТЭИС, 2001. - 416 с.
139 Фишберн П. Теория полезности для принятия решений. М.: Наука, 1978. - 352 с.
140 Ханко Я. Планирование и контроль капиталовложений. - М.: Экономика, 1987.
141 Царев В.В. Оценка экономической эффективности инвестиций. - СПб.: Питер, 2004. - 464 с.
142 Цветков А.В. Стимулирование в управлении проектами. М.: Апостроф, 2001. - 144 с.
143 Цыганов В.В. Адаптивные механизмы в отраслевом управлении. М.: Наука, 1991. - 166 с.
144 Цыпкин Я.З. Основы информационной теории идентификации. М.: Наука, 1984. - 336 с.
145 Шарп У., Александер Г., Бэйли Д. Инвестиции. М.: ИНФРА-М, 2001. - 350 с.
146 Шеремет В.В., Павлюченко В.М., Шапиро В.Д. и
др .Управление инвестициями: В 2-х т. / -М.:Высшая школа,1998.
147 Щепкин А.В. Механизмы внутрифирменного управления. М.: ИПУ РАН, 2001. - 80 с.
148 Юдкевич М.М., Подколзина Е.А., Рябинина А.Ю. Основы теории контрактов: модели и задачи. М.: ГУ ВШЭ, 2002. - 352 с.
149 A guide to the project management body of knowledge (PMBOK® guide). 2000. - 215 p.
150 Barbera S., Masso J., Serizawa S. Strategy-proof voting on compact ranges // Games and Behavior. 1998. Vol. 25. P. 272 - 291.
151 Border K., Jordan J. Straightforward elections, unanimity and phantom voters // Review of Economic Studies. 1983. Vol. 50. P. 153 - 170.
152 Chappels, Thomas M., Financially Focused Project Management. J. Ross Publishing, 2004. - 312 p.
153 Czarnecki M.T. Managing by measuring: How to improve your organization’s performance through effective benchmarking. N.Y.: American management association, 1999.
154 Fleming Q.W., Hoppelman J.M. Earned value Project Management. PMI, 1996. - 141 p.
155 Kliem R.L., Ludin I.S. Project management practitioner’s book. N.Y.: American Management Association, 1998. - 223 p.
156 Lientz B.P., Rea K.P. Project management for the 21-st century. San Diego: Academic Press, 1998. - 448 p.
157 Moulin H. On strategy-proofness and single-peakedness // Public Choice. 1980. Vol. 35. P. 437 - 455.
158 Pennypacker J.S. The principles of project management. New York: PMI. 1997. - 232 p.
159 Phillips J.J., Bothell T.W., Snead G.L. The project management scorecards. Amsterdam: Elseiver, 2003. - 353 p.
160 Project Portfolio Management Process Pacific Edge white paper.
161 Rampersad K.H. Total performance scorecard. Amsterdam: Elseiver, 2003. - 330 p.
162 Radulescu Z., Radulescu M. Project Portfolio Selection Models and Decision Support []
163 Wysocky R.K., Beck R., Crane D.B. Effective project management. N.Y. John Wiley & Sons, 2000. - 418 p.
Биржевая торговля: Управление капиталом - Портфель - Риск - Страхование