Калина - Современный Экономический Анализ И Прогнозирование
ВВЕДЕНИЕ
В связи с переходом от директивно управляемой экономики к рыночной возникла необходимость в управлении предприятием как субъектом рыночных отношений. Функционирование предприятия связано с изменениями как во внешней, так и во внутренней среде его деятельности, что обусловливает необходимость разработки новых подходов к определению целевой функции его деятельности, обоснованию экономических предпосылок достижения оптимальных размеров прибыли, обеспечивающей конкурентоспособность предприятия на рынке и определяющей перспективы его развития. Достичь этого можно путем глубокого анализа как хозяйственной деятельности предприятия, так и состояния окружающей его экономической и социальной среды. Сочетание микро- и макроанализа позволяет создать информационную базу принимаемого управленческого решения, адекватную действительности.
Неумение анализировать хозяйственную ситуацию, невозможность определения “узких мест” в экономической деятельности предприятия и факторов, на нее влияющих, так или иначе приводят к снижению эффективности работы, к принятию неправильных управленческих решений и в результате к убыткам и финансовому краху. Поэтому формирование рыночной экономики обусловливает развитие анализа в первую очередь на микроуровне — на уровне отдельных фирм, компаний, предприятий и их структурных подразделений, поскольку они составляют основу рыночной экономики. И в этой связи важной становится задача овладения приемами и методами экономического анализа финансовым менеджером, не только сосредоточивающим на своем рабочем месте всю информационную базу для анализа, но и обладающим правами и методами финансового управления деятельностью фирмы, компании или предприятия.
Руководитель предприятия, финансовый менеджер, управленец любого уровня должен уметь видеть перспективы не только своего предприятия, но и своих конкурентов; он должен уметь сопоставлять их результаты с собственными, а для этого он должен знать систему показателей, а также их характеристики и взаимосвязанность. Такое знание дает экономический анализ, который не только знакомит с информацией о том, как следует правильно проводить сопоставительный динамический анализ, но дает конкретные направления разрешения сложившихся ситуаций.
Однако развитие рыночных отношений предполагает не только локальное аналитическое исследование деятельности предприятия, но и умение финансового менеджера оценивать ситуацию в масштабе региона. А это, в свою очередь, предполагает необходимость перехода к анализу на макроуровне.
Поскольку экономика является основой развития общества, а анализ базируется на расчленении изучаемых управляемых объектов, то его основная задача заключается в том, чтобы создать репрезентативную и адекватную складывающейся ситуации информационную базу для выполнения завершающей общей функции управления — регулирования управляемого объекта как на микроуровне (предприятие, фирма), так и на макроуровне (отрасль или подотрасль). Поэтому предлагаемое Вашему вниманию учебно-методическое пособие состоит из трех блоков: первый посвящен анализу хозяйственной деятельности предприятия как единицы совокупности, второй представляет собой практикум по современному экономическому анализу деятельности предприятий, а в третьем дается анализ и имитационное прогнозирование на макроуровне, т. е. на уровне отрасли или промышленности в целом. Данное учебное пособие рассчитано как на менеджеров предприятий и фирм, так и на менеджеров высшего звена — сотрудников министерств (в частности, планово-производственных управлений и отделов перспективного прогнозирования), работников аналитических отделов банков, а также на управленческий состав корпораций и концернов, которым в своей работе приходится анализировать и оценивать ситуацию на уровне региона, отрасли или всего промышленного производства страны.
Учебное пособие подготовлено авторским коллективом:
A. В. Калиной — введение, § 1.1—1.2 (совместно с М. И. Коневой), § 1.3—1.6, § 1.8, § 3.4 (совместно с В. А. Ященко);
М. И. Коневой — § 1.1-1.2 (совместно с А. В. Калиной), § 1.7, § 2.1-2.3, прил. 1;
B. А. Ященко — § 3.1-3.5, § 3.4 (совместно с А. В. Калиной), прил. 2-4.
Раздел 1
ЭКОНОМИЧЕСКИЙ АНАЛИЗ, ЕГО ЗНАЧЕНИЕ И РОЛЬ В УПРАВЛЕНИИ НА МИКРОУРОВНЕ
1.1. Предприятие как субъект рыночных отношений
Предприятие является самостоятельным хозяйствующим уставным субъектом, который имеет права юридического лица и осуществляет производственную (торговую), научно-исследовательскую и коммерческую деятельности с целью получения соответствующей прибыли.
Закон, регулирующий деятельность предприятий, существенно расширил их права. Предприятие самостоятельно планирует свою деятельность и определяет перспективы развития исходя из спроса на свою продукцию и услуги, уровня конкурентоспособности, самостоятельно определяет численность и структуру работников, выбирает формы и системы оплаты труда, определяет размеры фонда оплаты труда и фонда потребления; осуществляет реализацию своей продукции (работ, услуг) как на основе прямых соглашений, так и через товарные биржи, другие посреднические организации; самостоятельно устанавливает цены, осуществляет внешнеэкономическую деятельность, проводит операции с ценными бумагами и др.
Предприятие на рынке выступает и как субъект, и как объект рыночных отношений.
Экономическая система рыночного хозяйства базируется на автономии хозяйствующих субъектов, механизме рынка и конкуренции. Предприятие как субъект рыночных отношений для успешного осуществления своей хозяйственной деятельности должно быть, с одной стороны, конкурентоспособным по отношению к аналогичным предприятиям, функционирующим на рынке, с другой — быть способным взаимодействовать с предприятиями других отраслей, инфраструктурой.
На рынке средств производства предприятие приобретает необходимое оборудование, инвентарь, другие материальные ценности; на рынке ценных бумаг покупает и продает акции, облигации, векселя... Рынок труда обеспечивает предприятие квалифицированной рабочей силой.
Важнейшими организационно-экономическими условиями функционирования предприятия являются: экономическая самостоятельность; обеспечение самоокупаемости, рентабельности и самофинансирования; экономическая заинтересованность; материальная ответственность за результаты хозяйственной деятельности.
Обеспечение экономической самостоятельности предприятия предполагает создание условий для реализации его экономического суверенитета как хозяйствующего субъекта, что выражается прежде всего в реализации права выбора хозяйственной деятельности и реальной возможности свободного выбора продавца, места, времени и других условий приобретения товаров, принятие решения о том, что и в каком количестве продавать, кому и по каким ценам реализовывать.
В условиях рыночных отношений существенно трансформируется понятие материальной ответственности работников предприятия. Коллектив предприятия, располагая правом самостоятельности выбора направления своей хозяйственной деятельности, одновременно несет всю полноту ответственности за принимаемые решения, рискует в случае неправильно принятого решения всем своим имуществом вплоть до банкротства.
Функционирование предприятия как хозяйствующего субъекта на рынке связано с определенными ограничениями его деятельности.
К таким ограничениям относятся:
1. Ограничения, обусловленные ресурсами, т. е. затраченные ресурсы (материальные, трудовые) должны быть меньше или равны имеющимся в наличии.
2. Ограничения, обусловленные спросом, т. е. объем реализации всегда меньше или равен объему покупательского спроса.
3. Бюджетные (финансовые) ограничения, т. е. расходы предприятия должны быть меньше или равны денежным ресурсам (сумме денежных фондов и денежных доходов предприятия).
4. Временные ограничения, связанные с инфляцией. Этот вид ограничений вызывает необходимость максимально сокращать сроки оборачиваемости денежной наличности предприятия с целью предотвращения ее обесценивания.
Характер действия лимитирующих факторов деятельности предприятия отличается в условиях директивно управляемой и рыночной экономики.
В условиях рыночной экономики наиболее важным лимитирующим фактором являются ограничения, обусловленные спросом, а также финансовые ограничения, которые в условиях рынка носят жесткий, а порой бескомпромиссный характер, что приводит к разорению предприятий или поглощению их более крупными компаниями или конкурентами. Что же касается директивно управляемой экономики, то для нее наиболее важным является ресурсное ограничение, связанное с жесткой государственной системой распределения ресурсов, порождающей экономику дефицита. В условиях директивно-командного управления народным хозяйством финансовые ограничения проявлялись в более мягкой форме, а именно: убыточность не вела к банкротству, дополнительные кредиты не были ограничены, действовала система дотаций, льгот и льготного налогообложения, освобождения от налогов; с помощью этого механизма предприятия “преодолевали” финансовые трудности, возникавшие в их деятельности.
В условиях рынка предприятие сталкивается со множеством непредсказуемых факторов, что вызывает необходимость отказа от жесткого планирования и перехода к гибкой системе экономического регулирования его деятельности. Реализация такого пути связана с разработкой стратегии деятельности предприятия, в которой определяются главные цели и задачи, их ресурсное обеспечение, пути достижения целей и методы решения возникающих проблем. Для обеспечения и достижения эффективной хозяйственной деятельности предприятие как субъект рыночных отношений определяет стратегические цели и тактические задачи, позволяющие обеспечить задуманное.
Задачи предприятия определяют этапы или, точнее, пути достижения поставленной цели, которая есть не что иное, как количественные и качественные характеристики функционирования предприятия, к достижению которых оно стремится.
Цели функционирования предприятия образуют сложную и взаимосвязанную систему, зависящую как от внешней среды, окружающей предприятие, так и от внутренних факторов его функционирования.
Множественность целей предприятия вызывает необходимость их классификации, которая может быть проведена по следующим признакам:
1. В зависимости от степени достижения целей — жизненно необходимые и желаемые. Например, желаемая цель деятельности любого предприятия — это максимизация получаемой прибыли, в то же время жизненно необходимая цель — получение минимально необходимой прибыли, которая обеспечивает получение необходимой нормы прибыли на авансированный капитал.
2. В зависимости от временного фактора — перспективные, которые должны быть достигнуты в дальнейшем (через 5-10 лет), и текущие, достижение которых необходимо в данное время (в ближайшие год-два).
3. В зависимости от отношения к главной цели предприятия — конечные и промежуточные, направленные на поэтапное приближение к достижению главной цели. Например, главной целью предприятия является сохранение и упрочение его позиций на рынке. Для достижения этой цели предприятия формируют промежуточные цели — расширение ассортимента реализуемых товаров, установление новых хозяйственных связей; переоборудование предприятия, создание филиалов; вовлечение дополнительных материальных ресурсов и капитальных вложений и т. д.
4. В зависимости от оценки — количественные и качественные. Количественные цели выражаются определенными абсолютными или относительными показателями (объем продаж, сумма полученной прибыли, рост прибыли на инвестируемый капитал и т. д.). Цели, определенные количественно, лучше поддаются учету и контролю их достижения. Однако большинство целей функционирования предприятия не могут быть привязаны к определенному количественному показателю.
5. В зависимости от степени влияния внешних факторов на функционирование предприятия — обусловленные изменениями во внешней среде (инфляция, изменение налоговой политики государства, изменение спроса потребителей) и цели, не связанные с изменениями во внешней среде. Это, как правило, цели, вытекающие из имеющихся и неиспользованных резервов улучшения деятельности внутри предприятия, не требующие дополнительного привлечения ресурсов.
6. В зависимости от содержания и характера отражаемых интересов — цели предприятия как субъекта рыночных отношений (прежде всего объем получаемой прибыли) и цели общества, т. е. удовлетворение потребностей (соответствие объема и структуры предложения объему и структуре потребительского спроса).
Достижение целей предприятия предполагает реализацию целей общества (в нормальных условиях развития рынка), поскольку получение прибыли предполагает реализацию продукции, т. е. признание ее покупателем.
Формулировка целей предприятия, выбор главных из них зависят и от стадии жизненного цикла предприятия (табл. 1).
|
Основные цели и задачи на разных стадиях деятельности предприятия |
Стадия
жизненного цикла |
Главная цель |
Основная задача |
|
Рождение |
Выживание |
Выход на рынок |
|
Детство |
Кратковременная прибыль |
Укрепление положения на рынке |
|
Юность |
Ускоренный рост объемов производства и прибыли |
Захват своей части рынка |
|
Ранняя зрелость |
Постоянный рост объемов деятельности |
Диверсификация деятельности (освоение дополнительных направлений) |
|
Зрелость |
Формирование имиджа предприятия и сбалансированный рост |
Укрепление положения предприятия на освоенном
рынке |
|
Старение |
Сохранение позиций |
Обеспечение стабильности хозяйственной деятельности |
|
Возрождение |
Оживление (поиск дополнительных импульсов в деятельности) |
Омолаживание (техническое перевооружение, новые поставщики,
внедрение новых технологий и т. д.) |
|
Определение целей деятельности предприятия должно основываться на следующих положениях.
1. Определяется не одна, а несколько целей (построение дерева целей) на основе комплексного подхода, обеспечивающего взаимосвязь целей.
2. Цели не должны противоречить одна другой, т. е. должны быть реальными.
3. Цели призваны давать основу и стимул для дальнейшей деятельности, обеспечивать сосредоточение сил и средств предприятия на приоритетных участках его деятельности, “высвечивать” наиболее важные, фундаментальные направления.
4. Цели должны быть избирательными и не охватывать все возможные проблемы.
При определении целей хозяйственной деятельности предприятия пользуются методом построения дерева целей, который заключается в следующем: определяется главная цель и формулируются цели различных уровней (основные, промежуточные, подцели), способствующие достижению главной цели. Например, для реализации главной цели деятельности предприятия — получения прибыли в размере 500 млн грн в следующем году — необходимо реализовать такие основные цели: увеличить объем товарооборота на 5 %; увеличить валовой доход на 7 %, сократить издержки производства на 0,5 %.
Для увеличения объема товарооборота на 5 % необходимо оптимизировать его структуру:
• путем увеличения объема реализации по товарным группам постоянного спроса за счет снижения цен их реализации на 1,5-3 %;
• в результате расширения ассортимента и повышения качества товаров (при росте цен на 5-10 %), а также улучшения использования торговой площади предприятия и т. д.
Независимо от конкретных формулировок стратегических целей деятельности предприятия на предстоящий период обязательным является обеспечение прибыльности его деятельности. Прибыльность можно рассматривать не только как цель, но и как основное условие деловой активности предприятия, как ее результат.
Предприятие как хозяйствующий субъект рынка осуществляет свою деятельность с целью получения соответствующей прибыли. Оно может получить прибыль только при определенном объеме товарооборота, который, в свою очередь, предполагает соответствие объема и структуры реализуемых товаров объему и структуре покупательского спроса, т. е. целевая функция предприятия — получение прибыли — не противоречит целям общества, стремящегося к удовлетворению своих потребностей, а направлена на их достижение. При этом такая постановка цели достигается путем оптимизации использования имеющихся ресурсов и снижения затрат.
Предприятие, разрабатывая свою стратегию на перспективу, всегда стремится к максимизации получаемой прибыли, так как это является условием для решения производственных и социальных задач. Однако максимизация прибыли в долгосрочной перспективе предполагает поэтапное достижение определенных объемов получения прибыли, которые в краткосрочном периоде могут быть определены как необходимый размер прибыли, т. е. достаточный для решения неотложных производственных и социальных задач, финансирование ко-
торых должно осуществляться за счет прибыли, остающейся в распоряжении предприятия (после уплаты налогов и других обязательных платежей).
Как максимизация, так и получение необходимого объема прибыли обусловливаются потребностями предприятия в накоплениях:
• для производственного развития (капитальные вложения, прирост оборотных средств);
• для удовлетворения экономических интересов собственников используемого имущества и финансовых средств;
• для обеспечения социального потребления и социального развития коллектива.
Для обеспечения устойчивости положения предприятия на рынке необходимо определить экономические границы объемов его деятельности, нарушение которых может привести предприятие к банкротству.
В мировой практике для определения этих границ используются понятия “точка безубыточности (мертвая точка)”(^) и “точка минимальной рентабельности” (Г ).
Под точкой безубыточности понимается такой объем товарооборота предприятия, при котором сумма полученного валового дохода равна сумме текущих затрат.
Графическая интерпретация точки безубыточности представлена на рис. 1.
 |
|
Рис. 1. Объем товарооборота, при котором достигаются безубыточность и минимальная рентабельность |
В свою очередь текущие затраты делятся на условно-постоянные и переменные. Это позволяет показать зависимость между выручкой от реализации продукции, себестоимостью и размером прибыли от реализации продукции, т. е. раскрыть рис. 1 с помощью рис. 2 и 3.
|
тД |
 |
Количество реализованных товаров
Рис. 2. Зависимость рентабельности производства от абсолютных
показателей |
Из рис. 2 видно, что если выручка выше себестоимости, то наблюдается рост прибыли, и наоборот, если себестоимость выше выручки, то предприятие в убытке.
юо %''
0 |  |
|
Рис. 3. Зависимость рентабельности производства от изменения относительных показателей |
Точка К является точкой безубыточности; она показывает ту предельную сумму выручки от реализации продукции, ниже которой деятельность предприятия будет убыточной, так как линия себестоимости выше линии выручки от реализации продукции.
Точку безубыточности можно рассчитать по формуле
ИОпост
К _ пост
•100,
(1)
^в.д ^и.о (перемен)
где ИОпост — сумма постоянных издержек обращения, тыс. грн.; Ув д, Уи о (перемен) — соответственно уровень валового дохода и переменных издержек обращения, % к товарообороту.
Под точкой минимальной рентабельности понимается такой объем товарооборота предприятия, при котором сумма валовых доходов не только покрывает текущие расходы на ведение деятельности, но и образуется прибыль, размер которой после уплаты налогов удовлетворяет представлению собственников предприятия о минимальном уровне рентабельности на вложенный капитал. Количественно минимальный уровень рентабельности определяется сложившимся в настоящее время уровнем процентной ставки банков, так как собственник предприятия не заинтересован в капитализации прибыли (вложении ее в основные и оборотные средства предприятия), если получаемая чистая прибыль по результатам деятельности предприятия меньше суммы процентов, которые он мог бы получить от хранения своих денежных средств в банке или приобретения на них ценных бумаг других предприятий.
Поскольку величина капитала, вложенного собственником в данное предприятие (Q), а также минимальный уровень рентабельности (Pmin) могут быть определены количественно и не зависят от объема товарооборота предприятия, сумма минимальной прибыли может быть рассчитана следующим образом:
(2)
QPm
100 - сн
где Сн — доля прибыли, отчисляемая в бюджет (ставка налога на прибыль).
Графически величина минимальной прибыли изображается в виде прямой, параллельной оси х (см. рис. 1).
Точку минимальной рентабельности можно рассчитать по формуле QPm'm
ИОп
100 - Сн ИОпост - nmm
Л- ,100 =--S2--100.
(3)
Т =-1 м.р
^в.д ^и.о (перемен)
^в.д ^и.о (перемен)
Таким образом, предприятие как субъект рыночных отношений должно постоянно отслеживать результаты своей деятельности, определять, насколько они отклоняются от намеченных целей и задач. И в этой связи важная роль принадлежит экономическому анализу хозяйственной деятельности.
1.2. Экономический анализ, его задачи и роль в принятии управленческих решений
Экономический анализ — прикладная наука, представляющая собой систему специальных знаний, позволяющих оценить эффективность деятельности того или иного субъекта рыночной экономики. Опираясь на теорию познания, она обеспечивает практическую полезность деятельности человека, позволяет рационально обосновать не только текущую деятельность, но и ближайшую перспективу развития субъекта хозяйствования. С помощью экономического анализа создаются предпосылки для оценивания целесообразности принимаемых управленческих решений на перспективу.
Предметом экономического анализа является вся доступная информация по тем или иным направлениям деятельности субъектов рыночной экономики, находящаяся в диалектической взаимосвязи, взаимозависимости и взаимодействии, выражающая изменение состояния того или иного субъекта хозяйствования. К основным направлениям экономического анализа относятся:
• формирование системы показателей, характеризующих работу анализируемого объекта;
• качественный анализ изучаемого явления (результата);
• количественный анализ этого явления (результата);
• оформление выводов и конкретных рекомендаций, вытекающих из результатов анализа.
В системе методов управления производством анализ деятельности отдельных субъектов хозяйствования дает возможность осуществлять контроль за производством, экономически обосновывать управленческие решения, выявлять и более полно использовать резервы производства. Эти задачи могут решаться с помощью полученной в процессе анализа экономической информации о деятельности предприятий, объединений и их структурных подразделений.
Первоначальным источником экономической информации служат данные бухгалтерского, статистического и оперативного учета о состоянии и использовании всех видов ресурсов производства, процессе производства продукции, ее реализации, финансовых результатов и др. Однако данные учета сами по себе не обеспечивают достаточной информированности работников управления о ходе выполнения плановых заданий, достижения высоких или низких показателей, влияющих на них факторов, о причинах положительных и отрицательных отклонений в работе предприятия. Для управления важно изучить учетные и отчетные данные, т. е. обработать, осмыслить хозяйственные процессы и явления, принять решения по улучшению деятельности предприятия. Изучение учетных данных путем превращения их в широкий круг экономической информации, ее уяснение и использование в управлении достигаются с помощью анализа.
Анализ хозяйственной деятельности возник на базе бухгалтерского учета как основного источника его информации. Первые разработанные методики экономического анализа ограничивались в основном счетной проверкой и анализом балансов; они предназначались для счетных работников.
В настоящее время экономический анализ превратился в одну из существенных функций управления производством. Он служит важным средством при выработке и обосновании управленческих решений.
Экономический анализ — это система способов изучения (на основе данных учета, отчетности, планов и других источников) достигнутых результатов и состояния хозяйственной деятельности, возможных вариантов ее улучшения в целях контроля за производством и обоснования управленческих решений, направленных на повышение его эффективности.
В процессе анализа экономические показатели сопоставляются с плановыми данными, с показателями прошлых периодов различных предприятий; определяется положительное и отрицательное влияние факторов на изучаемые показатели, исследуются причины их изменения; формулируются выводы и предложения по дальнейшему, перспективному развитию субъектов хозяйствования. Следует заметить, что в условиях развития рыночных отношений важная роль отводится финансовым результатам с точки зрения эффективного использования имеющегося потенциала, соизмерения затрат и результатов. Поэтому ведущим аспектом анализа на микроуровне становится коммерческий расчет, а на макроуровне — оценка экономической эффективности общественного производства и отдельных его элементов.
При выработке и принятии управленческих решений важно учитывать аспектный подход. Сущность его заключается в том, что при их подготовке принимаются во внимание различные аспекты: политический, экономический, социальный, психологический, правовой, организационный, природно-экономический и др.
Экономический анализ занимает особое место в процессе подготовки и принятия управленческих решений. Необходимость в проведении анализа обнаруживается на таких стадиях принятия решений: предварительное изучение хозяйственных явлений и процессов, анализ реального состояния деятельности хозяйства, выбор вариантов хозяйственных процессов, оценка соответствия экономического аспекта в подготовленных вариантах решений другим аспектам управления, обобщение или синтез результатов анализа и обоснование управленческих решений (рис. 4).
Задача анализа заключается в получении (на основе данных плана, учета и других источников аналитической информации) сведений о состоянии и результатах деятельности предприятия и его подразделений, о величине, характере и причинах отклонений в деятельности изучаемых объектов, а также об имеющихся резервах производства.
Таким образом, основная задача экономического анализа подразделяется на локальные задачи:
• оценивание работы предприятия и его подразделений за определенные промежутки времени;
• выявление положительных и отрицательных факторов, влияющих на работу анализируемого объекта, определение количественной величины их действия;
• осуществление контроля за ходом выполнения намеченных результатов, исправление недостатков в планировании, подготовка данных о перспективе развития на последующие периоды. В этом проявляется органическая связь экономического анализа деятельности предприятия с реальным и обоснованным планированием его работы;
• выявление неиспользованных, перспективных резервов улучшения экономической деятельности предприятия;
 |
|
Рис. 4. Блок-схема анализа и принятия управленческих решений |
• контроль за внедрением режима экономии и эффективностью производства. Анализ должен обеспечивать выявление оптимального решения при планировании и использовании всех средств и ресурсов предприятия, а также давать оценку эффективности использования этих ресурсов;
• разработка мероприятий, направленных на активизацию использования резервов производства на предприятии;
• оценка эффективности принятых решений в ходе экономического анализа.
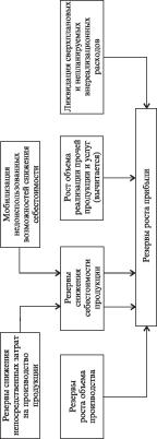
Одна из основных задач и конечная цель экономического анализа — выявление хозяйственных резервов и разработка мероприятий по их использованию. Резервами называют неиспользованные возможности улучшения анализируемых хозяйственных результатов.
Резервы можно классифицировать по отдельным признакам: внутрихозяйственные, внешние, не предусмотренные в планах и выявленные в процессе выполнения планов, текущие и перспективные. В свою очередь каждая из названных групп подразделяется еще на подгруппы. В качестве примера приведем схему группировок внутрипроизводственных (внутрихозяйственных) резервов (рис. 5).
Наряду с традиционным анализом существующего состояния хозяйственной деятельности важное значение приобретает анализ возможных хозяйственных результатов, полученных при различных вариантах комплексного сочетания важнейших факторов производства: технологических, экономических, социологических и др.
Основная задача анализа состоит в выявлении резервов повышения эффективности хозяйственной деятельности по сравнению с достигнутым уровнем, резервов выполнения и перевыполнения планов, увеличения выпуска продукции и повышения ее качества, улучшения использования производственных ресурсов и снижения себестоимости продукции, повышения рентабельности и увеличения прибыли хозяйства.
Для выполнения основной задачи при экономическом анализе решается ряд задач:
1. Проведение всесторонней оценки достигнутого уровня производства для разработки оптимальных решений при обосновании планов предприятия.
2. Осуществление контроля за ходом выполнения планов предприятия и его подразделений, а также намеченных мероприятий.
3. Выявление дополнительных резервов деятельности предприятия, не учтенных в планах.
Предприятие
По месту образования
Цех
Участок
Рабочее место


3 3
2 Я Я о
Я эт о 4)
По времени использования и действия
Перспективные
Текущие
Оперативные
 |
|
Рис. 5. Схема группировок внутрипроизводственных (внутрихозяйственных) резервов |
4. Проведение всесторонней и объективной оценки конечных результатов работы предприятия, всех его подразделений.
5. Осуществление хозяйственного и внутрихозяйственного расчета, улучшение всей экономической работы предприятия.
6. Выявление и измерение влияния различных факторов на анализируемые показатели хозяйственной деятельности, изучение причин отклонений.
7. Обобщение результатов анализа, формулирование выводов и предложений по использованию выявленных резервов, закреплению достижений и ликвидации недостатков в работе, распространению передового опыта на производстве.
Решение этих задач при экономическом анализе способствует улучшению управления производством, укреплению его экономики, выполнению намеченных целей и планов, повышению эффективности деятельности каждого предприятия. На этой основе обеспечивается повышение эффективности как отдельных отраслей народного хозяйства, так и всего народно-хозяйственного комплекса.
В этой связи важная роль отводится методам и приемам экономического анализа. Но перед тем, как перейти к характеристике методов и приемов экономического анализа, считаем целесообразным более детально рассмотреть факторы производства, поскольку они существенно влияют на результаты хозяйственной деятельности.
Показатели, характеризующие отдельные стороны хозяйственной деятельности предприятия, а также его работу в целом, находятся между собой в сложной связи. Каждый экономический показатель при анализе рассматривается по составным частям как результат влияния на него отдельных факторов.
Под фактором при анализе понимают условия достижения определенного хозяйственного результата, который характеризуется соответствующим показателем, или же причины, оказывающие влияние на результаты этих процессов. При анализе факторы условно подразделяются на количественные и качественные. Количественные факторы определяют величину анализируемого показателя при неизменном значении качественного фактора. Качественные факторы отражают существенные особенности анализируемого показателя при сложившемся значении количественного фактора.
При анализе выявляются причины изменения отдельных факторов, представляющие собой конкретные производственные условия, в которых сложился данный фактор. Чем больше выявляется причин при анализе, тем глубже и всестороннее анализ, тем эффективнее результаты его проведения.
Экономический анализ деятельности предприятий классифицирует факторы производства следующим образом.
Факторы подразделяются на социально-экономические и производственно-экономические.
Социально-экономические факторы представляют собой источники движущей силы, направляющей хозяйственный процесс. Они отражают сознательную деятельность участников производства и обращения, характеризуют “человеческий” фактор, который занимает ведущее положение. Их можно подразделить на типы:
а) отражающие творческую инициативу и активность работающих (показатели, характеризующие сотрудничество производственных научных коллективов);
б) отражающие уровень руководства хозяйственной деятельностью.
Производственно-экономические факторы представляют собой условия, необходимые для осуществления хозяйственной деятельности, технической организации, проведения хозяйственных мероприятий, оказывающие влияние на хозяйственные процессы и их результаты.
Их подразделяют на типы:
а) факторы ресурсов, отражающие необходимые условия для совершения хозяйственной деятельности (в сфере производства — средства, предметы труда и сам труд);
б) технико-экономические факторы, связанные с механизацией, автоматизацией, с введением новой технологии и организации труда;
в) физиологические факторы, которые относятся к санитарно-гигиеническим условиям труда, к его напряженности, эстетическому содержанию рабочих помещений;
г) социально-психологические факторы (внутриколлективные отношения, взаимоответственность).
Поскольку результаты хозяйственной деятельности складываются под воздействием разнообразных факторов, то они чаще всего действуют взаимосвязано, и отрицательное действие одного может аннулировать положительные влияния других факторов.
С точки зрения воздействия на хозяйственную деятельность факторы делятся на основные и второстепенные.
К основным относятся факторы, оказывающие основное, большее влияние на результаты в конкретных условиях хозяйствования.
С точки зрения воздействия на результаты хозяйственной деятельности факторы делятся на простые (численность) и сложные (производительность).
По времени воздействия их подразделяют на такие:
а) постоянные факторы, непрерывно влияющие в течение всего изучаемого времени;
б) временные (действуют определенный период).
По степени количественного изменения влияния факторов на совокупный результат показатели подразделяются:
а) на поддающиеся количественной оценке;
б) на не поддающиеся количественной оценке (влияние стажа работы, профессиональной подготовки).
Факторы могут действовать в целом народном хозяйстве, отдельных отраслях, отдельных предприятиях. Они подразделяются на общие и специфические.
Для объективной оценки качества работы факторы подразделяют на внешние (объективные) и внутренние (субъективные).
Классификация факторов дает возможность объективно оценить деятельность предприятия и правильно обосновать выводы и предложения.
Экономический анализ есть прежде всего факторный анализ. Экономический показатель, фигурирующий в задаче факторного анализа как объект исследования, называется результативным показателем. Показатели, участвующие в задаче как характеристики результативного показателя, т. е. определяющие его поведение, называются факторными показателями.
Под экономическим факторным анализом понимается постепенный переход от исходной факторной системы (результативный показатель) к конечной факторной системе, раскрытие полного набора прямых количественно измеримых факторов, оказывающих влияние на изменение результативного показателя.
В анализе хозяйственной деятельности различают два основных подхода к изучению закономерностей: детерминированный анализ; стохастический анализ.
Детерминированный подход направлен на изучение прямых связей, когда связь между результативным и факторными показателями функциональна: N = RB.
Стохастический анализ направлен на изучение косвенных связей. Им пользуются для углубления детерминированного анализа по факторам, по которым нельзя построить прямую детерминированную модель (изучение взаимосвязи между выработкой и численностью).
В детерминированном моделировании факторных систем выделяют такие основные типы конечных факторных систем:
1. Аддитивная модель
Xi = Xi + Х2 +... + xn.
i=1
2. Мультипликативная модель
n
Пxi = Х1 • Х2 •...• X
i =1
3. Кратная модель
n
Ё X

i=1 = Х1 + Х2 + ••• + xn
xi+1 Х+1
где у — результативный показатель исходной факторной системы; xt — факторы или факторные показатели.
Детерминированное моделирование является основой для количественной оценки роли отдельных факторов в динамике изменения обобщающего показателя.
Стохастический анализ проводится в том случае, когда невозможно определить прямые связи.
Примерную классификацию задач факторного анализа работы предприятий с точки зрения использования математических методов можно представить следующим образом:
Прямой факторный анализ
і
Детерминированный анализ
і
Одноступенчатый анализ
і
Пространственный анализ
і
Статический анализ
і
Ретроспективный анализ
Обратный факторный анализ
і
Стохастический анализ
і
Цепной анализ
і
Временной анализ
і
Динамический анализ
і
Перспективный анализ
При прямом факторном анализе выявляются отдельные факторы, влияющие на изменение результативного показателя или процесса, устанавливаются формы детерминированной или стохастической зависимости между результативным показателем и определенным набором факторов, выясняется роль отдельных факторов в изменении результативного экономического показателя.
Примерами прямого детерминированного факторного анализа являются: анализ влияния производительности труда х и численности работающих z на объем произведенной продукции у, заданная функциональная форма связи у = xz; анализ влияния величины прибыли на 1 грн реализованной продукции х, фондоемкости z и коэффициента оборачиваемости V на уровень общей рентабельности у, заданная
х
функциональная форма связи У = + ^ • Задачи детерминированного
факторного анализа — наиболее распространенная группа задач анализа хозяйственной деятельности.
Примером прямого стохастического факторного анализа является регрессионный анализ производительности труда или других экономических показателей.
Примерами обратного детерминированного факторного анализа являются задача комплексной оценки хозяйственной деятельности, а также задачи математического, в том числе линейного, программирования. Примером обратного стохастического факторного анализа могут служить производственные функции, с помощью которых устанавливается зависимость между величиной выпуска продукции и затратами производственных ресурсов, например численности и производственных фондов (функция Коба — Дугласа).
Для детального исследования экономических показателей или процессов проводится цепной факторный анализ, который может быть как статическим, так и динамическим.
Однако независимо от того, с помощью какого подхода осуществляется экономический анализ, типичные классы задач, стоящие перед ним, всегда остаются. К ним относятся:
1. Изучение наличия направления и интенсивности связи экономических показателей.
2. Ранжировка и классификация факторов экономических явлений.
3. Выявление аналитической формы связи между показателями.
4. Сглаживание динамики изменения уровня показателей.
5. Выявление закономерностей периодических колебаний уровня показателя.
6. Изучение размерности экономических явлений.
7. Выявление наиболее информативных (обобщающих) синтетических показателей.
8. Изучение структуры связей в системе экономических показателей.
Следует заметить, что одним из новейших направлений в практике анализа хозяйственной деятельности является контроллинг, который в настоящее время широко распространен за рубежом.
Контроллинг, судя по зарубежной литературе, — понятие широкое. В последнем немецком издании “Экономический словарь предприятия” он определен как концепция информации и управления. Наиболее полно система контроллинга была впервые описана и применена в США, поэтому сам термин и производные либо связанные с ним понятия (например, контроллер — руководитель службы контроллинга или лицо, выполняющее эти функции) происходят от английского controlling.
Первоначально под контроллингом имелась в виду совокупность задач в сфере учета и финансов, а контроллер был главным бухгалтером. Затем это понятие стали толковать шире: к функциям контроллинга стали относить финансовый контроль и оптимизацию использования финансовых средств и источников. В настоящее время контроллинг можно определить как систему управления процессом достижения конечных целей и результатов деятельности фирмы, т. е. в экономическом отношении, с некоторой долей условности, как систему управления прибылью предприятия. Более подробно рассмотрим этот вопрос в параграфе 1.8.
1.3. Виды экономического анализа
В основе классификации видов экономического анализа лежит классификация функций управления, поскольку экономический анализ является необходимым элементом выполнения каждой функции.
До настоящего времени теоретические и методические аспекты отдельных видов экономического анализа характеризуются неравномерным развитием. Наиболее детально разработана система анализа на уровне предприятий.
В табл. 2 приводится классификация видов экономического анализа по различным группировочным признакам. Одним из общих груп-пировочных признаков анализа является время анализируемого периода. По этому признаку можно выделить следующие виды анализа: оперативный, текущий и перспективный. К оперативному относится анализ за следующие промежутки времени в течение месяца: смену, сутки, неделю, декаду и периоды времени с начала месяца. Такое определение вполне соотносится с видами планирования, где под оперативным понимается планирование в пределах месяца. Кроме того, к оперативному анализу следует отнести анализ по производственным операциям и законченным технологическим циклам. Текущий анализ проводится за квартал, полугодие и год и за минимальную временную единицу — месяц. Перспективный анализ, являющийся базой для разработки соответствующих планов на пять, десять и более лет, имеет минимальную временную единицу — год. Перспективный анализ еще называют предварительным анализом.
Вторым общим группировочным признаком является объем анализа. По объему анализ бывает частичным, по участкам и комплексным. Объект анализа, как правило, регулирует и его объем. Поэтому целесообразно группировать анализ по его объектам: анализ работы агрегатов, производственных участков, цехов и предприятия в целом.
Третьим группировочным признаком видов анализа является его назначение. Этот признак находит отражение в формулировках цели, задач и содержания анализа. Назначение анализа может быть сформулировано как выявление резервов увеличения объемов производства, повышения качества продукции, а также снижения издержек производства и экономии капитальных затрат. Виды анализа “по назначению” могут быть по рассматриваемому периоду времени оперативными, текущими и перспективными. При этом анализом могут быть охвачены по объектам и объему либо основные агрегаты и производственные участки, либо цеха и предприятие в целом.
Одновременное проведение анализа по всем указанным направлениям позволяет обеспечить его комплексность.
По способам сравнения данных выделяются такие виды анализа, при которых ведется сравнение с плановыми показателями, с результатами работы передовых отечественных и зарубежных предприятий, с показателями работы анализируемого объекта за соответствующий предшествующий период. По широте сравнений экономический анализ делится на внутризаводской и межзаводской (внутриотраслевой,
Классификация видов экономического анализа
|
Группировочный признак |
Вид анализа |
|
Время анализируемого периода |
Оперативный, текущий, перспективный (прогнозный), а также стратегический и тактический |
|
Объем анализа |
Частичный, по участкам, комплексный |
|
Назначение анализа |
Выявление резервов увеличения объемов производства, анализ повышения качества продукции,
снижения издержек производства
и экономии капитальных затрат и др., а также достижения целей |
|
Способы сравнения данных |
Сравнение с плановыми показателями, с результатами работы передовых отечественных и развитых зарубежных предприятий, с показателями работы анализируемого объекта за соответствующий предшествующий период |
|
Широта сравнений |
Внутризаводской, межзаводской, внутриотраслевой, межотраслевой |
|
Периодичность анализа |
Периодический, разовый |
|
Время проведения относительно плана |
Ретроспективный, оперативный, предварительный (прогнозный) |
|
Содержание анализа |
Полный (или комплексный), тематический (или локальный) |
|
Степень охвата анализируемого объекта |
Сплошной, выборочный |
|
Степень механизации и автоматизации работ по экономическому анализу |
Автоматизированный, механизированный, немеханизированный |
|
Форма изучаемых производственных отношений, применяемые приемы, методы анализа, конкретная методика |
Технико-экономический, общеэкономический (финансово-экономический и статистико-экономический), функционально-стоимостной |
межотраслевой). По периодичности или повторяемости экономический анализ подразделяют на периодический и разовый. Периодами анализа могут быть несколько лет (пятилетка), год, квартал, месяц, декада, день, смена.
По времени проведения относительно планового периода экономический анализ можно подразделить на ретроспективный, оперативный, предварительный. Ретроспективный анализ экономической деятельности предприятия, осуществляемый на основе месячной, квартальной и годовой отчетности, вскрывает недостатки производства и служит для определения тенденций развития анализируемого объекта. Сменный, ежесуточный, недельный, подекадный оперативный анализ состоит в том, чтобы на основе первичных документов, а также оперативных данных, экономически правильно отражающих действительное положение дел, систематически сигнализировать об отклонениях от плановых заданий и нормативных показателей, вскрывать неиспользованные резервы. Оперативный экономический анализ имеет и такие отличительные черты, как срочность, действенность, достоверность, массовость, целенаправленность. Содержание предварительного анализа заключается в том, чтобы изучить тенденции, оценить варианты, найти лучшее решение, выявить или предупредить недостатки, потери и непроизводительные расходы. Зарубежная практика (Польша, Германия, Болгария, Чехия, Словакия, США, Англия, Франция, Япония) предварительного анализа показывает, что он является эффективным средством предупреждения и уменьшения нерациональных затрат, способствующим достижению значительных результатов. В настоящее время предварительный анализ в развитых зарубежных странах модифицируется в систему разработки и реализации программ комплексной рационализации.
По содержанию экономический анализ подразделяется на полный (комплексный) и тематический (локальный). Полный (комплексный) анализ предполагает улучшение всех сторон деятельности предприятия или подразделения в их взаимосвязи. Он охватывает все стадии подготовки производства — конструирование изделий, разработку технологии их производства, а также все последовательные этапы процесса производства и обращения продукции: материально-техническое снабжение, производство, сбыт продукции, финансово-распределительные и кредитно-расчетные отношения. Тематический анализ ограничивается изучением какой-либо темы, отдельного вопроса. В полном (комплексном) анализе все показатели изучаются во взаимо-
связи и взаимообусловленности, рассчитывается влияние отдельных показателей на другие, более общие. Тематический анализ в ряде случаев можно рассматривать как часть комплексного, его дальнейшее углубление.
По степени охвата анализируемого объекта экономический анализ подразделяется на сплошной и выборочный. Для выявления сверхнормативных и ненужных запасов товарно-материальных ценностей на складах предприятий обычно проводится их сплошная инвентаризация. Для анализа использования времени работы оборудования проводятся, как правило, выборочные наблюдения.
Экономический анализ бывает автоматизированным, механизированным и немеханизированным (производимым вручную).
Развитие производительных сил и производственных отношений, усложнение задач и функций управления объективно обусловили процесс дифференциации экономического анализа по формам и направлениям. В зависимости от формы изучаемых производственных отношений и объектов, содержания, функций, целей, конкретной методики и других признаков различают технико-экономический и общеэкономический анализ.
Общеэкономический анализ отличается от технико-экономического формой изучаемых производственных отношений, степенью детализации и кругом исследуемых вопросов, глубиной и аспектом их рассмотрения, аналитическим аппаратом, местом проведения, содержанием и источниками. В том случае, когда вышестоящие органы периодически осуществляют экономический анализ, в задачи которого входит общий контроль деятельности предприятий и объединений, оценка экономичности и оптимальности использования закрепленных ресурсов, целенаправленности и целесообразности этого использования, а также оценка всей хозяйственной деятельности предприятий, он базируется на плановых и отчетных данных. В зависимости от круга рассматриваемых вопросов, аспекта их освещения и цели, общеэкономический анализ подразделяется на финансово-экономический и статистико-экономический. Финансово-экономический анализ осуществляется финансовыми и кредитными органами. В процессе статистико-экономического анализа изучают массовые явления, делают оценку развития экономики и производят обобщения, выявляя тенденции этого развития.
Основная задача технико-экономического анализа — обеспечение оптимального режима эксплуатации наличной техники исходя из установленных производственных заданий предприятия. На базе данных технико-экономического анализа определяются предельные производственные возможности имеющихся мощностей, уровень их использования, решаются задачи загрузки оборудования, возможность и целесообразность изменения режима его работы, определяются направление, способ повышения производственной мощности предприятия — техническое перевооружение, реконструкция, расширение. Следовательно, технико-экономический — это в основном внутрихозяйственный анализ. В процессе технико-экономического анализа исследуется деятельность всех структурных подразделений предприятий: служб, цехов, участков, бригад и отдельных рабочих мест. При использовании данных внутренней отчетности и учета технико-экономический анализ проводится ежедневно, а также за месяц, квартал и год. В настоящее время значение технико-экономического анализа возросло, так как основные показатели, характеризующие эффективность мероприятий по внедрению новой техники, технологии, организации производства, рассчитываются и планируются предприятиями. Отсюда вытекает необходимость тщательного обоснования и анализа технико-экономических показателей.
В самостоятельный вид анализа по признаку применяемых приемов, методов выделился функционально-стоимостной анализ (ФСА), занимающий в настоящее время важное место в экономическом анализе. Его возникновение связано с необходимостью решения проблемы более полного, целесообразного использования ресурсов. Функционально-стоимостной анализ основан на постоянном поиске путей снижения материалоемкости, энерго- и трудоемкости выпускаемой продукции за счет изменения конструкции изделий, совершенствования способов изготовления деталей и узлов. Функционально-стоимостной анализ исходит из того, что затраты на производство любого изделия состоят из минимума издержек, абсолютно необходимых для выполнения им своих функций, и “дополнительных”, или “излишних” издержек. Последние связаны с несовершенством конструкции и технологии, использованием неэффективных материалов.
Таким образом, функционально-стоимостной анализ, или анализ затрат на основе потребительной стоимости, — это метод изучения возможностей сокращения затрат на производство продукции, работ или услуг обязательно при неизменных и улучшенных их свойствах.
Цель такого анализа в математической форме выражается так:
Z = C ^ min при К0 = К?
где Z — минимальные затраты на производство единицы продукции; C — анализируемые затраты на производство единицы продукции; К0, К1 — уровни потребительной стоимости соответственно до и после анализа затрат.
В этом случае ставится цель достижения минимальной себестоимости единицы продукции при условии, что уровень потребительной стоимости после анализа не должен быть ниже, чем до анализа.
Функционально-стоимостной анализ выступает самостоятельной отраслью знаний и вместе с тем может быть широко использован как метод в экономическом анализе. Он также является важной составляющей системного анализа. Для решения задач ФСА используются как традиционные сравнительно простые калькуляционные расчеты, так и экономико-математические методы оптимизации, которые реализуются с помощью ЭВМ с использованием стандартных приемов.
1.4. Методы и приемы экономического анализа
Экономический анализ базируется на материалистической диалектике и экономической теории рынка. Всеобщий диалектический метод познания реальной действительности предполагает изучение явлений в их взаимосвязи и взаимообусловленности, в изменении и развитии.
Под методом экономического анализа следует понимать диалектический способ подхода к изучению хозяйственных процессов в их становлении и развитии. Особенностью метода экономического анализа является то, что он использует систему показателей, которые на том или ином уровне управления наиболее широко характеризуют субъект рыночных отношений, выявляет и измеряет тесноту взаимосвязи этих показателей. Необходимость такого подхода связана с тем, что изучение каждого показателя в отрыве от других порождает ошибочные выводы, не позволяет проникнуть в глубину происходящих процессов, осознать необходимость проведения тех или иных мероприятий.
Исходя из этого метод экономического анализа представляет собой совокупность способов изучения хозяйственной деятельности предприятий путем выявления и определения взаимосвязей изучаемых показателей, расчленения их на составляющие и сравнения с другими, измерения величины влияния на изучаемые показатели как отдельных составляющих, так и совокупности их в единстве и взаимной связи. В этом определении обнаруживается пять наиболее общих элементов метода:
• выявление и представление взаимосвязи изучаемого явления;
• расчленение или детализация;
• сравнение;
• определение величины влияния факторов или элиминирование;
• обобщение.
Без применения при анализе всех названных элементов метода невозможно глубокое и всестороннее изучение экономических показателей и процессов, происходящих в экономике.
На начальной стадии анализа того или иного показателя изучение проводится от общего к частному, что представляет собой дедуктивный прием исследования. На стадии обобщения изученные составляющие анализируемого показателя рассматриваются с учетом влияния их на общие анализируемые показатели, что представляет собой индуктивный прием исследования. Дедуктивный и индуктивный приемы исследования — это две стороны процесса изучения явлений. В этом проявляется единство и неразрывная связь анализа и синтеза. Применение каждого элемента метода достигается совокупностью технических приемов и способов экономического анализа, взаимосвязь которых видна из механизма функционирования экономического анализа (рис. 6), составленного на основе обобщения материалов книги М. И. Бакланова и А. Д. Шеремета “Теория экономического анализа”.
В экономических исследованиях наиболее распространенным и целесообразным (а в условиях применения современных средств обработки информации и управления производством также необходимым) является изображение экономических взаимосвязей в виде математических формул или математических моделей производственных процессов. Использование при анализе аналитических моделей позволяет абстрактно изобразить основные взаимосвязи, существующие в реальной хозяйственной системе, а также изучить хозяйственные процессы.
В общем виде любую взаимосвязь можно представить как производственную функцию. Функция — математическое понятие, которое выражает зависимость одних величин от других. Если обозначить изучаемый показатель у, а факторы, от которых он зависит, — xp x2, ..., x , то неопределенную пока взаимосвязь можно охарактеризовать как у = f (xp x2, ..., xn). Эта формула дает наиболее общее представление о любой взаимосвязи экономических показателей. Поэтому анализ состоит из нескольких этапов изучения того или иного экономического показателя.
Приемы
процесса изучения явлений
|
Индуктивный |
 |
Формулы или математические моде |
Первоначальное представление взаимосвязи анализируемого показателя в виде аналитической модели может сформироваться на основе:
• определения конкретных факторов изучаемого показателя;
• установления последовательности влияния отдельных факторов и подразделения их на количественные и качественные;
• выяснения характера зависимости изучаемого показателя от отдельных факторов;
• представления конкретной взаимосвязи изучаемого показателя с влияющими на него факторами.
При анализе экономических показателей придерживаются такой последовательности изучения отдельных факторов, которая складывается в производственных условиях. Многие экономические показатели можно анализировать и как складывающиеся под влиянием многочисленных факторов, что обусловливает сложность определения последовательности их влияния.
Важный вопрос анализа — выяснение характера зависимости изучаемого показателя от отдельных факторов и определение конкретной их взаимосвязи.
Простейшая функциональная связь — пропорциональная зависимость между двумя показателями или их большим числом, когда соответствующему значению фактора отвечает вполне определенное значение анализируемого показателя.
Иным видом связи является сложнейшая зависимость между экономическими показателями, когда одному и тому же значению фактора могут отвечать несколько величин результативного показателя.
Иными словами, соответствующая степень влияния проявляется в определенном соотношении одного фактора с другими. Такую взаимосвязь явлений и показателей называют корреляционной. Если пропорциональную связь можно выявить в каждом отдельном случае, то корреляционную — только с помощью изучения совокупности наблюдений. Следует отметить, что корреляционная связь может быть результатом изучения совокупности наблюдений пропорциональных связей между факторами. Например, себестоимость единицы продукции в единичном случае находится в пропорциональной зависимости от величины затрат на 1 ед. продукции и производительности. При изучении совокупности этих взаимосвязей может быть выявлена корреляционная зависимость той же себестоимости единицы продукции от уровня производительности или же от величины затрат на единицу продукции.
Как пропорциональная, так и корреляционная связь между экономическими явлениями может быть прямой и обратной. Например, уровень себестоимости единицы продукции прямо зависит от величины затрат на 1 ед. продукции и обратно — от производительности.
Выяснив при анализе состав факторов, последовательность и характер их влияния на результативный показатель, определяют конкретный вид взаимосвязи. Например, зависимость прироста объема продукции:
у = x1 x2 x3, (4)
где x1 — численность занятых, чел.; х2 — дневная производительность труда одного работника, тыс. грн.; х3 — количество рабочих дней.
В данном случае наблюдается простая пропорциональная взаимосвязь факторов и изучаемого показателя.
Для изучения влияния на объем производства одного корреляционного фактора (например, фондоотдачи) можно использовать функцию у = a + bx, где y — объем производства; х — фондоотдача; а и b — параметры уравнения: а отображает величину объема производства без фондоотдачи, b — постоянную величину степени влияния фондоотдачи на объем производства.
Здесь приведены простейшие аналитические виды функций взаимосвязи результативных показателей с отдельными ее факторами. При анализе хозяйственной деятельности изучают различные взаимосвязи экономических показателей. Поэтому в каждом конкретном случае возникает вопрос выбора аналитической функции, которая в наибольшей степени отвечала бы сути исследуемого экономического явления. Определение вида функции — сложный процесс научного исследования.
Детализация. Изучение любой взаимосвязи включает расчленение, разложение или детализацию экономических показателей на составляющие или отдельные факторы. Кстати, само слово “анализ” в переводе с греческого характеризует именно такое его содержание. Каждый экономический показатель находится под влиянием многих факторов. Такую взаимосвязь в общем виде принято отражать одним уравнением производственной функции, в котором результат производства у представляет собой функцию f независимых величин факторов х:
У = f (х1, х2, х3, ..., хи). (5)
Экономические показатели детализируют по признакам пространства, времени, специальным признакам, составляющим. Для углубленного изучения анализируемые показатели раскладываются на отдельные составляющие, факторы, которые оказывают влияние как по времени, так и в пространстве.
Следует учитывать, что чем больше и шире детализация изучаемых показателей, тем глубже и качественнее анализ причин, тем точнее аналитические результаты изучения экономики производства.
Сравнение. Сущность экономического анализа не исчерпывается характеристикой взаимосвязей и детализацией изучаемых показателей. Важное средство анализа — сравнение этих показателей, а также их составляющих с другими аналогичными данными, принятыми в качестве базовых. Без сравнения вообще не может быть анализа.
В зависимости от цели изучения экономических показателей способы сравнений различают прежде всего с учетом того, какие показатели принимаются в качестве базисных для сравнения с ними анализируемых показателей. В качестве базисных показателей могут быть:
• плановые по предприятию в целом и по внутрихозяйственным подр азделениям;
• показатели за прошлые годы и средние за ряд лет;
• показатели других отдельных производств и средние данные по объединению, району или группе однотипных по специализации производств;
• нормативные или расчетные возможные показатели, которые определены с учетом достижений передового опыта, науки и техники и др.
Анализируемыми показателями обычно бывают фактически достигнутые, учетные или отчетные. В отдельных случаях в качестве анализируемых могут приниматься плановые, которые сопоставляются с базисными, фактически достигнутыми показателями за прошлый год или ряд лет.
Способы сравнения различают по технике сопоставления показателей: использования абсолютных или относительных сравнений. В результате абсолютных сравнений находят абсолютные отклонения анализируемых показателей от принятых в качестве базисных:
y° = f (x0, x0, x0,..., x0) — базисный показатель
y = f (x\, x'2, x'3x'n) — анализируемый показатель
Ay Axj Ax2 Ax3... Axn — абсолютные отклонения, где верхние индексы 0 и штрих обозначают соответственно базисные и анализируемые показатели; А — отклонения анализируемых показателей от базисных, которые могут быть положительными (с плюсом) и отрицательными (с минусом). При этом отклонения должны отражать влияющие на них факторы*.
При относительных сравнениях анализируемые показатели или отклонения по ним соотносятся с базисными. В результате таких сравнений получают показатели, выраженные в процентах, коэффициентах, средних величинах и т. п.
Применение приемов сравнения предполагает соизмеримость сравниваемых величин, сравнимость календарных периодов, единство оценки измерения величины показателей.
В практике хозяйств более простым и доступным является анализ влияния на результаты хозяйственной деятельности отдельных факторов, находящихся в пропорциональной взаимосвязи. Для этого применяют способы элиминирования — цепные подстановки, способы абсолютных и относительных разниц, балансовый или сальдовый способ. Техника применения метода цепных подстановок заключается в том, что для определения степени влияния на результат отдельных факторов последовательно заменяют базисную величину фактора, влияние которого определяется анализируемой величиной (например, плановую — фактической).
Исходя из этого степень влияния отдельных факторов на отклонение (например, фактического результата у' от планового у0 ) находят последовательным сравнением таких комбинаций факторов у:
у0 = f (Х0, x0,4,..., x°„);
У = f(x1, x0, x0x°), Ау( xj) = у - у0 или у0 - у;
у11 = f(x[, 4,4,-, 4), Ау^2) = у11 - у или у - у11; (6)
У111 = f(xj, 4, x°,..., xO), Ау^) = у111 - у11 или У - у111;
-у ;
/ у? f f f 'ча/ч f o-1 o-
У = f(xi, x2, x3,..., xn), Ау^) = у- у или у
Ау = Ау( xi) + Ау( x2) + Ау( x3) +... + Ау( xn),
III
где Ау(х1) — отклонение у за счет первого фактора (Xj); у, у п, у уп-1 — условные показатели.
Применение этой обобщенной методики анализа влияния отдельных факторов на хозяйственный результат имеет практическое значение. Ее общее содержание можно раскрыть на примере получения прибыли у. Отметим, что ее величина зависит от количества реализованной продукции хр реализационной цены х2 и полной себестоимости единицы продукции х3. Эти факторы взаимосвязаны с показателем прибыли: у = Xj(x2 -х3).
Логика этого метода заключается в том, что поскольку на каждый из показателей деятельности предприятия в большей или меньшей степени оказывают влияние различные показатели, то, заменяя поочередно отчетную величину каждого показателя на его базисное значение и допуская при этом, что все остальные показатели неизменны, определяем степень влияния каждого фактора или показателя на анализируемый показатель. Число цепных подстановок зависит от количества факторов или показателей, влияющих на анализируемый. Расчеты начинаются с исходной базы, когда все факторы равны базисному показателю, поэтому общее число расчетов всегда на единицу больше количества определяющих факторов. Степень влияния каждого фактора устанавливается путем последовательного вычитания: из второго результата расчета первого, из третьего — второго и т. д.
Для иллюстрации методики анализа возьмем исходные данные о реализации сахара (табл. 3).
Показатели реализации сахара
Таблица 3 |
|
Показатель |
По плану |
Символ |
Фактически |
Символ |
|
Прибыль от реализации, млн грн. |
230,0 |
0
У |
214,2 |
/
У |
|
Количество реализован- |
|
0
Х1 |
|
|
|
ной продукции, ц |
200,0 |
210,0 |
Х1 |
|
Среднереализационная цена за 1 ц, млн грн. |
3,10 |
0
х2 |
3,15 |
х2 |
Полная себестоимость
1 ц, млн грн. |
1,95 |
0
Хз |
2,08 |
х3 |
|
Для определения степени влияния отдельных факторов на прибыль последовательно сопоставляют результаты следующих расчетов, млн грн.:
у0 = 200,0 • (3,10 -1,95) = 230,0, у1 = 210,0 • (3,10 -1,95) = 241,5,
у11 = 210,0 • (3,10 -1,95) = 252,0, у' = 210,0 • (3,10 - 2,08) = 214,2.
Влияние важнейших факторов реализации сахара на прибыль следующее, млн грн.:
общее отклонение фактической прибыли от плановой (больше “+”, меньше “-”) — 15,8, в том числе за счет изменения: количества реализуемой продукции 241,5 - 230,0 = +11,5, реализационной цены
252,0 - 241,5 = +10,5, себестоимости реализованной продукции 214,2 - 252,0 = -37,8.
Приведенный расчет показывает, что невыполнение плана по прибыли обусловлено повышением себестоимости 1 ц сахара на 130 тыс. грн, что в расчете на реализованное количество продукции уменьшило прибыль на 37,8 млн грн. Однако перевыполнение плана реализации продукции и повышение цены компенсировали уменьшение прибыли на 22 млн грн (11,5 + 10,5). При условии выполнения плана по себестоимости прибыль составила бы 252 млн грн, что на 22 млн грн больше плановой.
Рассмотренную последовательность анализа и технику его проведения можно применять для изучения любых хозяйственных результатов, которые характеризуются их простой пропорциональной зависимостью от отдельных факторов.
Во многих случаях, особенно при анализе влияния большого количества факторов, находящихся с изучаемым показателем во взаимосвязи в виде произведения, целесообразно пользоваться способом абсолютных разниц без определения цепных подстановок. Учитывая последовательность и взаимосвязь влияния отдельных факторов на хозяйственный результат, при использовании этого способа исходят из таких общих правил:
1. По каждому фактору путем сопоставлений определяют положительные (+) или отрицательные (-) отклонения (А) величин анализируемых факторов от базисных:
у0 = f(xl x2, x30,..., x0„)
у' = f (x1, x2 , x3 x'n ) (7)
Ay AxjAx2Ax3...Axn
2. Влияние первого фактора равно отклонению по нему, взятому в соотношении с абсолютными базисными величинами остальных последующих факторов:
Ay(xi) = f(Axi, Ax°, х°,...,x0). (8)
3. Влияние второго, третьего и каждого последующего фактора равно отклонению по соответствующему фактору, взятому в соотношении с абсолютными фактическими величинами предшествующих, уже проанализированных факторов, и в соотношении с базисными — последующими, еще не изученными на данной стадии анализа факторами:
4. Влияние последнего фактора характеризуется соотношением отклонения по этому фактору с физическими абсолютными величинами остальных предшествующих проанализированных факторов:
Для иллюстрации методики анализа приведем исходные данные, характеризующие использование тракторов (табл. 4).
Годовая выработка на трактор у зависит от количества дней пребывания в хозяйстве хр коэффициента использования трактора на работах х3, коэффициента сменности х5 и сменной выработки в гектарах условной пахоты х6. Годовую выработку трактора можно представить в виде такой взаимосвязи:
у = x x3 x5 x6. (12)
Исходя из формулы меньшая выработка трактора в анализируемом хозяйстве в сравнении с лучшим объясняется влиянием таких факторов (в эталонных га):
общее отклонение по выработке
(1510 - 1860) = -350,
|
Показатели использования одного среднегодового эталонного трактора |
|
Показатель |
Символ |
Лучшее
хозяйство |
Анализируемое
хозяйство |
|
1. Годовая выработка, га усл. пахоты |
у |
1860 |
1510 |
|
2. Тракторо-дни пребывания в хозяйстве |
х1 |
365 |
365 |
|
3. Отработано тракторо-дней |
Х2 |
256 |
219 |
|
4. Коэффициент использования на работах |
Х3 |
0,70 |
0,60 |
|
5. Отработано тракторо-смен |
Х 4 |
307 |
274 |
|
6. Коэффициент сменности |
Х5 |
1,2 |
1,25 |
|
7. Выработка за смену, га |
Х6 |
6,05 |
5,60 |
|
в том числе за счет:
уровня использования тракторов в работе 365-(—0,10)-1,2-6,05 = -265; сменности работы тракторов 365-0,60-(+0,05)-6,05 = +66,247; сменной выработки 365-0,60-1,25-(—0,45) = -123,187.
Конкретная оценка влияния отдельных факторов дает управленческому персоналу возможность обратить внимание на отрицательно влияющие на результаты хозяйствования факторы. В приведенном расчете первый и последний факторы повлияли на выработку отрицательно и снизили ее на 415 га. За счет повышения сменности работы дополнительно обработано 66 га условной пахоты. Характер и величина влияния каждого из этих факторов зависят от конкретных причин. Уровень использования тракторов и сменность зависят от фронта работ в хозяйстве, состояния техники, обеспеченности хозяйства механизаторами и т. п. На сменную выработку влияют выполнение норм выработки, рациональная организация труда на протяжении смены на рабочих местах, квалификация механизаторов, максимальная загруженность трактора прицепными и навесными агрегатами, скорость его движения, использование тракторов на работах по назначению и т. п.
В целях правильного применения при анализе способов элиминирования пользуются также условным последовательным разложением изучаемого показателя на количественные и качественные факторы. В этом случае для определения условного показателя при анализе способом цепных подстановок используют фактическое значение количественного и базисное значение качественного факторов.
Пользуясь способом анализа с помощью разниц, исходят из того, что при определении влияния количественного фактора разницу по величине этого фактора берут в соотношении с базисной абсолютной величиной качественного фактора. И наоборот, при определении влияния качественного фактора разницу в его величине берут в соотношении с фактической абсолютной величиной количественного фактора. При этом учитывают, что деление факторов на количественные и качественные условное. Один и тот же фактор при изучении одного показателя может выступать как качественный, а при анализе другого — как количественный.
Методы цепной подстановки и разниц имеют общий недостаток: при применении и одного, и другого метода возникает неразложимый остаток, который присоединяется к числовому значению влияния последнего фактора (показателя). Именно по этой причине возникают различные результаты при изменении последовательности подстановки. Однако использование интегрального метода позволяет этот остаток распределять.
Интегральный метод определяет влияние различных факторов при двухфакторной модели. Отклонение по одному из факторов умножается на базисное значение второго фактора плюс половина произведения отклонений по факторам:
у = ab,
где у — сумма затрат; a — количество потребленного ресурса; b — цена единицы ресурса;
АаАЪ
+-;
2
АаАЪ
+-;
2
= АаЪ0 = АЪа0
АУа
I модель
аУъ
АКа = 2(Ъ1 + Ъ0)Аа;
(13)
II модель
AKb = — (a + a0 )Ab;
AK = AKa +AKb.
Таким образом, интегральный метод раскладывает неразложимый остаток, который образуется при использовании метода цепных подстановок и метода разниц.
Особое место в процессе анализа отводится методам корреляции.
Анализ корреляционной зависимости экономических показателей от отдельных факторов более сложен. Степень влияния таких факторов при анализе определяется с помощью методов корреляции. Связь между корреляционным фактором и результативным показателем характеризуется прежде всего коэффициентом корреляции, который может изменяться от нуля до единицы. Чем ближе он к единице, тем теснее связь между анализируемыми показателями. Коэффициент корреляции с плюсом указывает на прямую связь, а с минусом — на обратную. Коэффициент корреляции вычисляют по формуле
(14)
где n — количество наблюдений; у — результативный показатель; х — факториальный показатель.
Например, если коэффициент корреляции между производительностью труда и коэффициентом сменности равен 0,55, то степень связи между этими показателями считают довольно высокой. Тесной принято считать связь при коэффициенте больше 0,5.
С помощью методов корреляции при экономическом анализе определяют конкретные величины влияния отдельных факторов на результаты хозяйствования. Зависимость изучаемого показателя от одного фактора в простейшем виде можно представить формулой у = a + bx. Для определения параметров (a и b) этого уравнения пользуются известным способом наименьших квадратов, решая такую систему уравнений:
X У = an + b? x; (15)
X Ух = aX x + bX x2. (16)
Степень влияния фактора на результат оценивают по параметру b (его называют коэффициентом регрессии), который показывает, на сколько единиц изменяется хозяйственный результат при изменении величины фактора на единицу.
Более сложные зависимости могут быть изображены многочленом корреляционного линейного уравнения:
y = a0 + a1 х1 + a2 x2 +... + anxn.
Посредством конкретных видов других функций можно изобразить любую корреляционную зависимость. Задачи множественной корреляции решают с помощью экономико-математических методов с использованием современных вычислительных средств, особенно ЭВМ.
Данные корреляционного анализа можно эффективно использовать в управлении производством для планирования уровня продуктивности отраслей, оценки экономической эффективности дополнительных затрат на производство, планирования рационального их использова-
Индексный метод основывается на сопоставлении показателей отчетного и базисного периодов. Основным условием при этом является то, что сопоставляемые величины должны быть идентичны, т. е. рассчитываться одинаково (в одной методологии) или в одних ценах (в ценах базисного или отчетного периода) и обязательно в одних единицах измерения. Индексный метод — один из наиболее распространенных, поскольку с его помощью можно выявить влияние на изучаемый совокупный показатель различных факторов. В практике статистических и аналитических расчетов известно несколько форм индексов: агрегатная, арифметическая, гармоническая и др.
Агрегатный индекс является основной формой всякого общего индекса. Именно агрегатный индекс можно преобразовать в средний арифметический или средний гармонический индекс. Схема расчета агрегатного индекса следующая:
X У Х1 -X Уо х0 = (X У х0-X Уо х0 —X У Х1 -X У х0— (17)
где (XУ1 х0 -XУ0х0) — влияние количества; (XУ1 x1 -XУ1 х0) — вли-
яние ценового фактора.
Что же касается среднегармонического индекса, то преобразование осуществляется следующим образом:
X у х1
X -— У1Р1
X у х1
X у
Id =
(18)
xL
Х0
где іх1
С помощью индексных пересчетов можно осуществлять преобразование агрегатного индекса в средний гармонический.
Способ относительных чисел применяется тогда, когда изучаемый показатель является результатом произведения нескольких факторов. Он отличается от предыдущих тем, что расчеты влияния факторов на изучаемый показатель проводятся исходя из относительных показателей их изменения, выраженных в процентах или коэффициентах. При определении влияния первого фактора процентное выражение изменения его величины, деленное на 100, умножают на базисную величину изучаемого показателя.
Для определения влияния второго и каждого последующего фактора сначала устанавливают процентное выражение изменения изучаемого показателя за счет соответствующего фактора с учетом влияния предшествующих факторов и затем умножают его на базисное значение изучаемого показателя. Влияние последнего фактора определяется так: из показателя выполнения плана вычитают совокупный процент влияния всех предшествующих факторов; полученный результат умножают на базисную величину изучаемого показателя и делят на 100.
Приведем пример анализа расходования средств на оплату труда способом относительных чисел (табл. 5).
Показатели оценки выполнения планового расходования средств на оплату труда
Таблица 5 |
|
Показатель |
По
плану |
Факти
чески |
Отклоне-
нение
от плана
(+,-) |
Выполнение плана,
% |
|
Средства на оплату труда, млн грн. |
1425,0 |
1501,5 |
+76,5 |
105,37 |
Численность работников,
чел. |
1000 |
975 |
-25 |
97,5 |
|
Отработано дней одним работником |
285 |
280 |
-5 |
98,25 |
|
Средняя дневная заработная плата, тыс. грн. |
5,0 |
5,50 |
+0,50 |
110,0 |
|
План по численности персонала в нашем примере выполнен на 97,5 %; следовательно, под влиянием этого сумма средств на оплату труда уменьшилась на
(97,5 -100) -1425000 100
= -35,625 тыс. грн.
План по отработанным дням на одного работника выполнен на 98,25 %. Влияние этого фактора с учетом выполнения плана по численности работников составляет
97,5
Ю0
98,25 -
- 97,5
-100 -1425000 =
= (95,79 - 97,5)-100-1425000 = -24,367 тыс. грн.
Сумма средств на оплату труда использована на 105,37 % при численности персонала и отработанных днях 98,25 %; значит, сверхплановый рост средней заработной платы вызвал увеличение средств на оплату труда на
(105,37-98,25)-1425000 ^
- --— -= +7203,66 тыс. грн.
100
Перечисленные способы используются для расчета влияния факторов на объем продукции, фондоотдачу, производительность труда, сумму средств на оплату труда.
Преимущество способа относительных чисел по сравнению с рассмотренными выше заключается в том, что влияние факторов можно рассчитывать при ограниченном количестве исходных данных, выраженных в процентах или коэффициентах.
Балансовый, или сальдовый, метод применяется тогда, когда известны общее отклонение по изучаемому показателю и влияние всех факторов, кроме одного. В этом случае влияние неизвестного фактора определяется вычитанием из общего отклонения по известным факторам.
Как показал опыт и многолетняя практика, этот метод является наилучшим для выявления и поддержания определенных количественных пропорций и соотношений. Он служит инструментом выявления хозяйственных резервов, установления материально-вещественных, стоимостных и трудовых пропорций, обеспечения оптимального и сбалансированного развития производства. В основе его лежит основное равенство:
Е xik = Е Уі?, І = ^ (19)
k v
где xik — ресурсы i-й продукции (материала, рабочих определенной профессии или квалификации) по к (к = 1,q ) источникам поступления; yiv — объемы распределения i-й продукции по v (v = 1, e ) направлениям использования.
Итак, мы кратко познакомились с методами и приемами экономического анализа влияния факторов (элиминированием), но следует иметь в виду, что есть еще один важнейший этап анализа — обобщение его результатов в целях использования экономической информации в управлении. На этом этапе экономический анализ тесно связан с организацией и технологией производства, планированием и управлением, хозяйственным и внутрихозяйственным расчетом, оплатой труда работников с учетом достигнутых результатов. Следует отметить, что способы обобщения разработаны очень слабо, и это сдерживает эффективное использование информации в управлении производством. Обобщение позволяет синтезировать результаты анализа, исследовать сложный комплекс экономических факторов, выяснить важнейшие из них. При этом проводят всестороннюю и объективную оценку хозяйственных результатов, определяют рациональное сочетание факторов, от которых они зависят. В процессе обобщения анализ сочетается с синтезом, когда отдельные изученные составляющие сводятся в единое целое на новой качественной основе с учетом результатов анализа. Это позволяет определить возможный уровень улучшения того или иного хозяйственного результата, наметить положительное направление действия факторов.
При обобщении аналитическую информацию систематизируют по отдельным показателям работы как хозяйства в целом, так и его подразделений, вскрывают причины изменения важнейших факторов, выявляют резервы улучшения работы, делают выводы с оценкой достигнутых результатов, разрабатывают мероприятия по устранению выявленных недостатков, дальнейшему улучшению всей хозяйственной деятельности предприятия.
Использование приемов обобщения в анализе во многом зависит от квалификации специалистов, их умения осознать и использовать аналитическую информацию в своей практической работе. Наряду с этим обобщение включает много технических приемов. Назовем некоторые из них.
Способ суммирования используется для подсчета однородных показателей определенной совокупности изучаемых сторон деятельности или объектов хозяйства. Например, результаты анализа влияния отдельных факторов на себестоимость продукции суммируются в виде общих сумм экономии и перерасхода затрат по отдельным филиалам (производствам) и фирме в целом.
Способ подсчета резервов по факторным отклонениям применяется для определения возможного уровня изучаемого показателя по результатам анализа оценок с учетом сложившегося положительного влияния на него факторов и предотвращения их отрицательного влияния. По факторам суммируют отрицательные величины их влияния, и на эту сумму корректируют фактически достигнутый результативный показатель. Так, в приведенном выше примере анализа выработки трактора (табл. 4) возможный ее уровень при этих условиях составит 1898 га (1510 + 265 + + 123), что на 38 га больше показателя, принятого в качестве базисного.
В процессе аналитического обобщения важное значение имеют разработка различных вариантов хозяйственных процессов и выбор оптимального из них. Простейший вариантный способ такого обобщения заключается в конструировании лучшего варианта изучаемого показателя путем отбора положительных факторов из нескольких вариантов и соединения их в одно целое. В формализованном виде этот способ можно представить так:
I вариант
y1 = f ( x1b x02’ x13);
II вариант
y2 = f (x2b x22’ x23);
III вариант
y3 = f (хзь x32’ конструктивный (лучший) вариант — y1 = f (хЦ x-2, x+3).
Показатели выработки тракторов
Таблица 6 |
|
Показатель |
Вариант |
Лучший
вариант |
|
i |
ii |
iii |
|
Коэффициент использования в работе |
0,70 |
0,60 |
0,65 |
0,70 |
|
Коэффициент сменности |
1,2 |
1,25 |
1,2 |
1,25 |
|
Сменная выработка, эталонных га |
6,05 |
5,5 |
7,0 |
7,0 |
|
Годовая выработка на условный трактор, эталонных га |
1855 |
1506 |
1993 |
2236 |
|
По данным табл. 6 высокий показатель выработки тракторов определяется с учетом лучших показателей использования техники:
365-0,70-1,25-7 = 2236 (эталонных га).
Среди современных методов управления производством важным является математическое моделирование хозяйственных систем и поиск такой структуры взаимосвязи факторов, при которой достигаются высокие экономические результаты. Построение таких моделей и получение на этой основе различных вариантов стало возможным с применением ЭВМ. Это в определенной мере может быть достигнуто при использовании способов множественной корреляции, математического программирования и др.
В экономике и управлении производством отдельных хозяйств широко применяется линейное программирование. Этот метод успешно используют при определении рационального соотношения различных видов продукции, оптимального использования оборудования, рациональной структуры парка оборудования, оптимального состава и структуры промышленно-производственного персонала, при распределении выполнения отдельных работ по маркам машин и т. п.
Важное условие решения этих задач — формализация связей хозяйственных процессов в виде соответствующих моделей. Например, задача определения оптимальных размеров и сочетания отдельных видов продукции по критерию максимума чистого дохода имеет такой общий вид аналитической модели:
Zmax = Е Cjxj (j = 1m) (20)
j=1
при условиях:
1) Еaijxj -ьі (i=i>2>->«);
j=1
2) Xj > 0, где Zmax — максимальный чистый доход; С. — чистый доход на единицу продукции определенного вида; х. — объем продукции определенного вида; а. — норма затрат соответствующего вида ресурсов на единицу продукции определенного вида; Ъі — общее количество ресурсов соответствующего вида; j = 1,2,...,m; i = 1,2,...,л — порядковые номера соответственно видов продукции и ресурсов.
Решение этой задачи позволит найти оптимальное сочетание видов продукции, каждый из которых характеризуется различным уровнем доходности при условии, что сумма используемых для этого ресурсов будет меньше или равна их наличию в производстве, а размеры каждой партии по видам продукции не должны быть меньше нуля. Задачи линейного программирования имеют поисковый характер. Именно на разработку этих сложных задач и решение их с помощью ЭВМ нацелены усилия ученых-экономистов и других специалистов.
Рассмотренные методы, способы и приемы экономического анализа, безусловно, не исключают использования других подходов. Так, при изучении экономики предприятий и объединений широко применяются статистические индексы и группировки, средние величины, графики и диаграммы, аналитические таблицы и пр.
1.5. Организация экономического анализа и его информационное обеспечение
Поскольку управление — это целенаправленное влияние управляющей системы на объект, которым руководят для достижения поставленных целей, ему присущи пять элементов: прогнозирование (планирование), управление, координация, стимулирование, контроль. Следовательно, экономический анализ присущ всем функциям управления и классифицируется по различным признакам:
1. По содержанию процессов управления:
а) перспективный (прогнозный);
б) оперативный;
в) текущий;
г) ретроспективный.
2. По характеру объектов управления:
а) экономический анализ в промышленности;
б) экономический анализ в сельском хозяйстве;
в) экономический анализ на транспорте;
г) экономический анализ в торговле;
д) экономический анализ в общепите;
е) экономический анализ в медицине.
3. По уровню общественного производства и управления:
а) высший;
б) средний;
в) начальное звено.
4. По стадиям процесса воспроизводства:
а) анализ в производстве;
б) анализ в распределении;
в) анализ в потреблении;
г) анализ в обмене.
5. По составным элементам производства:
а) анализ материальных ресурсов;
б) анализ трудовых ресурсов;
в) анализ финансово-кредитных отношений.
Кроме классификации видов экономического анализа исходя из функций управления, экономический анализ классифицируется исходя из цели исследования:
1. Оценка качества и обоснованности оплаты труда.
2. Определение базы показателей для планирования.
3. Оценка результатов хозяйственной деятельности.
4. Выявление резервов и путей их мобилизации.
5. Определение базы для принятия управленческого решения.
По субъектам:
а) экономические службы предприятия;
б) статистические органы управления;
в) банковские органы;
г) финансовые органы.
По периодичности:
а) годовой;
б) квартальный;
в) месячный.
По числу освещаемых вопросов:
а) полный анализ;
б) комплексный анализ;
в) тематический анализ.
По месту изучения объектов управления:
а) комплексный;
б) системный;
в) функционально-стоимостной;
г) сравнительный;
д) сплошной;
е) выборочный.
По изучаемым объектам:
а) межотраслевой;
б) отраслевой;
в) заводской;
г) цеховой;
д) межцеховой;
е) по функциональным службам.
По используемым механизмам:
а) с использованием ПЭВМ;
б) ручной.
В условиях автоматизации процессов управления осуществление экономического анализа требует рациональной его организации. Необходимо проведение анализа всех (или отдельных) сторон деятельности предприятия в определенной последовательности. В организации аналитической работы следует начинать:
1) с разработки программы комплексного анализа или плана;
2 с определения цели объекта, состава и последовательности анализа, срока выполнения;
3) с установки отчетности (учетная, контрольная, плановая) и возможности ее обработки на ПЭВМ; обработки информации. С помощью обработанной информации нужно выявить, изучить, измерить факторы, обусловившие изменения показателей, вскрыть резервы и дать материалы для разработки мероприятий по устранению недостатков, т. е. для принятия управленческого решения (которое подтвердит экономическую целесообразность произведенных или намечаемых затрат).
На современном этапе характерно усложнение хозяйственных процессов и методов управления ними, что неизбежно требует перехода к новому качеству знаний, и это вызывает необходимость создания информационной системы, соответствующей требованиям сегодняшнего дня для макро- и микроуровней.
Для того чтобы ответить на вопрос, что такое система экономической информации и каковы ее особенности, надо вспомнить особенности экономического анализа в условиях рыночной экономики.
Раньше в анализе хозяйственной деятельности основное внимание уделяли только внутреннему анализу, часто локальному, ориентированному на отдельные показатели.
В условиях рынка обязателен системный подход, так как требуется учитывать кроме прямых много косвенных связей. Необходимо проводить анализ внешней конкурентной среды. Таким образом, имеются внутренние и внешние источники информации.
Внешние источники информации подразделяются на такие:
а) специализированные частные — это бюллетени агентств по маркетинговым исследованиям;
б) вторичные — это источники публикуемой информации (бюллетени статистики, балансы банков);
в) оригинальные (полезные исследования с позиции потребителя, проводимые собственными отделами маркетинга, исследований и сбыта).
Внутренние источники информации включают:
а) исследование внутренних данных отделом анализа;
б) исследование информации, поступающей от функциональных подразделений предприятия.
Информация — это совокупность сведений, характеризующих деятельность предприятия.
Следовательно, внешняя информация — это экономическая, социальная, деловая и т. д., а внутренняя — это результаты деятельности (конечные и промежуточные) предприятия, прогнозы, задачи и направления деятельности (маркетинговые исследования) и производственноснабженческие возможности, определяющиеся техническим уровнем предприятия.
Информация должна отвечать следующим требованиям: быть объективной, конкретной, комплексной, оперативной, систематической.
Анализу должна предшествовать проверка информации по трем видам:
1. По существу направления анализа.
2. Техническая проверка (наличие подписи на документах, полнота отчетных данных, соответствие отчетных форм — сопоставимость).
3. Счетная проверка — на правильность итогов (выборочная).
Информационное обеспечение анализа включает разнообразные
виды информации:
1. Правовое, хозяйственное и финансовое законодательство.
2. Нормативно-плановую (торгово-финансовые данные, производственно-плановые).
3. Учетную информацию:
а) данные бухгалтерского учета;
б) текущий учет: журналы-ордера, машинограммы по балансовым счетам, главная книга;
в) отчетность — баланс Ф-1, Ф-2, Ф-3;
г) статистический учет и его информация;
д) оперативный учет (всевозможные сводки, справки).
4. Внеучетную информацию (материалы ревизий, аудиторских проверок, материалы печати, производственных совещаний, материалы лабораторного и врачебно-санитарного контроля, докладные записки).
Главное место в информационном обеспечении занимает бухгалтерская отчетность, которая дает опытному аналитику полную информацию о финансовом состоянии, устойчивости положения и возможных перспективах предприятия.
Экономический анализ базируется на системе, которая опирается на следующие принципы:
а) объективность отражения всех сторон хозяйственной деятельности;
б) единство информации;
в) выявление потребителей информации и способов их удовлетворения;
г) устранение дублирования в первичной информации;
д) оперативность информации.
Бухгалтерский учет и отчетность дают наиболее полное представление об имеющихся хозяйственных средствах. Полный анализ бухгалтерской отчетности позволяет принять меры по улучшению деятельности предприятия в целом и его структурных подразделений.
Статистический учет и отчетность отражают совокупность массовых процессов, характеризуют их с количественной стороны и позволяют выявить определенные экономические закономерности.
Оперативный учет и отчетность применяются на отдельных участках предприятий и обеспечивают быстрое получение информации.
Выборочные учетные данные способствуют углублению и детализации при изучении показателей отчетности. Выборочные данные рассматриваются как источник учетного характера, так как черпаются из текущего бухгалтерского учета и первичной документации.
Внеучетная информация подразделяется:
1) на материалы ревизий;
2) материалы лабораторного и врачебно-санитарного контроля;
3) материалы производственных совещаний;
4) объяснительные и докладные записки;
5) материалы печати.
Планово-нормативная информация подразделяется:
1) на данные планов;
2) нормативные материалы;
3) данные инструкций, всевозможных паспортов, прейскурантов, справочников.
Экономический анализ является основным потребителем информации, поэтому наиболее чувствителен к ее недостаткам. Таким образом, анализ хозяйственной деятельности предполагает наличие определенной организационно-информационной модели, построение которой служит необходимой предпосылкой организации комплексного анализа. Модель предполагает выбор рациональной системы экономических показателей, в которой последние находятся в определенной субординации и взаимосвязи, наиболее точно отражают экономическую действительность и способствуют активному воздействию на нее. В качестве примера рассмотрим организационно-информационную модель оценки эффективного использования материально-технической базы предприятия, т. е. модель анализа состояния и использования основных производственных фондов (рис. 7).
Согласно рис. 7 объектами экономического анализа являются:
Блок 1
1.1. Материально-техническая база, ее наличие, движение, состояние и функция управления.
1.2. Прогнозирование материально-технического баланса (МТБ).
1.3. Факторы, обусловливающие МТБ (внешние и внутренние): численность машин, численность населения, состояние платежеспособного спроса, научно-технический прогресс, внутренние финансовые ресурсы.
Блок 2
Существующая в настоящее время система показателей деятельности предприятия включает в себя различного рода показатели: абсолютные и относительные, количественные и качественные, натуральные, стоимостные, трудовые, условно-натуральные, общие для всех отраслей и дифференцированные, сквозные для всех уровней управления и применяемые лишь на отдельных уровнях, плановые и отчетные. В нашем примере используются следующие показатели:

|
Блок 1 I I ^1 Блок 2 \ Блок 3 \-Блок 4 ^| Блок 5 |  |
о
s
as
= §
s =
Я 4J
= I
1 3
51
И >X 3 о
* g
5 *
= s
g *r
I §
ЧЙ Й
І-Ё
в g
Д Я
S *
§ i
Я ¦
s g
s a
я 5
- c
О g
к

2.1. Стоимостные показатели: абсолютный размер основных фондов в целом и по видам на начало периода, поступление, выбытие и наличие на конец периода в гривнях.
2.2. Натуральные показатели: абсолютный размер по видам (число единиц оборудования по типам, специализации по площади).
2.3. Количественные показатели: стоимостные и натуральные.
2.4. Качественные показатели: например, соотношение основных промышленно-производственных фондов (ППОФ) по видам.
2.5. Удельные показатели: фондоотдача, фондоемкость, рентабельность.
Блок 3
Информационное обеспечение или источники информации:
3.1. Правовое, хозяйственное и финансовое законодательство по
собственности, капиталовложениям, основным фондам и т. д.
3.2. Нормативная база — технические проекты здания, оборудо
вание, нормы и нормативы.
3.3. Учетная информация:
3.3.1. Текущий бухгалтерский учет: журналы-ордера или машинограммы по бухгалтерским счетам.
3.3.2. Отчетность: бухгалтерский баланс, стоимость ППОФ и величина их износа.
3.3.3. Статистический учет.
3.3.4. Оперативный учет — сводки, справки, другая информация.
3.3.5. Внеучетная информация — технические паспорта оборудования, инвентарные описи, служебные записки по основным фондам.
Блок 4
Методы обработки информации:
4.1. Сравнения — сравнение с лучшим, с прошлым (динамика), с планом, со средними данными.
4.2. Группировки.
4.3. Средние величины.
4.4. Балансовая увязка имеющейся информации по движению оборудования (фондов): с помощью балансовой увязки проводится анализ движения основных фондов.
4.5. Гр афический метод.
4.6. Ряды динамики — во времени с учетом динамики цен.
4.7. Метод аналитического выравнивания (связан с индексацией).
4.8. Метод элиминирования — при проведении факторного анализа.
4.9. Корреляция — факторный анализ.
4.10. Линейного программирования — для оценки обоснованности размещения ППОФ согласно выбранному техническому проекту.
4.11. Теория массового обслуживания — используется для определения оптимального размера предприятия, количества рабочих мест и размещенного в нем оборудования.
|
Остаток на начало года + поступления от реализации + остаток на конец года |
 |
|
выбытие уценка реализация |
Блок 5
Методы, приемы обобщения и реализации результатов анализа:
5.1. Систематизация результата в зависимости от цели.
5.2. Обобщение и группировка результатов анализа по факторам.
5.3. Расчет и обобщение неиспользованных резервов.
5.4. Разработка мероприятий по повышению эффективности использования МТБ.
5.5. Определение необходимых объемов в МТБ.
5.6. Принятие управленческих решений.
5.7. Контроль за их выполнением.
Рассмотренная организационно-информационная модель может разрабатываться на предприятии независимо от формы собственности, поскольку позволяет правильно определить направление инвестиционной политики исходя из состояния производственного оборудования предприятия. Аналогичные организационно-информационные модели составляются также по другим показателям деятельности предприятия, поскольку анализ информационной модели позволяет выделить “узкие места” в производственном процессе предприятия, определить его ресурсы и потенциальные возможности для повышения эффективности производства, дать объективную оценку результатам хозяйственной деятельности. Схема построения информационной модели представлена на рис. 8.
 |
|
Рис. 8. Схема построения информационной модели |
Более упрощенным подходом к анализу результатов деятельности предприятия является система вычислений (алгоритмов расчета) влияния факторов на изменение того или иного показателя. С помощью алгоритмов расчета выполняют анализ резервов производства и их диагностику, что позволяет сделать вывод относительно каждого анализируемого показателя: как достичь желаемого уровня отдачи ресурсов производства без существенных затрат.
1.6. Системы вычислений, применяемые при экономическом анализе деятельности предприятия
Как уже отмечалось в предыдущих параграфах, основной задачей экономического анализа является оценка результатов хозяйственной деятельности, выявление резервов производства и факторов, оказавших положительное или отрицательное воздействие на конечные показатели работы предприятия. Решению этой задачи в значительной степени способствуют алгоритмы расчетов влияния различных факторов на изменение показателей, характеризующих результат деятельности предприятия.
Рассмотрим наиболее распространенные алгоритмы расчетов, применяемые в процессе анализа хозяйственной деятельности предприятия, но для этого необходимо помнить, что все показатели деятельности предприятия тесно взаимосвязаны. Каждый показатель является “ведущим” или “ведомым” по отношению к остальным, характеризующим ту или иную сторону хозяйственной деятельности предприятия. Схема взаимосвязи основных показателей хозяйственной деятельности предприятия, представленная на рис. 9, показывает, насколько взаимосвязаны наиболее общие показатели хозяйственной деятельности.
Приведем с небольшим сокращением и изменением наиболее известные схемы классификации факторов, влияющих на тот или иной показатель, и алгоритмы их расчета, взятые из книги Н. М. Скворцова и Л. Н. Омельченко “Диагностика резервов производства”.
Наиболее общими показателями, характеризующими эффективность использования производственных ресурсов, из перечисленных выше являются уровень производительности труда, фондоотдача, себестоимость выпускаемой продукции и прибыль. На их величину влияют многочисленные факторы, связанные с планированием и организацией производственных процессов, системой финансирования кредитования капитальных вложений, использованием производственных основных и оборотных фондов, рабочего времени, системой оплаты труда и экономическим стимулированием коллективов предприятий и отдельных работников и др. Проследить взаимосвязь и степень влияния каждого из этих факторов возможно на основе математической модели в виде уравнений и неравенств, решая которые, можно найти оптимальный вариант.
Диагностический анализ производственно-хозяйственной деятельности и оценивание резервов эффективности производства обусловили условное разделение резервов эффективности производственно-хозяйственной деятельности на перспективные и текущие. Последние разделяются на внутренние и потенциальные, учитывающие передовой опыт других предприятий.
Внутренние резервы выявляются на основе обобщения опыта работы конкретного предприятия.
Внутренний резерв повышения уровня показателя рассчитывают по формуле
PJ'
урез.вн (F ) = душке ^ ) - tfp (F.)
где p = 1,m; i, J = 1, k; Ypj3'™ (F.) — внутренние резервы повышения уровня результативного показателя j за счет фактора Ft на объекте p
 |
|
Рис. 9. Схема взаимосвязи основных показателей хозяйственной деятельности предприятия |
в j-м периоде; Д70макс (F) — максимальный экономический результат
влияния фактора F на объектеp; AYpj (F) — экономический результат влияния фактора F на объекте р в j-м периоде; m — количество объектов (предприятий); к — количество периодов.
Потенциальные резервы рассчитывают по формуле
YPe3.n°T щ) = Ay макс щ)-AYppsa (F),
где Ypp,e3'n0T (F) — потенциальный резерв повышения уровня результативного показателя j на предприятии p за счет фактора F;
AY^jP®3 (F) — среднее значение экономического результата влияния фактора F на предприятии р;
Ay макс (F) = max ay сред (F) — максимальное среди средних значений экономического результата.
Применение факторных моделей при анализе резервов эффективности производства требует оперативной переработки огромных массивов первичной информации, правильной оценки многочисленных воздействующих на экономические показатели факторов и выдачи соответствующих результатов в сжатые сроки. Использование ЭВМ позволяет решать эти задачи в соответствии с предъявляемыми к ним требованиями в режиме экспресс-анализа.
Итак, рассмотрим удачно представленный авторами книги “Диагностика резервов производства” факторный анализ производственнохозяйственной деятельности предприятия независимо от формы собственности.
1.6.1. Анализ факторов, влияющих на изменение объема производства
Первым и наиболее часто анализируемым показателем является объем производства выпускаемой продукции.
Классификация факторов, влияющих на изменение объема производства продукции и на резервы ее дополнительного выпуска, представлена на рис. 10.
Алгоритм расчета влияния факторов на изменение объема производства приведен в табл. 7.
 |
Рис. 10. Классификация факторов, влияющих на изменение объема производства продукции и на резервы ее дополнительного выпуска |
Алгоритм расчета влияния факторов на изменение объема производства
|
Таблица 7 |
|
Формула |
Условное обозначение |
DVna = V - ?пл
DV0 - V - V
- v - VL
DVa.o = V1 - V1PC
Dv - ДплКт JWl
DVg. пл с с
Чтл CVl
DV - Д-Vo MV
DV Д.0 с С
W0 cVi
С V С V
DV ^кг пл ^к.пг 1
•^'^к.пл _ т/ П
V1 Ск1
DV С KiV0 - с K.oV
к0 Vi -Скі
DVQm - DVпл - (DV,пл +
+DVц.пл + DVк.пл )
DVQo - DV0 - (DVa.0 +
+DV,o + DVK.0 )
D - V Трб1 - Трбпл
Т рб.пл пл Т
рб.пл
D = V0 Трб1 - Трб-
Т рб.0 0 J1
1 рб.0
DVW - DVQ - DVT
у ср.пл =-пл рб.пл
DVW - D VQ - DVT
^ср.0 S' 0 рб .0 |
V — объем валовой продукции в оптовых ценах предприятий;
DV — изменение валовой продукции;
DVa — изменение объема товарной (валовой) продукции под влиянием структурного сдвига ассортимента;
V р — объем валовой продукции по средним ценам;
DVr — изменение объема продукции за счет изменения объема брака;
Д — потери от брака;
Cv — производственная себестоимость валовой (товарной) продукции;
DVк — изменение объема продукции за счет кооперированных поставок;
Ск — стоимость покупных изделий и полуфабрикатов (кооперированных поставок в неизменных ценах);
DVq — изменение объема производства под влиянием физического объема продукции;
DVТрб — изменение времени, отработанного рабочими;
Трб — общее число человеко-часов, отработанных всеми рабочими;
DVW ср — изменение среднечасовой производительности труда рабочих |
|
Примечание. Здесь и далее приняты обозначения: 1, пл, о — соответственно данные анализируемого, планового и базисного периодов.
В ходе решения задачи определяется общее изменение объема продукции путем сопоставления показателей планового и отчетного периодов:
DV = V - V ^‘пл Г1 гпл’
где ?пл, V. — объемы товарной (валовой) продукции в плановом и отчетном периодах, млн грн.
Изменение объема товарной (валовой) продукции под влиянием структурного сдвига ассортимента определяется по изменению средней оптовой цены между фактической стоимостью продукции и стоимостью ее в средних оптовых ценах:
DVa.ra = V1 ^ qi1 Ріпл,
i=1
где q. — фактический объем продукции определенной группы изделий, тыс. шт.; ріпл — средняя оптовая цена определенной группы изделий по плану, грн.; n — количество групп изделий.
Для определения изменения объема продукции за счет брака объем продукции по производственной себестоимости переводится в объем товарной продукции делением стоимости брака на затраты, приходящиеся на 1 грн продукции. Затем определяется разница между потерями товарной продукции от брака в сравниваемых периодах:
Дпл Д1
100,
DV =
д.пл
Ev
Ev
гдеД , Д. — потери от брака в плановом и отчетном периодах, тыс.
Ev
затраты на 1 грн товарной (валовой) продукции в
грн
?пл
плановом и отчетном периодах, грн. В общем случае
CV
V
Ev =-
где CV — производственная себестоимость товарной (валовой) продукции, млн грн.
Тогда
Дпл?пл - Д1?1
С? CV
?пл V1
DVT
Д.пл
Объем продукции за счет кооперированных поставок DVK вычисляется произведением объема товарной (валовой) продукции на удельный вес кооперированных поставок в неизменных ценах:
Yk1 ^к.пл
100 - Yk1 ’
DVk
= ?п
где Гкпл, Y — удельный вес кооперированных поставок в объеме товарной (валовой) продукции в плановом и отчетном периодах, %.
В общем случае
Yk = ,
к ?
где Ск — стоимость кооперированных поставок в неизменных ценах, млн грн.
После подстановки значений величин получим
СКІ?ПЛ Ск пл?1
к.плг 1
DV =
к.пл
кі
Изменение объема производства под влиянием физического объема продукции определяется разницей между общим изменением объема и изменениями, полученными за счет влияния объективных факторов:
DV&m = DVw - (DVa
а.пл + ^д.пл + D?к.пл ).
Физический объем продукции DVq изменяется за счет изменения времени, отработанного рабочими DVt , и определяется произведением объема товарной (валовой) продукции на коэффициент изменения отработанного рабочими времени:
Т — Т 1 рбі 1 рб.пл
Трб.пл
dv
= ?п
рб.пл
В зависимости от изменения среднечасовой производительности труда рабочих DVw ср объем продукции определяется разницей между общим изменением физического объема и изменением объема, полученным за счет отработанного рабочими времени:
dvw = dvq — dvt .
''''ср.пл і^пл Трб.пл
Размер резервов роста объема производства DVpe3 рассчитывается суммированием данных (с отрицательным знаком) по факторам их влияния за счет ликвидации нарушений планового ассортимента и улучшения структуры выпуска продукции; ликвидации или сокращения потерь от выпуска бракованной продукции; сокращения потерь от невыполнения плана производства.
Потенциальные (не учтенные в плане) резервы дополнительного выпуска товарной продукции обусловлены наличием возможностей более полного использования производственной мощности. Оценка потенциальных резервов роста объема производства определяется относительно фактического объема товарной (валовой) продукции, если план по ее выпуску выполнен, или относительно планового объема, если план не выполнен.
При невыполнении плана расчет потенциальных резервов за счет более полного использования производственной мощности определяется исходя из отклонения плановых объемов выпуска продукции отдельных номенклатурных групп от величин мощности по этим группам по проекту технического перевооружения объединения на соответствующий год в случае, если фактическая мощность объединения ниже проектной. В противном случае резервы рассчитывают относительно фактических ее значений исходя из данных баланса мощности.
Потенциальные резервы увеличения объема товарной (валовой) продукции вследствие более полного использования производственной мощности рассчитывают по формулам
Щм = МіпрКінм - Vil, если V > Vi (план не выполнен),
PViM = МлКн.м - ?а,
если ?пл < Vi (план выполнен). Здесь Міпр, Мп — среднегодовая производственная мощность по выпуску изделий і-й группы по проекту технического перевооружения и фактическая мощность в отчетном году, млн грн.; Кін м — нормативный коэффициент использования мощности при выпуске изделий і-й группы.
Нормативный коэффициент использования мощности для всех групп продукции принимается равным 0,95, за исключением товаров культурно-бытового назначения и хозяйственного обихода, услуг сельскому хозяйству и прочей продукции, для которых Кін м = 0,99.
Сумма потенциальных приростов объемов производства всех групп изделий за счет изменения степени использования производственной мощности дает величину изменения объема выпуска продук-
П
ции по объединению в целом: X Р?ім ¦
і
Анализу резервов роста объема производства должны предшествовать данные прогноза потребности (емкости рынка) в выпускаемой продукции и расчеты ожидаемой прибыли от реализации продукции. С учетом использования выявленных резервов размер прибыли должен обеспечивать функционирование предприятия в режиме самофинансирования, т. е. полного хозяйственного расчета.
1.6.2. Диагностика резервов повышения уровня фондоотдачи
В процессе диагностирования резервов роста фондоотдачи оценивается использование промышленно-производственных основных фондов, выявляются факторы, обусловившие изменение уровня фондоотдачи, и определяются резервы ее роста. Классификация факторов, влияющих на изменение показателя фондоотдачи, приведена на рис. 11.
Абсолютное изменение уровня фондоотдачи под влиянием изменения объема производства без учета воздействия промышленно-производственных основных фондов определяется отношением прироста (уменьшения) объема продукции к среднегодовой стоимости промышленно-производственных основных фондов:
DF^ = (DVaa / Фпл)-100.
Изменение фондоотдачи под влиянием промышленно-производственных основных фондов и объема производства исчисляется произведением фактического уровня фондоотдачи в анализируемом периоде на изменение среднегодовой стоимости промышленно-производственных основных фондов:
^срлл = Fb1 [пл -Ф1)/Фпл]¦
Аналогично определяется изменение фондоотдачи под влиянием активной части основных фондов.
Выявленные в ходе решения задачи возможности увеличения объема выпуска продукции за счет улучшения использования промышленно-производственных основных фондов составляют резервы повышения фондоотдачи. Возможный рост фондоотдачи определяется отношением резервов роста объема продукции к стоимости промышленно-про-
 |
5
О
О |
изводственных основных фондов за вычетом стоимости излишнего оборудования:
Щ,рез = [О?рез Кф - фИзЛ )] • 100.
Алгоритм расчета влияния факторов на изменение фондоотдачи представлен в табл. 8.
Алгоритм расчета влияния факторов на изменение фондоотдачи
|
Таблица 8 |
|
Формула |
Условное обозначение |
^в.пл = Fb1 - ^в.пл
DFb.o = Fb1 - Fb.o
DFv - DVn • 100
?пл Фпл
DFv - DVo- • 100
?о Фо
df - ф^ • 100
апЛ Фпл
DFa о - DV0 • 100 а'° Фо
df.дпл - DVд¦пЛ • 100
д-пл ф
^пл
DFg° - DVg-° • 100
д.° ф°
DFk-пл - • 100
пл
DFk.° - ф- • 100
DVq
DFn - ^пл • 100
Йпл Фпл
DVq
DFq - 40 • 100
Qo Фо |
FB — фондоотдача;
Ф — среднегодовая стоимость промышленно-производственных основных фондов;
D Vа — изменение объема производства за счет структурного сдвига;
DVr — то же, за счет величины брака;
DVк — то же, за счет кооперированных поставок;
DVq — то же, за счет физического объема производства;
DVt — то же, за счет времени, отрабо-
Трб
танного рабочими;
DV^cp — то же, за счет среднечасовой производительности труда;
Факт — среднегодовая стоимость активной части основных фондов;
DVpeз — резервы увеличения объема валовой продукции;
Физл — средняя стоимость излишнего оборудования;
DFвi — полученные в процентах отклонения фондоотдачи по факторам |
|
|
Формула |
Условное обозначение |
DVT б
DFT = р -100
Трб.пл фш
DVT б
DFT - р -100
Т рб.о Фо
DVw
DFW - српл -100
''''ср.пл ф
пл
DVwcv о
DFW = ° -100
''ср.о Фо
— F F ФПЛ ~Ф\
—^ср.пл Fb1 ф
пл
-F = F Фо-Ф1
-^ср.о Fb1 ф
о
— f f Факт.пл— Факт.1
•^^акт.пл _ ^"в1 ф
пл
гм7 і7 Факт.о— Факт.1
—Лжт.р = Fb1 ф
о
DK,e3
DFB = р -100
B .ре3 Ф1 - Физм
DFB і пл = -100
пл
DF -
DFb¦ і о = -F^ -100
¦'’в.о |
|
Величину потенциальных резервов повышения фондоотдачи определяют делением значения потенциальных резервов дополнительного выпуска товарной продукции на фактическую среднегодовую стоимость производственных фондов:
PF = (PV / Ф1)-100,
где PV — потенциальные резервы дополнительного роста объема товарной продукции, тыс. грн.; Ф1 — фактическая среднегодовая стоимость промышленно-производственных основных фондов, млн грн.
Прирост фондоотдачи в результате улучшения использования производственной мощности определяется по формуле
PFm = (Р?м /Фі)-100,
а потенциально возможный уровень фондоотдачи
FpB = F1 + Mf + PF >
где F1 — фактический уровень фондоотдачи, грн.; Др — неиспользованные, предусмотренные планом резервы роста фондоотдачи, грн.; PF — потенциальные резервы повышения фондоотдачи, грн.
1.6.3. Анализ резервов роста производительности труда и средств на его оплату
В процессе диагностирования резервов роста производительности труда оценивается работа объединений (предприятий) по повышению производительности труда, определяется влияние основных факторов, обусловивших отклонение этого показателя от намеченного уровня, устанавливаются резервы повышения производительности труда и разрабатываются мероприятия по их использованию. Классификация факторов, влияющих на изменение производительности труда, приведена на рис. 12.
Влияние факторов на рост производительности труда учитывается показателем условного высвобождения численности работающих, который определяется разницей между фактической и условной численностью промышленно-производственного персонала:
DLWl — L1 — -^и.пл,
где L1 — среднесписочная численность промышленно-производственного персонала в отчетном периоде, чел.; Ьи.ал —103 V / WV — условная (исходная) численность промышленно-производственного персонала при плановой выработке, чел.; Wv — среднегодовая выработка на одного работающего по товарной (валовой) продукции по плану, грн.
После подстановки значений величин получим Біпл — L - (V1/ WVnR) -103.
<D «3
к п В м ,
fsifi
д нр & н О |
|
Изменение среднегодовой выработки одного работающего |  |
щр
и

 |
Рис. 12. Классификация факторов, влияющих на изменение производительности труда |
Изменение ассортимента выпускаемой продукции рассчитывают по формуле
Y - Y
^ср.пл ^т.пл
Y
-1 т тттт
DL
Lи.пл dp61,
а.пл
где Y пл — средняя удельная трудоемкость, приходящаяся на 1 млн грн валовой продукции и исчисленная исходя из плановой трудоемкости, фактического и планового объемов выпуска продукции, нормо-ч; Y — удельная трудоемкость на 1 тыс. грн валовой продукции по плану, нормо-ч; dp61 = Lp /Lj — удельный вес рабочих в численности промышленно-производственного персонала в отчетном периоде; Lp — численность рабочих в отчетном периоде, чел.;
4,пл = Vi/ Wyini) -103.
Подставив значения величин, получим
?^ср.пл - YT.nn) a03
DLa
Wv L 9Yt
21 т.пл
Изменение доли покупных полуфабрикатов и кооперированных поставок определяется произведением условной (исходной) численности на изменение удельного веса покупных полуфабрикатов и кооперированных поставок (последние исчисляются в неизменных ценах):
ш = г 4™ Y
ТТТТ -
к1
100 - YK
Алгоритм расчета влияния факторов на изменение производительности труда представлен в табл. 9.
В процессе анализа резервов экономии средств на заработную плату оценивается использование суммы средств на оплату труда, выявляются факторы, влияющие на ее изменение, определяются резервы экономии заработной платы. Классификация факторов, влияющих на изменение средств на оплату труда, приведена на рис. 13.
В ходе решения задачи определяются также направления снижения затрат на заработную плату и улучшение использования средств на оплату труда. В состав задачи входят: а) анализ абсолютного и относительного отклонений общей суммы фактически затраченных денежных средств на заработную плату от запланированной и базисной;
Алгоритм расчета влияния факторов на изменение производительности труда
75
|
Формула |
Условное обозначение |
V 3
^ 1 - W -10
^пл
DLO = L —— ¦ 103
WVo
VL (?л - П.пл ) 3
DLO — 1 ¦ 103
W LY
^?пл ^С.пл
VL (Ycp.o - Yt.o ) 3
DL.d.a =—--10
WV0 L1Yt.o
С V - С 1V 3
DL — к-пл 1 к1 пл 1o3
КПл W?пл (^ - Ск.пл )
DLK0 — ^ -Ск 1Vo ¦ 103
WV0 (Vo - Ск.о )
DLт.у.пл — LT.y1 ¦^т.у.пл
DLT.y.O — LT.y1 LT.y.O
DLT.ra — LT -^т.пл
DLt.o — Lt1 Lt.o |
L — среднесписочная численность промышленно-производственного персонала;
Wv — среднегодовая выработка продукции на одного работающего по товарной (валовой) продукции;
Lp — численность рабочих;
Усрпл — средняя удельная трудоемкость на 1 млн грн валовой продукции, исчисленная исходя из плановой трудоемкости, фактического и планового объема выпуска валовой продукции;
Гсро — та же, исчисленная исходя из трудоемкости в базисном периоде и фактического выпуска продукции в базисном и анализируемом периодах;
Ут — удельная трудоемкость на 1 млн грн валовой продукции;
Ск — стоимость покупных изделий и полуфабрикатов (кооперированных поставок) в неизменных ценах;
L — количество работников, относительно высвобожденных в результате внедрения новой техники;
LT — то же, в результате мероприятий по научной организации труда;
Трб — общее количество человеко-часов, отработанных всеми промышленно-производственными рабочими; |
76
Формула
DLL
<тр6і L
V1 ¦ 10 Wv
DLL
{Трб.оL - W? )L1
V ¦ 10
- + DL о + DL
L;Tp6iLi
Wv
'а.о к.о
Условное обозначение
\ Тс — время, отработанное рабочим сверхурочно;
Іу — индекс роста объема валовой продукции;
' IL — индекс роста численности персонала без рабочих;
DLi — относительное высвобождение численности работающих по факторам;
DWvri — полученные в процентах отклонения среднегодовой выработки на одного работающего по факторам
DL пл =
[Ти.пл4л (Тн1 L - Tc1 L - Трб1 ¦ 103 )--ТнА (Тнпл С -Ти.пл іПл -Трб.пл 103 )] L1
,(гС1 L + Трб1 ¦ 10J
хр51
wVn

78
Формула
Условное обозначение
9 1+SisnDLiujl
dl - У gn dl-
-^-^рез.пл ^ 0 -ь'-ьгпл
i-2 2
іф6
9 1-S DW-
D^L, пл - У ign„ іпл DWL
9 1—S- DW¦
s—I 1 rr 1П
DWy - У
-DW-п
рез пл i-2 2
іф6
. DL-пл „ DL-o
Li
DW,' -—SIL. 100; DW? — —r° ¦ 100
DW[x!JWy DWW
DW,„l --іпЛ-упЛ-; DW. - - Vo
100
100
 |
|
Рис. 13. Классификация факторов, влияющих на изменение средств на оплату труда |
б) выявление изменений в структуре этих средств по направлениям их использования; в) определение отклонений в размере и структуре средней заработной платы по основным категориям работающих; г) определение отклонений в темпах снижения затрат на оплату труда на единицу продукции; д) выявление резервов экономии средств на оплату труда.
Использование средств на заработную плату промышленно-производственного персонала характеризуется показателями абсолютного и относительного отклонений от плана. Для определения показателя абсолютного отклонения средств на оплату труда от плана необходимо сопоставить фактическую и плановую суммы. Превышение суммы означает абсолютный перерасход, а ее уменьшение — наличие абсолютной экономии.
При решении задачи выявляется влияние изменения структуры и численности промышленно-производственного персонала, а также рост заработной платы одного работающего.
Изменение средств на оплату труда за счет изменения численности промышленно-производственного персонала определяется умножением заработной платы одного работающего на отклонение в численности персонала:
П\л = Зпл ! Аш (L1 — Аш X
где Зпл — средства на оплату труда промышленно-производственного персонала по плану, млн грн.; Ьпл, L1 — среднесписочная численность промышленно-производственного персонала в плановом и отчетном периодах, чел.
Аналогично определяется отклонение общей суммы средств на оплату труда за счет изменений численности основных категорий работающих. Изменение общей суммы за счет роста средней заработной платы одного работающего исчисляется разницей между общим отклонением и отклонением за счет изменения численности персонала:
Щ.пл = оЗпл— озЦш.
По аналогичным формулам рассчитывается изменение общей суммы за счет изменения уровня заработной платы отдельных категорий работающих.
Изменение суммы средств на заработную плату с учетом корректировки по показателю, принятому при выдаче средств на зарплату, определяется разницей между фактической суммой средств за отчетный период и плановой, скорректированной на рост объема производства:
-^^з.пл ^ск.пл-
Затраты заработной платы на 1 грн товарной (валовой) продукции анализируются по темпам изменения по сравнению с базисными затратами; их снижение создает условную экономию суммы средств, которая определяется разницей между условными суммами:
ПЗу.пл = (Зпл / ?пл )V — (Зпл / Аш ) к-
Полученная условная экономия средств на оплату труда используется для повышения заработной платы работающих, а также служит источником снижения себестоимости продукции. Первая определяется вычитанием из фактической суммы средств на оплату труда отчетного периода условной суммы, рассчитанной по плановому уровню заработной платы и фактической численности персонала:
ПЗ3.у.пл = З1 — (Зпл ( -Ал )31-
Разница между общей суммой условной экономии и суммой, используемой на повышение заработной платы, является резервом снижения себестоимости. Резерв экономии средств на оплату труда определяется исходя из выявленных возможностей роста объема продукции и высвобождения работающих.
Алгоритм расчета влияния факторов на изменение средств, направляемых на оплату труда, представлен в табл. 10.
Таблица 10
Алгоритм расчета влияния факторов на изменение средств, направляемых на оплату труда
|
Формула |
Условное обозначение |
?Зпл = З - Зпл
D30 — З - З0
З
D\л = f- (L - L™ )
-^пл
d3l0 = L (L1 - L0)
L0
D3L = — (L - lL )
гр.пл L пл'
гпл
D3Lp — — (L - LL0)
L .0 L 1 0
L0
3
D3 — ИТРпл (L L )
D3LиТРпл г ^ГИТР1 ГИТРпл)
LИТРпл
D3LmP0 — L (ГИТР1 LИТРо)
ГШТ0
D3r — D3r -
п . пл пл
-Dr + D3r )
\ гр.пл гИТРпл j
DK, — D3L0 -
-(D3r + D3r )
\ Lp.0 гИТР0 /
Щ.пл — D3пл - D3Lm
D33.0 — D30 - D3L0 |
З — сумма средств на оплату труда промышленно-производственного
персонала;
Зр — сумма средств на оплату труда рабочих;
ЗИТр — сумма средств на оплату труда инженерно-технических работников;
^ТР — численность инженерно-технических работников;
L — численность персонала без ИТР;
D33 — изменение средств на оплату труда промышленно-производственного персонала за счет изменения заработной платы одного работающего;
DЗзр — то же, рабочего;
DЗз ИТР — то же, инженерно-технического работника;
DЗзПр — то же, персонала без ИТР;
DЗр — изменение средств на оплату труда рабочих;
D3 — изменение средств на оплату
труда ИТР;
D3n^ — изменение средств на оплату труда персонала без ИТР;
Зскпл — сумма средств на оплату, скорректированная по показателю,
принятому при контроле выдачи средств на заработную плату;
Зу — условная экономия заработной платы за счет снижения затрат заработной платы на 1 грн валовой продукции; |
|
Формула |
Условное обозначение |
Щрпл = D3p.nn - ^
D\p, = D3P.0 - D\0
^ИТРпл = (иТРпл - ^иТРпл )
D33 =(D3VTPo - D3j )
ЗИТРо V ИТРо LHTPo /
D3 = |D3 - D3 |
^з.пр.пл ^-^пр.т ^^пр.пл /
D33.np.o = ((.o - D\v.0 )
(Зпр = 3 - 3P - 3ИТР Lo1
D33 = 31 - Зск.пл
3 3
D3 = пл V__2L j
D3улл V V1 L L
?пл -^пл
3o 3o
D3y.o=f11 - V1 J
o o
D33V,^ = 3 - Lj
j пл
D3y.o = 3i - J- Lj
jo
D3 = D3 - D3
-^¦^п.у.пл -^^у.пл -^^з.у.пл
D3-
D3'im = ^ ¦ 100
пл
D3-
D3'o = -30 ¦ 100
Jo
Зпл
D3 = пл Dj
D'3wpeз.пл Jjj DLPe3.™
3
D3 = — DJ
D3wpe3.o V0 DLPe3.0
Зпл
D3 = пл DV
?рез.пл V Ре3пл
пл |
D3t — полученные в процентах отклонения по факторам;
DLpe3 — выявленный резерв высвобождения численности работников;
DVрeз — выявленный резерв роста объема производства продукции |
1.6.4. Диагностика резервов снижения себестоимости продукции
В процессе диагностики резервов снижения себестоимости продукции оценивается выполнение плана снижения себестоимости; выявляются факторы, влияющие на отклонение фактической себестоимости от плановой и сложившейся в базисном периоде; разрабатываются мероприятия по мобилизации резервов.
Классификация факторов, влияющих на изменение показателя затрат на 1 грн товарной продукции, приведена на рис. 14; схема изменения полной себестоимости по статьям затрат — на рис. 15.
 |
|
Рис. 14. Классификация факторов, влияющих на изменение показателя затрат на 1 грн товарной продукции |
Снижение затрат зависит от таких факторов, как оптовые цены на продукцию, структура и ассортимент выпущенной товарной продукции, уровень себестоимости отдельных изделий. В свою очередь снижение себестоимости по статьям затрат зависит от изменения цен на
|
Изменение полной себестоимости товарной продукции |  |
Рис. 15. Изменение полной себестоимости товарной продукции и определение резервов ее снижения |
сырье, материалы, топливо, покупные изделия и полуфабрикаты; тарифов на энергию и грузовые перевозки; затрат по отдельным статьям себестоимости. Общее изменение уровня затрат на 1 грн товарной продукции определяется сопоставлением этих показателей в сравниваемых периодах:
DEnn = E1 - Кпл >
где Е , Е1 — затраты на 1 грн товарной продукции в плановом и отчетном периодах.
Абсолютная сумма отклонения себестоимости исчисляется произведением полученного отклонения на объем Q™ товарной продукции отчетного года в оптовых ценах, принятых в плане:
D^ = DK^Qr /100.
Аналогично определяются отклонения себестоимости товарной продукции из-за изменения оптовых цен на продукцию, структурного сдвига ассортимента продукции и собственно затрат.
Изменение уровня затрат под влиянием оптовых цен на продукцию рассчитывается разницей между фактическими затратами Е1 на 1 грн товарной продукции в действующих ценах и фактической себестоимостью Ср отнесенной к фактическому выпуску товарной продукции в плановых ценах:
DKp^ = Ki (Сі-100/Qf“).
Влияние структурных сдвигов ассортимента продукции учитывается разницей затрат на 1 грн фактического выпуска товарной продукции (по плану, пересчитанному на фактический выпуск и ассортимент продукции) и затрат на 1 грн товарной продукции по утвержденному плану:
DF = Кпл - F
-^-^а.пл М -^пл-
Изменение уровня затрат под влиянием себестоимости отдельных видов продукции определяется отношением разницы между фактической себестоимостью продукции и себестоимостью фактического выпуска (по плановой себестоимости С™) к фактическому объему товарной продукции в плановых ценах:
DF = -‘-'^с.пл
( -С1пл )-100
Изменение себестоимости за счет относительного уменьшения условно-постоянных расходов определяется разницей между условнопостоянными расходами, отнесенными на себестоимость продукции в отчетном году, и аналогичными расходами предыдущего года, скорректированными на индекс роста объема товарной продукции без учета изменения оптовых цен:
ВСупл = СуК - Суо К0 ( / бпл ),
где Су о, Су1 — условно-постоянные расходы в базисном и отчетном периодах, тыс. грн.; К , К1 — коэффициенты, учитывающие сумму расходов по обслуживанию производства и управлению, относимую на себестоимость товарной продукции.
Аналогично рассчитывается изменение уровня затрат за счет относительной экономии амортизационных отчислений:
ВСо.апл = АХК - АплКо ( /бпл ),
где Апл, А1 — амортизационные отчисления в плановом и отчетном периодах, млн грн.
Влияние отраслевых и прочих факторов на изменение себестоимости определяется разницей между общим изменением себестоимости товарной продукции и суммой выявленных изменений под влиянием перечисленных факторов с выделением влияния произведенного в установленном порядке изменения цен на сырье, материалы, топливо, покупные полуфабрикаты, тарифов на энергию и грузовые перевозки.
Алгоритм расчета влияния факторов на изменение затрат на 1 грн товарной продукции представлен в табл. 11.
Таблица 11
Алгоритм расчета влияния факторов на изменение затрат на 1 грн товарной продукции |
|
Формула |
Условное обозначение |
|
ВЕпл = Е1 - Епл |
Е — затраты на 1 грн товарной продук- |
|
ВЕо = Е1 - Ео |
ции; |
QHJI
ВСпл = ВЕпл Too" |
т-.пл
Еі — то же, по плану, пересчитанному
на фактический выпуск и ассортимент; |
|
|
Формула |
Условное обозначение |
|
DCo = DEo -Q- |
DE — изменение затрат на 1 грн товар- |
|
0 0 100 |
ной продукции, исключая влияние |
|
DEnT_ = E1 —С_ • 100 |
оптовых цен; |
|
р.пл 1 qit_ |
|
|
С |
21п_ — товарная продукция отчетного |
|
DEpo = E,--О • 100 |
|
|
р.° 1 Q° |
года в оптовых ценах предприятий, |
Опл
DCp п_ = DEp п_ — |
принятых в плане; |
|
|
|
р.п_ рл_ 100 |
0 |
2 °
DC р ° = DE„ ° — р . ° р . ° 100 |
Q1 — то же, в оптовых ценах предыдуще- |
|
го года; |
|
DE = E™ - E |
С — себестоимость всей фактически |
|
|
С °
DEa° = — • 100 - E° |
выпущенной товарной продукции; |
|
|
а.° о °
Q1 |
C™— то же, по плановой себестоимости |
2пл
DC = DE |
года; |
|
а пл а пл 100 |
|
|
DC ° = DEа ° Q- |
C10 — себестоимость сравнимой товарной |
|
а° а° 100 |
продукции по среднегодовой себестои- |
|
С. - С.™ |
мости предыдущего года в сумме с |
|
DEс.п_ = ‘1 • 100 |
фактической себестоимостью несравни- |
|
21 |
мой товарной продукции; |
С1 - С°
DEc . о = Q 0 ^ '10°
21 |
C — величина влияния на себестоимость
т |
|
внедрения в отчетном году мероприятий |
2пл
DCc п_ = DEC п_ — |
по повышению технического уровня |
|
производства; |
|
|
|
2°
DCc ° = DEC ° — с.° 100 |
Стп — переходящая экономия от внедре- |
|
ния этих мероприятий в предыдущем |
|
DEп_ = DE.п_ - DErt п_ |
году; |
|
|
|
пл пл р.пл |
Соп — величина влияния на себестои- |
|
DE° = DE° - D^.° |
мость внедрения в отчетном году |
|
D^_ = DCп_ - ^р.п_ |
мероприятий по совершенствованию организации производства и труда; |
|
DС°р = DСо - DСр.о |
Св о п — переходящая экономия от |
|
|
внедрения этих мероприятий в предыду- |
|
|
щем году; |
|
DC =С. +С |
|
|
|
Д — потери от брака; |
|
Формула |
Условное обозначение |
DC - С + С - С +
•^^о.п.пл ^о.п1 ~ ^в.о.п ^о.п.пл ~
+ВДо + °Дн.о
DCо.п.о - Со.п1 + Св.о.п + ВДо + DДн.о ВДпл - Д\ - Дпл
D Д о - Д1 - Д о
ВДн.пл - Дні
ВДн.о - Дні - Дн.о
ВСQ - Е^у.пл + DCоапл
пл
ВСво - ЕСу.о + ^о.ао
опл
ЕСу.пл - Су1 К1 - Су.оКо Q-^у.о - Су1К1 - Су.оКо Оо
К1 -(С31 + Су1 + Сор.1 ) Соб.1
Ко - (Сз.о + Су.о + Сор.о )Соб.о
^о.а.пл - А1К1 - Ал Ко
пл
^о.ао - А1К1 - АоКо іо
DC - С + DC
-^^от.пл Т1-Л“'п.ф.пл
ЕСот.о - Си.п + ЕСп.ф.о
^п.ф.пл - DC - ЕСт.пл - ^о.п.пл -
^йпл - Си
ЕСп.ф .о - DCa - ВСт.о - ЕС6о - Си.п
DC
БС' - ,ІШ • 100
і пл пл
С1
DC-
ОС'о - • 100
Со |
Дн — непроизводительные расходы;
DCq — изменение себестоимости за счет роста объема производства;
Су — условно-постоянные расходы;
А{ — амортизационные отчисления в отчетном периоде;
DC — изменение себестоимости за
от
счет изменения отраслевых и прочих факторов;
DСпф — то же, за счет прочих факторов;
Си — величина влияния на себестоимость товарной продукции изменения цен и тарифов по сравнению с планом;
Си п — то же, по сравнению с предыдущим годом;
DСі — полученные в процентах отклонения по факторам |
Анализ полной себестоимости Сп товарной продукции производится по группам статей расходов, объединенных по однородности направления затрат: материальные затраты с выделением влияния изменений цен и тарифов на грузовые перевозки; трудовые затраты; расходы по обслуживанию производства и управлению, в том числе условно-постоянные, из них — экономия от сокращения расходов на содержание аппарата управления; непроизводительные расходы, амортизационные отчисления; расходы на подготовку и освоение производства; прочие расходы (из них потери от брака); внепроизвод-ственные расходы.
Отклонение себестоимости от плана по каждой группе затрат определяется разницей между фактической себестоимостью товарной продукции отчетного года и плановой себестоимостью фактически выпущенной товарной продукции. Отклонение от базисного периода определяется через затраты на 1 грн товарной продукции. Следует иметь в виду, что исчисленное таким образом отклонение содержит в себе структурный сдвиг ассортимента продукции.
Для общей оценки работы объединения (предприятия) рассчитывается показатель относительной экономии материальных затрат (без амортизационных отчислений), определяемый разницей между фактическими и базисными удельными материальными затратами на 1 грн товарной продукции, умноженной на объем товарной продукции в оптовых ценах предприятий отчетного периода.
Резервы снижения себестоимости товарной продукции исчисляются по статьям затрат и в виде неиспользованных возможностей по мероприятиям повышения эффективности производства:
DC = DC + DC -^^рез.пл -^^с.ф.пл "г-^^н.в.пл’
где DCc ф пл — снижение собственно затрат (по статьям расходов по сравнению с планом), млн грн.; DCK в пл — недоиспользование возможности снижения себестоимости продукции, млн грн.
Величина резервов по статьям затрат определяется суммированием результатов с положительным знаком по следующим факторам влияния за счет:
а) сокращения нерациональных расходов материальных ресурсов и уровня транспортно-заготовительных расходов
DC = DC0 - DC
-^^м.т.пл -^^м.пл
где CM.^ = См - C0TX + Cm + CB — материальные затраты в отчетном периоде, млн грн.; См, Спк, Св — затраты на сырье и основные материалы, покупные изделия (полуфабрикаты) и услуги сторонних предприятий, вспомогательные материалы, млн грн.; Сотх — стоимость возвратных отходов, млн грн.; Си — величина изменения цен на сырье, материалы, топливо, покупные полуфабрикаты, тарифов на энергию и грузовые перевозки;
б) устранения непроизводительного использования средств на оплату труда
DC — DC — DC ^^з.пл ^^зі ^ ^З.ПЛ’
где Сзі — Сз.п + Сд + Сст — трудовые затраты в отчетном периоде, млн грн.; Сз п, Сд — основная и дополнительная заработная плата производственных рабочих, млн грн.; Сст — отчисления на социальное страхование, млн грн.;
в) устранения непроизводительных расходов
ВДн.пл — Дні,
где Д — непроизводительные расходы в отчетном периоде, млн грн.;
г) сокращения потерь от брака
DДпл.б — Ді — Дпл,
где Дпл, Д1 — потери от брака в плановом и отчетном периодах, млн грн.;
д) устранения перерасхода внепроизводственных затрат
Щу.пл — DCвн.пл — Свн1,
где свн пл, Свн1 — внепроизводственные расходы в плановом и отчетном периодах, млн грн.
К недоиспользованным возможностям снижения себестоимости относится экономия условно-постоянных расходов Сэ у пл в связи с выявленными резервами роста объема производства ^^ез.пл, а также недоиспользованная экономия Сэ п от внедрения мероприятий по повышению технического уровня и совершенствованию организации производства и труда:
DC — DC + DC
^^н.в.пл ^^э.у.пл ^ ^^э.п >
где ¦DC3.y.ra — ^і^^еЗ.пл /100; ?>Сэ.п — Ст.п + Св.о.п.
Алгоритм расчета изменения полной себестоимости товарной продукции по статьям затрат представлен в табл. 12.
Таблица 12
Алгоритм расчета изменения полной себестоимости товарной продукции
по статьям затрат
|
Формула |
Условное обозначение |
DC - C - C
-^^-п.пл '-'пі '-'п.пл
DCno - Cni - Cn.0 Q-
DMпл - Мі - M„л
DM о - Мі - М о Q
М — (м — Сот х + Спк + Св )пл.0.1
DC - DC0 — С
^'^'м.т.пл ^"''м ^и
DCM.T.0 - DCa.0 - Си.п
D3пл - Зі - Зпл
D3o - 3 - Зо f
з - (зп + Зд + Сст )
V з.п Д ст ' пл.о.і
DBw - Ві - Впл
О°
°Во - Ві - Во Q
В -(C3 - Сц +Со.р )пл.о.і
опл
^у.пл - Cу1 Кі - Су.о Ко От
DC^ - CyK - Cy, Ко О
Кі - (Cз1 + Суі + Со.рі ) Вобі |
Сп — полная себестоимость товарной продукции;
Qo — товарная продукция в оптовых ценах предприятия;
Сотх — стоимость возвратных отходов;
См — затраты на сырье и основные материалы;
М — материальные затраты;
СПк — то же, на покупные изделия, полуфабрикаты и услуги сторонних предприятий и организаций;
Св — то же, на вспомогательные материалы;
Си — величина изменения цен и тарифов по сравнению с планом;
Си п — то же, по сравнению с предыдущим годом;
З3п — заработная плата основных производственных рабочих;
Зд — то же, дополнительная;
Сст — отчисления на социальное страхование;
В — расходы на обслуживание производства и управления;
Сэ — расходы на содержание и эксплуатацию оборудования;
Сц — цеховые расходы;
Сор — общезаводские расходы;
Су — условно-постоянные расходы; |
|
Формула |
Условное обозначение |
Ко = (.о + Су.о + Со.р.о) Воб.о
ПЭ — Э - Э
•^"^а.у.пл '-'а.уі '-'а.у.пл
ПЭ — Э - Э
±у'-уа.у.о '-'а.уі -'а.у.о
опл
ПСо.а.пл — АКі - АлКо ОТ
Ь^пл
ПСо.а.о - АіКі - АоКо I
ПДн.пл — Дні
ПДн.о — Дні - Дн.о
ПС — C - С
п.о.пл ^п.оі ^п.о.пл
оо
ПС — C - С -=L
-ЬА~'П.о.о ^п.оі ^п.о.о О
ПГпл — Гі - Гпл
о
ПГо — Г - Го Q
Г — (d + Гпп )
п. п пл.о .і
ПДп — Ді - Дпл
ЕД о — Д і - Д о
ПС — C - С
-^^из.пл ^изі ^из.пл
о0
•^^-из.о ^изі ^"из.о О
ПС — C - С
•ЬА-п.з.пл ^п.зі ^"п.з.пл
оо
ПС — C - С
^-л“'п.з.о ''-'п.зі '“'п.з.о о |
Эа у — экономия от сокращения расходов на содержание аппарата управления;
Д — потери от брака;
Дн — непроизводительные расходы;
Сп о — расходы на подготовку и освоение производства;
Гп п — прочие производственные расходы;
Сиз — величина возмещения износа малоценных и быстроизнашивающихся инструментов и приспособлений целевого назначения и прочие расходы;
Спз — повышенные затраты, списанные за счет фонда освоения новой техники;
Спр — производственная себестоимость товарной продукции;
Свн — внепроизводственные расходы;
М' — материальные затраты на производство;
Ссф — резервы снижения себестоимости по статьям затрат;
Снв — недоиспользованные возможности снижения себестоимости;
DCf — изменение себестоимости по факторам (статьям затрат);
СЭу — экономия на условно-постоянных расходах в связи с ростом объема производства;
Сэ п — переходящая экономия от внедрения мероприятий по повышению технического уровня производства и улучшению организации производства и труда; |
Формула
DC — C - С -^^пр.пл '"¦'плі ^пр.пл
О0
DC — C — С
-^^пр.о '-'прі '-'пр.о о
DC — C - C
^-л“'вн.пл ^-вн1 '-'вн.пл
О0
DC — C — С =2-
-^^вн.о '-'вні '-'вн.о о
DM о — Мі- М о О0
ПГ — DD А- DD -^^рез.пл -^^с.ф.пл ^-^^н.в.пл
17 1+?. DC-
П/-, _ ^ L~^-,lg^^^^пл
DC с.ф.пл — ^ ~
/=4,6,8,12,14,15,16 2
DCiT1
Условное обозначение
-DV/рез.пл — полученный в процентах резерв роста объемов производства;
DC' — полученные в процентах
отклонения себестоимости по факторам (статьям затрат)
DC = DC + DC
-^^н.в.пл -^^э.у.пл ^^^э.п
DC„
^у^^резх
100
DC — C + C
-^^¦э.п ^т.п т '“'в.о.п
DC
DC'TT„ /пл • 100
/пл C™
DC
DC/о — —-/о • 100
1.6.5. Анализ резервов увеличения прибыли
В процессе анализа определяется влияние факторов на отклонение фактического показателя от запланированного и сложившегося в базисном периоде, а также выявляются резервы роста прибыли. Классификация факторов, влияющих на изменение прибыли, приведена на рис. 16.
Решение задачи дает возможность определить степень воздействия на балансовую прибыль прибыли от реализации товарной продукции, прибыли (убытка) от прочей реализации и оказания услуг непромышленного характера, результатов от внереализационных операций, разницы в ценах и тарифах на топливо и теплоэнергию, отпущенных для отопления и водоснабжения жилых домов.
Величина влияния на балансовую прибыль DPg изменений прибыли от реализации товарной продукции DPR, прибыли (убытков) от прочей реализации DP^ и результатов от внереализационных операций DPa о определяется разницей между суммой фактически полученной прибыли и предусмотренной в плане или сложившейся в базисном периоде.
В ходе решения задачи выявляется степень влияния на рост прибыли от реализации изменения остатков нереализованной готовой продукции, прибыли от выпуска товарной продукции и разницы между действующими оптовыми ценами предприятия и ценами реализации.
Общее изменение прибыли от выпуска товарной продукции DP состоит из отклонений прибыли за счет изменения объема товарной продукции DPq, себестоимости продукции DPc, структурного сдвига ассортимента DPa и изменения оптовых цен на произведенную товарную продукцию DPр.
Величина влияния на размер прибыли изменения объема выпуска товарной продукции исчисляется произведением плановой (базовой) прибыли, приходящейся на 1 грн товарной продукции, и разницы между фактическим и плановым (базисным) объемом товарной продукции:

где 2пл — товарная продукция в оптовых ценах предприятий по плану, млн грн.; 0й — товарная продукция отчетного года в принятых в плане оптовых ценах предприятий, млн грн.
 |
16. Классификация факторов. |
=2
Из полученного изменения прибыли выделяется часть, отражающая величину прибыли от влияния объема продукции, полученного за счет изменения численности промышленно-производственного персонала, роста производительности труда в целом и за счет факторов изменения структуры производства продукции, повышения технического уровня производства, совершенствования управления, организации производства и труда, изменения объема производства и прочих факторов.
Влияние на прибыль изменения себестоимости определяется разницей между себестоимостью фактического выпуска, исчисленной по плановой себестоимости, и фактической себестоимостью отчетного периода:
dpc = cf1 - q.
Произведение фактически выпущенной товарной продукции Q^1 в планируемых ценах и разницы между условной прибылью р™ , приходящейся на 1 грн товарной продукции и рассчитанной по плановым ценам на фактический выпуск и ассортимент, и планируемой прибылью Рпл от выпуска товарной продукции, приходящейся на 1 грн товарной продукции по плану, определяет изменение прибыли структурного сдвига и ассортимента:
Подставив значения величин Ріпл = Q™ - cf11 и Рпл = бпл - Спл, получим
бпл
DPa = Спл б- - С{,Л.
бпл
Величина изменения оптовых цен определяется разницей между стоимостью фактически выпущенной товарной продукции в оптовых ценах, действующих в отчетном году, и стоимостью в планируемых оптовых ценах:
DPp = б - бГ.
Резервы возможности роста прибыли (рис. 17) рассчитываются исходя из увеличения выпуска и реализации продукции, снижения ее себестоимости и ликвидации различного рода непроизводительных расходов и потерь.

Рост прибыли за счет резервов роста выпуска продукции определяется произведением прироста объема производства на плановую рентабельность продукции, исчисленную как отношение планируемой прибыли к полной себестоимости (табл. 13):
ПР — DV Qпл Спл ПPpезQ П? рез с '
спл
Алгоритм расчета влияния факторов на изменение прибыли
|
Таблица 13 |
|
Формула |
Условное обозначение |
ВРб.пл — Рб1 - Рб.пл
ПРб.о — Рб1 - рб.о
ПРпл — PR1 - РДпл
DPRo — PR1 - PRo
DP — Р - Р
пр.пл пр1 пр.пл
DP — Р - Р
пр.о пр1 пр.о
ПР — Р - Р
в.о.пл в.о1 в.о.пл
ПЦ пл — Ц - Цпл
ВЦ о — Ц1 - Ц о
ПР — Р - Р
н.пл н1 н.пл
ПРн.о — Рн1 - Рн.о
Рн — (н -)пл.о.1
ПРпл — Р1 - Рпл
ПРо — Р1 - Ро
Р — (Q - с ) ,
'*-• 'пл.о.1
ПРІірлл — Р?р1 - РТ?р.пл
ВРр.о — Р?р1 - Рр.о |
Р — прибыль от выпуска товарной продукции;
Ро — балансовая прибыль;
Р R — прибыль от реализации товарной продукции;
Рпр — прибыль (+), убыток (—) от прочей реализации;
Рво — то же, от внереализационных операций;
Ц — разница в ценах и тарифах на топливо и теплоэнергию, отпущенные (реализованные) для отопления и водоснабжения жилых домов;
РРн — величина изменения прибыли в остатках нереализованной товарной продукции на начало и конец периода;
РЯр — разница между ценами, принимаемыми для определения объема реализуемой продукции, и ценами реализации;
RB — выручка от реализации;
Инц — остатки нереализованной товарной продукции на начало года по оптовым ценам;
Икц — то же, на конец года по оптовым ценам; |
|
|
Формула |
Условное обозначение |
PRp — (( -(н.ц -Q+Ик.ц )пл.о.1
DPq = ( - 2пл)
dPqo — (й° - 2о)
DP — dp PPum
DPLTm ^Qrrn dV^
dpLo — dpQo DVlo
Lo Qo DVo
Dp — Dp DVWsm
^^WnR ^Г2пл DV
DVWo
DPWo — DPQo DW°
dp
dp — Wпл dw
DPWa.m пш DWVа.пл
DWVпл
dp — DPwo dw
DpVa.o — dwVo DWVa.o
dp
dp — W™ dw
-иіЖк.пл nw J-'yyVK.m.
DVVVmi
dp — DPwo dw
DPwko dwVo DWvko
dp
dp — W™ dw
-ь/^т.у.пл dw ^^?т.у.пл
-иуу?пл
dp — Dp>Wo dw
^•%т.у.о dw ^^?т.у.о
LjnVo |
2пл — товарная продукция отчетного года
в принятых в плане оптовых ценах предприятий;
DP q — изменение прибыли за счет изменения объема товарной продукции;
DP c — то же, за счет изменения себестоимости продукции;
DP a — то же, за счет изменения структурного сдвига ассортимента;
DPp — то же, за счет изменения оптовых цен на произведенную продукцию;
DP L — то же, за счет изменения численности промышленно-производственного
персонала;
DPW — то же, за счет изменения выработки на одного работающего;
DWV — изменение среднегодовой выработки продукции на одного работающего;
DWvi — то же, на одного работающего по факторам;
DPwк — изменение прибыли за счет изменения доли покупных полуфабрикатов и кооперированных поставок;
DPwTy — то же, за счет изменения технического уровня производства;
DPwт — то же, за счет улучшения организации производства и внедрения научной организации труда;
DPWт — то же, за счет улучшения (ухудшения) использования рабочего времени;
DPwn — то же, за счет уменьшения невыходов и сокращения внутрисменных
простоев; |
Формула
Условное обозначение
¦^¦^Тт.пл
DPWt .о
DPWt .пл
DРWпл
DWVmi
DPW о
DWvo
DРWпл
DWv-пл
DWv
DWv
dwV
DPWV — изменение прибыли, вызванное относительным уменьшением численности в связи с ростом объема производства;
DPwp — то же, за счет прочих факторов; DP — то же, за счет изменения соб-
c.a ’
ственно затрат и структурного сдвига ассортимента продукции;
DPр =
Wt г\
DPWo
DWvo
dwV
D-PWп.пл
D¦РWпл
DWt/пл
dwv
DP = Dp>W° dw
DPwno = dwVo DWv
DPWn-R
DPw
W/пл dw DWVn.
DyyVm
DP = DPw° dw
DPwv° = dwVo DW/o
DPWrn
DPw,
DW/v
у?пл
С™— себестоимость всей фактически
выпущенной товарной продукции по плановой себестоимости отчетного года;
С° — себестоимость сравнимой товарной
продукции по среднегодовой себестоимости предыдущего года в сумме с фактической себестоимостью несравнимой товарной продукции;
Ррез — резервы роста прибыли;
?рез — резервы роста объема производства;
Ссф — резервы снижения себестоимости по статьям затрат;
Снв — недоиспользованные возможности снижения себестоимости продукции;
DPWp.o
DPWo
DW/o
DWv
?пр.о
DPc.a.m = DPc.m - DPairn
DPc.a.o = DPc.o - Щ
DP = С - С DPc.пл = С1 С1
DP = С - С
игс.о С1 С1
DP' — полученные в процентах отклонения прибыли по факторам
Формула
Условное обозначение
аш
пр - С 1 С -^а.шл “ ^шл q Ч Ь^шл
пр - с Г- С0 “ - Со Qo С
пРршл - Qi - Qi прр.о - Qi - Qi
ПРрез. шл - (Пррез. Q +ПРРез. с +
+прір + DPB.0 + DPM.o )
р 'шл
DP^r.^ - DK
резГшл ? рез
1--тті
DP - DC рез.с.шл с.ф.шл
DP - — Р — Р ^шр.шл Y шр1 1 шр.шл|
^в.о.шл - |Рв.о11
DP - DC
м.о.шл н.в.шл
DP-
DPI -—-^ • 100
DP
DP' !° • 100
б.о
1.7. Анализ финансового состояния предприятия и его значение в формировании стратегии управления
В основе деятельности любого предприятия лежат его финансовые показания, которые используются для оценки его финансовой деятельности и финансового планирования.
Финансовое планирование — процесс научного обоснования движения финансовых ресурсов и соответствующих финансовых отношений. Финансовое планирование — органическая часть планирования, которая отражает одну из важнейших сторон экономической организации производства.
Объектом финансового планирования в промышленности является финансовая деятельность предприятий, объединений и министерств, предполагающая формирование фондов денежных средств, их распределение и использование для непрерывного процесса производства, его расширения и технического перевооружения.
Основные задачи финансового планирования:
1. Обоснованное определение объема финансовых ресурсов для выполнения производственной программы и реализации продукции, расширения производства, решения некоторых социальных задач коллектива.
2. Определение финансовых взаимоотношений с финансовой, кредитной системой и вышестоящей организацией.
3. Установление оптимальных пропорций в распределении денежных средств на внутрихозяйственные нужды, техническое перевооружение и расширение производства, материальное поощрение работников и выполнение финансовых обязательств перед бюджетом.
4. Вскрытие внутренних резервов роста денежных накоплений.
Финансовое планирование играет важную роль в организации непрерывного процесса производства, повышении эффективности использования производственных фондов, денежных ресурсов, соблюдении режима экономии, а также в ускорении научно-технического прогресса. Оно включает: составление перспективных, текущих и оперативных финансовых планов, кассового плана, кредитной заявки, разработку и доведение до различных подразделений отдельных финансовых показателей и осуществление контроля за их выполнением. Этот контроль основан на анализе финансового состояния предприятия и является исходным для осуществления финансового планирования.
Анализ финансового состояния предприятия представляет собой глубокое, научно обоснованное исследование финансовых отношений и движения финансовых ресурсов в едином производственно-торговом процессе. Задачи анализа финансового состояния хозяйствующего субъекта:
• выявление рентабельности и финансовой устойчивости;
• изучение эффективности использования финансовых ресурсов;
• установление положения хозяйствующего субъекта на финансовом рынке и количественное измерение его финансовой конкурентоспособности;
• оценка степени выполнения плановых финансовых мероприятий, программ;
• оценка мер, разработанных для ликвидации выявленных недостатков и повышения отдачи финансовых ресурсов.
Финансовое состояние хозяйствующего субъекта — это характеристика его финансовой конкурентоспособности (т. е. платеже- и кредитоспособности), использования финансовых ресурсов и капитала, выполнения обязательств перед государством и другими хозяйствующими субъектами. Движение любых товарно-материальных ценностей, трудовых и материальных ресурсов сопровождается образованием и расходованием денежных средств. Поэтому финансовое состояние хозяйствующего субъекта отражает все стороны его производственно-торговой деятельности. Анализ финансового состояния хозяйствующего субъекта включает:
1) анализ прибыли и рентабельности;
2) анализ уровня себестоимости продукции;
3) анализ финансовой устойчивости;
4) анализ кредитоспособности;
5) анализ использования капитала;
6) анализ уровня самофинансирования;
7) анализ валютной самоокупаемости.
Источником информации для анализа финансового состояния служат бухгалтерская отчетность (баланс — Форма № 1, отчет о финансовых результатах — Форма № 2, отчет о движении денежных средств — Форма № 3, отчет о собственном капитале — Форма № 4), статистическая и оперативная отчетность (см. прил. 1).
1.7.1. Анализ прибыли и рентабельности
Прибыль хозяйствующего субъекта — обобщающий показатель, характеризующий конечный результат деятельности предприятия. Он измеряется абсолютными и относительными показателями. Абсолютный показатель — это сумма прибыли (валовая прибыль, прибыль от операционной деятельности, прибыль от обычной деятельности до налогообложения, чистая прибыль). Эти показатели отражаются в Форме № 2 бухгалтерской отчетности. Относительные показатели прибыльности — система показателей рентабельности. Показатели рентабельности характеризуют степень использования ресурсов предприятия и затрат в соотношении с суммой прибыли.
Уровень рентабельности может быть рассчитан как процентное отношение одного из названных ранее показателей суммы прибыли к показателям объема выручки от реализации продукции (товаров, услуг), к величине затрат, к сумме используемого капитала и т. д.
Уровень рентабельности хозяйствующих субъектов, связанных с производством продукции (товаров, работ, услуг), определяется процентным отношением прибыли от реализации продукции к себестоимости продукции:
Р = (П / З)-100,
где Р — уровень рентабельности, %; П — прибыль от реализации продукции, грн.; З — текущие затраты (себестоимость, административные расходы, расходы на сбыт и прочие операционные), грн.
Этот показатель характеризует прибыльность текущих затрат и показывает степень выгоды для предприятия производства определенного вида продукции. Показатель рентабельности продукции еще называют затратным показателем рентабельности или рентабельностью затрат.
Уровень рентабельности предприятий торговли и общественного питания устанавливается отношением прибыли от реализации товаров (продукции общественного питания) к выручке от их реализации.
Общий показатель рентабельности показывает, в какой степени доход (выручка) обеспечивает получение чистой прибыли. При оценке экономической эффективности работы предприятия обычно анализ начинают с расчета этого показателя:
Рд= ЧП/Д,
где Рд — общий показатель рентабельности (рентабельность дохода); ЧП — чистая прибыль; Д — доход, выручка от реализации продукции (товаров, работ, услуг).
Рентабельность капитала характеризует сумму прибыли, которую получает предприятие на каждую гривню вложенного капитала. Этот показатель рентабельности характеризует эффективность использования ресурсов предприятия:
Рк= ЧП/К,
где Рк — рентабельность капитала; К — средний за анализируемый период остаток собственного и заемного капитала (или суммы всех активов предприятия).
Этой формулой можно пользоваться при расчете показателей рентабельности отдельных групп активов (необоротных, оборотных, а также отдельных их элементов).
В зависимости от цели анализа все ранее перечисленные показатели рентабельности могут рассчитываться как по чистой прибыли, так и по прибыли от обычной деятельности предприятия до налогообложения (балансовой прибыли).
В процессе анализа изучаются: динамика изменения объема чистой прибыли, система показателей рентабельности и факторы, их определяющие. Основными факторами, влияющими на чистую прибыль, являются объем дохода (выручки) от реализации продукции (товаров, работ, услуг), уровень себестоимости, сумма административных расходов, расходов на сбыт, прочих операционных расходов, доходов и расходов от участия в капитале, прочих финансовых доходов и расходов, величины налога на прибыль и других налогов (обязательных платежей), выплачиваемых из дохода.
Анализ доходности хозяйствующего субъекта проводится в сравнении с планом и предшествующим периодом. В условиях сильных инфляционных процессов важно обеспечить сопоставимость показателей и исключить влияние на них повышения цен.
Анализ следует проводить по данным работы за год и по кварталам. Показатели прошлого года приводятся в соответствие с показателями отчетного года с помощью индексации цен. Плановые показатели разрабатываются хозяйствующим субъектом как хозяином самостоятельно для внутреннего пользования.
Анализ чистой прибыли хозяйствующего субъекта приведен в табл. 14. Он показывает, что за отчетный год прибыль от реализации продукции снизилась на 510,5 тыс. грн (с 10785 до 10274,5 тыс. грн), или на 4,73 %; балансовая прибыль снизилась на 415,5 тыс. грн (с 11040 до 10624,5 тыс. грн), или на 3,77 %; чистая прибыль также уменьшилась на 544,89 тыс. грн (с 8832 до 8287,11 тыс. грн), или на 6,17 %.
106
Таблица 14
Анализ чистой прибыли хозяйствующего субъекта
(в сопоставимых ценах)
№
п/п |
Показатель |
Прошлый
год |
Отчетный год |
Отклонение (+, —) от |
|
план |
отчет |
плана |
прошлого года |
|
абсолютное |
% |
абсолютное |
% |
|
і |
2 |
3 |
4 |
5 |
6 = 5 - 4 |
7 = 6:4-100 |
8 = 5 - 3 |
9 = 8:3-100 |
|
і |
2 |
3 |
4 |
5 |
6 |
7 |
8 |
9 |
|
і |
Доход (выручка) от реализации продукции,
тыс. грн. |
75000 |
85000 |
95000 |
+10000 |
11,76 |
+20000 |
26,6 |
|
2 |
Налог на добавленную стоимость, тыс. грн. |
11625 |
14195 |
15675 |
+ 1480 |
10,42 |
+4050 |
34,84 |
|
3 |
Налог на добавленную стоимость в процентах к выручке, % |
15,5 |
16,7 |
16,5 |
-0,2 |
-1,2 |
+1,0 |
+6,45 |
|
4 |
Акцизный сбор, тыс. грн. |
2250 |
1955 |
5106 |
+3151 |
+ 161,17 |
+2856 |
+126,93 |
|
5 |
Акцизный сбор в процентах к выручке, % |
3,0 |
2,3 |
5,375 |
+3,07 |
+ 133,48 |
+2,375 |
+79 |
|
6 |
Текущие затраты (себестоимость продукции), тыс. грн. |
50340 |
56253 |
63944,5 |
+7691,5 |
13,67 |
+13604,5 |
27,02 |
|
7 |
Текущие затраты (себестоимость продукции) в процентах к выручке, % |
67,12 |
66,18 |
67,31 |
+1,13 |
1,71 |
0,19 |
0,28 |
107
|
1 |
2 |
3 |
4 |
5 |
6 |
7 |
8 |
9 |
|
8 |
Прибыль от операционной деятельности (реализации продукции), тыс. грн. |
10785 |
12597 |
10274,5 |
-2322,5 |
-18,42 |
-510,5 |
-4,73 |
|
9 |
Прибыль от операционной деятельности в процентах
к текущим затратам (рентабельность затрат), % |
21,42 |
22,39 |
16,06 |
-6,33 |
-28,27 |
-5,36 |
-25,02 |
|
10 |
Прибыль от реализации продукции в процентах к выручке (рентабельность реализации), % |
14,38 |
14,82 |
10,81 |
-4,01 |
-27,06 |
-3,57 |
-14,83 |
|
11 |
Прибыль от прочей реализации, тыс. грн. |
220 |
|
280 |
|
|
60 |
27,27 |
|
12 |
Доходы от внереализационных операций, тыс. грн. |
50 |
70 |
95 |
+25 |
35,71 |
45 |
90 |
|
13 |
Расходы по внереализационным операциям, тыс. грн. |
15 |
|
25 |
|
|
10 |
66,7 |
|
14 |
Налогооблагаемая прибыль, тыс. грн. |
11040 |
12667 |
10624,5 |
-2042,5 |
-16,12 |
-415,5 |
-3,77 |
|
15 |
Налоги, выплачиваемые из прибыли, тыс. грн. |
11040 |
12667 |
10624,5 |
-2042,5 |
-16,12 |
-415,5 |
-3,77 |
|
16 |
Чистая прибыль, тыс. грн. |
8832 |
10006,93 |
8287,11 |
-1719,82 |
-17,19 |
-544,89 |
-6,17 |
|
17 |
Чистая прибыль в процентах к доходу, % |
11,78 |
11,77 |
8,72 |
-3,05 |
-25,91 |
-3,06 |
-25,98 |
Это явилось результатом действия следующих факторов:
1. Рост выручки от реализации продукции на 20000 тыс. грн (с 75000 до 95000 тыс. грн) увеличил прибыль на 2876 тыс. грн:
14,38 • 20000 100
2876 тыс. грн.
2. Рост уровня себестоимости на 0,19 % (с 67,12 до 67,31 %) повысил сумму затрат на 180,5 тыс. грн, что соответственно снизило сумму прибыли на 180,5 тыс. грн:
180,5 тыс. грн.
0,19 • 95000 100
3. Повышение уровня налога на добавленную стоимость в процентах к выручке на 1 % (с 15,5 до 16,5 %) снизило сумму прибыли на 950 тыс. грн:
195000 950
-= 950 тыс. грн.
100
4. Повышение уровня акцизного сбора в процентах к выручке на 2,37 % (с 3,0 до 5,37 %) снизило сумму прибыли на 2256,25 тыс. грн:
2256,25 тыс. грн.
2,375 • 95000 100
Итого по прибыли от реализации продукции:
2876 - 180,5 - 950 - 2256,25 = -510,75 тыс. грн.
Разница в 0,25 тыс. грн с цифрой 510,5 тыс. грн объясняется округлением цифр при расчете.
5. Рост прибыли от прочей реализации на 60 тыс. грн (с 220 до 280 тыс. грн) увеличил балансовую прибыль на 60 тыс. грн.
6. Рост доходов от внереализационных операций на 45 тыс. грн (с 50 до 95 тыс. грн) повысил прибыль на 45 тыс. грн.
7. Рост расходов по внереализационным операциям на 10 тыс. грн (с 15 до 25 тыс. грн) снизил прибыль на 10 тыс. грн.
Итого по балансовой прибыли:
-510,75 + 60 + 45 - 10 = -415,75 тыс. грн.
Разница в 0,25 тыс. грн с цифрой 415,5 тыс. грн произошла за счет округления цифр.
8. Возрастание суммы налогов, уплачиваемых из прибыли, на 129,39 тыс. грн (с 2208 до 2337,39 тыс. грн) снизило сумму чистой прибыли на 129,39 тыс. грн.
Итого по чистой прибыли:
-415,75 - 129,39 = -545,14 тыс. грн.
Разница в 0,25 тыс. грн с цифрой 544,89 тыс. грн произошла за счет округления цифр.
Отрицательным результатом работы предприятия является снижение уровня рентабельности по сравнению с прошлым годом на 5,36 % (с 21,42 до 16,06 %) и по сравнению с планом на 6,33 % (с 22,39 до 16,06 %). Это означает, что хозяйствующий субъект получил прибыли на каждые 100 грн затрат в производство продукции меньше по сравнению с прошлым годом на 5,36 грн и по сравнению с планом — на 6,33 грн.
3427,42 тыс. грн
Таким образом, величина упущенной выгоды (т. е. величина недополученной прибыли) составила по сравнению с прошлым годом ^-5,36 • 63944,5 Л
и по сравнению с планом
100
407,69 тыс. грн
^-6,33 • 63944,5 Л
100
Анализ выполнения плановых показателей показал, что план чистой прибыли не выполнен на 1719,82 тыс. грн. (8287,11 - 10006,93), или на 17,19 %. Это отрицательно характеризует работу хозяйствующего субъекта и работников его финансовой службы.
Снижение уровня рентабельности произошло за счет роста себестоимости продукции.
1.7.2. Анализ уровня себестоимости продукции
Показатель себестоимости, отражаемый в бухгалтерской отчетности (форма № 2) не отражает все затраты предприятия по производству и реализации продукции. В табл. 14 в строке “Текущие затраты (себестоимость продукции)” в общую сумму включены, кроме себестоимости, административные затраты, расходы на сбыт и прочие операционные затраты.
Анализ себестоимости продукции проводят в двух направлениях: 1) изучения общего уровня затрат и факторов, определяющих размер всех или большинства элементов затрат; 2) анализа отдельных видов затрат (статей издержек) с целью выявления резервов экономии по отдельным элементам затрат.
На величину себестоимости (издержек обращения и производства) влияют различные факторы, которые можно объединить в две группы.
Первая группа — внешние факторы, отражающие общий уровень развития экономики Украины и не зависящие от деятельности хозяйствующего субъекта. Влияние этой группы факторов проявляется в уровне цен на сырье, материалы, товары, оборудование, энергоносители; тарифах на транспорт, воду и другие материальные услуги; ставках арендной платы; нормах амортизационных отчислений, отчислений на социальное страхование и других обязательных платежей.
Вторая группа — внутренние факторы, непосредственно связанные с результатами деятельности хозяйствующего субъекта, с его предпринимательской активностью. К этим факторам относятся объем выручки от реализации продукции, применяемые формы и системы оплаты труда, уровень производительности труда работников, степень использования основных фондов и оборотных средств и др.
На уровень себестоимости продукции (товаров, услуг) большое влияние оказывает выручка от реализации продукции (товарооборот). Все затраты по отношению к объему выручки можно разделить на две группы: условно-постоянные и переменные.
Условно-постоянные затраты — это затраты, сумма которых не меняется при изменении выручки от реализации продукции; графически они отражаются в виде горизонтальной прямой (рис. 18).
Условно-постоянные затраты анализируются по абсолютной сумме.
Переменные затраты — это затраты, сумма которых изменяется пропорционально изменению объема выручки от реализации продукции. Графически переменные издержки можно представить в виде возрастающей прямой (рис. 19).
 |
|
Рис. 19. Графическое отражение переменных затрат |
Эта группа включает расходы на сырье; транспортные расходы; расходы на оплату труда; топливо, газ, электроэнергию для производственных целей; расходы на тару и упаковку; отчисления на социальное страхование, в пенсионный фонд, в фонд занятости и др. Переменные затраты анализируются путем сопоставления уровня затрат в процентах к объему выручки.
Деление затрат на условно-постоянные и переменные позволяет показать зависимость между выручкой от реализации продукции, себестоимостью и размером прибыли от реализации продукции.
Анализ степени влияния выручки от реализации продукции на уровень себестоимости приведен в табл. 15.
По данным табл. 15 можно определить минимальный объем выручки прошлого года, превышение которого ведет к росту рентабельности:
12000-15000 75000 - 38340
T
-L ГП
24550 тыс. грн.
Из табл. 15 видно, что уровень себестоимости в процентах к выручке в прошлом году с учетом суммы выручки отчетного года должен составить 63,75 %, в том числе по условно-постоянным затратам —
'12000 ч 9500
-100
12,63 %
51,12 %.
, по переменным затратам
s
а
X
Он
|
Расчет степени влияния выручки на уровень себестоимости хозяйствующего субъекта |
№
п/п |
Показатель |
Прошлый год |
Должно быть с учетом суммы
выручки
отчетного года |
Отклонение
(+, -) |
|
|
|
тыс.
грн. |
%
к выручке |
тыс.
грн. |
%
к выручке |
тыс.
грн. |
%
к выручке |
|
1 |
Выручка |
75000 |
|
95000 |
|
20000 |
|
|
2 |
Себестоимость
В том числе затраты условно-постоян- |
50340 |
67,12 |
60564 |
63,75 |
10224 |
-3,37 |
|
|
ные |
12000 |
16,00 |
12000 |
12,63 |
- |
-3,37 |
|
|
переменные |
38340 |
51,12 |
48564 |
51,12 |
10224 |
- |
|
Рост выручки на 2000 тыс. грн должен понизить уровень себестоимости за счет условно-постоянных затрат на 3,37 % (с 16 до 12,63 %),
(-3,37 • 95000 _
а сумму себестоимости — на 3201,5 тыс. грн _
ч V 100
_ -3201,5 тыс. грн .
Следовательно, рост себестоимости за отчетный год на 0,19 %
, был обус-
( 0,19 • 95000 Ч
(с 67,12 до 67,31 %), или на 180,5 тыс. грн -^- ловлен следующим.
1. Рост выручки снизил уровень себестоимости на 3,37 %, а ее сумму — на 3201,5 тыс. грн.
2. Действие других факторов, характеризующих использование материальных и денежных средств, увеличило уровень себестоимости на 3,56 % и сумму — на 3382 тыс. грн.
Итого:
-3,37 + 3,56 = 0,19, -3201,5 + 3382 = 180,5.
Для расчета минимального объема продажи (Ттіп, грн.) новой продукции (услуг), с точки зрения самоокупаемости, можно использовать формулу
Т ¦ =
^min
где Зпост — годовая сумма условно-постоянных затрат предприятия, грн.; Р — переменные затраты на единицу продукции (услуги), грн.; Ц — цена единицы продукции (услуги), грн.
Пример. Предприятие предлагает производить новую продукцию по цене 500 тыс. грн за единицу. Годовая сумма условно -постоянных затрат предприятия составляет 12180 млн грн, уровень переменных затрат на единицу продукции — 52,03 %.
Имеем
Р = 52,03 % • 500 = 260,15 тыс. грн;
12180000
= 25375 млн грн.
Т ¦ =
^min
260,15
500
1-
Минимальное количество произведенной и реализованной продукции по цене 500 тыс. грн за единицу составляет 50750 ед.
¦ = 50750
25375000
500
Следовательно, продав в течение года 50750 ед. продукции по цене 500 тыс. грн, предприятие лишь возместит себестоимость и не получит никакой прибыли.
После общего анализа уровня себестоимости необходимо перейти к анализу изменения затрат по каждому элементу. Основное внимание при этом обращается на соответствие фактических затрат установленным нормам и нормативам, на выявление имеющихся возможностей и резервов экономии затрат по отдельным элементам себестоимости (текущих затрат).
1.7.3. Анализ финансовой устойчивости
Финансово устойчивым является такой хозяйствующий субъект, который за счет собственных средств покрывает средства, вложенные в активы (основные фонды, нематериальные активы, оборотные средства), не допускает неоправданной дебиторской и кредиторской задолженности и расплачивается в срок по своим обязательствам. Основой финансовой устойчивости являются рациональная организация и использование оборотных средств. Поэтому в процессе анализа фи-
нансового состояния вопросам рационального использования оборотных средств уделяют основное внимание.
Анализ финансовой устойчивости включает:
• анализ состава и размещения активов хозяйствующего субъекта;
• анализ динамики и структуры источников финансовых ресурсов;
• анализ наличия собственных оборотных средств;
• анализ кредиторской задолженности;
• анализ наличия и структуры оборотных средств;
• анализ дебиторской задолженности;
• анализ платежеспособности.
Анализ состава и размещения активов хозяйствующего субъекта проводится по форме, представленной в табл. 16.
Из данных табл. 16 видно, что за год активы хозяйствующего субъекта возросли на 126 тыс. грн (с 40890 до 41016 тыс. грн), или на 0,3 %; средства в активах были размещены следующим образом: нематериальные активы — 171 тыс. грн, или 0,42 %; основные средства — 32695 тыс. грн, или 79,71 %; оборотные средства — 8150 тыс. грн, или 19,87 %.
Важным показателем оценки финансовой устойчивости является темп прироста реальных активов. Реальные активы — это реально существующее собственное имущество и финансовые вложения по их действительной стоимости. Реальными активами не являются нематериальные активы, износ основных фондов и материалов, использование прибыли, заемные средства. Темп прироста реальных активов характеризует интенсивность наращивания имущества и определяется по формуле
( С1 + 3 + Д1 ^ ?С0 + 30 + Д0 у
•100,
где А — темп прироста реальных активов, %; С — основные средства и вложения без учета износа, торговой наценки по нереализованным товарам, нематериальных активов, использованной прибыли, грн.; З — запасы и затраты, грн.; Д — денежные средства, расчеты и прочие активы без учета использованных заемных средств, грн.; 0 — предыдущий год; 1 — текущий год:
32695+8150 32640+8070
•100 = 0,33 %.
Анализ состава и размещения активов хозяйствующего субъекта
(за год)
№
п/п |
Активы |
На начало года |
На конец года |
Изменение
(+, -) |
тыс.
грн. |
в %
к итогу |
тыс.
грн. |
в %
к итогу |
тыс.
грн. |
% |
|
і |
2 |
3 |
4 |
5 |
6 |
7 = 5-3 |
00
II
Os
1
4^ |
|
і |
Нематериальные активы (остаточная стоимость) |
180 |
0,44 |
171 |
0,42 |
-9 |
-0,02 |
|
2 |
Основные средства (остаточная стоимость) |
32640 |
79,82 |
32695 |
79,71 |
+ 55 |
-0,11 |
|
3 |
Капитальные вложения (незавершенное строительство) |
|
|
|
|
|
|
|
4 |
Долгосрочные финансовые инвестиции |
|
|
|
|
|
|
|
5 |
Долгосрочная дебиторская задолженность |
|
|
|
|
|
|
|
6 |
Краткосрочные финансовые инвестиции |
|
|
|
|
|
|
|
7 |
Прочие необоротные активы |
|
|
|
|
|
|
|
8 |
Оборотные
средства |
8070 |
19,74 |
8150 |
19,87 |
+ 80 |
+0,13 |
|
Итого |
40890 |
100 |
41016 |
100 |
+ 126 |
- |
Таким образом, интенсивность прироста реальных активов за год составила 0,33 %, что свидетельствует об улучшении финансовой устойчивости предприятия.
Следующим этапом анализа является изучение динамики и структуры источников финансовых ресурсов предприятия (табл. 17).
Анализ динамики и структуры источников финансовых ресурсов предприятия
№
п/п |
Вид источника финансовых ресурсов |
На начало года |
На конец года |
Изменение
(+, -) |
тыс.
грн. |
в %
к итогу |
тыс.
грн. |
в %
к итогу |
тыс.
грн. |
% |
|
і |
2 |
3 |
4 |
5 |
6 |
7 |
8 |
|
1. Собственные средства |
|
1.1 |
Уставный капитал |
40230 |
98,38 |
40230 |
98,08 |
- |
-0,3 |
|
1.2 |
Паевой капитал |
- |
- |
- |
- |
- |
- |
|
1.3 |
Дополнительно вложенный капитал |
|
|
|
|
|
|
|
1.4 |
Резервный капитал |
165 |
0,4 |
215 |
0,53 |
+ 50 |
+0,13 |
|
1.5 |
Нераспределенная
прибыль |
120 |
0,3 |
220 |
0,54 |
+ 100 |
+0,24 |
|
1.6 |
Целевое финансирование |
|
|
|
|
|
|
|
1.7 |
Неоплаченный
капитал |
|
|
|
|
|
|
|
Итого |
40515 |
99,08 |
40665 |
99,15 |
+150 |
+0,07 |
|
2. Заемные средства |
|
2.1 |
Долгосрочные кредиты банков |
|
|
|
|
|
|
|
2.2 |
Прочие долгосрочные финансовые обязательства |
|
|
|
|
|
|
|
2.3 |
Кр аткосрочные кредиты банков |
15 |
0,04 |
22 |
0,05 |
+7 |
+0,01 |
|
2.4 |
Краткосрочные
займы |
|
|
|
|
|
|
|
Итого |
15 |
0,04 |
22 |
0,05 |
+7 |
+0,01 |
|
3. Привлеченные средства |
|
3.1 |
Расчеты с кредиторами |
335 |
0,82 |
304 |
0,74 |
-31 |
-0,08 |
|
3.2 |
Авансы, полученные от покупателей,
заказчиков |
15 |
0,04 |
10 |
0,02 |
-5 |
-0,02 |
|
1 |
2 |
3 |
4 |
5 |
6 |
7 |
8 |
|
3.3 |
Доходы будущих периодов |
|
|
|
|
|
|
|
3.4 |
Резервы предстоящих расходов
и платежей |
10 |
0,02 |
15 |
0,04 |
+5 |
+0,02 |
|
3.5 |
Резервы по сомнительным долгам |
|
|
|
|
|
|
|
3.6 |
Прочие текущие обязательства |
|
|
|
|
|
|
|
|
Итого |
360 |
0,88 |
329 |
0,80 |
-31 |
-0,08 |
|
|
ВСЕГО |
40890 |
100 |
41016 |
100 |
+126 |
- |
Из данных табл. 17 видно, что сумма всех источников финансовых ресурсов предприятия за год возросла на 126 тыс. грн (с 40890 до 41016 тыс. грн), или на 0,3 %, в том числе собственные средства увеличились на 150 тыс. грн (с 40515 до 40665 тыс. грн), или на 0,37 %, заемные средства увеличились на 7 тыс. грн (с 15 до 22 тыс. грн), или в 1,5 раза, привлеченные средства снизились на 31 тыс. грн (с 360 до 329 тыс. грн), или на 8,6 %. За отчетный год изменился состав источников средств: доля собственных средств возросла на 0,07 % (с 99,08 до 99,15 %), доля заемных средств увеличилась на 0,01 % (с 0,04 до 0,05 %), доля привлеченных средств уменьшилась на 0,08 % (с 0,88 до 0,8 %). Рост доли собственных средств положительно характеризует работу предприятия.
Для оценки финансовой устойчивости предприятия используются коэффициенты автономии и финансовой устойчивости.
Коэффициент автономии характеризует независимость финансового положения предприятия от заемных источников средств. Он показывает долю собственных средств в общей сумме источников средств:
Ка
где Ка
Е и -
собственные средства, грн.;
коэффициент автономии; Сс
общая сумма источников, грн.
По данным табл. 17 имеем:
40515
40890
Ка
0,9908;
на начало года
Таким образом, предприятие является финансово устойчивым, и за отчетный год коэффициент финансовой устойчивости возрос на
7,81
108,04
/ п оі \
К = 40665 = 0,9915.
на конец года
41016
Минимальное значение коэффициента автономии принимается на уровне 0,6. Ка > 0,6 означает, что все обязательства предприятия могут быть покрыты его собственными средствами; рост коэффициента автономии свидетельствует об увеличении финансовой независимости и снижении риска финансовых затруднений.
Коэффициент финансовой устойчивости представляет собой соотношение собственных и заемных средств:
Ку = -А- ,
у З + К
где Ку — коэффициент финансовой устойчивости; Сс — собственные средства, грн.; З — заемные средства, грн.; К — кредиторская задолженность и другие пассивы, грн.
Превышение собственных средств над заемными означает, что предприятие обладает достаточным запасом финансовой устойчивости и относительно независимо от внешних финансовых источников.
Рассчитаем коэффициент финансовой устойчивости в нашем примере:
40515
на начало года
= 108,04;
15 + 360 40665
= 115,85.
на конец года
22 + 329
•100
7,81% (со 108,04 до 115,85 %), или на 7,2 %
Затем отдельно изучаются динамика и структура собственных оборотных средств и кредиторской задолженности.
Источником образования собственных средств являются уставный капитал, паевой капитал, дополнительно вложенный капитал, резервный капитал, нераспределенная прибыль (фонды специального назначения), целевое финансирование. Целевое финансирование представляет собой источник средств предприятия, предназначенных для осуществления мероприятий целевого назначения: на содержание детских учреждений, санаториев, домов и баз отдыха и др. Средства для осуществления мероприятий целевого назначения поступают, например,
от родителей на содержание детей в детских садах и яслях, от других хозяйствующих субъектов.
Методика анализа наличия и движения собственных оборотных средств хозяйствующего субъекта предполагает определение фактического размера средств и факторов, влияющих на их динамику (табл. 18).
Таблица 18
Анализ наличия и движения собственных оборотных средств хозяйствующего субъекта за год (тыс. грн.)
№
п/п |
Показатель |
На начало
года |
На конец
года |
Изменение
(+,-) |
|
і |
Уставный капитал |
40230 |
40230 |
- |
|
2 |
Паевой капитал |
- |
- |
- |
|
3 |
Дополнительно вложенный |
|
|
|
|
|
капитал |
- |
- |
- |
|
4 |
Резервный капитал |
165 |
215 |
+ 50 |
|
5 |
Нераспределенная прибыль |
120 |
220 |
+ 100 |
|
6 |
Целевое финансирование |
- |
- |
- |
|
7 |
Неоплаченный капитал |
- |
- |
- |
|
Итого источников оборотных средств |
40515 |
40665 |
+150 |
|
Исключаются: |
|
і |
Нематериальные активы |
|
|
|
|
|
(остаточная стоимость) |
180 |
171 |
-9 |
|
2 |
Основные средства (остаточная |
|
|
|
|
|
стоимость) |
32640 |
32695 |
+55 |
|
3 |
Капитальные вложения |
|
|
|
|
|
(незавершенное строительство) |
- |
- |
- |
|
4 |
Долгосрочные финансовые |
|
|
|
|
|
инвестиции |
- |
- |
- |
|
5 |
Краткосрочные финансовые |
|
|
|
|
|
инвестиции |
- |
- |
- |
|
6 |
Долгосрочная дебиторская |
|
|
|
|
|
задолженность |
- |
- |
- |
|
7 |
Прочие необортные активы |
- |
- |
- |
|
8 |
Оборотные активы |
- |
- |
- |
|
|
Итого исключается |
32820 |
32866 |
+46 |
|
Собственные оборотные средства |
7695 |
7799 |
+ 104 |
Из табл. 18 видно, что за год собственные оборотные средства возросли на 104 тыс. грн (с 7695 до 7799 тыс. грн). Этот прирост был обусловлен действием следующих факторов:
1. Уменьшением оборотной части уставного капитала на 46 тыс. грн (с 7410 до 7364 тыс. грн), что снизило сумму собственных оборотных средств на 46 тыс. грн. Оборотная часть уставного капитала определяется путем вычитания из общего объема капитала основных фондов по остаточной стоимости и нематериальных активов по остаточной стоимости.
Расчет:
на начало года — 40230 - 32640 - 180 = 7410 тыс. грн;
на конец года — 40230 - 32695 - 171 = 7364 тыс. грн;
изменение за год — 7364 - 7410 = -46 тыс. грн.
2. Ростом суммы средств (прибыли), направленных на пополнение резервного фонда, на 50 тыс. грн (со 165 до 215 тыс. грн), что увеличило собственные оборотные средства на 50 тыс. грн.
3. Увеличением суммы средств нераспределенной прибыли, направляемых в фонды специального назначения (фонд накопления, фонд потребления), на 100 тыс. грн (со 120 до 220 тыс. грн), в результате собственные оборотные средства возросли на 100 тыс. грн.
Итого: -46 + 50 + 100 = 104 тыс. грн.
Увеличение суммы собственных оборотных средств свидетельствует о том, что имеющиеся средства не только сохранились, но и накопилась дополнительная их сумма.
Из табл. 19 видно, что кредиторская задолженность хозяйствующего субъекта составляла на начало года 350 тыс. грн; за год возникло обязательств на сумму 334 тыс. грн и погашено обязательств в сумме 370 тыс. грн. Остаток на конец года составляет 314 тыс. грн (350 + + 334 - 370).
Общая сумма кредиторской задолженности за год снизилась на 36 тыс. грн. Это снижение задолженности произошло по расчетам с кредиторами за товары, работы, услуги (-25 тыс. грн), по оплате труда (-6 тыс. грн), по социальному страхованию и обеспечению (-8 тыс. грн), за счет авансов, полученных от покупателей и заказчиков (-5 тыс. грн), в то время как задолженность по имущественному и личному страхованию возросла на 8 тыс. грн.
В целях углубления анализа кредиторской задолженности, ее движения и финансового состояния необходимо выявить и проанализировать динамику неоправданной кредиторской задолженности (задол-
|
Анализ движения кредиторской задолженности хозяйствующего субъекта за год (тыс. грн.) |
|
Вид кредиторской задолженности |
На
начало
года |
Возникло
обяза
тельств |
Погашено
обяза
тельств |
На
конец
года |
Измене
ние
(+,-) |
|
і |
2 |
3 |
4 |
5=2+3-4 |
6 = 5-2 |
|
1. Расчеты с кредиторами: |
|
|
|
|
|
|
- за товары, работы, услуги |
125 |
205 |
230 |
100 |
-25 |
|
- по выданным векселям |
- |
- |
- |
- |
- |
|
- по оплате труда |
153 |
82 |
88 |
147 |
-6 |
|
- по социальному страхова- |
|
|
|
|
|
|
нию и обеспечению |
50 |
11 |
19 |
42 |
-8 |
|
- по имущественному |
|
|
|
|
|
|
и личному страхованию |
7 |
22 |
14 |
15 |
+ 8 |
|
- с дочерними предприятиями |
|
|
|
|
|
|
по внебюджетным платежам |
- |
- |
- |
- |
- |
|
- с бюджетом |
- |
- |
- |
- |
- |
|
- с прочими кредиторами |
- |
- |
- |
- |
- |
|
Итого |
335 |
320 |
351 |
304 |
-31 |
|
2. Авансы, полученные от покупателей и заказчиков |
15 |
14 |
19 |
10 |
-5 |
|
Всего кредиторской задолженности |
350 |
334 |
370 |
314 |
-36 |
|
женности поставщикам по не оплаченным в срок расчетным документам). При анализе выявлено, что у хозяйствующего субъекта присутствует только кредиторская задолженность поставщикам по расчетным документам, срок оплаты которых не наступил. Эта задолженность является нормальной кредиторской задолженностью. Таким образом, хозяйствующий субъект не имеет неоправданной кредиторской задолженности, поэтому финансовое состояние предприятия считается устойчивым. Анализ также показал, что хозяйствующий субъект не имеет долгосрочной задолженности. Вся кредиторская задолженность является краткосрочной. Задолженности, перечисленной в бюджет в связи с истечением срока исковой давности, не было.
Дальнейший анализ оборотных средств предприятия проводится путем изучения динамики и состава оборотных средств по видам. Методика анализа состоит в сопоставлении суммы оборотных средств на начало и конец периода и выявлении законности и целесообразности отвлечения средств из оборота. Данные анализа оборотных средств приведены в табл. 20.
Таблица 20
Анализ динамики оборотных средств хозяйствующего субъекта за год
|
|
На начало года |
На конец года |
Изменение (+,—) |
|
Вид оборотных средств |
тыс.
грн. |
% |
тыс.
грн. |
% |
тыс.
грн. |
% |
|
1 |
2 |
3 |
4 |
5 |
0\
II
4^
1
NJ |
7 = 5-3 |
1. Производственные запасы
2. Малоценные и быстро-изнашивающиеся предметы |
3315 |
41,0 |
3448 |
42,3 |
+ 133 |
+1,3 |
|
(остаточная стоимость) |
1626 |
20,2 |
1607 |
19,7 |
-19 |
-0,5 |
|
3. Незавершенное |
|
|
|
|
|
|
|
производство |
549 |
6,8 |
549 |
6,7 |
- |
-0,1 |
|
4. Расходы будущих |
|
|
|
|
|
|
|
периодов |
17 |
0,2 |
17 |
0,2 |
- |
- |
|
5. Готовая продукция |
445 |
5,5 |
445 |
5,5 |
- |
- |
|
6. Товары |
35 |
0,4 |
53 |
0,7 |
+18 |
+0,3 |
|
7. Тара под товаром |
|
|
|
|
|
|
|
и порожняя |
12 |
0,2 |
8 |
0,1 |
-4 |
-0,1 |
|
8. Издержки обращения |
|
|
|
|
|
|
|
на остаток товаров |
6 |
0,07 |
8 |
0,1 |
+2 |
+0,03 |
|
9. Дебиторская |
|
|
|
|
|
|
|
задолженность |
487 |
6,03 |
495 |
6,1 |
+8 |
+0,07 |
|
10. Денежные средства |
|
|
|
|
|
|
и их эквиваленты — всего
в том числе |
1578 |
19,6 |
1520 |
18,6 |
-58 |
-1,0 |
|
в национальной валюте |
1185 |
14,7 |
1061 |
13,0 |
-124 |
-1,7 |
|
валютный счет |
393 |
4,9 |
459 |
5,6 |
+66 |
+0,7 |
|
11. Прочие оборотные |
|
|
|
|
|
|
|
активы |
- |
- |
- |
- |
- |
- |
|
Итого оборотных средств |
8070 |
100 |
8150 |
100 |
+80 |
- |
Из табл. 20 видно, что общая сумма оборотных средств за год возросла на 80 тыс. грн — с 8070 до 8150 тыс. грн, или на 1 %. При этом наибольший рост произошел за счет производственных запасов (сырья и материалов) на 133 тыс. грн — с 3315 до 3448 тыс. грн, или на 4 %. Дебиторская задолженность возросла всего на 8 тыс. грн — с 487 до 495 тыс. грн, или на 1,6 %. Запасы товаров с учетом издержек обращения на них возросли на 20 тыс. грн — с 41 до 61 тыс. грн, или на 48,7 %. Одновременно произошло снижение средств по малоценным и быстроизнашивающимся предметам на 19 тыс. грн — с 1626 до 1607 тыс. грн, или на 1,2 %, по таре — на 4 тыс. грн — с 12 до 8 тыс. грн, или на 33,4 %, и по денежным средствам — на 58 тыс. грн — с 1578 до 1520 тыс. грн, или на 3,6 %. Прочих оборотных средств хозяйствующий субъект не имеет.
Анализируя изменение структуры размещения оборотных средств, можно сделать вывод, что в отчетном году доля производственных запасов возросла на 1,3 % — с 41 до 42,3 %, доля товаров (с учетом издержек обращения на них) увеличилась на 0,33 % — с 0,47 до 0,8 % при одновременном снижении доли малоценных и быстроизнашивающихся предметов на 0,5 % — с 20,2 до 19,7 %, доли денежных средств на 1 % — с 19,6 до 18,6 %, доли незавершенного производства на 0,1 % — с 6,8 до 6,7 %, доля готовой продукции не изменилась — 5,5 %.
Рассматриваемый нами хозяйствующий объект разработал и установил нормативы по некоторым видам оборотных средств для контроля, оценки и регулирования своей финансовой деятельности. В процессе анализа необходимо сравнить фактические остатки оборотных средств с их нормативами, т. е. провести общий анализ. Наиболее важное значение имеет анализ использования средств, вложенных в производственные запасы (запасы сырья и материалов), товарные запасы в фирменном магазине и денежные средства в кассе магазина. На величину оборотных средств влияют изменения выручки от реализации продукции (товарооборота, оборота по покупным ценам) и нормы запаса в днях.
Анализ оборотных средств хозяйствущего субъекта в сравнении с нормативом приведен в табл. 21.
Из табл. 21 видно, что превышение норматива производственных запасов на 573 тыс. грн (2552 - 1979) обусловлено увеличением расходов сырья и материалов. Превышение нормативов запасов товаров, включая издержки обращения на остатки этих товаров в фирменном
Анализ оборотных средств хозяйствующего субъекта в сравнении с нормативом за отчетный год
|
Показатель |
План
(норматив) |
Должно быть с учетом фактического оборота |
Отчет |
Изменение
к плану
(+,-) |
тыс.
грн. |
в днях
обо
рота |
тыс.
грн. |
в днях
обо
рота |
тыс.
грн. |
в днях
обо
рота |
тыс.
грн. |
в днях
обо
рота |
|
і |
2 |
3 |
4 |
5 |
6 |
7 |
8 = 6-2 |
9=7-3 |
|
i |
|
1. Расходы сырья и материалов (по себестоимости) |
24570 |
|
32760 |
|
32810 |
|
8240 |
|
|
2. Количество дней анализируемого периода |
360 |
|
360 |
|
360 |
|
|
|
3. Однодневный расход сырья
и материалов |
68,25 |
|
91,0 |
|
91,14 |
|
+ 22,89 |
|
|
4. Запасы сырья и материалов (производственные запасы) |
1979 |
29 |
2639 |
29 |
2552 |
28 |
+ 573 |
-1 |
|
і |
5. Оборот товаров по покупным
ценам |
6100 |
|
6550 |
|
6550 |
|
+450 |
|
|
6. Однодневный оборот |
17 |
|
18,2 |
|
18,2 |
|
+ 1,2 |
|
|
7. Запасы товаров (с учетом издержек обращения на них) |
34 |
2 |
36,4 |
2 |
35 |
1,9 |
+1 |
-0,1 |
|
ш |
|
8. Выручка от реализации товаров |
6700 |
|
7485 |
|
7485 |
|
+785 |
|
|
9. Однодневный оборот |
18,6 |
|
20,8 |
|
20,8 |
|
+2,2 |
|
|
10. Денежные средства в кассе |
16,74 |
0,9 |
18,72 |
0,9 |
18,1 |
0,87 |
+ 1,36 |
-0,03 |
магазине, на 1 тыс. грн (с 34 до 35 тыс. грн) произошло за счет увеличения оборота товаров по покупным ценам, что увеличило норматив на 2,4 тыс. грн (36,4 - 34), и за счет снижения нормы запасов товаров на 0,1 дня (с 2 до 1,9 дня); норматив снизился на 1,4 тыс. грн (35 - 36,4). Превышение норматива денежных средств в кассе на 1,36 тыс. грн (18,1 - 16,74) произошло за счет роста товарооборота, что увеличило норматив на 1,98 тыс. грн (18,72 - 16,74), и за счет снижения нормы запаса в днях на 0,03 дня (с 0,9 до 0,87 дня), что уменьшило норматив на 0,62 тыс. грн (18,1 - 18,72).
В процессе анализа необходимо изучить дебиторскую задолженность, установить ее законность и сроки возникновения, выявить нормальную и неоправданную задолженности.
На финансовое состояние хозяйствующего субъекта влияет не само наличие дебиторской задолженности, а ее размер, движение и форма, т. е. чем вызвана эта задолженность. Возникновение дебиторской задолженности представляет собой объективный процесс в хозяйственной деятельности при системе безналичных расчетов — так же, как и появление кредиторской задолженности. Дебиторская задолженность не всегда образуется в результате нарушения порядка расчетов и не всегда ухудшает финансовое состояние. Поэтому ее нельзя в полной сумме считать отвлечением собственных средств из оборота, так как часть ее служит объектом банковского кредитования и не влияет на платежеспособность хозяйствующего субъекта.
Различается нормальная и неоправданная задолженности. К неоправданной задолженности относится задолженность по претензиям, возмещению материального ущерба (недостачи, хищения, порча ценностей) и др. Неоправданная дебиторская задолженность представляет собой форму незаконного отвлечения оборотных средств и нарушения финансовой дисциплины.
Анализ состава и движения дебиторской задолженности хозяйствующего субъекта приведен в табл. 22. Из приведенных в ней данных следует, что за отчетный год сумма дебиторской задолженности возросла на 8 тыс. грн (с 487 до 495 тыс. грн), или на 1,6 %, в том числе задолженность по расчетам с дебиторами за товары, работы и услуги увеличилась на 15 тыс. грн (с 408 до 423 тыс. грн), а в сумме задолженности по авансам, выданным поставщикам и подрядчикам, снизилась на 7 тыс. грн (с 79 до 72 тыс. грн).
Из табл. 22 также видно, что в отчетном году была списана на доход хозяйствующего субъекта дебиторская задолженность в сумме
|
Анализ состава и движения дебиторской задолженности хозяйствующего субъекта (тыс. грн.) |
Вид
дебиторской |
На
начало |
На
конец |
Возникло
обяза- |
Погашено обяза- |
Списано
обяза- |
Реальная сумма
отклонения с
учетом списания |
|
задолженности |
года |
года |
тельств |
тельств |
тельств |
повы
шение
(+) |
сниже
ние
(-) |
Расчеты с дебиторами:
- за товары, работы, услуги |
408 |
423 |
42 |
27 |
-6 |
+21 |
|
|
- по полученным векселям |
|
|
|
|
|
|
|
- с дочерними
предприяти
ями |
|
|
|
|
|
|
|
|
- с бюджетом |
- |
- |
- |
- |
- |
- |
- |
|
- с персоналом по прочим операциям |
|
|
|
|
|
|
|
|
- с прочими дебиторами |
|
|
|
|
|
|
|
Авансы, выданные поставщикам и
подрядчикам |
79 |
72 |
19 |
26 |
|
|
-7 |
|
Итого |
487 |
495 |
61 |
53 |
-6 |
+21 |
-7 |
|
6 тыс. грн. Поэтому с учетом данного списания фактическая сумма роста дебиторской задолженности составляет 14 тыс. грн (21 - 7), или (8 - (-6)).
При анализе дебиторской задолженности целесообразно сгруппировать ее по срокам возникновения (табл. 23).
Из табл. 23 видно, что основную часть составляет дебиторская задолженность с небольшим сроком задолженности. Так, на сумму задолженности сроком до 3-х месяцев приходится 332 тыс. грн, или 67,1 % общей суммы задолженности (332 : 495-100). В то же время име-
|
Группировка дебиторской задолженности по срокам ее возникновения (тыс. грн.) |
|
Вид дебиторской задолженности |
|
|
Сроки |
возникновения |
|
|
|
до
1 мес. |
1-3
мес. |
3-6
мес. |
6-9
мес. |
9-12
мес. |
1-1,5
года |
Более
1 ,5 года |
Итого |
|
Расчеты с дебиторами за товары, работы, услуги |
131 |
159 |
40 |
52 |
36 |
5 |
|
423 |
Авансы, выданные поставщикам
и подрядчикам |
|
42 |
15 |
15 |
|
|
|
72 |
|
Итого |
131 |
201 |
55 |
67 |
36 |
5 |
- |
495 |
|
ется задолженность с довольно длительным сроком (1-1,5 года), хотя сумма ее невелика (5 тыс. грн). Однако все же необходимо приложить все усилия, чтобы взыскать данную задолженность в ближайшее время, так как в противном случае это может привести к ее списанию на уменьшение прибыли хозяйствующего субъекта.
При анализе финансового состояния целесообразно изучить правильность применения оборотных средств и выявить их иммобилизацию. Иммобилизация собственных оборотных средств означает использование их не по назначению, т. е. в основные средства, нематериальные активы и финансовые долгосрочные вложения. В условиях рыночной экономики хозяйствующий субъект самостоятельно распоряжается своими собственными и привлеченными средствами. Поэтому анализ иммобилизации собственных оборотных средств целесообразно проводить только при резком уменьшении собственных средств за отчетный период. У анализируемого хозяйствующего субъекта нет иммобилизации оборотных средств.
Следующим этапом анализа является выявление платежеспособности хозяйствующего субъекта. Анализ платежеспособности осуществляется путем соизмерения наличия и поступления средств с платежами первой необходимости. Наиболее четко платежеспособность выявляется при анализе ее за относительно короткий срок (неделя, полмесяца). Платежеспособность измеряется коэффициентом платежеспособности, представляющим собой отношение имеющихся в наличии денежных сумм к сумме срочных платежей на определенную дату или на предстоящий период. Если коэффициент платежеспособности равен или больше единицы, то это означает, что хозяйствующий субъект платежеспособен. Если коэффициент меньше единицы, то в процессе анализа следует установить причины недостатка платежных средств (снижение роста суммы выручки, доходов, прибыли, неправильное использование оборотных средств — например, большие запасы сырья, товаров, готовой продукции и др.).
Анализ платежеспособности хозяйствующего субъекта приведен в табл. 24.
Анализ платежеспособности хозяйствующего субъекта (тыс. грн.)
|
Таблица 24 |
|
Денежные средства |
Предстоящие платежи |
|
|
Сумма |
|
Сумма |
|
Вид денежных |
на 1 янв.
отчетного года |
на 1 янв. после
отчетного года |
Вид предстоящих |
на 1 янв.
отчетного года |
на 1 янв. после
отчетного года |
|
средств |
платежей |
|
В национальной |
1185 |
1061 |
Налоги |
304 |
314 |
|
валюте |
Расчеты с органами |
|
|
|
Валютный счет |
393 |
459 |
социального страхо- |
|
|
|
Прочие денежные средства |
- |
- |
вания, пенсионным фондом и другие
начисления |
28 |
36 |
|
|
|
|
Погашение ссуд |
26 |
19 |
|
|
|
|
Оплата товаров
Оплата коммунальных услуг и услуг сторон- |
464 |
369 |
|
|
|
|
них организаций |
712 |
715 |
|
|
|
|
Оплата труда |
40 |
56 |
|
Итого |
1578 |
1520 |
Итого |
1574 |
1509 |
|
Из табл. 24 видно, что поступление денежных средств хозяйствующего субъекта превышает предстоящие платежи по состоянию на 1 января отчетного года на 4 тыс. грн (1578 - 1574), по состоянию на 1 января после отчетного года — на 11 тыс. грн (1520 - 1509). Таким образом, хозяйствующий субъект является платежеспособным.
Коэффициент платежеспособности на 1 января отчетного года составляет 1578 : 1574 = 1,0025; на 1 января после отчетного года — 1520 : 1509 = 1,0073, т. е. за год он возрос на 0,0048, что свидетельствует об увеличении уровня платежеспособности. Значит, на дату следующей регулировки финансовое состояние хозяйствующего субъекта будет устойчивым.
1.7.4. Анализ кредитоспособности
Под кредитоспособностью хозяйствующего субъекта понимается наличие у него предпосылок для получения кредита и его возврата в срок. Кредитоспособность заемщика характеризуется его аккуратностью при расчетах по ранее полученным кредитам, текущим финансовым состоянием и возможностью при необходимости мобилизовать денежные средства из различных источников. Банк, прежде чем предоставить кредит, определяет степень риска, который он готов взять на себя, и размер кредита, который может быть предоставлен. Анализ условий кредитования предполагает изучение:
1) “солидности” заемщика, которая характеризуется своевременностью расчетов по ранее полученным кредитам, качественностью представленных отчетов, ответственностью и компетентностью руководства;
2) “способности” заемщика производить конкурентоспособную продукцию;
3) “доходов”. При этом оценивается прибыль, получаемая банком при кредитовании конкретных затрат заемщика, по сравнению со средней доходностью банка. Уровень доходов банка должен быть увязан со степенью риска при кредитовании. Банк оценивает размер получаемой заемщиком прибыли с точки зрения уплаты банку процентов при осуществлении нормальной финансовой деятельности;
4) “цели” использования крупных ресурсов;
5) “суммы” кредита. При этом исходят из проведения заемщиком мероприятий ликвидности баланса, соотношения между собственными и заемными средствами;
6) “погашения”. Производится путем анализа возвратности кредита за счет реализации материальных ценностей, предоставленных гарантий и использования залогового права;
7) “обеспечения” кредита, т. е. изучения устава и положения с точки зрения определения прав банка брать в залог под выданную ссуду активы заемщика, включая ценные бумаги.
При анализе кредитоспособности используют целый ряд показателей. Наиболее важными являются норма прибыли на вложенный капитал и ликвидность.
Норма прибыли на вложенный капитал определяется отношением суммы прибыли к общей сумме пассива по балансу:
Р = П / ? К,
где Р — нормы прибыли; П — сумма прибыли за отчетный период (квартал, год), грн.; ? К — общая сумма пассива, грн.
Рост этого показателя характеризует тенденцию прибыльной деятельности заемщика, его доходности. В нашем примере за прошлый год имеем 11040 : 40890 = 0,2699; за отчетный год 10624,5 : 41016 = = 0,2590 (см. табл. 14 и 17).
Таким образом, сумма прибыли, получаемой со 100 грн, вложенного капитала, снизилась на 1,09 грн (с 26,99 до 25,9 грн), или на 4,04 %.
Ликвидность хозяйствующего субъекта — способность его быстро погашать свою задолженность. Она определяется соотношением величины задолженности и ликвидных средств, т. е. средств, которые могут быть использованы для погашения долгов (наличные деньги, депозиты, ценные бумаги, реализуемые элементы оборотных средств и др.). По существу ликвидность хозяйствующего субъекта означает ликвидность его баланса. Ликвидность баланса выражается в степени покрытия обязательств хозяйствующего субъекта его активами, срок превращения которых в деньги соответствует сроку погашения обязательств. Ликвидность означает безусловную платежеспособность хозяйствующего субъекта и предполагает постоянное равенство между активами и обязательствами как по общей сумме, так и по срокам наступления. Методика анализа ликвидности баланса состоит в сравнении средств по активу, сгруппированных по степени их ликвидности и расположенных в порядке убывания ликвидности, с обязательствами по пассиву, объединенными по срокам их погашения и в порядке возрастания сроков.
В зависимости от степени ликвидности, т. е. скорости превращения в денежные средства, активы хозяйствующего субъекта подразделяются на следующие группы:
А1 — наиболее ликвидные активы. К ним относятся все денежные средства хозяйствующего субъекта (наличные и на счетах) и краткосрочные финансовые вложения (ценные бумаги).
Из табл. 20 имеем:
на начало года А1 = 1578 тыс. грн;
на конец года А1 = 1520 тыс. грн.
А2 — быстро реализуемые активы. Сюда входят дебиторская задолженность и прочие активы.
Из табл. 20 имеем:
на начало года А2 = 487 тыс. грн;
на конец года А2 = 495 тыс. грн.
А3 — медленно реализуемые активы. К ним относится статьи раздела II актива “Оборотные активы”.
Из табл. 20 имеем: на начало года:
А3 = 3315 + 1626 + 549 + 445 + 35 + 12 + 6 = 5988 тыс. грн; на конец года:
А3 = 3448 + 1607 + 549 + 445 + 53 + 8 + 8 = 6118 тыс. грн.
А4 — трудно реализуемые активы. Это “Основные средства”, “Нематериальные активы”, “Незавершенное строительство”.
Из табл. 16 имеем:
на начало года А4 = 180 + 32640 = 32820 тыс. грн; на конец года А 4 = 171 + 32695 = 32866 тыс. грн.
Пассивы баланса группируются по степени срочности оплаты:
П — наиболее срочные пассивы. К ним относятся кредиторская задолженность и прочие пассивы.
Из табл. 17 имеем:
на начало года П1 = 360 тыс. грн;
на конец года П1 = 329 тыс. грн.
П2 — краткосрочные пассивы. Они охватывают краткосрочные кредиты и заемные средства.
Из табл. 17 имеем:
на начало года П2 = 15 тыс. грн;
на конец года П2 = 22 тыс. грн.
П3 — долгосрочные пассивы. Сюда входят долгосрочные кредиты и заемные средства. У анализируемого хозяйствующего субъекта их нет.
П4 — постоянные пассивы. Они включают статьи из раздела I пассива “Собственный капитал”. Для сохранения баланса актива и пассива итог данной группы уменьшается на сумму статьи “Расходы будущих периодов”.
Из табл. 17 и 20 имеем:
на начало года П4 = 40515 - 17 = 40498 тыс. грн; на конец года П4 = 40665 - 17 = 40648 тыс. грн.
Для определения ликвидности баланса следует сопоставить итоги приведенных групп по активу и пассиву.
Баланс считается абсолютно ликвидным, если:
А1 > П ; А2 > П2;
А3 > П3; А4 < П4.
Анализ ликвидности баланса хозяйствующего субъекта приведен в табл. 25.
Из табл. 25 видно, что анализируемый хозяйствующий субъект обладает высокой ликвидностью, которая за год возросла.
Ликвидность хозяйствующего субъекта оперативно можно определить с помощью коэффициента абсолютной ликвидности, который представляет собой отношение денежных средств, готовых для платежей и расчетов, к краткосрочным обязательствам:
К= (Д+Б)І(К+З),
где Кл — коэффициент абсолютной ликвидности хозяйствующего субъекта; Д — денежные средства (в кассе, на расчетном счете, на валютном счете, в расчетах, в пути, прочие денежные средства), грн.; Б — ценные бумаги и краткосрочные вложения, грн.; К — краткосрочные кредиты и заемные средства, грн.; З — кредиторская задолженность и прочие пассивы, грн.
Коэффициент Кл характеризует возможность хозяйствующего субъекта мобилизовать денежные средства для покрытия краткосрочной задолженности. Чем выше этот коэффициент, тем надежнее заемщик.
В зависимости от величины коэффициента абсолютной ликвидности хозяйствующий субъект принято квалифицировать как:
кредитоспособный — при Кл> 1,5;
ограниченно кредитоспособный — при Кл = от 1 до 1,5;
некредитоспособный — при Кл< 1,0.
Для анализируемого хозяйствующего субъекта:
на начало года Кл = 1578 І (360 + 15) = 4,21;
на конец года Кл = 1520 І (329 + 22) = 4,33.
133
|
Актив |
На
начало
года |
На
конец
года |
Пассив |
На
начало
года |
На
конец
года |
Платежный
излишек
или недостаток |
Отклонения
в процентах |
на
начало
года |
на
конец
года |
на
начало
года |
на
конец
года |
Наиболее ликвидные
активы |
1578 |
1520 |
Наиболее срочные
пассивы |
360 |
329 |
+ 1218 |
+ 1191 |
+ 338,3 |
+362 |
Быстро реализуемые
активы |
487 |
495 |
Кр аткосрочные
пассивы |
15 |
22 |
+ 472 |
+473 |
+3146,7 |
+2150 |
|
Медленно реализуемые активы |
5988 |
6118 |
Долгосрочные
пассивы |
|
|
+5988 |
+6118 |
|
|
Трудно реализуемые
активы |
32820 |
32866 |
Постоянные
пассивы |
40498 |
40648 |
-7678 |
-7782 |
-18,9 |
19,1 |
|
Баланс |
40873 |
40999 |
Баланс |
40873 |
40999 |
0 |
0 |
- |
- |
Таким образом, ликвидность хозяйствующего субъекта, а следовательно и его кредитоспособность, возросла за год на 2,85 %, т. е. (4,33 - 4,21) : 4,21 • 100.
Ликвидность хозяйствующего субъекта также характеризуется коэффициентом финансовой устойчивости и коэффициентом привлечения средств. Коэффициент финансовой устойчивости анализируемого хозяйствующего субъекта был рассчитан выше (при рассмотрении табл. 16 и 17). Коэффициент привлечения средств представляет собой отношение задолженности к сумме текущих активов или к одной из их составляющих:
Кп.с= ЗА
где Кпс — коэффициент привлечения средств; З — задолженность, грн.; А — текущие активы, грн.
Данный коэффициент отражает степень финансовой независимости предприятия от заемных источников. Чем ниже уровень этого коэффициента, тем выше кредитоспособность хозяйствующего субъекта.
Следует иметь в виду, что все банки пользуются показателями кредитоспособности. Однако каждый банк формирует свою количественную систему оценки, составляющую коммерческую тайну банка, в распределении заемщиков на три категории: надежный (кредитоспособный), неустойчивый (ограниченно кредитоспособный) и ненадежный (некредитоспособный). Заемщик, признанный надежным, кредитуется на общих условиях; в этом случае может быть применен льготный порядок кредитования. Если заемщик оказывается неустойчивым клиентом, то при заключении кредитного договора предусматриваются нормы контроля за деятельностью заемщика и возвратностью кредита (гарантия, поручительство, ежемесячная проверка обеспечения, условия залогового права, повышение процентных ставок и др.). Если ссудозаявитель признан ненадежным клиентом, то кредитование его с позиции банка осуществлять нецелесообразно. Банк может предоставить ссуду только на особых условиях, предусмотренных в кредитном договоре.
Главными причинами необеспечения ликвидности и кредитоспособности хозяйствующего субъекта являются: наличие дебиторской задолженности, особенно неоправданной; нарушение обязательств перед клиентами; накопление избыточных производственных и товарных запасов; низкая эффективность хозяйственной деятельности; замедление оборачиваемости оборотных средств.
1.7.5. Анализ использования капитала
Вложение капитала должно быть эффективным. Под эффективностью использования капитала понимается величина прибыли, приходящейся на 1 грн вложенного капитала.
Капитал — комплексное понятие, включающее в себя движение оборотных средств, основных фондов, нематериальных активов. Поэтому сначала использование капитала анализируется по определенным его частям, затем делается сводный анализ.
1. Эффективность использования оборотных средств характеризуется прежде всего их оборачиваемостью. Под оборачиваемостью средств понимается продолжительность прохождения средствами отдельных стадий производства и обращения. Время, в течение которого оборотные средства находятся в обороте, т. е. последовательно переходят из одной стадии в другую, составляет период оборота оборотных средств. Оборачиваемость оборотных средств исчисляется продолжительностью одного оборота в днях или количеством оборотов за отчетный период (коэффициентом оборачиваемости). Продолжительность одного оборота в днях представляет собой отношение суммы среднего остатка оборотных средств к сумме однодневной выручки за анализируемый период:
Z _ Ot/T,
где Z — оборачиваемость оборотных средств, дней; О — средний остаток оборотных средств, грн.; t — количество дней анализируемого периода (90; 360); Т — выручка от реализации продукции за анализируемый период, грн.
Средний остаток оборотных средств определяется как средняя хронологическая моментного ряда, исчисляемая по совокупности значений показателя в разные моменты времени:
O _ 1/2Q + 1/2O2 +... +1/2On n — 1 ’
где Op О2 , On — остаток оборотных средств на первое число каждого месяца, грн.; п — количество месяцев.
Коэффициент оборачиваемости средств характеризует размер объема выручки от реализации в расчете на 1 грн оборотных средств. Он определяется как отношение суммы выручки от реализации продукции к среднему остатку оборотных средств:
Ко_Т/О,
где Ко — коэффициент оборачиваемости, обороты; Т — выручка от реализации продукции за анализируемый период, грн.; О — средний остаток оборотных средств, грн.
Коэффициент оборачиваемости средств — это фондоотдача оборотных средств. Рост коэффициента оборачиваемости свидетельствует о более эффективном использовании оборотных средств. Одновременно он показывает количество оборотов оборотных средств за анализируемый период и может быть рассчитан делением количества дней анализируемого периода на продолжительность одного оборота в днях (оборачиваемость в днях):
Ко
где Ко — коэффициент оборачиваемости средств, обороты; t — число дней анализируемого периода (90; 360); Z — оборачиваемость оборотных средств, дней.
Важным показателем эффективности использования оборотных средств является также коэффициент загрузки средств в обороте. Он характеризует сумму оборотных средств, авансируемых на 1 грн выручки от реализации продукции. Иными словами, он представляет собой оборотную фондоемкость, т. е. затраты оборотных средств для получения 1 грн реализованной продукции (работ, услуг). Коэффициент загрузки средств в обороте характеризуется отношением среднего остатка оборотных средств к сумме выручки от реализации продукции:
Кз =
где Кз — коэффициент загрузки средств в обороте; О — средний остаток оборотных средств, грн.; Т — выручка от реализации продукции за анализируемый период, грн.
Коэффициент загрузки средств в обороте (Кз) — величина, обратная коэффициенту оборачиваемости средств (Ко). Чем меньше коэффициент загрузки средств, тем эффективнее используются оборотные средства.
Анализ оборачиваемости оборотных средств хозяйствующего субъекта приведен в табл. 26.
Из табл. 26 видно, что оборачиваемость оборотных средств хозяйствующего субъекта за год ускорилась на 8 дней — с 39,2 до 31,2. Это привело к увеличению коэффициента оборачиваемости средств на 2,3 оборота (с 9,2 до 11,5 оборотов) и к снижению коэффициента загрузки средств в обороте на 0,0222 (с 0,1089 до 0,0867 грн).
|
Показатель |
Прошлый год |
Отчетный год |
Изменение |
|
Выручка, тыс. грн. |
75000 |
95000 |
+20000 |
|
Анализируемый период, дней |
360 |
360 |
- |
|
Однодневная выручка, тыс. грн. |
208,3 |
263,9 |
+55,6 |
|
Средний остаток оборотных средств, тыс. грн. |
8169 |
8239 |
+ 70 |
|
Продолжительность одного оборота, дней |
39,2 |
31,2 |
-8 |
|
Коэффициент оборачиваемости средств, обороты |
9,2 |
11,5 |
+2,3 |
|
Коэффициент загрузки средств в обороте, грн. |
0,1089 |
0,0867 |
-0,0222 |
Изменение скорости оборота оборотных средств было достигнуто в результате взаимодействия двух факторов: увеличения объема выручки на 20000 грн (95000 - 75000) и увеличения среднего остатка оборотных средств на 70 тыс. грн (8239 - 8169). Влияние каждого из этих факторов на общее ускорение оборачиваемости оборотных средств характеризуется следующим образом:
1) рост объема выручки ускорил оборачиваемость оборотных средств на 8,3 дня:
8169
263,9
- 39,2 = 8,3 дня;
2) увеличение среднего остатка оборотных средств на 70 тыс. грн замедлило оборачиваемость средств на 0,3 дня:
70
263,9
- 39,2 = 0,3 дня.
Итого -8,3 + 0,3 = -8 дней.
Ускорение оборачиваемости оборотных средств на 8 дней высвободило из оборота денежные средства в сумме 2111,2 тыс. грн:
-8 • 263,9 = -2111,2 тыс. грн.
Величину экономического эффекта, полученного от ускорения оборачиваемости оборотных средств, можно определить, используя коэффициент загрузки средств в обороте. Так, если в прошлом году для получения 100 грн выручки было затрачено 10,89 грн оборотных средств, то в отчетном году — только 8,67 грн, т. е. меньше на 2,22 грн. Следовательно, общая сумма экономии оборотных средств со всего объема выручки составляет
2109 тыс. грн.
-2,22 • 95000 100
Разница в 2,2 тыс. грн с цифрой -2111,2 тыс. грн объясняется округлением цифр при расчете.
2. Эффективность использования основных фондов определяется показателями фондоотдачи и фондоемкости.
Фондоотдача основных фондов устанавливается отношением объема выручки от реализации продукции к среднегодовой стоимости основных фондов:
С’
где Ф — фондоотдача, грн.; Т — объем выручки от реализации продукции, грн.; С — среднегодовая стоимость основных фондов, грн.
Среднегодовая стоимость основных фондов определяется для каждой группы основных фондов с учетом их ввода в действие и выбытия.
Рост фондоотдачи свидетельствует о повышении эффективности использования основных фондов.
Фондоемкость продукции — величина, обратная фондоотдаче. Она характеризует затраты основных средств, авансированных на 1 грн выручки от реализации продукции:
Фе =
где Фе — фондоемкость продукции, грн.; С — среднегодовая стоимость основных фондов, грн.; Т — выручка от реализации продукции, грн.
Снижение фондоемкости продукции свидетельствует о повышении эффективности использования основных фондов. Анализ эффективности использования основных фондов хозяйствующего субъекта приведен в табл. 27.
|
Показатель |
Прошлый год |
Отчетный год |
Изменение |
|
Выручка, тыс. грн. |
75000 |
95000 |
+20000 |
|
Среднегодовая стоимость основных фондов, тыс. грн. |
55430 |
61392 |
+ 5962 |
|
Фондоотдача основных фондов, грн. |
1,35 |
1,55 |
+0,2 |
|
Фондоемкость продукции, грн. |
0,7391 |
0,6462 |
-0,0929 |
Из табл. 27 видно, что фондоотдача основных фондов за год возросла на 0,2 грн — с 1,35 до 1,55 грн, что вызвало снижение фондоемкости продукции на 0,0929 грн — с 0,7391 до 0,6462 грн. Это положительно характеризует финансовое состояние хозяйствующего субъекта и указывает на эффективное использование основных фондов. Повышение эффективности использования основных фондов способствовало экономии капитальных вложений на сумму 8825,5 тыс. грн (-0,0929 • 95000).
Показатель фондоотдачи тесно связан с производительностью труда и его фондовооруженностью, которая характеризуется стоимостью основных фондов, приходящихся на одного работника.
Имеем:


Фв
Т = ЧВ; С = ЧФв;
В = Т = ЧВ - В
= С ~ ЧФв - Фв ’
где В — производительность труда, грн.; Т — объем выручки от реализации продукции, грн.; Ч — численность работников, чел.; Ф — фондоотдача основных фондов, грн.; С — среднегодовая стоимость основных фондов, грн.; Фв — фондовооруженность труда, грн.
Таким образом, основным условием роста фондоотдачи является превышение темпов роста производительности труда над темпами роста его фондовооруженности. Факторный анализ фондоотдачи основных фондов хозяйствующего субъекта приведен в табл. 28.
Таблица 28
Факторный анализ фондоотдачи основных фондов хозяйствующего субъекта |
|
Показатель |
Прошлый
год |
Отчетный
год |
Изменение |
абсолют
ное |
в % |
|
Выручка, тыс. грн. |
75000 |
95000 |
+20000 |
26,7 |
|
Среднесписочная численность работников, чел. |
155 |
164 |
+ 9 |
5,8 |
|
Производительность труда одного среднесписочного работника, тыс. грн. |
483,87 |
597,27 |
+95,4 |
19,7 |
|
Среднегодовая стоимость основных фондов, тыс. грн. |
55430 |
61392 |
+5962 |
10,8 |
|
Фондовооруженность труда одного среднесписочного работника, тыс. грн. |
357,61 |
374,34 |
+ 16,73 |
4,7 |
|
Фондоотдача основных фондов, тыс. грн. |
1,35 |
1,55 |
+0,2 |
14,8 |
|
Из табл. 28 видно, что рост фондоотдачи основных фондов на 14,8 % произошел в результате превышения темпов роста производительности труда (19,7 %) над темпами роста его фондовооруженности (4,7 %). Степень влияния каждого из этих факторов на изменение фондоотдачи основных фондов определяется с помощью факторного анализа, который проводится приемом цепной подстановки. Для этого произведем последовательно такие расчеты:
В_
Фв0
483,8
357,61
Фо
1,35 грн,
579,27 " 357,61 579,27 374,34
_§L
Фв0
В _
Фо1 =
1,62 грн,
1,55 грн.
в1
Следовательно, на увеличение фондоотдачи основных фондов на 0,20 грн оказали влияние различные факторы:
1) рост производительности труда работников увеличил фондоотдачу основных фондов на 0,27 грн:
Фо1 -фо = 1,62 -1,35 = 0,27 грн;
2) рост фондовооруженности труда работников снизил фондоотдачу основных фондов на 0,07 грн:
ф - Фо1 = 1,55 -1,62 = -0,07 грн.
Итого 0,27 - 0,07 = 0,20 грн.
3. Эффективность использования нематериальных активов измеряется, как и использование основных фондов, показателями фондоотдачи и фондоемкости. Анализ эффективности использования нематериальных активов хозяйствующего субъекта приведен в табл. 29.
Таблица 29
Анализ эффективности использования нематериальных активов хозяйствующего субъекта |
|
Показатель |
Прошлый год |
Отчетный год |
Изменение |
|
Выручка, тыс. грн. |
75000 |
95000 |
+20000 |
Среднегодовая стоимость нематериальных активов,
тыс. грн. |
227 |
225 |
-2 |
|
Фондоотдача нематериальных активов, грн. |
330,4 |
422,22 |
+ 91,82 |
|
Фондоемкость продукции, грн. |
0,0030 |
0,0024 |
-0,0006 |
|
Из табл. 29 видно, что фондоотдача нематериальных активов за год возросла на 91,82 грн (с 330,4 до 422,22 грн), что снизило фондоемкость продукции по нематериальным активам с 0,003 до 0,0024 грн. Это способствовало экономии капитальных вложений на сумму 57 тыс. грн (-0,0006 • 95000).
4. Эффективность использования капитала в целом следующая. Капитал представляет собой сумму оборотных средств, основных фондов, нематериальных активов. Эффективность использования капитала лучше всего характеризуется его рентабельностью. Уровень рентабельности капитала измеряется процентным отношением балансовой прибыли к величине капитала. Анализ рентабельности капитала приведен в табл. 30.
Таблица 30
Анализ рентабельности капитала хозяйствующего субъекта
|
Показатель |
Прошлый год |
Отчетный год |
Изменение |
|
Прибыль от обычной деятельности до налогообложения (балансовая прибыль), тыс. грн. |
11040 |
10624,5 |
-415,5 |
|
Выручка, тыс. грн. |
75000 |
95000 |
+20000 |
|
Балансовая прибыль, в % к выручке |
14,72 |
11,18 |
-3,54 |
|
Средний остаток оборотных средств, тыс. грн. |
8169 |
8239 |
+70 |
|
Среднегодовая стоимость основных фондов, тыс. грн. |
55430 |
61392 |
+5962 |
Среднегодовая стоимость нематериальных активов,
тыс. грн. |
227 |
225 |
-2,0 |
|
Общая сумма капитала, тыс. грн. |
63826 |
69856 |
+6030 |
|
Уровень рентабельности капитала, % |
17,3 |
15,21 |
-2,09 |
|
Коэффициенты оборачиваемости оборотных средств, обороты |
9,2 |
11,5 |
+2,3 |
|
Фондоотдача основных фондов, грн. |
1,35 |
1,55 |
+0,2 |
|
Фондоотдача нематериальных активов, грн. |
330,4 |
422,22 |
+ 91,82 |
Из табл. 30 видно, что уровень рентабельности капитала за год снизился на 2,09 % (с 17,3 до 15,21 %).
Уровень рентабельности капитала может быть выражен формулой, характеризующей его структуру:
Р _ П-100 1
_ Т 1 1 1 ,
Ко + Ф + Фн
где Р — уровень рентабельности капитала, %; П — балансовая прибыль, грн.; Т — выручка, грн.; Ко — коэффициент оборачиваемости оборотных средств, обороты; Ф — фондоотдача основных фондов, грн.; Фн — фондоотдача нематериальных активов, грн.
Из формулы следует, что уровень рентабельности капитала прямо зависит от уровня балансовой прибыли на 1 грн выручки, коэффициента оборачиваемости оборотных средств, фондоотдачи нематериальных активов. Влияние указанных факторов на уровень рентабельности капитала определяем с помощью приема цепных подстановок. С этой целью последовательно производим следующие расчеты:
3) Ро2 _
5) Р _
о |
О
о
й°
1 |
1 |
|
Т0 |
1 1 1 |
|
Ко0 Ф0 Фн0 |
О
о
й4
1 |
1 |
|
Т1 |
1 1 1 |
|
Ко0 Ф0 Фн0 |
О
о
й4
1 |
1 |
|
Т1 |
1 1 1
Ко1 Ф0 Фн0 |
1
Ьз
о
о |
1 |
|
Ті |
1 1 1 |
|
Ко1 ' Ф ' Фн0 |
fcl
О
о |
1 |
|
Т1 _ |
1 1 1
-+-+- |
|
_ 14,27-
_ 11,18
_ 11,18-
_ 11,18
_ 11,18- |
|
Ко1 Ф1 Фн1 |
¦ = 17,3 %;
9,2 1,35 330,4
1
2) Ро1 _
= 13,08 %;
9,2 + 1,35 + 330,4
= 13,42 %;
11,5 1,35 330,4
1
= 15,04 %;
11,5 +1,55 + 330,4
-=15,21 %.
11,5 + 1,55 + 422,22
Произведенные расчеты показывают, что уровень рентабельности капитала снизился на 2,09 % (с 17,3 до 15,21 %). На это снижение отдельные факторы оказали следующее влияние:
1) снижение размера прибыли на 1 грн выручки снизило уровень рентабельности капитала на 4,22 %:
РО1 - РО = 13,08 - 17,3 = - 4,22 %;
2) увеличение коэффициента оборачиваемости оборотных средств повысило уровень рентабельности капитала на 0,34 %:
Ро2 - Ро1 = 13,42 - 13,08 = 0,34 %;
3) повышение фондоотдачи основных фондов увеличило уровень рентабельности капитала на 1,62 %:
Ро3 - РО2 = 15,04 - 13,42 = 1,62 %;
4) рост фондоотдачи нематериальных активов повысил уровень рентабельности капитала на 0,17 %:
Р1 - Ро3 = 15,21 - 15,04 = 0,17 % .
Итого
-4,22 + 0,34 + 1,62 + 0,17 = -2,09 %.
1.7.6. Анализ уровня самофинансирования
Самофинансирование означает финансирование за счет собственных источников: амортизационных отчислений и прибыли. Термин “самофинансирование” выделяется из общепринятого положения финансирования производственно-торгового процесса, что обусловлено прежде всего повышением роли амортизационных отчислений и прибыли в обеспечении хозяйствующих субъектов денежным капиталом за счет внутренних источников накопления. Однако хозяйствующий субъект не всегда может полностью обеспечить себя собственными финансовыми ресурсами, поэтому широко использует заемные и привлеченные денежные средства как элемент, дополняющий самофинансирование.
Анализ уровня самофинансирования хозяйствующего субъекта приведен в табл. 31.
Принцип самофинансирования базируется не только на стремлении накопления собственных денежных источников, но и на рациональной организации производственно-сбытового процесса, постоянном обновлении основных фондов, четком реагировании на потребности
Таблица 31
Анализ уровня самофинансирования хозяйствующего субъекта
за год |
|
Показатель |
Прошлый
год |
Отчетный
год |
Изменение
(+, -) |
|
Прибыль, отчисляемая в фонд накопления, тыс. грн. |
6624 |
6381 |
-243 |
|
Амортизационные отчисления, тыс. грн. |
14100 |
14340 |
+ 240 |
|
Заемные средства, тыс. грн. |
15 |
22 |
+7 |
Кредиторская задолженность и другие привлеченные
средства, тыс. грн. |
360 |
329 |
-31 |
|
Коэффициент самофинансирования |
55,3 |
59 |
+3,7 |
|
рынка. Именно сочетание этих методов в хозяйственном механизме позволяет создать благоприятные условия для самофинансирования, т. е. выделения больше собственных денежных средств на финансирование своих текущих и капитальных потребностей.
Эффективность самофинансирования и его уровень зависят от удельного веса собственных источников. Уровень самофинансирования можно определить с помощью коэффициента самофинансирования
Кс =
К + З
где Кс — коэффициент самофинансирования; П — прибыль, направляемая в фонд накопления, грн.; А — амортизационные отчисления, грн.; К — кредиторская задолженность и другие привлеченные средства, грн.; З — заемные средства, грн.
Из табл. 31 видно, что коэффициент самофинансирования в отчетном году равен 59. Это означает, что объем собственных источников финансирования развития производства хозяйствующего субъекта в 59 раз превышает объем привлеченных средств. Рост коэффициента самофинансирования на 3,7 ед. (с 55,3 до 59) свидетельствует о повы
3,7
55,3
•100
шении уровня самофинансирования на 6,7 %
1.7.7. Анализ валютной самоокупаемости
Принцип валютной самоокупаемости заключаются в превышении поступления валюты над ее расходами. Соблюдение этого принципа означает, что хозяйствующий субъект не “проедает” свой валютный фонд, а постоянно его накапливает. Обычно фирмы и компании оценивают валютную самоокупаемость в долларах США. Анализ валютной самоокупаемости хозяйствующего субъекта приведен в табл. 32.
Анализ валютной самоокупаемости хозяйствующего субъекта за год
|
Таблица 32 |
|
Показатель |
Сумма, |
|
|
тыс. дол. |
1. Поступление валюты
1.1. Остаток валюты на текущем счете на начало года
1.2. Вклады на депозите
1.3. Выручка от реализации товаров (работ, услуг) |
45
97
213,4 |
1.4. Поступление выплаты процентов по валютным средствам, хранящимся на текущем и депозитном счетах
1.5. Кредит в валюте
1.6. Поступление доходов по ценным бумагам в валюте
1.7. Покупка валюты на бирже, аукционе, в банке
1.8. Пожертвование |
3,2 |
|
Итого |
358,6 |
2. Расход валюты
2.1. Затраты на приобретение материальных ценностей и на оплату текущих расходов
2.2. Затраты на модернизацию
2.3. Возврат ранее полученных кредитов и процентов по ним
2.4. Прибыль, полученная иностранным партнером при совместной деятельности
2.5. Зарплата иностранных работников
2.6. Сумма валюты, переводимая за границу
на пенсионное обеспечение иностранных работников
2.7. Комиссия за покупку валюты
2.8. Продажа валюты на бирже, на аукционе, банку
2.9. Покупка ценных бумаг в валюте
2.10. Отчисление на благотворительные цели и спонсорство |
39
101 |
|
Итого |
140 |
|
3. Сальдо поступления и расхода валюты (остаток валюты на конец года) |
218,6 |
|
Из табл. 32 видно, что за год поступление валюты составило 358,6 тыс. дол., расход — 140 тыс. дол., остаток на конец года — 358,6 - 140 = 218,6 тыс. дол. Хозяйствующий субъект имеет положительное сальдо поступлений и расхода валюты, что свидетельствует о соблюдении условий валютной самоокупаемости. Коэффициент
358,6
140
валютной самоокупаемости составил 2,56
что свидетель-
ствует о высокой валютной устойчивости хозяйствующего субъекта.
Таким образом, мы познакомились с ходом анализа финансового состояния предприятия в условиях формирования рыночных отношений. Однако важно уметь анализировать не только финансовое положение предприятия, но и общее экономическое состояние хозяйствующего субъекта.
1.8. Оценка результатов хозяйственной деятельности в зарубежных фирмах и компаниях
В организации работы любого предприятия или организации приходится сопоставлять затраты и результаты работы, применять те или иные показатели. Тем более этому нужно уделять самое пристальное внимание, когда речь идет об успешной хозяйственной деятельности, о продвижении на рынке, о достижении превосходства над своими конкурентами.
Поэтому любое предприятие или фирма пользуется системой показателей хозяйственной деятельности (ПХД). Бесспорным является другое — все ПХД тесно взаимосвязаны (см. параграф 1.6).
При всем многообразии ПХД, используемых сегодня в бизнесе, их можно разделить на две основные группы:
• оценочные показатели (прибыль, товарооборот, условно чистая продукция и др.);
• показатели издержек производства (затраты на оплату труда, амортизацию, материально-энергетические ресурсы и др.).
Прежде чем добиваться реального улучшения положения дел в своем бизнесе, думать о повышении своей конкурентоспособности или хотя бы просто об облегчении своего финансового положения, предприниматель должен не просто четко представлять себе, что и как измерять, а где, в какой отрасли тот или иной показатель или способ его измерения наиболее пригоден.
Главным и определяющим показателем оценки хозяйственной деятельности предприятия или компании в условиях рынка остается, конечно же, прибыль. Проблема лишь в том, как определить размер прибыли на вложенный капитал. Уровень рентабельности предприятия может существенно меняться в зависимости от принятой методики измерения прибыли. Размер прибыли конкретного предприятия подвержен влиянию множества не только внутренних, но и внешних факторов: темпов инфляции, особенностей налогообложения и т. п. Методика определения размера прибыли меняется от отрасли к отрасли, она различается на уровне корпорации и ее отделений и т. д. Также отметим, что, несмотря на всю свою значимость, далеко не всех как внутри компании, так и за ее пределами показатели прибыльности конкретного предприятия интересуют в первую очередь. Кредиторов или тех, кто сдает в аренду землю, здания, сооружения или оборудование, куда больше интересует движение ликвидности в компании, нежели уровень ее рентабельности. Акционеров интересует не только размер дивидендов, но и курс акций, который зависит от темпов роста объема продаж компании.
В целом среди оценочных ПХД выделяется девять наиболее важных показателей:
1) оборот (товарооборот или объем продаж) компании;
2) валовая прибыль;
3) условно чистая прибыль;
4) условно чистая продукция;
5) прибыль после уплаты процентов по займам и кредитам;
6) прибыль после уплаты налогов;
7) прибыль после выплаты всех дополнительных платежей;
8) ликвидность после осуществления новых капиталовложений в развитие производства;
9) ликвидность после уплаты дивидендов.
Все эти показатели одинаково необходимы во внутрифирменном управлении как для эффективного контроля за производством, финансовым положением фирмы, так и для выработки и принятия решений.
На базе этих показателей руководство предприятия получает информацию, которая служит основой для выработки именно тех решений, которые могут изменить положение фирмы в лучшую сторону. Некоторые из перечисленных показателей играют важную роль также в разработке системы стимулирования труда на предприятии.
Первым из оценочных ПХД определяется размер оборота предприятия или компании. Он определяется как общий объем продаж, т. е. стоимость товаров и услуг, реализованных потребителям. При измерении оборота предприятия важным является период, за который он подсчитывается (неделя, месяц, квартал, год), поскольку этот показатель подвержен сильному влиянию инфляционных процессов.
Поэтому наиболее предпочтительно его измерение в неизменных ценах, но для нужд оперативного бухгалтерского учета и текущего планирования оборот может определяться и в текущих ценах, хотя при больших колебаниях цен возникает сложность при сопоставлении результатов.
Величина оборота является наиболее предпочтительным оценочным показателем для бесприбыльных и бюджетных организаций.
Определение оборота затруднено в крупных компаниях, особенно конгломератах, а также в отделениях крупных фирм. В последнем случае возникает проблема определения внутрифирменного оборота — оборота между отделениями на основе трансфертных средств. Но этот показатель применяется довольно часто.
Отношение объема продаж к сумме активов (S/ТА) и отношение объема продаж к основному капиталу характеризуют эффективность использования всех средств, имеющихся в распоряжении фирмы в первом случае, и средств, вложенных в основной капитал, — во втором. Рост этих показателей означает повышение эффективности ее операций либо отражает инфляционный рост цен, что может сочетаться со снижением рентабельности использования основного капитала и активов в целом.
Дополняющим эти два показателя является отношение объема продаж к оборотным активам (S/NCA). Иногда этот показатель называют коэффициентом оборачиваемости оборотных активов. Он показывает, сколько оборотов сделал оборотный капитал в течение года. Чем выше число оборотов, тем активнее коммерческая деятельность фирмы, тем меньше средств требуется ей для ведения текущих операций.
Отношение объема продаж к материально-производственным запасам (S/ST) называется коэффициентом оборачиваемости материальнопроизводственных запасов и отражает число оборотов последних в течение года. Снижение этого показателя может свидетельствовать о затоваренности готовой продукцией и, следовательно, о том, что фирма начинает испытывать трудности со сбытом. Это может также свидетельствовать об увеличении запасов сырья и материалов в связи с ожидаемым ростом цен на него. Для выяснения фактических причин уменьшения числа оборачиваемости материально-производственных запасов анализируются изменения в их структуре.
Отношение суммы продажи к краткосрочной дебиторской задолженности (Sales to Recievables) (S/SR) дает возможность определить средний срок коммерческого кредита, предоставляемого предприятием своим клиентам.
Если вычесть из размера оборота компании стоимость покупных сырья, материалов, полуфабрикатов и другие переменные издержки, то получим другой ПХД — валовую прибыль.
Данный показатель, кстати, легко рассчитывается и для отделения крупной корпорации. В управлении валовая прибыль (ВП) является одним из наиболее распространенных оценочных показателей. По данным имеющихся исследований, более половины британских и американских фирм сегодня используют ВП в качестве главного оценочного показателя хозяйственной деятельности.
Показатель ВП наиболее предпочтителен в тех отраслях промышленности и сферах бизнеса, где относительно невелика доля постоянных издержек (например, в торговле).
В краткосрочном плане пользоваться показателем ВП во всех отношениях более предпочтительно, нежели оборотом предприятия. Показатель ВП широко применяется также в тех отраслях промышленности, где велика доля переменных издержек, материально-энергетических затрат в себестоимости продукции. Однако показатель ВП в качестве оценочного неприменим в капиталоемких отраслях промышленности, где размер прибыли определяется прежде всего уровнем использования производственного оборудования, уровнем организации производства и слабо подвержен воздействию конъюнктуры цен на сырье, не зависит от экономии материальных затрат. Кроме того, ВП не подходит в качестве оценочного показателя для организаций с подвижной структурой издержек производства, с меняющейся постоянной и переменной частями себестоимости. Основной проблемой при расчете ВП является определение уровня запасов и размеров незавершенного производства. С учетом инфляции эти показатели издержек могут существенно деформировать величину данного показателя в различных компаниях.
На основе показателя ВП зарубежные специалисты рассчитывают различные коэффициенты рентабельности:
• коэффициент валовой прибыли (PS %) рассчитывается как отношение валовой прибыли к сумме продажи и считается наиболее наглядным показателем рентабельности предприятия. Рост этого коэффициента может означать либо повышение цен на продукцию при неизменной себестоимости, либо снижение издержек производства при сохранении цен. Уменьшение коэффициента может быть вызвано либо понижением цен без соответствующего уменьшения издержек, либо повышением себестоимости продукции при прежних ценах.
Во многих отраслях сложились устойчивые отношения валовой прибыли к объему продажи;
• отношение чистой прибыли к объему продажи показывает, сколько получило предприятие с каждой денежной единицы проданной продукции. Подобно предыдущему коэффициенту отношение чистой прибыли к объему продажи имеет устойчивые значения для различных отраслей промышленности;
• отношение чистой прибыли к сумме активов (Р/ТА). Низкий уровень этого коэффициента или его тенденция к понижению может свидетельствовать или о чрезмерных вложениях в активы, или о недостаточном уровне продажи, или о спаде деловой активности предприятия.
Если из ВП вычесть накладные расходы и сумму амортизационных отчислений, то получим “условно чистую” прибыль предприятия, или, как ее еще называют, прибыль до уплаты процентов за кредит и налогов.
Данный ПХД пригоден в качестве оценочного практически для всех сфер бизнеса.
Однако применительно к мелкому бизнесу условно чистую прибыль часто смешивают с предпринимательским доходом владельцев предприятий.
Именно условно чистая прибыль является основой для определения премиального фонда для рабочих и служащих во всех странах мира.
Приплюсовав к величине условно чистой прибыли издержки на заработную плату рабочих и служащих, получим показатель условно чистой продукции (УЧП).
Размер УЧП можно также определить как разницу между стоимостью реализованной продукции (оборотом) и стоимостью затраченных на ее производство ресурсов (покупных материалов, услуг, выплат субподрядчикам, амортизационных отчислений, затрат на ремонт и т. п.).
При расчете УЧП и соответствующих производственных затрат применяются текущие цены. Рост УЧП — показатель успешной хозяйственной деятельности, вне зависимости от темпов и масштабов инфляции.
Его применение на практике во многом сходно с использованием ВП. Но наиболее подходящей сферой его применения является внедренческий и консультативный бизнес.
Учет УЧП может служить также эффективным инструментом управленческого контроля в отраслях и компаниях со стабильной структурой издержек производства. Но данный показатель мало подходит для оценки конечных результатов конгломератов и компаний с сильно диверсифицированным производством, однако вполне пригоден для отделений крупных фирм.
Показатель УЧП широко распространен в качестве основы для определения фонда оплаты труда, особенно в тех отраслях экономики, где численность рабочей силы, трудозатраты и, следовательно, издержки на заработную плату трудно нормировать и контролировать.
Показатель УЧП применяется в различных системах участия рядовых рабочих и служащих в распределении прибыли компании, полученной в результате повышения эффективности производства. При определении величины УЧП главной проблемой, помимо измерения уровня запасов и незавершенного производства, является расчет суммы амортизационных отчислений.
Если из УЧП вычесть издержки на заработную плату и проценты за кредит, то получим прибыль до налогообложения.
Этот ПХД не пригоден в качестве оценочного на новых предприятиях, как правило, еще не вышедших на проектную мощность, а также на тех предприятиях, где осуществляются крупные капиталовложения с длительным сроком окупаемости. Неприменим он в отраслях и на предприятиях с низкой фондо- и энерговооруженностью труда, например в сфере бытового обслуживания. Сфера применения остальных оценочных ПХД ограничена, как правило, исключительно потребностями бухгалтерского учета.
Наряду с показателями, необходимыми для нужд текущего планирования и управления производством, существуют также показатели для стратегического управления. Среди них:
• доля рынка сбыта, контролируемого фирмой;
• показатели качества продукции;
• показатели уровня обслуживания потребителей;
• показатели, касающиеся подготовки и переподготовки рабочей силы.
Все они так или иначе связаны с повышением размера прибыли, получаемой фирмой, и основываются на фактических результатах, достигнутых фирмой. Например, увеличение доли рынка непосредственно ведет к росту массы прибыли, получаемой фирмой. Особенно отчетливо зависимость такого рода прослеживается в капиталоемких отраслях промышленности. Но при этом важно и то, что рост массы прибыли достигается лишь на перспективной основе и может быть зафиксирован с помощью показателей, применяемых для нужд текущего планирования и управления, только за относительно продолжительные периоды времени. И в этой связи уместно привести схему формирования показателей, используемых для управления прибылью.
Из рис. 20 видно, как формируются различные показатели, используемые для управления прибылью. Заметим, что по одному заказу сложно определить, обеспечивает ли его сумма покрытия компенсацию затрат на организацию производства или нет, сокращает или повышает размер прибыли. Суть заключается в том, чтобы определить динамику затрат на производство, чтобы накопленные суммы покрытия в конце года были достаточными для получения запланированного размера прибыли.
Предприятие может получить прибыль лишь в том случае, когда покрыты все затраты на организацию и подготовку производства (см. рис. 20). Таким образом, с точностью судить о прибыльности работы фирмы можно лишь в конце отчетного периода. Все заказы клиентов, которые после достижения точки покрытия имеют положительные суммы покрытия (выручка больше, чем производственные затраты), превращаются в прибыль. Все заказы клиентов, оказавшиеся ниже точки покрытия затрат, не достигшие своих сумм покрытия, вызывают убытки в размере недостающей доли суммы покрытия затрат. Анализ точек покрытия затрат на производство проводится с помощью графика, приведенного на рис. 21.
Анализ и контроль результата сигнализируют предпринимателю о необходимости списания издержек, когда точка покрытия определена с помощью расчетов. Как только критический уровень превышен, предприниматель может попытаться при неиспользованных суммах, предназначенных на затраты (т. е. при недогрузке производственных мощностей из-за отсутствия заказов), определить, по возможности, более высокие суммы покрытия выше нижних границ цен, коль скоро все затраты на организацию покрыты в пределах ликвидности.
Сумма покрытия затрат
Оборот-брутто + + налог на добавленную стоимость =
Прямые затраты на производство продукции
= цена х количество |
|
Налог на добавленную стоимость |
|
|
|
Факторы уменьшения выручки |
|
|
Сумма
заг |
юкрытия
рат |
|
|
Прибыль |
|
|
I
Затраты на организацию |
|
|
|
|
|
II** |
Чистый оборот
S3 |
1 8 а в
Е я
Производственные затраты |
|
Прочие
элементы затрат* |
|
|
Заработная плата основных производственных рабочих |
|
Материалы |
|
Расчет суммы покрытия затрат на производство продукции
* включая условные общие затраты ** затраты на организацию группы I, которые можно непосредственно определить и учесть |
Рис. 20. Формирование показателей, используемых для управления прибылью на фирмах Германии
Таким образом, предприниматель, используя метод контроллинга, оценивает как эффективность работы фирмы в целом, так и экономическую целесообразность выполнения отдельных заказов. Что же касается расчета затрат на производство, то, как показывает практика, наибольшие трудности при определении издержек производства вызывает подсчет амортизационных отчислений. Сумма амортизационных отчислений в среднем составляет от 1/3 до 1/2 величины условно чис-
Динамика анализа суммы покрытия, исчисленной нарастающим итогом
 |
VII VIII
XI XII |
Время в месяцах
 |
Доход на инвестированный капитал
Потоки денежной наличности
Ликвид
ность |
|
Рис. 21. Графический контроль результатов с помощью анализа суммы покрытия |
той прибыли промышленных компаний. За относительно продолжительный срок службы станочного парка, зданий и сооружений их первоначальная стоимость существенно меняется, и не только в сторону уменьшения. Так, стоимость строений, особенно в зависимости от их местоположения, может со временем даже возрасти против первоначального уровня. Главных причин изменения стоимости основных производственных фондов две: НТП и инфляция. Первая из них вызывает моральное старение машин и оборудования, ведет к потере рынка сбыта, на который это оборудование первоначально должно было работать. Это влечет сокращение сроков службы техники, которой располагает предприятие, и приводит к увеличению размеров амортизационных отчислений, чтобы провести своевременную замену станков и оборудования. Инфляция оказывает весьма противоречивое воздействие на процесс начисления амортизационных отчислений. С одной стороны, она увеличивает фактическую стоимость пассивных элементов основного капитала (зданий и сооружений), а значит, и их рыночную стоимость даже после полного списания первоначальных затрат. Это, кстати, позволяет руководству предприятий производить амортизационные отчисления даже после полного списания этой части капитала. С другой стороны, при быстром моральном старении активной части основного капитала (станков, оборудования, транспортных средств) инфляция вызывает рост затрат на замещение изношенных фондов новыми. В результате требуется увеличение размера амортизационных отчислений для полного восстановления списанных элементов активной части основного капитала.
В условиях современного производства руководителям приходится уделять самое пристальное внимание данному виду издержек производства.
Во многих отраслях промышленности США и Японии сумма амортизационных отчислений по мере роста уровня механизации и автоматизации труда примерно равна издержкам на заработную плату производственных рабочих. Поэтому при внедрении новой техники, при обосновании экономической целесообразности тех или иных инвестиционных программ и просто для повышения конкурентоспособности предприятия или фирмы очень важно правильно и максимально точно определить размер амортизационных отчислений. На практике применяется два основных метода начисления амортизации:
1) на основе определения экономически обоснованного срока службы производственного оборудования (для станков и машин
он обычно принимается равным 10 годам) и соответствующего распределения его по годам (т. е. ежегодное списание фиксированной суммы с первоначальной и остаточной стоимости фондов);
2) балансовый метод, основанный на ежегодном списании определенного процента от балансовой стоимости (т. е. от стоимости активов за вычетом суммы амортизации за предшествующие годы). Другие методы начисления амортизации мало применяются в хозяйственной практике.
Рост накладных расходов, увеличение затрат на НИОКР, управление и организацию в условиях современного производства требуют как можно более точного подсчета не только прямых производственных затрат, но и всех совокупных издержек.
Прежде всего подлежит оценке стоимость всех активов компании или предприятия. Здесь также существуют два основных метода:
1) оценка первоначальной стоимости активов;
2) оценка текущей стоимости активов.
Первый метод получил распространение уже достаточно давно и в основном применяется для оценки издержек производства и размера активов компании в периоды, когда темпы инфляции низкие, например в США в 30-е годы. Именно тогда в практику бухгалтерского учета и финансового контроля вошел так называемый принцип консерватизма. В соответствии с ним рыночная стоимость активов (как и издержек производства) могла быть использована в калькуляциях себестоимости продукции только в том случае, когда она была ниже первоначальной стоимости активов. С усилением в послевоенный период инфляционных процессов произошла деформация не только в процессе начисления амортизации, но и существенно ограничилась сфера практического применения принципа консерватизма и основанного на нем первого метода. Сегодня он может применяться лишь в тех отраслях экономики, где доля основного капитала в активах компании и в стоимости продукции относительно невелика. Это прежде всего многие предприятия наукоемкого сектора, сферы делового консультирования и т. п.
Второй метод оценки активов основан на определении их стоимости в текущих или неизменных рыночных ценах. Иначе говоря, стоимость активов определяется с учетом рыночной цены тех элементов капитала, которыми можно заменить выбывающие. Если с помощью этого метода оценивать текущую стоимость зданий и сооружений, то проблем в общем-то не возникает. Но при оценке текущей стоимости замещения активной части основного капитала возникают многочисленные трудности. Связаны они с разнообразием производственного оборудования: как установленного, так и предлагаемого на рынке. Нередко в результате НТП на рынке в данный момент уже не существует того станка, который нужно заменить. Например, весьма трудно сегодня определить текущую стоимость оборудования образца 1950 г. А такие станки еще используются в ряде отраслей промышленности.
Одним из способов решения данной проблемы является поиск на рынке современного аналога оборудования, подлежащего замене. При этом важно учитывать, что этот аналог должен иметь более высокую производительность, удельную мощность или меньшие эксплуатационные расходы в сравнении с тем видом оборудования, который подлежит замене. Стоимость аналога, таким образом, берется за основу при калькуляции производственных затрат, при определении сроков и норм амортизации. Иначе говоря, предполагается, что стоимость реальных активов предприятия в данном случае оценивается в зависимости от технико-экономических характеристик имеющихся на рынке аналогов.
И все же в подавляющем большинстве случаев подыскать на рынке подходящий аналог оценки стоимости имеющегося на предприятии оборудования трудно.
Применение метода оценки активов, а вместе с ними и издержек производства на предприятии по текущей стоимости является предпочтительным в периоды, когда наблюдаются высокие темпы инфляции, а также в капиталоемких отраслях промышленности, в других сферах экономики с высокой фондовооруженностью труда, где доля активов в себестоимости продукции относительно велика, и там, где старые фонды составляют значительную часть активов предприятия.
Важно иметь в виду, что оценка активов по текущей стоимости позволяет более точно учесть при подсчете размера прибыли расходы на содержание и замену устаревшего оборудования.
Среди других преимуществ этого метода оценки стоит отметить более точный учет структуры активов в разных сферах бизнеса, их отраслевой специфики, возможность точнее определить размер дивидендов по акциям фирмы и, что важно, без ущерба для нужд перспективного развития производства. К недостаткам данного метода оценки относятся большой субъективизм в определении стоимости замещения активов, а также неприменимость этого метода в страховых и инвестиционных компаниях.
Важная роль в системе показателей хозяйственной деятельности отводится относительным показателям.
Эти показатели — разного рода коэффициенты, характеризую щие эффективность использования различных производственных ресурсов, — также играют важную роль в современном бизнесе. Основное их назначение — служить базой для разного рода сопоставлений: межотраслевых (при выборе стратегии инвестиционной политики фирмы, при поиске ответа на вопрос, куда вкладывать капитал) и межфирменных (при оценке уровня конкурентоспособности предприятия или компании).
Основным показателем такого рода является индекс отдачи (полученной прибыли) на вложенный капитал.
Он применяется практически во всех отраслях экономики, за исключением мелкого бизнеса.
Существуют два основных метода расчета данного показателя:
1) на базе акционерного капитала предприятия;
2) на так называемой экономической основе.
В первом случае в знаменателе дроби отражается сумма акционерного капитала, финансовые резервы и нераспределенная прибыль предприятия, а в числителе — величина полученной прибыли до налогообложения.
Во втором случае знаменатель дроби включает в себя помимо акционерного капитала сумму долгосрочных займов предприятия, а нередко и сумму краткосрочной задолженности и овердрафт, а числитель — величину условно чистой прибыли.
Необходимо отметить также, что в обоих случаях знаменатель дроби может быть выражен через сумму активов предприятия. В первом случае в знаменатель включается стоимость основного и оборотного капиталов за вычетом всех видов заемных средств. Во втором — основной и оборотный капитал за вычетом только задолженности по текущим счетам. Оба метода определения дохода на вложенный капитал имеют разное назначение. В первом случае при расчете данного показателя в центре внимания находятся интересы акционеров и размер получаемых ими дивидендов. Полученная информация предназначена для использования вне предприятия или фирмы. Во втором случае внимание сосредоточивается на оценке результатов хозяйственной деятельности всего предприятия. Данный метод применяется с целью получения необходимой информации для управляющих, а не для акционеров фирмы.
Второй метод расчета размера дохода на вложенный капитал также применяется для проведения сопоставлений результатов хозяйственной деятельности компаний одной отрасли экономики. Данный метод является более предпочтительным также при оценке конечных результатов работы не только корпорации в целом, но и ее отделений.
В зависимости от отраслевой специфики различные предприятия могут иметь разный уровень данного показателя.
Например, в капиталоемких отраслях промышленности его уровень всегда намного ниже, чем в трудоемких. Поэтому сопоставление качества управления и эффективности управленческого труда на базе данного показателя обосновано только для отраслей и предприятий с примерно однородными структурой издержек производства и строением капитала. А для новых предприятий данный индекс вообще неприменим в качестве оценочного показателя, поскольку всегда существует определенный лаг между авансированием капитала и получением отдачи. Этот лаг особенно значителен в капиталоемких отраслях промышленности.
Среди других относительных показателей хозяйственной деятельности можно выделить две основные группы:
1) показатели эффективности производства;
2) показатели структуры издержек производства.
К первой группе относятся такие показатели, как доля валовой или условно чистой прибыли в обороте (объеме продаж) предприятия; доля УЧП в обороте предприятия или фирмы; отношение величины УЧП к издержкам на заработную плату.
Ко второй группе относятся: доля авансированного капитала и УЧП в обороте фирмы; доля основного капитала в объеме продаж; доля запасов в общей стоимости потребляемых материалов и полуфабрикатов.
При оценивании результатов хозяйственной деятельности особое значение отводится анализу финансового положения фирмы, который проводится на основе финансового отчета, унифицированного по международным стандартам.
Финансовая отчетность представляет собой источник информации для внешнего пользователя о финансовом состоянии предприятия. Она составляется в стоимостной оценке с отражением сальдо всех счетов
Главной книги фирмы на основании требований 4-й директивы ЕС для отражения финансовых операций.
Общепринятые принципы учета и финансовой отчетности, необходимые для защиты интересов кредиторов, обеспечения доверия к полученной информации, ограничивают выбор предприятия конечным числом учетных приемов и методов. Финансовая отчетность представляет собой информацию о прошедших хозяйственных процессах, носит объективный характер, поддается проверке.
Финансовая отчетность включает четыре отчета:
1. Отчет о прибылях и убытках.
2. Отчет о движении собственного капитала.
3. Баланс.
4. Отчет о движении денежных средств.
Отчет о прибылях и убытках — информация о деятельности фирмы по созданию прибыли или о доходах, заработанных и использованных в течение определенного периода. Как видно из рис. 22, основой получения прибыли является доход от основной или уставной деятельности.
Прежде чем исключать соответствующие расходы, прибыль от основной деятельности корректируется на возврат от продажи продукции (оказанных услуг) и скидки.
Из скорректированного дохода (очищенного от некоторых статей) исключаются расходы, связанные с основной деятельностью, сгруппированные по функциям: производственные, коммерческие, административные. Так получается важный промежуточный результат: характерный оперативный результат. Он выражает экономический результат управления основной деятельностью предприятия, который особенно важен для оценки ее эффективности.
Финансовая отчетность представляет собой источник информации об экономическом и финансовом состоянии предприятия.
Реклассификация финансово-хозяйственных операций дает возможность выработать показатели для получения дальнейших знаний об управлении. Структуры реклассификации соответствуют тем, что предусмотрены 4-й директивой ЕС для финансово-хозяйственных операций.
Счет прибылей и убытков предполагает различные способы реклассификаций. Один из наиболее распространенных — это так называемый способ по доходам и расходам от продаж, заимствованный из практики англосаксонских стран. Как видно из рис. 22, данные о до-
ВАЛОВОЙ ДОХОД С ПРОДАЖ
КОРРЕКТИРОВКА ДОХОДОВ возврат продаж/пассивные скидки/ потери по кредиту

ЧИСТЫЙ ДОХОД С ПРОДАЖ

ПРОИЗВОДСТВЕННЫЕ РАСХОДЫ начальные остатки/приобретения/ расходы по оплате труда в производстве/ производственная амортизация/ другие производственные расходы (минус конечные остатки, минус внутренняя продукция)
ВАЛОВАЯ
ПРОИЗВОДСТ
ВЕННАЯ
ПРИБЫЛЬ

КОММЕРЧЕСКИЕ РАСХОДЫ комиссионные/транспортные/ рекламные/представительские/ другие коммерческие расходы

АДМИНИСТРАТИВНЫЕ РАСХОДЫ оплата труда администрации/ консультации/амортизация административных средств управления/другие расходы

ДОПОЛНИТЕЛЬНЫЕ ПОСТУПЛЕНИЯ (ЗАТРАТЫ)
 |
ОРДИНАРНЫЙ
РЕЗУЛЬТАТ
РЕЗУЛЬТАТ ДО НАЛОГООБЛОЖЕНИЯ |
ФИНАНСОВЫЕ ЗАТРАТЫ
НЕОРДИНАРНЫЕ ПОСТУПЛЕНИЯ _(ЗАТРАТЫ)_

РЕЗУЛЬТАТ
НЕТТО
НАЛОГИ И СБОРЫ
Рис. 22. Реклассифицированный счет прибылей и убытков
ходах от основной или уставной деятельности являются отправной точкой реклассификации.
Оценив осуществленные расходы и полученные в результате других оперативных действий (дополнительные инвестиции и оплаты по кредитам) доходы от хозяйственной деятельности, среди которых выделяются финансовые затраты, определяем результат. Он не учитывает составляющих внереализационного характера, соответствующих неосновной деятельности.
Наконец, налоги и сборы принимаются во внимание при формировании финансово-хозяйственного результата нетто.
Баланс дает финансовую информацию, характеризующую финансовое положение фирмы. Для этой цели актив выражается как инвестиции или привлечение капитала; пассив и капитал нетто — как финансирование или источник капитала. Фазы реклассификации в основном следующие.
Первая фаза: определение инвестиций нетто и исключение из пассива позиций, не представляющих финансирование. В этой фазе некоторые элементы актива (основные средства, кредиты) уменьшаются на реттификативные позиции пассива (амортизационный фонд, фонд девальвации кредита), чтобы выразить показатель инвестиций нетто на дату. Указанные позиции пассива должны исключаться из пассива, потому что не являются выражением финансирования.
Вторая фаза: классификация инвестиций и финансирования. Речь идет о важном моменте реклассификации: источники привлечения капитала группируются в зависимости от времени реализации и возмещения. Фактор времени достаточно важен в финансовой информации, и, таким образом, финансовый баланс должен быть временизирован.
Третья фаза: группирование инвестиций и финансовых вложений по некоторым важным классам и “зонам”. В этой последней фазе финансовая информация становится более селективной и, следовательно, более синтетической и легкой в анализе. Многочисленные инвестиции и финансовые вложения будут собраны только в пяти наиболее значимых “зонах”. Критерий сбора — это еще один временной критерий. Строятся две “зоны” для инвестиций: оборотный капитал и основной капитал, в зависимости от времени реализации инвестиций — до или более 12 месяцев.
Кроме того, строятся три “зоны” для финансовых вложений: краткосрочные финансовые вложения третьих лиц (возмещаемые в период до 1 года), среднесрочные финансовые вложения третьих лиц (возмещаемые в период более 1 года), собственный капитал предприятия. Из рис. 23 видно, что разнесение различных элементов баланса в процессе реклассификации требует особого внимания и четкого представления об этой деликатной работе. Например, заемные пассивы будут разнесены на часть краткосрочного погашения (годовой взнос) и на средне-долгосрочную (остаточный долг); прибыль нетто, учитывая свое назначение, будет распределена на части краткосрочного погашения (дивиденды) и на часть, которая считается приобретением собственного капитала как самофинансирование (нераспределенная прибыль).
На основе реклассификационного баланса рассчитываются следующие основные показатели, которые характеризуют финансовую сторону деятельности фирмы.
А. Коэффициенты анализа финансового равновесия
Финансовое равновесие состоит в основном в сравнении приходов и расходов. Первый коэффициент дает возможность судить о платежеспособности предприятия в короткие сроки:
Коэффициент
первостепенной
ликвидности
быстроликвидные + ликвидные остаточные средства средства
финансовые вложения по краткосрочным кредитам
Этот коэффициент показывает способность предприятия проводить будущие выплаты в короткие сроки, выраженные в знаменателе через ликвидные средства. При оценке платежеспособности надо исключать средства, имеющиеся в наличии, представленные прежде всего запасами, потому что их реализация предназначена для возобновления самих запасов, чтобы гарантировать непрерывность производства. Со структурной точки зрения и, следовательно, с точки зрения среднесрочных и долгосрочных последствий воздействия на финансовое равновесие короткого периода наиболее значительные симптомы выражаются двумя коэффициентами.
Первый из них — это коэффициент финансовой автономности, который сопоставляет финансирование при использовании собственного капитала и заемного капитала:
165
 |
|
Рис. 23. Реклассификационный баланс |
финансирование за счет собственного капитала финансирование за счет заемного капитала
Коэффициент
автономного
финансирования
Увеличение этого коэффициента выявляет в большей степени независимость от финансовых вложений третьих лиц. В то же время уменьшение этого коэффициента сигнализирует об ослаблении финансовой устойчивости предприятия. Другой коэффициент — это общее покрытие средств иммобилизации, сопоставляющий источники капитала длительного характера с привлечением капитала как на средний, так и длительный срок:
Коэффициент общего покрытия средств иммобилизации
финансовые вложения по финансовые вложения средне-долгосрочному + за счет собственного кредиту капитала
основной капитал
Коэффициент на производственных и коммерческих предприятиях с важным присутствием запасов на складах, где результат превышает единицу (числитель больше знаменателя), означает, что длительные источники капитала гарантируют также покрытие длительных потребностей, выраженных, помимо основного капитала, также запасами на складах. Иначе говоря, этот коэффициент показывает, насколько запасы, подлежащие обновлению для непрерывности производственного цикла, способны поддержать определенный уровень инвестиционного капитала в течение очень длительного срока.
Количество коэффициентов, которые можно составить, достаточно большое. В целях углубления анализа можно было бы перейти к коэффициентам более специфичным. В каждом случае надо учитывать важность отбора, т. е. необходимость ограничивать, насколько можно, количество коэффициентов, которое позволяет как удачно собрать проблемы, существенно и фундаментально связанные, так и построить картину синтеза финансово-экономической ситуации предприятия.
При этом необходимо обратить внимание на то, что основные коэффициенты анализа хозяйственной деятельности предприятия, разработанные зарубежными специалистами, опираются на западный баланс (табл. 33).
|
Структура западного баланса |
|
Актив |
Пассив |
|
1. Текущие активы: |
1. Текущие пассивы (обязательства |
|
денежные средства; |
до 1 года) |
|
ценные бумаги; |
2. Долгосрочные пассивы |
|
дебиторская задолженность минус |
3. Акционерный капитал: |
|
скидка по сомнительным долгам; |
|
|
материально-производственные |
уставный капитал минус выкупленные акции; |
|
запасы; |
|
расходы будущих периодов
2. Собственность, здания и оборудо- |
дополнительный капитал;
нераспределенная прибыль;
расчеты в иностранной валюте |
вание
3. Нематериальные активы |
|
Б. Показатели финансового положения
— Структура собственного капитала, или соотношение составляющих его элементов: акционерного капитала, эмиссионного дохода и капитализированной прибыли. На первых этапах деятельность фирмы финансируется в основном за счет средств, полученных от реализации акций — акционерного капитала. В последующем возрастает роль капитализированной прибыли. Быстрый рост доли последней свидетельствует о высокой эффективности деятельности фирмы и о возрастании ее финансовой независимости.
— Отношение собственного капитала к итогу баланса отражает финансовую независимость фирмы от внешних источников финансирования. Чем выше это отношение, тем лучше ее финансовое положение. Считается, что общая сумма задолженности не должна превышать сумму собственного капитала. Следовательно, если это отношение составляет более 50 %, можно полагать, что финансирование деятельности фирмы за счет заемного капитала осуществляется в допустимых пределах.
— Отношение всей задолженности к собственному капиталу. Этот показатель, как и предыдущий, показывает соотношение внешних и собственных источников финансирования. Считается, что задолженность не должна превышать собственный капитал. Однако, поскольку некоторые виды краткосрочной задолженности представляют собой своего рода бесплатный кредит (задолженность по заработной плате, по налогам и некоторые другие), то для уточнения положения необходимо проанализировать ее структуру.
— Отношение собственного капитала к реальному основному капиталу показывает, в какой степени инвестирование капитала в основные фонды осуществлялось за счет внутренних источников финансирования. Если это отношение меньше единицы, значит, соответствующая часть основных фондов финансируется за счет заемного капитала, что влечет за собой увеличение расходов в форме процентов. А если размер выплачиваемого процента выше средней нормы прибыли, получаемой фирмой на вложенный капитал, значит, она работает в убыток.
— Отношение долгосрочной задолженности к собственному капиталу. Финансирование деятельности компании за счет долгосрочных кредитов, особенно в форме облигационных займов, выгодно для нее, если ее норма прибыли выше размера выплачиваемых процентов. Долгосрочный кредит позволяет значительно расширять масштабы ее операций и получать большую прибыль. Однако положение считается ненормальным, если долгосрочная задолженность превышает собственный капитал. Кроме того, считается, что ее размер не должен быть выше величины собственного оборотного капитала (разницы между оборотными активами и краткосрочной задолженностью). Если имеет место обратная картина, это означает, что фирма использует часть долгосрочных кредитов на финансирование текущих операций. Следовательно, увеличиваются ее расходы, поскольку выплачиваемый процент по долгосрочным кредитам, как правило, выше, чем по краткосрочным.
— Поступления собственных средств от операций в отчетном периоде. Показывает объем самофинансирования текущих операций. Это абсолютный показатель средств, поступивших в отчетном периоде в форме чистой прибыли и амортизационных отчислений.
— Коэффициент самофинансирования текущих капиталовложений показывает, в какой мере вложения в основной капитал в отчетном году осуществлялись за счет средств, поступивших от операций.
— Коэффициент покрытия, или отношение оборотных активов к краткосрочной задолженности, является одним из основных показателей платежеспособности фирмы. Он показывает, в какой мере краткосрочная задолженность фирмы покрывается ее оборотными актива-
ми. Считается, что он не должен быть меньше единицы. Но поскольку ликвидность отдельных категорий оборотных активов не одинакова (другими словами, не все элементы оборотного капитала могут быть немедленно использованы в качестве платежных средств для погашения задолженности), рассчитывают дополнительные показатели, характеризующие степень платежеспособности фирмы.
— Коэффициент ликвидности оборотных активов показывает долю наличности и быстрореализуемых ценных бумаг в оборотных активах. Чем больше этот коэффициент, тем выше ликвидность оборотного капитала и тем выше платежеспособность фирмы.
— Коэффициент покрытия краткосрочной задолженности ликвидными средствами. При расчете этого показателя в категорию ликвидных средств, наряду с наличностью и быстро реализуемыми ценными бумагами, включается и дебиторская задолженность. Уменьшение этого показателя означает понижение платежеспособности фирмы.
— Отношение оборотных активов ко всему заемному капиталу. Уровень платежеспособности фирмы считается высоким, если вся ее задолженность покрывается более или менее ликвидными (оборотными) активами.
При оценивании эффективности деятельности фирмы важное место занимает анализ изменения статей счета прибылей и убытков, и прежде всего анализ доли издержек производства в стоимости реализованной продукции. Если издержки имеют тенденцию к снижению, значит, возрастает рентабельность производства и повышается конкурентоспособность продукции фирмы.
Особое место в оценке хозяйственной деятельности фирм и компаний отводится показателю уровня организации производства, его автоматизации и производительности. Обобщающим является отношение объема продаж к общему количеству занятых или выработка в расчете на одного занятого. С помощью этого показателя сравнивается уровень организации и автоматизации внутри производства по отдельным подразделениям компании, а также в аналогичных фирмах данной отрасли в различных странах.
Существует также множество показателей производительности: производительности труда, капитала, энергии, которые сегодня также широко применяются в бизнесе. Как правило, эти показатели не стоимостные, а смешанные или натуральные. Например, это может быть количество угля в тоннах в расчете на одного занятого или число единиц продукции в расчете на 1 кВт-ч потребленной электроэнергии. Показатели производительности имеют наиболее ярко выраженную хозяйственную специфику, поскольку в каждой сфере бизнеса существуют свои (часто нигде более не применяемые) показатели.
Важной стороной вопроса оценки результатов хозяйственной деятельности зарубежных фирм и компаний является анализ экономической устойчивости фирм и компаний, построенный с помощью соотношения данных, взятых из баланса. Именно с помощью перечисленных ниже показателей оценивается “состояние здоровья” предприятия — его рентабельность.
По уровню рентабельности, характеризуемому специальными коэффициентами, оценивается возможность “выживания” предприятия в сложившихся условиях, а также перспективы роста.
Основной коэффициент доходности — это ROE (return on equity) — коэффициент рентабельности собственного капитала:
чистая прибыль
ROE = --- ¦ 100 %.
средний собственный капитал
Этот коэффициент, выраженный в процентах, показывает степень возмещения собственного капитала. Следовательно, он указывает на способность предприятия возмещать по итогам, кроме всех других производственных факторов, также фактор капитала — необходимое условие существования и развития предприятия. Знаменатель получен как среднее данное начала и конца периода.
Другие коэффициенты прибыльности, хотя и важные, имеют частичный характер, они все объединены в показателе ROE.
ROI (return on investment) — это коэффициент прибыльности инвестированного капитала:
характерный оперативный результат
ROI = - ¦ 100 %.
средний инвестированный капитал
Этот коэффициент выражает в процентном соотношении среднюю ставку прибыльности инвестированного капитала (инвестированный капитал равен сумме оборотного и основного капитала) независимо от формы использованных финансовых вложений предприятия. Его значимость связана с тем, что он позволяет судить об экономической эффективности главного оперативного оборота, таких, как характерные инвестиции, показывая, как идут дела в основном производстве (следовательно, более важном) предприятия.
Тем не менее этот коэффициент имеет частичный характер, поскольку не отражает, как идут другие оперативные обороты, например вспомогательные инвестиции, особенно такие, как финансовые вложения заемного капитала и финансовые вложения собственного капитала.
Однако это, конечно, основной определитель для интерпретации ROE в простом и коммерческом предприятиях.
Третий коэффициент прибыльности — это ROS (return on sales), коэффициент прибыльности продаж:
характерный оперативный результат
ROS =--
чистый доход с продаж
Этот коэффициент, выражая в процентах долю заработка от продаж, отражает существующие отношения между расходами и доходами и, следовательно, эффективность производства (использованные ресурсы по отношению к полученным результатам).
Очевидно, ROS отражает только один, хотя важный аспект экономического уровня — такого, как эффективность производства. Но другой аспект, дополняющий и достаточно важный, — это способность предприятия (или лучше предпринимателя и управления) поддерживать ритм производственного цикла: соответствующая организация людей и правильная координация направлений деятельности от обеспечения сырьем до распределения продукции, предполагая увеличение производственного ритма предприятия. Таким образом, получается большее возобновление запасов, меньшая длительность кредитов, больший ритм реинтеграции средств иммобилизации в пользу отдачи вложенного капитала. Коэффициент, который дает представление о способности менеджмента, — это возврат инвестированного капитала (turnover del capitale investito):
чистый доход с продаж
turnover = -
средний инвестированный капитал
Этот коэффициент, выраженный в единицах, показывает, сколько раз вложенный капитал возвращается в ликвидной форме через продажи. Он вместе с ROS составляет определение прибыльности вложенного капитала.
Следующее выражение дает ясное представление о существующей связи между turnover и ROS в совместном их действии, оказываемом на прибыльность вложения капитала (ROI):
ROI = ROS ' turnover.
Прибыльность вложенного капитала (ROI) — это результирующая как эффективности производства (техники и процесса производства) и способности устанавливать определенные цены приобретения и продажи, выраженной коэффициентом ROS, так и способности менеджмента организовывать и координировать различные взаимосвязанные направления деятельности для ускорения ритма производственного цикла, как указывает turnover, с целью оптимизации и сдерживания уровня инвестированного капитала. Схема синтеза коэффициентов баланса для обзорного анализа вместе с оценкой “состояния здоровья” предприятия (фирмы, компании) представлена в табл. 34.
Таблица 34
Схема синтеза коэффициентов баланса, применяемая по международным стандартам |
|
“СОСТОЯНИЕ ЗДОРОВЬЯ” ПРЕДПРИЯТИЯ |
|
РАВНОВЕСИЕ ЭКОНОМИЧЕСКОЕ |
РАВНОВЕСИЕ ФИНАНСОВОЕ |
Прибыльность общего управления
ROE |
Ликвидность
Первостепенная ликвидность |
|
Прибыльность характерного управления ROI = ROS-turnover |
Финансовая устойчивость
Финансовая автономия
Покрытие средств иммобилизации |
|
Раздел 2
ПРАКТИКУМ ПО СОВРЕМЕННОМУ ЭКОНОМИЧЕСКОМУ АНАЛИЗУ ДЕЯТЕЛЬНОСТИ ПРЕДПРИЯТИЙ
Учебная дисциплина “Экономический анализ” является важным звеном в программе профессиональной подготовки менеджеров-специ-алистов.
В условиях рыночной экономики анализ служит составляющей процесса управления предприятием. Только на основе аналитических расчетов можно оперативно принимать обоснованные управленческие решения, оптимизировать деятельность предприятия и выигрывать в жесткой конкурентной борьбе.
Изучая данную дисциплину, студенты должны научиться видеть за цифрами и результатами аналитических расчетов экономические явления, которые отражены в показателях.
При изучении этой дисциплины рекомендуется следующая последовательность овладения материалом:
1. Ознакомиться с программой курса и методическими указаниями по его изучению.
2. Изучить основной материал, используя учебники, справочники и лекции преподавателя.
3. Изучить дополнительную литературу, монографии и публикации в профилирующих журналах.
4. Проверить свои знания, используя представленные здесь список контрольных вопросов и ответы на них (параграфы 2.1 и 2.2).
5. Решить задачи, опираясь на принцип решения основных типов задач, приведенных в параграфе 2.3.
2.1. Контрольные вопросы по курсу “Экономический анализ”
1. Экономический анализ в системе управления предприятием и его роль в условиях формирования рыночных отношений в Украине.
2. Характеристика предмета экономического анализа.
3. Содержание и задачи экономического анализа в условиях формирования рыночных отношений в Украине.
4. Потребители аналитической информации в условиях рыночной экономики.
5. Экономический анализ и его научная основа.
6. Характеристика метода экономического анализа и его особенности.
7. Хозяйственная деятельность предприятия как объект экономического анализа.
8. Организация экономического анализа на предприятии и пути его совершенствования.
9. Система экономической информации и особенности ее применения в условиях рыночной экономики.
10. Характеристика типовой организационно-информационной модели анализа хозяйственной деятельности.
11. Система показателей, характеризующих хозяйственную деятельность предприятия, и их классификация в экономическом анализе.
12. Взаимосвязь основных показателей в системе комплексного экономического анализа.
13. Информационное обеспечение анализа.
14. Принципы организации информационного обеспечения экономического анализа в условиях компьютеризации.
15. Характеристика основных этапов проведения экономического анализа.
16. Характеристика основных принципов комплексного анализа хозяйственной деятельности.
17. Общая характеристика экономико-логических методов анализа хозяйственной деятельности.
18. Общая характеристика экономико-математических методов и сфера их использования в экономическом анализе.
19. Экономико-математические методы и модели как метод научного познания.
20. Последовательность, формы и этапы моделирования хозяйственных процессов.
21. Экономический анализ при автоматизированной обработке информации.
22. Характеристика элементов аналитического процесса.
23. Организация, содержание и методика текущего анализа хозяйственной деятельности.
24. Организация, содержание и методика перспективного анализа хозяйственной деятельности.
25. Организация, содержание и методика функционально-стоимостного анализа.
26. Организация, содержание и методика оперативного анализа.
27. Внутрихозяйственный анализ, его содержание, задачи и организация.
28. Основные принципы системного анализа экономико-математического моделирования.
29. Моделирование факторных систем.
30. Классификация экономико-математического моделирования в экономическом анализе.
31. Методы выявления резервов повышения эффективности работы предприятия.
32. Характеристика метода сравнения и его использование в анализе хозяйственной деятельности.
33. Характеристика балансового метода анализа хозяйственной деятельности.
34. Метод группировки в экономическом анализе.
35. Характеристика метода элиминирования и его применение в анализе хозяйственной деятельности.
36. Характеристика основных приемов моделирования факторных систем.
37. Детерминированное моделирование и анализ факторных систем хозяйственной деятельности.
38. Особенности стохастического моделирования факторных систем хозяйственной деятельности.
39. Характеристика метода корреляционно-регрессионного анализа.
40. Характеристика методов линейного программирования.
41. Характеристика метода решения транспортной задачи.
42. Характеристика методов динамического программирования.
43. Характеристика теории массового обслуживания и область ее применения.
44. Характеристика этапов анализа основных показателей эффективности производства.
45. Особенности применения математических моделей в экономическом анализе деятельности предприятия.
46. Методика анализа объема производства (услуг) и выпуска продукции как источника дохода предприятия.
47. Методика анализа себестоимости продукции и факторов, которые ее обусловливают.
48. Задачи анализа затрат на производство продукции.
49. Методика анализа использования материальных ресурсов.
50. Анализ труда и его оплаты на предприятиях разных форм собственности.
51. Классификация и характеристика резервов повышения эффективности труда работников предприятия.
52. Методика анализа использования трудовых ресурсов.
53. Методика анализа производительности (продуктивности) труда и заработной платы.
54. Методика анализа эффективности использования основных фондов.
55. Методика анализа финансовых результатов работы предприятия.
56. Анализ рентабельности.
57. Методика анализа стабильности работы предприятия.
58. Анализ ликвидности и платежеспособности предприятия.
59. Анализ оборотных средств и источников их формирования.
60. Анализ финансового состояния предприятия.
2.2. Краткие ответы на контрольные вопросы
1. Экономический анализ в системе управления предприятием и его роль в условиях формирования рыночных отношений в Украине
Значение экономическою анализа определяется его ролью в системе управления предприятием. Экономический анализ — главный инструмент эффективного управления предприятием. Организационная структура управления крупных фирм стран рыночной экономики предусматривает обособление аналитических служб (центральное аналитическое бюро). К функциям управления наряду с планированием, организацией, регулированием, мотивацией, стимулированием, контролем и учетом относится и экономический анализ. При этом экономический анализ является специфической функцией, так как ни одно управленческое решение не принимается без анализа (рис. 24).
 |
|
Рис. 24. Экономический анализ в системе управления предприятием |
В микроэкономическом анализе выделяют:
• управленческий и финансовый анализ хозяйственной деятельности;
• анализ инвестиционных проектов и бизнес-планов;
• анализ рынка товаров (услуг);
• анализ технического уровня предприятия;
• анализ коммерческого риска;
• анализ деловой активности и т. д.
2. Характеристика предмета экономического анализа
Каждая наука имеет свой предмет исследования, который она изучает присущими ей методами. Определение предмета имеет значение для обоснования самостоятельности и обособленности той или иной отрасли знаний.
Предмет экономическою анализа — вся доступная информация по тем или иным направлениям деятельности субъектов рыночной экономики, находящаяся в диалектической взаимосвязи, взаимозависимости и взаимодействии, выражающая изменение состояния того или иного субъекта хозяйствования.
Экономический анализ исследует:
• хозяйственную деятельность, которая отражается в показателях учета, отчетности и иных источниках информации. Анализ изучает не только хозяйственную деятельность как технологический, организационный процесс, но и экономические результаты хозяйствования как следствие экономических процессов;
• хозяйственные процессы, связанные с достигнутыми результатами, которые отражены в количественных и качественных показателях учета и отчетности, складывающихся под воздействием объективных и субъективных факторов, отражаемых через систему экономической информации;
• совокупность производственных отношений, которая выражается в категориях коммерческого расчета и рассматривается в сочетании с технической стороной производства и экономической политикой государства;
• причинно-следственные связи хозяйственной деятельности, образование и изменение результатов хозяйственной деятельности.
Только раскрыв причинно-следственные связи различных сторон деятельности, можно очень быстро просчитать, как изменяются основные результаты хозяйственной деятельности за счет того или иного фактора, произвести обоснование любого управленческого решения, рассчитать, как изменятся сумма прибыли, объем продаж, обеспечивающий безубыточную работу предприятия, запас финансовой устойчивости, себестоимость единицы продукции при изменении производственной ситуации.
В экономической литературе представлены различные трактовки понятия предмета экономического анализа. Однако наиболее приемлемым является следующее определение: предметом экономического анализа являются экономика самостоятельных предприятий, конечные результаты их хозяйственной деятельности, обусловленные воздействием объективных и субъективных факторов, а также совокупность отношений, складывающихся в процессе хозяйственной деятельности предприятия и отраженных в показателях бухгалтерского учета.
3. Содержание и задачи экономического анализа в условиях формирования рыночных отношений в Украине
Экономический анализ деятельности предприятия проводится для изыскания резервов улучшения функционирования предприятия. В условиях рыночных отношений каждое предприятие несет ответственность за конечные результаты своей деятельности (прибыль, убыток, нулевой результат), поэтому содержание экономического анализа зависит от конкретных задач, стоящих перед аналитиком.
Содержание — упорядоченная совокупность элементов предмета или явления. Содержание экономического анализа включает такие элементы:
• уяснение конкретной задачи анализа данного объекта;
• изучение причинно-следственных связей объекта и построение его факторной системы;
• исследование характера причинно-следственных связей и выбор методов их количественного измерения;
• установление направления и размера влияния факторов на изменение результативного показателя;
• выявление условий, порождающих благоприятное или отрицательное действие факторов.
Задача анализа хозяйственной деятельности предприятия — получение данных о состоянии и результатах деятельности предприятия и его подразделений, о величине, характере и причинах отклонений в деятельности изучаемых объектов, имеющихся резервах.
При анализе хозяйственной деятельности предприятия решаются комплексные задачи по оценке деятельности предприятия и локальные. Примерами локальных задач являются:
• оценка работы предприятия и его подразделений за анализируемый период;
• выявление положительных и отрицательных факторов, влияющих на работу анализируемого объекта;
• контроль за выполнением намеченных планов, исправление выявленных недостатков;
• выявление неиспользованных резервов;
• оценка эффективности принятых решений.
Задачи экономического анализа хозяйственной деятельности представлены на рис. 25.
4. Потребители аналитической информации в условиях рыночной экономики
Чтобы наилучшим образом представить аналитическую информацию, необходимо знать, для кого она предназначена.
Всех потребителей результатов анализа можно условно разделить на две группы:
1. Собственники средств и приравненные к ним, которые лично заинтересованы в состоянии дел предприятия:
180

Рис 25. Задачи экономического анализа хозяйственной деятельности
• собственники средств, которым необходимо определить изменение доли собственного капитала и оценить эффективность использования ресурсов администрацией;
• кредиторы и поставщики, которые с помощью аналитической информации оценивают целесообразность продления кредита, определяют условия кредитования и гарантии возврата кредита, т. е. оценивают доверие к предприятию как к клиенту;
• потенциальные собственники, кредиторы и поставщики, которые на основании аналитической информации определяют выгодность вложения своих средств в данное предприятие;
• администрация предприятия;
• налоговые органы;
• служащие компании;
• покупатели.
2. Лица и организации, использующие аналитическую информацию для защиты интересов первой группы потребителей аналитической информации:
• консультанты по финансовым вопросам, дающие рекомендации своим клиентам относительно размещения их капиталов в ту или иную компанию;
• биржи ценных бумаг, оценивающие данную информацию при регистрации компании, принятии решений о приостановке деятельности какой-либо компании, изменении методов учета и составления отчетности (в странах рыночной экономики);
• юристы, использующие информацию для оценки выполнения условий контрактов, соблюдения законодательных норм при распределении прибыли и выплате дивидендов (в странах рыночной экономики);
• регулирующие органы, которые с помощью аналитической информации контролируют динамику и движение акций;
• пресса и информационные агентства, использующие информацию для подготовки обзоров, оценки тенденции развития отдельных компаний и отраслей;
• торгово-промышленные ассоциации, использующие информацию для статистических обобщений по отраслям, сравнительно -го анализа и оценки результатов деятельности предприятия на отраслевом уровне;
• профсоюзные органы, которые используют аналитическую информацию для определения требований к администрации в отношении уровня заработной платы работников и условий трудовых соглашений.
5. Экономический анализ и его научная основа
Экономический анализ — прикладная наука, представляющая собой систему специальных знаний, позволяющих оценить эффективность деятельности того или иного субъекта рыночной экономики. Экономический анализ исследует практическую полезность деятельности человека, позволяет рационально обосновать не только текущую деятельность, но и ближайшую перспективу развития субъекта хозяйствования.
Экономический анализ — система способов изучения состояния хозяйственной деятельности и достигнутых результатов, возможных вариантов ее улучшения в целях контроля за производством и обоснованием управленческих решений, направленных на повышение его эффективности. Теоретической основой экономического анализа является экономическая теория, которая изучает закономерности развития общественного производства, распределения и потребления на макроуровне, механизм их действия. Экономический анализ тесно связан со статистикой, планированием производства, бухгалтерским учетом, финансированием и кредитованием предприятия. Среди наук неэкономического направления необходимо выделить математические и технологические. Связь экономического анализа с другими науками представлена на рис. 26.
Анализ хозяйственной деятельности является синтезированной наукой, которая сформировалась путем интеграции целого ряда наук, объединив отдельные их элементы. В свою очередь результаты анализа используются другими науками при изучении тех или иных сторон хозяйственной деятельности.
Основная цель экономического анализа — поиск путей повышения эффективности хозяйствования отдельных предприятий, т. е. основным заказчиком результатов экономического анализа является менеджер.
6. Характеристика метода экономического анализа и его особенности
Метод — способ подхода к изучению явления. В основе экономического анализа лежит диалектический способ подхода к изучению хозяйственных процессов в их становлении и развитии. Особенностью,
183
 |
|
Рис. 26. Связь экономического анализа с другими науками |
присущей методу экономического анализа, является то, что он использует систему показателей, которые на том или ином уровне управления наиболее широко характеризуют объект рыночных отношений, выявляет и измеряет взаимосвязь этих показателей. Необходимость такого подхода обусловлена тем, что изучение каждого показателя в отрыве от других показателей порождает ошибочные выводы, не позволяет проникнуть в глубину происходящих процессов, осознать необходимость проведения тех или иных мероприятий. Метод экономического анализа представляет собой совокупность способов изучения хозяйственной деятельности предприятия путем выявления и определения взаимосвязей изучаемых показателей, расчленения их на составные части и сравнения с другими показателями, а также путем измерения степени влияния на изучаемые показатели как отдельных факторов, так и их совокупности в единстве и взаимной связи.
Характерными особенностями метода экономического анализа являются:
• использование системы показателей (учетные, плановые, отчетные). Для характеристики результатов деятельности предприятия используют следующие показатели: объем выпускаемой и реализуемой продукции, себестоимость (сумма и уровень в процентах); расшифровка отдельных элементов себестоимости, например материальные затраты, затраты на оплату труда; прибыль; рентабельность и др.;
• изучение причин изменения этих показателей. На изменение показателей, характеризующих деятельность предприятия, влияет множество причин (факторов) — внешних и внутренних. Анализ хозяйственной деятельности позволяет количественно оценить влияние этих факторов;
• выявление и измерение взаимосвязи показателей. Конечный финансовый результат деятельности предприятия — прибыль — зависит от объема реализованной продукции, себестоимости, системы налогооблажения, действующей в стране, и других факторов. В процессе анализа выявляется и количественно измеряется взаимосвязь этих показателей, определяется их влияние на результаты деятельности предприятия;
• использование логических методов в аналитических исследованиях.
Методы и приемы экономического анализа представлены на рис. 27.
185
 |
|
Рис. 27. Классификация методов и приемов экономического анализа |
7. Хозяйственная деятельность предприятия как объект экономического анализа
Хозяйственная деятельность предприятия представляет собой совокупность производственных отношений во взаимосвязи с производительными силами. В хозяйственной деятельности выделяют следующие процессы:
• технологические (материальные);
• экономические (формирование себестоимости, прибыли, материалоемкости и др.);
• социальные (жизнедеятельность трудового коллектива);
• природоохранные.
Все виды процессов протекают одновременно во взаимосвязи, но имеют различную природу, содержание и закономерности. Результат анализа хозяйственной деятельности определяет качество управленческой деятельности, поэтому экономический анализ занимает промежуточное место между сбором и обработкой информации и принятием управленческого решения.
Цели анализа объекта исследования:
• оценка фактического состояния управляемого объекта и определение его соответствия требуемому состоянию;
• выявление путей и возможностей перевода управляемого объекта из фактического состояния в требуемое;
• подготовка базы для принятия управленческих решений.
Хозяйственный процесс можно рассматривать как снабжение предприятия ресурсами, само производство и реализацию продукции (товаров, услуг). На хозяйственную деятельность влияют внешние и внутренние факторы. Совокупность внешних факторов определяет среду, в которой предприятие осуществляет свою деятельность (маркетинговая среда). Хозяйственная деятельность эффективно управляется только на основе глубокого изучения ее содержания и закономерностей функционирования как в целом, так и ее отдельных частей.
8. Организация экономического анализа на предприятии и пути его совершенствования
Управление — целенаправленное влияние управляющей системы на объект, которым руководят для достижения поставленных целей. Управление осуществляется с помощью следующих функций: планирование, организация, координация, контроль, мотивация, учет, анализ. Экономический анализ — специфическая функция управления, так как он присущ всем перечисленным функциям управления: экономический анализ проводится по различным направлениям с учетом классификации.
Экономический анализ классифицируется по разным признакам:
• по отраслевому: отраслевой, межотраслевой;
• по уровню управления: высший, средний, первичный;
• по содержанию процесса управления и времени проведения анализа: прогнозный (перспективный), оперативный, текущий (ретроспективный);
• по пространственному: внутрихозяйственный, межхозяйственный;
• по объектам управления: технико-экономический анализ, финансово-экономический, аудиторский (бухгалтерский), социально-экономический, экономико-статистический, экономикоэкологический, маркетинговый анализ;
• по методике изучения объектов: сравнительный анализ, факторный, диагностический, маржинальный, экономико-математический, стохастический, функционально-стоимостной анализ;
• по субъектам (пользователям) анализа: внутренний и внешний;
• по охвату изучаемых объектов: сплошной, выборочный;
• по содержанию аналитической программы: комплексный, тематический.
Для обеспечения рациональной организации экономического анализа всех сторон деятельности предприятия его следует проводить в определенной последовательности:
1) определение цели, объекта, состава и последовательности анализа, сроков его выполнения;
2) разработка программы комплексного анализа и плана его проведения;
3) определение перечня структурных подразделений предприятия, которые подвергнутся анализу, и показателей, с помощью которых будет проводиться анализ;
4) определение информационной базы анализа и возможности ее обработки на компьютере;
5) обработка информации: выявление, изучение, измерение факторов, обусловивших изменение показателей, вскрытие резервов и подготовка материалов для принятия управленческого решения.
Совершенствование анализа заключается в компьютеризации аналитических расчетов, что позволит усилить оперативность принимаемых решений.
9. Система экономической информации и особенности ее применения в условиях рыночной экономики
На современном этапе в связи с усложнением хозяйственных процессов и методов управления ими неизбежно требуется переход к новому качеству знаний, что вызывает необходимость создания информационной системы, соответствующей требованиям сегодняшнего дня для макро- и микроуровней.
Для того чтобы ответить на вопрос, что такое система экономической информации и каковы ее особенности, надо вспомнить, что такое информация и ее виды.
Информация — это совокупность сведений, характеризующих деятельность предприятия. Различают внешние и внутренние источники информации.
Внешние источники:
1) специализированные и частные (маркетинговые исследования);
2) вторичные — публикуемая информация;
3) оригинальные (полезные сведения с позиции потребителя; исследования, проводимые собственными отделами маркетинга предприятия и др.).
Внутренние источники:
1) исследования внутренних данных, проводимые отделом анализа;
2) исследования данных, поступающих от функциональных подразделений предприятия.
Внешняя информация — экономическая, социальная, деловая и т. д., внутренняя — это результаты деятельности (конечные и промежуточные) предприятия, прогнозы, задачи и направления деятельности, производственно-снабженческие возможности, определяющиеся техническим уровнем предприятия.
Система экономической информации предприятия в условиях рыночной экономики отличается неоднородностью экономической информации, а также сложностью взаимосвязей отдельных ее видов. В условиях командно-административной системы при анализе хозяйственной деятельности основное внимание уделяли только внутреннему анализу, часто локальному, ориентированному на отдельные количественные показатели.
В условиях рынка обязателен системный подход, поскольку кроме прямых связей требуется учитывать множество косвенных. Необходимо анализировать внешнюю конкурентную среду.
К экономической информации предъявляются следующие требования:
• объективность отражения процессов производства и сбыта;
• систематичность информации, поступающей из разных источников;
• оперативность информации;
• конкретность информации;
• комплексность информации;
• наличие потребителей информации.
10. Характеристика типовой организационно-информационной модели анализа хозяйственной деятельности
Построение организационно-информационной модели является необходимой предпосылкой организации комплексного анализа. Модель предполагает выбор рациональной системы экономических показателей, в которой последние находятся в определенной субординации и взаимосвязи, наиболее точно отражают экономическую действительность и способствуют активному воздействию на нее. Анализ организационно-информационной модели анализа хозяйственной деятельности позволяет выделить “узкие места” в производственном процессе предприятия, определить его ресурсы и потенциальные возможности для повышения эффективности производства, дать объективную оценку результатам хозяйственной деятельности.
Типовая организационно-информационная модель анализа инноваций и инвестиций приведена на рис. 28.
11. Система показателей, характеризующих хозяйственную деятельность предприятия, и их классификация
в экономическом анализе
Вся деятельность объектов экономического анализа отражена в системе показателей плана, учета, отчетности и других источниках информации.
Каждое экономическое явление или процесс чаще всего определяются не одним обособленным, а целым комплексом взаимосвязанных показателей. Например, эффективность использования основных
|
190 |  |
Хозяйственно-право-вое, финансовое законодательство
Нормативно
плановое
Планы капитал. вложений, нормативы цены и др. |
|
Учетная информация |
|
Бухгалтерского учета |
Статистического учета |
Оперативного
учета |
|
Текущего |
Отчетность |
Информация
статистической
отчетности |
Сводки, сведения и
другие документы |
|
Главная книга, машинограммы по счетам 12, 14, 35, 151, 152, 155, 313, 331, 371, 422, 425, 681 и др. |
Баланс (Ф1), отчет о финансовых результатах (Ф2), отчет о движении
денежных средств (Ф3), отчет о собственном капитале (Ф4) |
|
Внеучетная
информация
Заключение
аудитора |
191
192
Методы обработки экономической информации
Экономико-логические
Экономико-математические
>5
5
о
(U
X
X
-?"
Он
[-н
5
X
«
(U
Он
о
Он
5
с
с
>,
Он
[-Н
Он
5
X
X
S
5
ч
о
К 5 X
со
ж
о s х а
&Н 5 я$ Н н с5 к S
(U (U
S Н
(U я$
Ч S
(Т)
со S о я
о со
(U
Ч
о ~
о (U
S Ч' 5 о Он Ю
Методические приемы обобщения и реализации результатов анализа
Системати
зация |
Группировка,
обобщение |
Расчет |
Расчет
неиспользо- |
Разработка
экономически |
Принятие |
Контроль |
|
аналитиче- |
и оценка |
упущенной |
ванных |
обоснованных |
управленческих |
|
|
ских |
результатов |
выгоды |
резервов |
решений |
решений |
решений |
|
расчетов |
анализа |
|
|
|
Рис. 28. Организационно-информационная модель анализа инноваций и инвестиций
средств производства характеризуют уровень фондоотдачи, фондоемкости, рентабельности, производительности труда и т. д.
В связи с этим выбор системы показателей для отражения экономических явлений и процессов является важным вопросом в анализе хозяйственной деятельности. От того, насколько показатели полно и точно отражают сущность изучаемых явлений, зависят результаты анализа.
Так как в анализе хозяйственной деятельности предприятия применяется большое количество различных показателей, для их систематизации используется следующая группировка:
• по использованию в отраслях экономики:
- общие;
- специфические;
• по экономическому значению:
- количественные;
- качественные;
• по степени синтеза:
- обобщающие;
- частные;
- вспомогательные (косвенные);
• по характеру исчисления:
- абсолютные (натуральные и стоимостные);
- относительные;
• для изучения причинно -следственных связей:
- результативные;
- факторные;
• по способу формирования:
- нормативные;
- учетные;
- плановые;
- отчетные;
- аналитические (оценочные).
Данная группировка используется для подбора совокупности показателей, которая дает наиболее полную и качественную оценку всем без исключения элементам, взаимосвязям (внутренним и внешним), а также условиям, в которых существует предприятие.
Система показателей хозяйственной деятельности предприятия представлена на рис. 29.
В табл. 35 приведена система показателей хозяйственной деятельности для торгового и производственного предприятий.
 |
|
Рис. 29. Система показателей хозяйственной деятельности предприятия |
Показатели (измерители) хозяйственной деятельности предприятия
195
Показа
тель |
Торговое предприятие |
Производственное предприятие |
Количествен
ные |
Качественные |
Количествен
ные |
Качественные |
|
і |
2 |
3 |
4 |
5 |
|
Материально-техническая база |
1. Размер торговой сети:
количество
предприятий, рабочих мест, торговой площади.
2. Размер
основных
фондов
(в натуральной и стоимостной форме).
3. Прирост торговой сети
и основных
фондов.
4. Сумма инвестиций в основные фонды. |
1. Количество предприятий, рабочих мест, торговой площади на тысячу жителей.
2. Сумма основных фондов и размер торговой площади на 1 грн.
3. Коэффициент эффективности и срок окупаемости инвестиций.
4. Фондоотдача — отношение объемного показателя хозяйственной деятельности предприятия к среднегодовой стоимости используемых основных фондов.
5. Фондоемкость — отношение среднегодовой стоимости используемых основных фондов к объемному показателю хозяйственной деятельности предприятия за год. |
1. Размер основных фондов (в натуральной и стоимостной форме).
2. Прирост производственных площадей и основных фондов
за период.
3. Размер производственной площади. |
1. Коэффициент эффективности и срок окупаемости инвестиций.
2. Фондоотдача — отношение объемного показателя хозяйственной деятельности предприятия к среднегодовой стоимости используемых основных фондов.
3. Фондоемкость — отношение среднегодовой стоимости используемых основных фондов к объемному показателю хозяйственной деятельности предприятия за год.
4. Фондооснащенность — совокупный объем используемых основных фондов, приходящихся на одного среднесписочного работника. |
196
|
1 |
2 |
3 |
4 |
5 |
|
|
|
6. Фондооснащенность — совокупный объем используемых основных фондов, приходящихся на одного среднесписочного работника.
7. Фондовооруженность — объем производственных основных фондов, приходящихся на одного работника промышленно-производственного
персонала и вспомагательно-
производственного персонала.
8. Рентабельность основных фондов — сумма прибыли на единицу среднегодовой стоимости основных фондов.
9. Показатели оценки интенсивности воспроизводства основных фондов (коэффициент обновления, коэффициент выбытия, коэффициент износа, коэффициент прироста основных фондов). |
|
5. Фондовооруженность — объем производственных основных фондов, приходящихся на одного работника промышленнопроизводственного персонала и
вспомагательно-производствен-
ного персонала.
6. Рентабельность основных фондов — сумма прибыли на 1 ед. среднегодовой стоимости основных фондов.
7. Показатели оценки интенсивности воспроизводства основных фондов (коэффициент обновления, коэффициент выбытия, коэффициент износа, коэффициент прироста основных фондов). |
197
|
1 |
2 |
3 |
4 |
5 |
Труд и его
оплата |
1. Численность работников:
• списочная
численность;
• явочная
численность;
• среднесписочная
численность.
2. Сумма фонда оплаты труда (в составе себестоимости).
3. Сумма средств,
напр авляемых
на оплату труда (фонд оплаты труда +
+ средства, формируемые
за счет
прибыли). |
1. Выработка — количество проданной продукции в единицу времени одним работником.
2. Качественный состав работников — удельный вес каждой категории работников в общей численности персонала.
3. Уровень фонда оплаты труда.
4. Размер экономии или перерасхода фонда оплаты труда. |
1. Численность работников:
• списочная
численность;
• явочная
численность;
• среднесписочная
численность.
2. Сумма фонда оплаты труда (в составе себестоимости).
3. Сумма средств,
направляемых
на оплату труда (фонд оплаты труда + + средства, формируемые
за счет
прибыли). |
1. Уровень производительности труда:
а) выработка — количество продукции, производимой
в единицу времени одним работником;
б) трудоемкость — затраты труда на 1 ед. продукции.
2. Качественный состав работников — удельный вес каждой категории работников в общей численности персонала.
3. Уровень фонда оплаты труда.
4. Размер экономии или перерасхода фонда оплаты труда. |
Окончание табл. 35
198
|
1 |
2 |
3 |
4 |
5 |
Розничный товарооборот (для торгового
предприя
тия)
Реализация
произве
денной
продукции
(для производственного предприятия) |
1. Общий объем розничного товарооборота.
2. Объем товарооборота по товарным
группам.
3. Норматив товарных
запасов
(в сумме, в днях, в оборотах).
4. Фактические товарные запасы (в сумме, в днях, в оборотах).
5. Сумма поступления
товаров за
период. |
1. Размер товарооборота на:
• 1 метр квадратный;
• 1 грн основных фондов;
• 1 грн оборотных средств;
• на одного среднесписочного работника.
2. Ассортиментная структура товарооборота (в процентах).
3. Товарооборачиваемость (в оборотах и днях).
4. Соотношение фактических запасов и норматива.
5. Отношение товарооборота к ресурсному потенциалу
предприятия.
6. Отношение товарооборота к финансовым показателям предприятия (валовой доход, сумма уплаченных налогов, прибыль). |
1. Общий объем реализованной продукции.
2. Объем
реализации
по отдельным
видам продукции. |
1. Объем реализованной продукции на:
• 1 грн основных фондов;
• 1 грн оборотных средств;
• 1 грн затрат на производство и реализацию продукции.
2. Ассортиментная структура реализованной продукции (в процентах). |
12. Взаимосвязь основных показателей в системе комплексного экономического анализа
Комплексный экономический анализ хозяйственной деятельности характеризует предприятие по данным, полученным в результате исследования, отражающего все аспекты хозяйственного процесса, включая материально-техническое обеспечение, транспортировку, хранение, производственный процесс и реализацию продукции.
В различных отраслях народного хозяйства применяются такие общие показатели: объем выпускаемой продукции; себестоимость; прибыль. Наряду с ними используются специфические показатели, присущие отдельным отраслям народного хозяйства. Например, в сельском хозяйстве: посевные площади; удой молока и т. д. При изучении предприятий торговли изучаются следующие показатели: товарооборот и факторы его обусловливающие; товарные запасы; издержки обращения и т. д. В производственной сфере: продукция (торговая, товарная, нормативно-чистая, реализованная), себестоимость продукции и т. д.
Все показатели в зависимости от объекта анализа группируются в следующие подсистемы:
1. Показатели организационно-технического уровня развития предприятия характеризуют производственную структуру предприятия, структуру управления, уровень концентрации и специализации производства, продолжительность производственного цикла, техническую и энергетическую вооруженность труда, степень механизации, автоматизации, прогрессивность технологических процессов и т. д.
2. Показатели снабжения характеризуют обеспеченность предприятия основными средствами производства, оборудованием, материалами и трудовыми ресурсами.
3. Показатели производства: объем валовой и товарной продукции в стоимостном, натуральном и условно-натуральном измерении, структура продукции, качество, ритмичность производства.
4. Показатели сбыта: данные об объеме отгрузки и реализации продукции, остатках готовой продукции на складах.
5. Показатели использования средств производства: основные фонды, амортизация, фондоотдача, фондоемкость, среднечасовая выработка продукции на одном станке или рабочем месте, коэффициент использования наличного оборудования.
6. Показатели использования предметов труда: материалоемкость, материалоотдача, стоимость используемых предметов труда за анализируемый период.
Они тесно связаны с показателями остальных подсистем. От экономного использования материалов зависят выход продукции, себестоимость, а значит, сумма прибыли, уровень рентабельности, т. е. финансовое состояние предприятия. Проследить взаимосвязь показателей и степень влияния на них каждого фактора можно на основе математической модели в виде уравнений и неравенств. Взаимосвязь основных показателей представлена на рис. 30.
13. Информационное обеспечение анализа
Информация — это совокупность сведений, характеризующих деятельность предприятия.
Управление предприятием основывается на использовании различных видов информации:
• внешняя (экономическая, социологическая, деловая, рыночная и т. д.);
• внутренняя (о промежуточных и конечных результатах деятельности предприятия, маркетинговая).
К информации необходимо предъявлять следующие требования:
1) наличие потребителей информации;
2) объективность отражения процессов производства, снабжения, сбыта;
3) единство информации, поступающей из различных источников;
4) оперативность информации;
5) подготовленность первичной информации для использования на ПК, что позволит получить на ее основе производную информацию для использования различными управленческими структурами.
Следовательно, информация должна быть объективной, конкретной, оперативной, систематической, комплексной.
Перед проведением анализа необходимо проверить используемую информацию:
• по существу;
• техническую сторону (полнота отчетных данных, соответствие отчетным формам и т. д.);
• счетную проверку (правильность итогов и т. д.).
 |
Рис. 30. Анализ абсолютных показателей хозяйственной деятельности
предприятия |
Информационное обеспечение процесса управления включает в себя следующие виды информации:
1) правовое, хозяйственное, финансовое законодательство;
2) нормативно-плановая;
3) учетная:
• бухгалтерского учета (по счетам, главная книга, бухгалтерская отчетность — формы № 1-4);
• статистического учета;
• оперативного учета;
• финансового учета;
• производственного учета (учет затрат);
4) внеучетная.
В условиях рыночной экономики информация является одним из основных и самых дорогих ресурсов. Своевременное обеспечение предприятия необходимой информацией — основное условие его эффективного функционирования в рыночной конкурентной среде.
14. Принципы организации информационного обеспечения экономического анализа в условиях компьютеризации
Применение компьютерной техники повышает эффективность аналитической работы за счет сокращения сроков проведения анализа, более полного выявления влияния факторов, замены приблизительных расчетов на более точные вычисления. Наиболее эффективные организационные формы использования персонального компьютера (ПК) — это создание на их базе автоматизированных рабочих мест менеджеров, бухгалтеров, экономистов.
Информация, используемая для ПК, подразделяется:
• на переменную (данные о выпуске продукции в разрезе видов ассортимента, об обеспеченности и использовании всех видов ресурсов);
• условно-постоянную (базисные данные по всем показателям, базисные нормы расхода материальных ресурсов, нормы времени, данные за прошедший период).
В условиях рыночной экономики в целях экономии времени и средств необходимо проведение комплексной обработки первичной информации, возможность ее дистанционной передачи, ограничение объемов первичной информации при повышении степени ее использования.
Для организации анализа в условиях автоматизированного рабочего места (АРМ) характерно:
• сохранение целостности анализа при условии децентрализованной обработки информации;
• соединение процесса обработки информации с процессом принятия решения;
• повышение оперативности и действенности анализа.
Комплекс программных средств для АРМ аналитика представляет
собой совокупность программной обработки аналитических таблиц по методике комплексного анализа хозяйственной деятельности предпри-
15. Характеристика основных этапов проведения экономического анализа
В процессе экономического анализа можно выделить несколько последовательных этапов:
1. Объект анализа представляется как определенная система, для которой определяют цели и условия функционирования.
2. Отбор показателей, которые характеризуют производственную деятельность предприятия и способны дать наиболее полную и качественную оценку всем без исключения элементам, взаимосвязям, а также условиям, в которых существует объект.
3. Проведение системного экономического анализа. Составление общей схемы системы, установление ее главной компоненты, взаимосвязей, разработка схемы подсистем, показывающей взаимозависимость их элементов. На основе информационной модели составляется общая блок-система комплексного анализа, классифицируются факторы и показатели, формализуются связи между ними.
4. Определяются все основные взаимосвязи и факторы, дающие количественную характеристику объекта исследования.
5. На основе полученной информации в общем виде строится экономико-математическая модель системы, при этом на основе качественного анализа определяются математические выражения и коэффициенты всех уравнений и неравенств в системе, функции, цели и параметры ограничений.
6. Работа с моделью (объективная оценка результатов хозяйственной деятельности). Осуществляется в условиях АРМ в форме диалога, путем замены отдельных параметров экономико-математической модели, которые характеризуют те или иные факторы производства, определяют значение функции. Сравнение этих показателей с фактическими, плановыми и другими позволяет оценить итоги хозяйствования, влияния факторов на величину результативных показателей, определить источники и объем неиспользованных внутрихозяйственных резервов.
При анализе хозяйственной деятельности анализируются:
• выполнение производственной программы и реализация продукции;
• труд и его оплата;
• состояние и использование основных фондов;
• материально-техническое обеспечение процесса производства и эффективность использования материальных ресурсов;
• уровень технического развития предприятия;
• себестоимость продукции, в том числе затраты на сырье и материалы, расходы по обслуживанию производства и управления;
• прибыль и рентабельность;
• финансовое состояние;
• другие показатели.
16. Характеристика основных принципов комплексного анализа хозяйственной деятельности
Комплексность — это изучение объекта в единстве взаимосвязанных и взаимозависимых элементов.
Комплексный анализ предусматривает исследование деятельности предприятия с учетом всех аспектов хозяйственного процесса, включая материально-техническое обеспечение, транспортировку, разгрузку, хранение, производственный процесс и реализацию продукции.
Принципами комплексного анализа являются:
1) системность, увязка отдельных разделов анализа между собой;
2) анализ взаимосвязей и взаимной обусловленности этих разделов;
3) вывод результатов анализа каждого раздела на обобщающие показатели эффективности.
При проведении комплексного анализа необходимо учитывать все обратные связи, а также то, что каждый показатель изменяется под воздействием других факторов.
Методика комплексного анализа для целей управления содержит следующие элементы:
• определение целей, объектов и задач экономического анализа; составление плана аналитической работы;
• подбор системы синтетических и аналитических показателей, характеризующих объект анализа;
• разработка схемы и последовательности проведения экономического анализа;
• установление периодичности и сроков проведения экономического анализа;
• установление источников информации и способов ее сбора и обработки;
• выбор методов анализа экономической информации;
• составление перечня организационных этапов, распределение обязанностей между службами;
• создание системы организационной и вычислительной техники, используемой для аналитической обработки информации;
• определение порядка оформления результатов и их оценка;
• оценка трудоемкости работы.
В комплексном анализе изучается как хозяйственная деятельность объекта в целом, так и входящих в него структурных единиц. В различных отраслях показатели изучаются с учетом отраслевой специфики.
17. Общая характеристика экономико-логических методов анализа хозяйственной деятельности
В экономическом анализе используются различные способы исследования. Среди них основное место принадлежит традиционным или экономико-логическим методам. К ним относятся методы сравнения, абсолютных, средних и относительных величин, метод группировки, метод балансовой увязки и метод элиминирования.
1. Сравнение — прием, позволяющий выразить характеристику явлений через другие однородные явления. Главное условие данного метода — сопоставимость сравниваемых показателей (единство оценки, сравнимость календарных сроков, устранение влияния различий в объеме и ассортименте выпускаемых и реализуемых товаров и т. д.). В анализе хозяйственной деятельности сравнение применяется в следующих видах: отчетные данные сравниваются с показателями прошлых периодов (динамика развития), с лучшими данными (эталоном), нормативами или планами, со средними данными, с показателями родственных предприятий в других регионах страны. Сравнение присуще каждому аналитическому расчету.
2. Использование абсолютных величин, характеризующих размеры экономических явлений, которые выражаются в натуральных, трудовых и стоимостных измерителях; средних величин, дающих обобщенную характеристику показателей при изучении массовых, качественно-однородных явлений; относительных величин, характеризующих качество изучаемых явлений (уровень фондоотдачи, рентабельности).
3. Группировка — изучение совокупности объектов методом деления их на качественно-однородные группы по избираемому признаку (группировочный признак). Ему предшествует ранжирование по данным признакам. Группировка используется, чтобы показать место данного явления в изучаемой совокупности. В АХД используют типологические, структурные и аналитические группировки. С помощью группировок изучается зависимость между показателями, систематизируются материалы анализа, выделяется главное, типичное для изучаемого явления.
4. Балансовая увязка показателей применяется при изучении аддитивной модели, когда известны общие отклонения по изучаемым показателям и влияние всех факторов, кроме одного (этот метод широко распространен в практике бухгалтерского учета и планирования).
5. Элиминирование — логический прием факторного анализа, при котором мысленно исключается действие ряда факторов, принимаемых за переменную величину, и выделяется один из них, который принимается за постоянную величину. Данный метод обусловливается следующими приемами (методами): индексным методом, методом цепных подстановок, методом разницы, корректирующего коэффициента и интегральным методом.
18. Общая характеристика экономико-математических методов и сфера их использования в экономическом анализе
Экономико-математические методы используются при решении экономических задач на основе математики и кибернетики.
Математические методы обеспечивают сокращение сроков проведения анализа, более полный охват влияния факторов на результаты
коммерческой деятельности, замену приблизительных расчетов точными вычислениями. Экономико-математические методы подразделяются:
• на эконометрические — построены на синтезе математики, статистики, экономики. Основой этих методов являются экономико-математические модели (схематическое научно-абстрактное описание с помощью математических средств того или иного хозяйственного процесса или явления);
• методы оптимизации расчетов, в основе которых лежит математическое программирование. Применяются для решения задач оптимизации производственно-хозяйственной деятельности. К методам математического программирования относятся линейное, нелинейное, дискретное;
• методы экономической кибернетики, которые анализируют экономические явления и процессы как сложные системы с точки зрения законов и механизмов управления и движения информации в них;
• методы исследования операции подразумевают разработку целенаправленных действий, качественную оценку полученных решений и выбор из них наилучшего. Наиболее распространены такие методы: теория игр — для принятия оптимальных решений в условиях конфликта нескольких сторон, имеющих различные интересы; теория массового обслуживания — исследует на основе теории вероятностей математические методы количественной оценки процессов массового обслуживания.
Все перечисленные методы имеют единую цель — оценить экономические явления и процессы в фактически сложившихся условиях хозяйствования, а также улучшить эмпирически сложившиеся варианты хозяйствования, выявляя внутрихозяйственные потери от принятия неоптимальных управленческих решений.
19. Экономико-математические методы и модели как метод научного познания
Теория познания изучает возможности и закономерности познания от ощущений, представлений, понятий к объективной реальности, данности и действительности. Процесс познания широко использует важнейшие инструменты: анализ, синтез, эксперимент, моделирование.
Экономико-математические методы — решение задач с помощью математики и кибернетики. Они подразделяются на методы:
• экономико-статистические — используются при изучении массовых повторяющихся экономических явлений, когда связь между анализируемыми показателями стохастическая (вероятностная). Наиболее распространены методы корреляции и регрессионный анализ;
• эконометрические — построены на синтезе математики, статистики, экономики;
• оптимизации расчетов, в основе которых лежит математическое программирование. К методам математического программирования относятся линейное, нелинейное и дискретное программирование.
Единая цель перечисленных методов — определение оптимального варианта того или иного хозяйственного процесса или явления с целью улучшения эмпирически сложившихся вариантов хозяйствования, выявления внутрихозяйственных потерь от принятия неоптимальных управленческих решений.
Модель — это условный образ объекта исследования. Экономикоматематическая модель представляет собой схематичное научно-абстрактное описание с помощью математических средств того или иного экономического явления или процесса. Модель конструируется субъектом исследования так, чтобы отразить характеристики объекта: свойства, взаимосвязи, структурные и функциональные параметры.
Содержание моделирования составляют:
• конструирование модели на основе предварительного изучения объекта и выделения его существенных характеристик;
• экспериментальный или теоретический анализ модели на основе предварительного изучения объекта и выделения его существенных характеристик;
• сопоставление результатов с данными об объекте;
• корректировка модели.
Экономико-математические методы и модели, основываясь на теории познания, обеспечивают практическую полезность хозяйственной деятельности, позволяют рационально обосновывать не только текущую деятельность, но и ближайшую перспективу развития субъекта хозяйствования.
20. Последовательность, формы и этапы моделирования хозяйственных процессов
Моделирование — это конструирование модели на основе предварительного изучения объекта и выделения его основных характеристик. Построенная модель подвергается теоретическому анализу и корректировке на основе результатов анализа.
Задачи моделирования: изучение наличия, направления и интенсивности связи показателей; ранжировка и классификация факторов; выявление формы связи между показателями; сглаживание динамики изменения уровня показателей; сравнение структуры связи в разных совокупностях.
Процесс моделирования осуществляется по этапам:
1. Анализ теоретических закономерностей, свойственных изучаемому явлению, и эмпирических данных о его структуре (четкая формулировка конечной цели построения модели и определение критерия, по которому будут сравниваться различные варианты). На этом этапе важно четко сформулировать цель построения модели и выбрать критерий сравнения вариантов решения.
2. Определение методов, с помощью которых можно решить задачу на основе построенной модели. Здесь важен выбор рационального метода.
3. Расчет и анализ полученных результатов. Критерием достоверности и качества модели на этом этапе является соответствие результатов исследования производственным условиям.
Различают следующие формы моделирования хозяйственных процессов:
• детерминированное (аддитивные модели, мультипликативные, кратные) — построение тождественного преобразования для исходной формулы экономического показателя по теоретически предлагаемым прямым связям последнего с другими показателями;
• стохастическое — обобщение закономерностей варьирования значений экономических показателей.
Процесс моделирования факторных систем — очень сложный и ответственный момент в экономическом анализе. От того, насколько реально и точно созданные модели отражают связь между исследуемыми показателями, зависят конечные результаты анализа.
21. Экономический анализ при автоматизированной обработке информации
При автоматизации процессов управления требуется рациональная организация экономического анализа. Применение персонального компьютера повышает эффективность аналитической работы за счет сокращения сроков проведения анализа; более полного охвата влияния факторов на результаты хозяйственной деятельности; замены приблизительных расчетов точными.
Методика экономического анализа, ориентированная на применение ПК, должна удовлетворять требованиям системности, динамичности, комплексности, оперативности, точности, прогрессивности. При ручной обработке информации невозможно минимизировать временные затраты на обработку этой информации и дистанционную ее передачу.
Организация аналитической работы в условиях АРМ включает:
• разработку программы комплексного анализа или его плана;
• определение цели исследования, объекта, показателей, описывающих объект, последовательности проведения анализа (расчетов), сроков выполнения аналитических работ по частям и в целом;
• определение информационной базы анализа (бухгалтерской и статистической документации), приведение этой информации к такому виду, который позволит обработать ее на ПК;
• определение алгоритма постановки аналитических задач и разработку таблиц;
• обработку информации, с помощью которой нужно выявить, изучить, измерить факторы, обусловившие изменение показателей, вскрыть резервы и разработать мероприятия по устранению выявленных недостатков, т. е. дать материалы для принятия управленческого решения.
Автоматизированная обработка информации позволит ускорить процесс принятия управленческого решения, обоснованно аргументировать принятое решение и получить желаемый экономический эффект.
22. Характеристика элементов аналитического процесса
Содержание — это упорядоченная совокупность элементов целого предмета или явления. Аналитический процесс включает в себя такие элементы:
• постановка конкретной задачи анализа данного объекта;
• изучение причинно-следственных связей объекта и построение его факторной модели;
• исследование характера причинно-следственных связей между показателями, выбор метода их количественного измерения;
• установление направления и степени влияния факторов на изменение результативного показателя;
• выявление условий, порождающих благоприятное или отрицательное действие факторов.
Исследование экономических процессов на начальной стадии проводится от общего к частному (дедуктивный метод): изучаются отдельные подразделения предприятия или виды деятельности. На стадии обобщения изученные составляющие показателя рассматриваются с учетом их влияния на общие анализируемые показатели (индуктивный метод).
Анализ деятельности предприятия проводится в определенной последовательности:
1. Разрабатывается программа или план анализа отдельных сторон деятельности предприятия (определяются цель, объект, состав и последовательность анализа и сроки выполнения).
2. Определяется перечень структурных звеньев предприятия, которые подвергнутся анализу; устанавливаются конкретные исполнители, ответственные за его проведение.
3. Устанавливается отчетность (плановая, учетная, контрольная и возможность ее обработки на компьютере).
4. Оценивается управленческое решение с позиции эффективности экономических затрат на производимую аналитическую работу.
5. Оформляются результаты анализа в виде объяснительной записки, справки, заключения, приказа или в другой форме.
23. Организация, содержание и методика текущего анализа хозяйственной деятельности
Текущий (ретроспективный) анализ проводится по результатам деятельности предприятия за прошлый (отчетный) период (месяц, квартал, год), при этом оценивается работа предприятия и его структурных подразделений.
Цель текущего анализа хозяйственной деятельности — объективная оценка результатов хозяйственной деятельности, выявление недостатков и неиспользованных резервов, определение путей их мобилизации и использования в будущем периоде. Ценность текущего анализа заключается в том, что он осуществляется комплексно и всесторонне на основе бухгалтерской и статистической отчетности, плановых и нормативных данных за соответствующие периоды. Этим обеспечивается наиболее полная оценка деятельности предприятия по использованию имеющихся ресурсов и возможностей, их рациональному применению.
Текущий анализ осуществляется по таким этапам:
• подготовительный — разработка программы исследований, определение перечня исполнителей, источников информации, макетов аналитических таблиц, алгоритмов их расчетов, должностных лиц, которых можно привлекать для проведения анализа;
• период изучения — непосредственная обработка экономической информации с помощью традиционных или математических методов, вручную или автоматически, анализ и оценка полученных данных;
• заключительный — составление заключений, выводов, предложений.
Методика текущего анализа хозяйственной деятельности включает:
• проведение общего анализа — оценка фактических показателей в сопоставлении с плановыми данными, а также данными предыдущих периодов по основным показателям;
• проведение факторного анализа — выявление факторов, обусловливающих изменение показателей, и их количественный расчет;
• разработка мероприятий по улучшению хозяйственной деятельности в виде заключений, предложений и т. д.
24. Организация, содержание и методика перспективного анализа хозяйственной деятельности
Перспективный анализ — анализ результатов хозяйственной деятельности, проводимый с целью определения их возможных значений в будущем для осуществления прогноза и определения перспектив развития предприятия. Целью перспективного анализа является обеспечение научной обоснованности управленческих решений и плановых заданий, прогнозирования будущего и оценки ожидаемого выполнения плана, предупреждение нежелательных результатов, нахождение в каждом процессе наиболее устойчивых перспективных решений.
Задачи перспективного анализа классифицируются:
• по объектам анализа (бригада, цех);
• показателям деятельности (объем выпускаемой продукции, себестоимость);
• временному признаку (анализ текущей перспективы — смена, сутки; ближайшей — год, квартал; среднесрочной — 2-3 года; долгосрочной — 5 лет).
Методика перспективного анализа заключается в следующем:
1) определяется круг обобщающих показателей, характеризующих перспективу предприятия по основным направлениям деятельности (объем и структура выпускаемой продукции);
2) определяются ожидаемые результаты хозяйственной деятельности и финансовое состояние предприятия;
3) устанавливается последовательность анализа показателей исходя из основных направлений связи между важнейшими группами показателей;
4) анализируются следующие специальные показатели:
• качество, структура и объем выпускаемой и реализованной продукции;
• уровень технического состояния и организационного развития предприятия;
• уровень себестоимости продукции, прибыли, рентабельности;
• эффективность использования основных фондов, материальных и трудовых ресурсов;
• уровень социального развития трудового коллектива;
• финансовое состояние объекта исследования.
На основе результатов перспективного анализа проводится обоснованное планирование хозяйственной деятельности.
25. Организация, содержание и методика функционально-стоимостного анализа
Функционально-стоимостной анализ (ФСА) представляет собой метод выявления резервов. Он базируется на функциях, которые выполняет объект, и сориентирован на оптимальные методы их реализации на всех стадиях жизненного цикла объекта (изделия). Его основное назначение состоит в том, чтобы выявить и предупредить лишние затраты за счет ликвидации ненужных узлов, деталей, упрощения конструкции изделия, замены материалов и т. д. Это метод системного исследования функций отдельного изделия или определенного производственно-хозяйственного процесса, или же управленческой структуры, направленный на минимизацию затрат в сферах проектирования, освоения производства, сбыта, промышленного и бытового потребления при высоком качестве, предельной полезности и долговечности продукции.
Функционально-стоимостной анализ базируется на следующих принципах:
• творческое инновационное мышление;
• системность;
• комплексность;
• функциональность объектов и анализа затрат на его осуществление;
• использование опыта научных и практических работников разных отраслей знаний;
• ранняя диагностика;
• оптимальная детализация;
• выделение ведущего звена (ликвидация узких мест).
Задачи функционально-стоимостного анализа:
• определение экономической эффективности производства на всех уровнях относительно всей совокупности затрат живого и овеществленного труда;
• разработка системы показателей и технико-экономических нормативов, приемлемых для всех уровней управленческой системы;
• организация технологического и управленческого процесса по всей цепочке производственно-финансовой деятельности;
• активизация экономических рычагов управления;
• систематическое наблюдение за эффективностью и долгосрочностью использования продукции и конструктивных рекомендаций в сфере промышленного и бытового использования.
Функционально-стоимостной анализ осуществляется по этапам:
• информационно-подготовительный (выбор объекта, создание нового изделия, проведение научно-поисковых работ);
• аналитико-творческий (оценка конструктивности идеи, выдвижение альтернативных идей);
• пуско-наладочный (экспериментальная проверка нового изделия);
• поточно-производственный (запуск изделий в производство);
• коммерческо-сбытовой (реализация готовой продукции с достаточным эффектом);
• контрольно-эксплуатационный (на основе анализа жизненного цикла изделий).
26. Организация, содержание и методика оперативного анализа
Оперативный анализ — система повседневного изучения выполнения плановых заданий с целью быстрого реагирования на изменения в процессе производства и для обеспечения непрерывного и эффективного функционирования хозяйственного комплекса.
Цель оперативного анализа — постоянный контроль за рациональностью функционирования хозяйственной системы по выполнению плановых заданий, процессами производства и реализации продукции, а также своевременное выявление и использование текущих внутрипроизводственных резервов для достижения целей предприятия.
Методика оперативного анализа:
• определение отклонений от плана по основным количественным и качественным показателям работы предприятия и его подразделений за смену, сутки, декаду;
• оценка степени влияния различных факторов на отклонение от плана по анализируемым показателям;
• выяснение конкретных причин действия отдельных факторов;
• установление лиц, ответственных за недостатки в работе;
• быстрая разработка и осуществление мер по устранению действия отрицательных факторов;
• подведение итогов работы предприятия по изучаемому вопросу за период (месяц).
С помощью оперативного анализа определяют специальные показатели:
• объем выпускаемой и реализованной продукции;
• себестоимость;
• прибыль и рентабельность;
• платеже- и кредитоспособность деятельности предприятия.
Особенности оперативного анализа:
• показатели изучаются в натуральных и стоимостных измерителях;
• расчеты носят приблизительный характер;
• на каждом уровне управления используются специфические показатели, которые влияют на конечный обобщающий результат деятельности.
Оперативный анализ приобретает особое значение в условиях рыночной экономики, когда динамично изменяется ситуация в производственной, коммерческой, финансовой деятельности предприятия, его внешней среды.
27. Внутрихозяйственный анализ, его содержание, задачи и организация
Внутрихозяйственный анализ — это анализ деятельности структурных подразделений изучаемого предприятия.
В повышении эффективности деятельности предприятия важное значение имеет совершенствование управления и организации его первичных производственных звеньев, т. е. цехов, участков, бригад и т. д., что обусловливает необходимость проведения систематического, глубокого и всестороннего внутрихозяйственного анализа.
Задачи внутрихозяйственного анализа деятельности подразделений предприятия:
• объективная и всесторонняя оценка выполнения плановых заданий;
• исследование экономических особенностей функционирования и развития подразделений;
• определение и измерение факторов и причин, обусловивших результаты производства;
• выявление внутризаводских резервов и разработка мероприятий по их рациональному использованию;
• выявление и распространение передового опыта.
По содержанию внутрихозяйственный анализ существенно отличается от анализа деятельности всего предприятия. Это проявляется прежде всего в специфическом содержании экономических показателей, устанавливаемых самостоятельно различными подразделениями предприятия. Данный вид анализа имеет также свои специфические субъекты анализа. Если деятельность предприятия в основном проверяют экономические службы предприятия, вышестоящие организации, то деятельность его структурных подразделений изучают специалисты предприятия. Существенно отличается и информационная база внутрихозяйственного анализа от информационного обеспечения анализа деятельности предприятия в целом. Внутрихозяйственный анализ имеет более широкую информационную базу. Для его проведения используются не только данные отчетности, но и данные сводных и даже первичных документов.
Внутрихозяйственный анализ требует широкого привлечения специалистов технических служб и руководителей низовых звеньев к комплексному изучению деятельности предприятия и к управлению его деятельностью, позволяет полнее выявить взаимосвязь экономических процессов с техникой и технологией производства.
28. Основные принципы системного анализа экономико-математического моделирования
Системный подход базируется на изучении объектов как сложных систем, которые состоят из отдельных элементов с многочисленными внутренними связями. Системный подход позволяет глубже изучить объект, получить более полное представление о нем, выявить причинно-следственные связи между отдельными частями объекта.
Основные припципы системного анализа экономико-математического моделирования:
1. Анализ теоретических закономерностей, свойственных изучаемому явлению, и эмпирических данных о его структуре (четкая формулировка конечной цели построения модели и определение критерия, по которому будут сравнивать различные варианты решений).
2. Определение методов, с помощью которых можно решить задачу.
3. Анализ полученных результатов.
Математические модели описывают изучаемое явление или процесс с помощью уравнений, неравенств, функций. Различают модели:
• с количественными характеристиками, записанными в виде формул;
• числовые с конкретными числовыми характеристиками;
• логические, записанные с помощью логических выражений;
• графические.
Экономико-математическая модель должна быть адекватной действительности, отображать существенные стороны и связи изучаемого объекта. Для того чтобы она соответствовала этим требованиям, при создании модели необходимо учитывать главные особенности системного подхода — динамичность, взаимообусловленность, взаимозависимость и взаимосвязь элементов системы, комплексность, целостность, соподчиненность, выделение ведущего звена.
29. Моделирование факторных систем
Моделирование — один из важнейших методов научного познания, с помощью которого на основе предварительного изучения объекта исследования и выделения его основных характеристик конструируется модель (условный образ) объекта исследования. Сущность моделирования заключается в том, что взаимосвязь исследуемого показателя с факторным выражается в форме конкретного математического уравнения. В факторном анализе различают модели детерминированные (функциональные) и стохастические (корреляционные).
Основные составляющие процесса моделирования факторных систем:
1. Четкая формулировка конечной цели построения модели, а также определение критерия, по которому будут сравниваться различные варианты решения.
2. Выбор наиболее рационального математического метода для решения задачи.
3. Всесторонний анализ результата, полученного при изучении экономического явления или процесса.
Экономические явления можно выразить в виде следующих основных детерминированных моделей:
1) аддитивные;
2) мультипликативные;
3) кратные;
4) смешанные (комбинированные).
Моделирование факторной системы основывается на экономических критериях выделения факторов как элементов факторной системы: причинность, достаточная специфичность, самостоятельность существования, учетная возможность.
Различают следующие приемы моделирования:
• метод удлинения факторной системы;
• расширение и сокращение факторной системы;
• формальное разложение факторной системы.
3 0. Классификация экономико-математического моделирования в экономическом анализе
Экономико-математические методы классифицируются по различным признакам:
1. По классификационному признаку “оптимальности”:
• оптимизационные — позволяют искать решение по заданному критерию оптимальности;
• неоптимизационные — поиск ведется без критерия оптимальности.
2. По признаку “получения точного решения”:
• точные;
• приближенные.
Метод относят к точным, если алгоритм метода позволяет получить только единственное решение. Метод относят к приближенным, если в поиске решения используется стохастическая информация и решение можно получить с любой степенью точности, а также если применение метода не гарантирует получения единственного решения по заданному критерию оптимальности.
С учетом классификационного деления по признакам все экономико-математические методы подразделяются на группы:
1. Оптимизационные точные: методы теории оптимальных процессов; некоторые методы математического программирования; методы исследования операций.
2. Оптимизационные приближенные: методы математического программирования; метод исследования операций; метод экономической кибернетики; эвристические методы.
3. Неоптимизационные точные: методы элементарной математики; классические методы математического анализа; эконометрические методы.
4. Неоптимизационные приближенные: метод статистических испытаний; другие методы математической статистики.
Отдельные методы из этих четырех групп используются для решения различных задач: оптимизационных и неоптимизационных, точных и приближенных.
При изучении объекта исследования конструируется модель, которая является условным отражением его хозяйственной деятельности.
При анализе используются детерминированный анализ и стохастический факторный анализ.
Детерминированный подход направлен на изучение прямых связей между показателями в тех случаях, когда связь между результативным и факторным показателями является функциональной. Например, зависимость между объемом выпущенной продукции, численностью рабочих и их производительностью труда.
Стохастический подход направлен на изучение косвенных связей между исследуемыми показателями. Этот метод исследования используется для углубления, детализации анализа по факторам, по которым нельзя построить прямую детерминированную модель. Например, при изучении влияния на производительность труда уровня образования работников.
31. Методы выявления резервов повышения эффективности работы предприятия
Экономическая сущность резервов увеличения эффективности производства состоит в полном и рациональном использовании всевозрастающего потенциала предприятия для выпуска большего количества высококачественной продукции при наименьших затратах живого и овеществленного труда на единицу продукции.
Резервы повышения эффективности работы предприятия можно рассматривать как общегосударственные, региональные, отраслевые и внутрихозяйственные.
Резервы роста эффективности функционирования предприятия следует изыскивать за счет более эффективного использования предметов труда, средств труда и самого труда, т. е. целесообразной деятельности человека.
По способам выявления резервы делятся на явные — выявляются по материалам бухгалтерского учета, и скрытые — связаны с внедрением достижений НТП и передового опыта.
Резервы выявляются на различных стадиях процесса воспроизводства в процессе конструкторской и технологической подготовки производства (предпроизводственная стадия), непосредственно в производственном процессе и процессе эксплуатации (потребления изделия).
Производственные резервы классифицируются по конечным результатам. Выделяются следующие позиции: рост объемов выпускаемой продукции; совершенствование структуры ассортимента изделия; снижение себестоимости выпускаемой продукции; улучшение ее качества.
По характеру воздействия на результаты производства резервы подразделяются на экстенсивные и интенсивные. К первым относят увеличение количества используемых ресурсов, увеличение времени использования ресурсов, устранение непроизводительного использования ресурсов, ко вторым — совершенствование качественных характеристик используемых ресурсов и процесса их функционирования.
32. Характеристика метода сравнения и его использование в анализе хозяйственной деятельности
Сравнение — это прием, позволяющий выразить характеристику явлений через другие однородные явления. Сравнение присуще каждому экономическому расчету.
При анализе хозяйственной деятельности предприятия отчетные данные сравниваются с такими показателями:
• плановыми;
• данными прошлых периодов;
• нормативными данными, эталоном или лучшими в совокупно -сти;
• со средними данными;
• показателями родственных предприятий или отраслей в стране, регионе или в других странах.
Применение приема сравнения требует обязательного обеспечения сопоставимости сравниваемых показателей по следующим признакам:
1) единство оценки сравниваемых величин (гривни, рубли, доллары);
2) сравнимость календарных сроков (месяц с месяцем, год с годом);
3) устранение влияния различий в объеме и ассортименте выпускаемой (реализуемой) продукции (товарооборота);
4) сезонные колебания;
5) территориальные различия;
6) географические условия;
7) другие признаки.
Обеспечить сопоставимость — значит, привести сравниваемые величины к соразмерному виду и сгладить различия. Сопоставимость — это главное условие сравнения.
В экономическом анализе метод сравнения наиболее часто используют для решения следующих задач:
1. Сопоставление плановых и фактических показателей для оценки степени выполнения плана.
2. Сопоставление фактических показателей с нормативными, что позволяет контролировать затраты и способствует внедрению ресурсосберегающих технологий.
3. Сравнение фактических показателей с показателями прошлых лет для определения тенденций развития экономических процессов.
4. Сопоставление показателей анализируемого предприятия с достижениями науки и передового опыта работы других предприятий для поиска резервов.
5. Сравнение показателей анализируемого предприятия со средними показателями по району, стране, области для оценки достигнутых результатов и определения степени использования резервов.
6. Сопоставление различных вариантов управленческих решений с целью выбора наиболее оптимального из них.
33. Характеристика балансового метода анализа хозяйственной деятельности
Балансовый метод служит в основном для отражения соотношений, пропорций двух групп взаимосвязанных и уравновешенных экономических показателей, результаты которых должны быть тождественными. Этот метод широко используется при анализе обеспеченности предприятия трудовыми, финансовыми ресурсами, сырьем, топливом, материалами, основными средствами производства и т. д., а также при анализе полноты их использования. Например, при анализе обеспеченности предприятия трудовыми ресурсами составляют баланс, в котором, с одной стороны, показывается потребность в трудовых ресурсах, а с другой — фактическое их наличие. При анализе платежеспособности предприятия используется платежный баланс, в котором соотносятся платежные средства с платежными обязательствами.
Как вспомогательное средство балансовый метод используется в анализе хозяйственной деятельности для проверки исходных сведений, на основе которых проводится анализ, а также для проверки правильности собственно аналитических расчетов. Например, этот метод применяется при проверке правильности определения влияния разных факторов на рост результативного показателя. В детерминированном анализе алгебраическая сумма величин влияния отдельных факторов должна соответствовать величине общего изменения результативного показателя. Если такая тождественность отсутствует, то это свидетельствует о неполном учете факторов или ошибках в расчетах.
Балансовый метод может быть использован для построения детерминированных аддитивных моделей. Например, модель обьема реализации товаров построена на основе товарного баланса:
Он + П = Р + В + Ок, Р = Он+П - В - Ок,
где Он, Ок — остаток товаров на начало и конец периода; П — поступление товаров; Р — объем реализации товаров; В — другие направления выбытия товаров.
В некоторых случаях балансовый метод можно использовать для определения степени влияния отдельных факторов на прирост результативного показателя. Например, когда из трех факторов известно влияние двух, то влияние третьего можно определить, отняв от общего прироста результативного показателя результат влияния первых двух факторов.
34. Метод группировки в экономическом анализе
Группировка — это метод экономического исследования, который используется при изучении совокупности (большого количества) качественно однородных явлений.
Группировкой называют выделение среди изучаемых явлений характерных групп по тем или иным признакам (группировочный признак).
Группировка позволяет изучить те или иные экономические явления в их взаимосвязи и взаимозависимости, выявить влияние наиболее существенных факторов, закономерности и тенденции, свойственные этим явлениям и процессам, классифицировать явления и процессы, а также причины и факторы, обусловливающие их.
Группировке всегда предшествует “ранжирование” по избранному признаку. Используя методику статистики, определяют интервалы в группах и рассчитывают средние значения показателей в группах.
В анализе хозяйственной деятельности предприятия наиболее часто используют:
1. Структурные группировки — с их помощью изучают состав комплекса предприятий, структуру выпускаемой ими продукции, состав кадров по профессиям, стажу работы, возрасту, уровень выполнения норм выработки, состав предприятий по степени выполнения плана выпуска продукции, уровню ее себестоимости и т. д. Особенно большое значение имеют структурные группировки при анализе сводной отчетности объединений, министерств, так как они позволяют выявить передовые, средние и отстающие предприятия, определить направления поиска передового опыта, скрытых резервов.
2. Аналитические группировки — применяются для выявления взаимосвязи, взаимозависимости и взаимодействия изучаемых явлений. Более широко метод группировки рассматривается в курсе “Основы статистики”.
35. Характеристика метода элиминирования и его применение в анализе хозяйственной деятельности
Элиминирование в экономическом анализе используется для измерения степени влияния факторов на изучаемый результативный показатель.
Элиминирование — это логический метод, при котором мысленно исключают действие ряда факторов, считая их постоянными величинами, и выделяют какой-либо фактор, считая его переменной величиной. Таким образом, можно определить степень влияния каждого фактора на результативный показатель. При этом отклонение по результативному показателю должно равняться сумме отклонений по отдельным факторам.
Элиминирование подразделяется на такие методы:
• индексный — основан на относительных показателях динамики, пространственных сравнений, выполнения плана, выражающих отношение фактического уровня анализируемого показателя в отчетном периоде к его уровню в базисном периоде. С его помощью можно выявить влияние различных факторов на изменение уровня результативных показателей в мультипликативных и кратных моделях;
• цепных подстановок — используется для расчета влияния факторов во всех типах детерминированных факторных моделей: аддитивных, мультипликативных, кратных и смешанных. Позволяет определить степень влияния отдельных факторов на изменение результативного показателя путем постепенной замены базисной величины каждого факторного показателя в объеме результативного показателя на фактическую величину в отчетном периоде и сравнения значения результативного показателя до замены с его значением после замены;
• метод разниц — применяется для расчета степени влияния факторов на рост результативного показателя в мультипликативных и смешанных моделях. При его использовании степень влияния факторов рассчитывается умножением абсолютного прироста исследуемого фактора на базовую величину факторов, которые находятся справа от него, и на фактическую величину факторов, расположенных слева от него в модели;
• метод корректирующего коэффициента — степень влияния факторов на изменение объема результативного показателя рассчитывается как произведение коэффициента, отражающего изменение данного фактора, на базовую величину результативного показателя. Общий объем изменения результативного показателя определяется суммированием величин влияния отдельных факторов. Однако данный метод имеет существенный недостаток: как правило, суммарный результат влияния факторов не совпадает с величиной изменения результативного показателя, полученной прямым расчетом;
• интегральный метод;
• другие методы.
Применение различных приемов метода элиминирования показано в параграфе 2.3 (“Примеры решения основных типов задач”).
36. Характеристика основных приемов моделирования факторных систем
Модель — упрощенное отражение действительности.
Моделирование — это конструирование модели на основе предварительного изучения объекта и выделения его основных характеристик.
Сначала выполняется теоретический анализ модели (сопоставляются полученные результаты с данными об объекте), а затем модель исследуется и корректируется.
Процесс моделирования включает три этапа:
1. Анализ теоретических закономерностей, присущих изучаемому объекту или явлению. Здесь важно четко сформулировать цель построения модели и выбрать критерий сравнения вариантов решения.
2. Определение методов, с помощью которых будет решаться задача. Здесь важен выбор рационального метода, который обеспечит оптимальную детализацию моделируемой системы, явления или процесса.
3. Расчет и анализ полученных результатов. Критерием достоверности и качества модели является практика, т. е. важно соответствие результатов исследования фактическим данным об объекте.
Моделирование факторной системы основывается на экономических критериях выделения факторов: причинности, достаточной специфичности, самостоятельности существования, возможности учета и количественного измерения факторов.
В комплексном экономическом анализе наиболее часто используются экономико-математические методы моделирования:
• интегральное исчисление;
• графические методы;
• корреляционно -регрессионный анализ;
• линейное, выпуклое, динамическое программирование;
• матричные методы;
• математическая теория игр;
• другие методы.
37. Детерминированное моделирование и анализ факторных систем хозяйственной деятельности
В экономическом анализе различают два подхода к изучению закономерностей в моделируемой хозяйственной деятельности: детерминированный и стохастический.
Детерминированный подход направлен на изучение прямых связей, когда связь между результативным и факторными показателями функциональная, т. е. результативный показатель может быть представлен в виде произведения, частного или алгебраической суммы факторов.
При моделировании детерминированных факторных систем необходимо выполнять ряд требований:
1. Факторы, которые включаются в модель, и сами модели должны реально существовать, а не быть придуманными величинами или явлениями.
2. Построенная факторная система должна иметь познавательную ценность.
3. Все показатели факторной модели должны иметь единицу измерения и необходимую информационную обеспеченность.
4. В факторной модели должна учитываться соразмерность изменений результативного и факторных показателей, а сумма влияния отдельных факторов должна равняться общему приросту результативного показателя.
В детерминированном моделировании выделяют основные типы конечных факторных систем:
1. Аддитивная модель — в ней зависимость результативного показателя от факторов выражается в виде алгебраической суммы:
Р = Зн + П - В - У- Зк,
где Р — реализация (расход) товаров (сырья) за период; Зн, Зк — запасы товаров (сырья) на начало и конец периода; П — поступление товаров (сырья) за анализируемый период; В — выбытие товаров (сырья); У—уценка товаров (сырья).
2. Мультипликативная модель — в ней зависимость результативного показателя от факторов выражается в виде произведения:
V = ЧВ,
где V — объем выпуска продукции; Ч — численность работников; В — объем выпущенной продукции, приходящийся на одного работника в анализируемый период (производительность труда).
3. Кратная модель — в ней зависимость результативного показателя от факторов выражается в виде частного от деления:
ФО = V / ОФ,
где ФО — фондоотдача; V — объем выпуска продукции; ОФ — среднегодовая стоимость основных фондов.
38. Особенности стохастического моделирования факторных систем хозяйственной деятельности
Стохастический анализ направлен на исследование косвенных связей между показателями при анализе хозяйственной деятельности предприятия. Этим методом пользуются для углубления детерминированного анализа по тем факторам, по которым нельзя построить прямую детерминированную модель.
Стохастические зависимости отличаются приблизительностью, неопределенностью. Они проявляются только в среднем по значительному количеству объектов (наблюдений). Здесь каждой величине факторного показателя (аргумента) может соответствовать несколько значений результативного показателя (функции).
Стохастическая связь — это неполная, вероятностная зависимость между показателями, которая проявляется только в массе наблюдений.
Предпосылки стохастического моделирования:
• качественная однородность совокупности объектов относительно изучаемых связей;
• возможность составить совокупность наблюдений, т. е. измерить параметры явлений в разных условиях;
• достаточная численность наблюдений в совокупности;
• выбор оптимального метода, позволяющего выявить количественные параметры связей.
Основные методы стохастического моделирования хозяйственных явлений и процессов:
• оценка связи и корреляции между показателями;
• оценка статистической значимости связей;
• регрессионный анализ;
• выявление параметров периодических колебаний экономических показателей;
• группировка многомерных наблюдений;
• другие методы.
39. Характеристика метода корреляционно-регрессионного анализа
Корреляционно-регрессионный анализ является одним из наиболее распространенных математических методов, используемых в анализе хозяйственной деятельности предприятия. Применение этого метода требует использования программ решения задач на ЭВМ, так как корреляционно-регрессионный анализ требует большого количества трудоемких расчетов и большой подготовительной работы.
Корреляционно-регрессионный анализ применяется в тех случаях, когда между анализируемыми показателями нет строгой зависимости и полного соответствия, т. е. нет функциональной зависимости.
Корреляционный анализ основывается на массовости (не меньше 20 пар наблюдений) данных, так как малое количество наблюдений не позволяет обнаружить закономерность связи.
Благодаря корреляционному анализу можно решить две задачи:
1. Изучается теснота связи между исследуемыми показателями.
2. Количественно измеряется степень влияния анализируемого фактора на исследуемый показатель, т. е. проявляется характер связи.
Теснота связи между двумя показателями измеряется путем определения специального коэффициента корреляции (при прямой зависимости) или корреляционного отношения (при криволинейной зависимости).
В процессе корреляционно-регрессионного анализа рассчитывается ряд основных параметров. Их характеристика и оптимальные значения приведены в табл. 36.
Конечные результаты корреляционно-регрессионного анализа
|
Таблица 36 |
|
Параметр |
Характеристика |
Оптимальное
значение |
|
і |
2 |
3 |
|
Объем выборки |
Количество данных по фактору. Применяется для установления тенденций изменения фактора |
Не менее чем в 3-5 раз больше
количества
факторов |
Коэффициент
вариации |
Уровень отклонения значений факторов от средней анализируемой совокупности |
Меньше 33 % |
|
Коэффициент парной корреляции |
Характеризует тесноту связи между i-м фактором и функцией. Применяется для отбора факторов |
Больше 0,1 |
|
Коэффициент частной корреляции |
Характеризует тесноту связи между факторами. Применяется для отбора факторов |
Чем меньше, тем лучше
модель |
Коэффициент
множественной
корреляции |
Характеризует тесноту связи одновременно между всеми факторами и функцией. Применяется для выбора модели |
Больше 0,7 |
Коэффициент
множественной
детерминации |
Характеризует степень влияния на функцию включенных в модель факторов. Равен квадрату коэффициента множественной корреляции |
Больше 0,5 |
Коэффициент
асимметрии |
Характеризует степень отклонения фактического распределения случайных наблюдений от нормального по центру распределения. Применяется для проверки нормальности распределения |
Метод наименьших квадратов
может применяться при коэффициенте асимметрии меньше 3,0 |
Коэффициент
эксцесса |
Характеризует плосковершинность распределения случайных наблюдений от нормального по центру распределения. Применяется для проверки нормальности распределения функции |
Меньше 3,0 |
|
|
1 |
2 |
3 |
Критерий
Фишера |
Характеризует значимость уравнения регрессии. Применяется для выбора моделей |
Должен быть больше табличного значения,
установленного
для различных
размеров
матрицы и вероятностей |
Критерий
Стьюдента |
Характеризует существенность факторов, входящих в модель. Применяется для выбора модели |
Больше 2,0 (при вероятности, равной 0,95) |
|
Среднеквадратическая ошибка коэффициента регрессии |
Характеризует точность полученных коэффициентов регрессии. Применяется для оценки коэффициентов регрессии |
В два и более раза меньше
соответствующего коэффициента регрессии |
|
Ошибка аппроксимации |
Характеризует допуск прогноза или степень несоответствия эмпирической зависимости теоретической. Применяется для оценки точности модели |
Меньше (точнее) 15 % |
Коэффициент
эластичности |
Показывает, на сколько процентов изменяется функция при изменении соответствующего фактора на 1 %. Применяется для ранжирования факторов по их значимости |
Больше 0,01 |
40. Характеристика методов линейного программирования
Линейное программирование — это наука о методах нахождения экстремальных значений линейной функции, на неизвестные которой наложены линейные ограничения.
Методы линейного программирования применяются для решения задач оптимизации математических моделей различных экономических систем. Эти задачи имеют множество альтернативных вариантов решений и определенные ограничения.
Общий вид задачи, которая решается с помощью методов линейного программирования:
1. Целевая функция — это параметр оптимизации, который характеризует степень достижения цели системы, выраженный линейной зависимостью
F(X.) = C1X1 + C2X2 +...+ C X ^ max или min,
у j 1 1 2 2 n n ’
где Cj (j = 1, n) — константы, характеризующие параметры системы, которые определяют степень влияния переменных на значение параметра оптимизации; X. — переменные системы, значение которых можно изменять для оптимизации системы.
Пределы изменения переменных определяются внешними факторами и параметрами системы и отражаются системой ограничений.
2. Система ограничений — совокупность всех ограничений, выраженных линейными уравнениями и неравенствами, которые накладываются на переменные системы:
A11X1 + A12X2 + A13X3 +-+ A1nXn = > < B1
A21X1 + A22X2 + A23X3 +•••+ A2nXn = > < B2
Am1X1 + Am2X2 + Am3X3 +•••+ AmnXn = > < Bm,
Xj = >0, j = 1, n,
где A j, Bt (j = 1, n; i = 1, m) — константы, характеризующие внешние факторы и параметры системы.
3. Допустимый план решения задачи — совокупность значений переменных Xj, которые удовлетворяют систему неравенств.
4. Область определения задачи — совокупность всех допустимых планов задачи.
5. Оптимальный план — это такой допустимый план, при котором целевая функция достигает своего экстремального значения (максимума или минимума в зависимости от целей системы). Оптимальный план является решением задачи. Найти оптимальный план — значит решить задачу. Целью применения методов линейного программирования как раз и является нахождение оптимального плана.
Таким образом, методы линейного программирования позволяют выбрать из множества альтернативных решений оптимальное, которое обеспечивает максимальное достижение цели системы.
Основные типы задач, которые решаются с помощью методов линейного программирования:
• задачи оптимального распределения ресурсов;
• задачи определения оптимальных питательных рационов;
• транспортная задача.
Методы линейного программирования более широко рассматриваются в курсах “Математическое программирование” и “Исследование операций и методы оптимизации”.
41. Характеристика метода решения транспортной задачи
Транспортная задача — это нахождение такого плана перевозок груза от поставщиков к потребителям, при котором транспортные издержки будут минимальными.
Метод решения транспортной задачи рассмотрим на следующем примере.
Задача. Четыре предприятия для производства своей продукции получают сырье от трех поставщиков. Запасы сырья у поставщиков: у 1-го — 160 ед., у 2-го — 140, у 3-го — 170 ед. Потребности предприятий в сырье: 1-е — 120 ед., 2-е — 50, 3-е — 190, 4-е — 110 ед. Тарифы перевозок сырья от поставщиков к предприятиям представлены в табл. 37.
Таблица 37
Тарифы перевозок сырья от поставщиков к предприятиям, грн. |
|
|
Предприятие 1 |
Предприятие 2 |
Предприятие 3 |
Предприятие 4 |
|
Поставщик 1 |
7 |
8 |
1 |
2 |
|
Поставщик 2 |
4 |
5 |
9 |
8 |
|
Поставщик 3 |
9 |
2 |
3 |
6 |
|
Необходимо найти такой план перевозок, при котором общая сумма транспортных издержек будет минимальной.
Решение. Сначала проверим, является ли данная транспортная задача открытой или закрытой. Для этого сравниваем сумму потребностей предприятий с суммой возможностей поставщиков. Если суммы равны, то задача является закрытой, если же нет, то открытой. Открытую задачу необходимо привести к закрытой. Для этого в случае превышения возможностей поставщиков над потребностями предприятий вводят фиктивное предприятие, потребность которого равна разнице сумм возможностей поставщиков и потребностей предприятий, тариф перевозок от поставщиков к фиктивному предприятию принимают равным m (m = 1000000), а в случае превышения потребностей предприятий над возможностями поставщиков вводят фиктивного поставщика, возможность которого равна разнице сумм потребностей предприятий и возможностей поставщиков, тариф перевозок от фиктивного поставщика к предприятиям принимают равным нулю. В нашем примере задача является закрытой (160 + 140 + 170 = 120 + 50 + 190 + + 110 = 470). Затем решают задачу по следующему алгоритму:
1. Составляют математическую модель задачи: целевую функцию и систему ограничений.
2. Методом северо-западного угла или минимального тарифа находят первоначальный план перевозок.
3. Распределительным методом или методом потенциалов находят оптимальный план перевозок.
В результате решения задачи получаем оптимальный план перевозок сырья (табл. 38).
Таблица 38
|
Оптимальный план перевозок сырья, ед. |
|
|
Предприятие 1 |
Предприятие 2 |
Предприятие 3 |
Предприятие 4 |
|
Поставщик 1 |
|
|
50 |
110 |
|
Поставщик 2 |
120 |
20 |
|
|
|
Поставщик 3 |
|
30 |
140 |
|
|
Цифры показывают, какое количество сырья поставляется от соответствующего поставщика соответствующему предприятию.
При таком плане перевозок сырья транспортные издержки будут минимальными:
F(X)mm = 50-1 + 110-2 + 120-4 + 20-5 + 30-2 + 140-3 = 1330 (грн.).
На практике транспортная задача, как правило, решается с применением ЭВМ.
Методы решения транспортной задачи более широко рассматриваются в курсах “Математическое программирование” и “Исследование операций и методы оптимизации”.
42. Характеристика методов динамического программирования
Методы динамического программирования применяются при решении оптимизационных задач, в которых целевая функция или ограничения, или же первое и второе одновременно, характеризуются нелинейными зависимостями. Примерами нелинейных зависимостей могут быть: зависимость экономической эффективности деятельности предприятия от масштабов производства; зависимость затрат на производство партии деталей от количества изделий в партии и др.
Использование в экономическом анализе методов динамического программирования рассмотрим на следующем примере.
Задача. Инвестор планирует вложить 7 тыс. грн в акции трех предприятий. Стоимость акций предприятий: 1-го — 3 тыс. грн, 2-го — 2 тыс. грн, 3-го — 1 тыс. грн. Прибыль от акций предприятий: 1-го — 7 тыс. грн, 2-го — 5 тыс. грн, 3-го — 2 тыс. грн.
Необходимо найти такой план вложения средств, при котором прибыль будет максимальной.
Решение. Составим математическую модель задачи:
Xj (j = 1,3) — количество акций j-го предприятия;
F(X) = 7Xj + 5X2 + 2X3 ^ max — сумма прибыли.
Система ограничений:
3Xj + 2X2 + X3 ^ 7;
Xj ^ 0, j = 1,3;
Xje Z, j = 1,3.
Решение задачи разбивается на три этапа, на каждом из которых соответственно определяется максимальная прибыль от вложения средств в акции 1-го предприятия; 1-го и 2-го, а затем 1-го, 2-го и 3-го предприятий. Для этого используем следующее рекуррентное соотношение:
fn(Z = max[XnCn + fn (Z) - f(Z - ХДД 0 ^ Xn ^ [Z/An]
где fn(Z) — максимальная прибыль от вложения Z средств в акции 1-го, 2-го,..., n-го предприятий; Xn — количество акций n-го предприятия; Cn — прибыль от акций n-го предприятия; An — стоимость акций n-го предприятия; fn-1(Z - XnAn) — максимальная прибыль от вложения Z - XnA средств в акции 1-го, 2-го,., n-1-го предприятий.
Первый этап. Рассчитаем значения функцииfx(Z) для разных значений Z:
fj(Z) = max 7Xp 0 ^ X1 ^ [Z/3].
Результаты расчетов приведены в табл. 39.
|
Результаты расчетов функции /j(Z) |
|
Z |
0 |
1 |
2 |
3 |
4 |
5 |
6 |
7 |
|
X1 |
0 |
0 |
0 |
1 |
1 |
1 |
2 |
2 |
|
f(Z) |
0 |
0 |
0 |
7 |
7 |
7 |
14 |
14 |
|
Второй этап. Рассчитаем значения функции f2(Z) для разных значений Z:
f2(Z) = max[5X2 + f1(Z -2X2)], 0 ^ X2 ^ [Z/2].
Результаты расчетов приведены в табл. 40.
Результаты расчетов функции f2(Z)
Таблица 40 |
|
Z |
0 |
1 |
2 |
3 |
4 |
5 |
6 |
7 |
|
X2 |
0 |
0 |
1 |
0 |
2 |
1 |
3 |
2 |
|
f(Z) |
0 |
0 |
5 |
7 |
10 |
12 |
15 |
17 |
|
Третий этап. Поскольку данный этап является завершающим, рассчитаем значения функции f3(Z) для значения Z = 7:
f3(7) = max[2X3 + f2(7 - Х3)], 0 ^ X3^ [7/1].
В табл. 41 представлены значения функции f3(7) при разных значениях X3. Необходимо выбрать максимальное значение f3(7) и таким образом определить X3.
Таблица 41
Выбор величины Х3 при известных значениях /3(7) |
|
X3 |
0 |
1 |
2 |
3 |
4 |
5 |
6 |
7 |
|
fa(7) |
17 |
17 |
16 |
16 |
15 |
15 |
12 |
14 |
|
Максимальная прибыль от вложения 7 тыс. грн в акции 1-3-го предприятий будет равна 17 тыс. грн, при этом возможны два значения X3. Это значит, что существует два оптимальных плана вложения средств.
Результаты расчетов каждого этапа приведены в обобщающей таблице (табл. 42).
Таблица 42
|
Обобщающая таблица расчетов |
|
Z |
f,(Z) |
Х. |
f2(Z ) |
Х2 |
fa(Z) |
Х3 |
|
0 |
0 |
0 |
0 |
0 |
|
|
|
1 |
0 |
0 |
0 |
0 |
|
|
|
2 |
0 |
0 |
5 |
1 |
|
|
|
3 |
7 |
1 |
7 |
0 |
|
|
|
4 |
7 |
1 |
10 |
2 |
|
|
|
5 |
7 |
1 |
12 |
1 |
|
|
|
6 |
14 |
2 |
15 |
3 |
|
|
|
7 |
14 |
2 |
17 |
2 |
17 |
0 или 1 |
|
Найдем оптимальный план вложения средств при Х3 = 0. При этом 7 - 0-3 = 7 тыс. грн вкладываются в акции 1-го и 2-го предприятий; f2(7) = 17 при Х2 = 2, тогда 7 - 2-2 = 3 тыс. грн вкладываются в акции 1-го предприятия; f1(3) = 7 при Xj = 1. Таким образом, получаем следующий оптимальный план вложения средств:
1 акция 1-го предприятия;
2 акции 2-го предприятия;
3 акции 3-го предприятия.
Найдем оптимальный план вложения средств при X3 = 1. При этом 7 - 1 = 6 тыс. грн вкладываются в акции 1-го и 2-го предприятий; f2(6) = = 15 при Х2 = 3, тогда 6 - 3-2 = 0 тыс. грн вкладываются в акции 1-го предприятия; f1(0) = 0 при Х1 = 0. Таким образом, получаем следующий оптимальный план вложения средств:
0 акций 1-го предприятия;
1 акция 2-го предприятия;
2 акции 3-го предприятия.
Таким образом, методы динамического программирования позволяют выбрать из множества альтернативных решений оптимальное, которое обеспечивает максимальное достижение поставленной цели.
Методы динамического программирования более широко рассматриваются в курсе “Исследование операций и методы оптимизации”.
43. Характеристика теории массового обслуживания и область ее применения
Теория массового обслуживания впервые применялась в телефонии, а затем в таких областях хозяйственной деятельности, как транспорт, сфера услуг, торговля и т. д.
Сущность теории массового обслуживания состоит в том, что на основе теории вероятностей разрабатывается оценка качества функционирования системы массового обслуживания (например, можно оценить работу системы кассовых аппаратов в торговом центре или магазине).
Общая постановка задачи массового обслуживания.
Имеется некоторая система, предназначенная для обслуживания поступающих в нее заявок или требований. Система располагает определенным количеством рабочих мест или средств обслуживания (каналы обслуживания). Поступление требований в систему и время их обслуживания носят случайный характер. При этом в системе возникают ситуации, когда:
1) либо образуется очередь требований в ожидании обслуживания;
2) либо простаивают каналы обслуживания.
И то и другое приводит к увеличению издержек обслуживания. Чтобы не допустить неоправданного увеличения издержек, можно:
1) изменить среднее количество требований, поступающих в систему в единицу времени;
2) изменить количество каналов обслуживания;
3) изменить оба параметра.
Для того чтобы осуществить эти действия с максимальной эффективностью, необходимо изучить элементы системы массового обслуживания.
Системы массового обслуживания состоят из следующих элементов:
• входящего потока требований;
• каналов обслуживания;
• очереди требований;
• выходящего потока требований.
Тип системы массового обслуживания определяется:
1. Характеристикой входящего потока (последовательность, с которой требования поступают в систему).
2. Характером распределения времени обслуживания требований.
3. Количеством каналов обслуживания.
4. Порядком образования очереди требований и дисциплиной очередей (порядок поступления требований из очереди на обслуживание).
5. Характеристикой выходящего потока (учитывается в тех случаях, когда он образует входящий поток для другой системы).
Основные типы систем массового обслуживания:
1. Системы с отказами (потерями) — когда все каналы системы обслуживания заняты, очередь требований не формируется.
2. Системы с о жиданием:
• системы с неограниченным ожиданием;
• системы с ограниченным ожиданием (ожидание может быть ограничено временем ожидания в очереди, количеством требований в очереди и т. д.);
• системы с неограниченным количеством требований;
• системы с ограниченным количеством требований.
Задачи массового обслуживания рассматриваются для действующих и проектируемых систем.
Для действующих систем дают количественную оценку функционирования системы и ее отдельных элементов, на основании которой принимают решения, направленные на совершенствование работы системы и улучшение ее организации.
Для проектируемых систем определяют ее оптимальные качественные и количественные характеристики:
1. Оптимальное количество каналов обслуживания.
2. Вероятность возникновения нежелательных ситуаций (простой каналов обслуживания, простой требований в очереди).
Теория систем массового обслуживания более широко рассматривается в курсе “Исследование операций и методы оптимизации”.
44. Характеристика этапов анализа основных показателей эффективности производства
При всем многообразии показателей хозяйственной деятельности их можно разделить на две основные группы:
• оценочные показатели — прибыль, доход (выручка от реализации продукции, товаров, работ, услуг) и др.;
• показатели затрат на осуществление хозяйственной деятельности (единовременные и текущие затраты).
Цель анализа — оценка достигнутых за отчетный период результатов (прибыли, дохода) и сравнение их с показателями затрат производства с целью поиска резервов повышения прибыли, реализации и уменьшения затрат производства.
В странах рыночной экономики среди оценочных показателей хозяйственной деятельности выделяют девять наиболее важных показателей:
• оборот компании;
• валовая прибыль;
• условно чистая прибыль;
• условно чистая продукция;
• прибыль после уплаты процентов по займам и кредитам;
• прибыль после уплаты налогов;
• прибыль после выплаты всех дополнительных платежей;
• ликвидность после осуществления новых капиталовложений в развитие производства;
• ликвидность после уплаты дивидендов.
Сначала определяется размер оборота предприятия или компании. Этот показатель определяется как общий объем продаж, т. е. стоимость товаров и услуг, реализованных потребителям. При его измерении важен период, за который он подсчитывается, так как этот показатель подвержен сильному влиянию инфляционных процессов.
Отношение объема продаж к сумме активов характеризует эффективность использования всех имеющихся в распоряжении фирмы средств; отношение объема продаж к основному капиталу характеризует эффективность использования средств, вложенных в основной капитал. Рост этих показателей означает повышение эффективности деятельности фирмы либо отражает инфляционный рост цен.
Отношение объема продаж к оборотным активам показывает, сколько оборотов сделал оборотный капитал за исследуемый период. Чем больше оборотов, тем активнее коммерческая деятельность фирмы, тем меньше средств требуется ей для ведения текущих операций.
Отношение объема продаж к материально-производственным запасам отражает количество оборотов последних в течение исследуемого периода. Снижение этого показателя может свидетельствовать о затоваренности готовой продукцией или о перебоях со сбытом готовой продукции.
Если из выручки от реализации готовой продукции вычесть сумму всех переменных затрат, получим валовую прибыль.
На основе этого показателя рассчитываются различные коэффициенты рентабельности: коэффициент валовой прибыли (отношение валовой прибыли к сумме продажи); отношение чистой прибыли к объему продаж (показывает, сколько прибыли получило предприятие с каждой денежной единицы реализованной им продукции); отношение чистой прибыли к сумме активов.
Основным направлением анализа является поиск резервов роста перечисленных выше показателей.
45. Методика анализа организационно-технического уровня и качества продукции
Качество продукции — важнейший показатель деятельности предприятия.
Целью анализа организационно-технического уровня и качества продукции является поиск резервов повышения качества продукции, что в значительной мере определяет выживаемость предприятия в условиях рыночной экономики.
Начинают анализ с предварительного обзора — определяют роль и место изучаемого предприятия в регионе. Роль и место предприятия определяют по виду, объему и качеству выпускаемой продукции или услуги, по эффективности ее применения, ее значении в обеспечении населения.
Общий обзор предприятия дает возможность, не вникая во внутренние связи и содержание показателей, охарактеризовать его деятельность и качество выпускаемой им продукции (услуги).
Результаты и эффективность деятельности предприятия определяются его организационно-техническим уровнем, который зависит от множества факторов. Среди них основные такие:
1. Уровень научно-исследовательских и опытно-конструкторских работ.
2. Организация системы управления.
3. Внедрение прогрессивной техники и технологии, методов организации производства и труда.
4. Компьютеризация и автоматизация производства и управления.
Методика анализа организационно-технического уровня требует разработки системы аналитических показателей, характеризующих перечисленные факторы.
Все показатели можно разделить на три группы:
• Показатели организационно-технического уровня производства (научно-технического уровня производства и управления; организации производства и труда и т. д.).
• Показатели экономической эффективности и ее совершенствования (фондоотдача и фондоемкость, производительность труда, материалоемкость, уровень себестоимости, фондовооруженность труда, качество продукции, рентабельность выпускаемой продукции и т. д.).
• Показатели уровня управления (структура аппарата управления, степень централизации функций управления, уровень технической оснащенности инженерного и управленческого труда, коэффициент эффективности производства, уровень социального развития кадров и т. д.).
Для эффективного проведения анализа все показатели необходимо рассматривать в динамике и во взаимосвязи. Влияние изменения факторов, определяющих организационно-технический уровень предприятия, на основные экономические показатели деятельности предприятия изучается с помощью методов корреляционно-регрессионного и дисперсионного анализа.
46. Методика анализа объема производства (услуг)
и выпуска продукции как источника дохода предприятия
Как правило, анализ работы производственного предприятия начинают с изучения показателей объема производства и выпуска продукции. Изменение этих показателей влияет на величину дохода от реализации продукции (товаров, работ, услуг), затрат, прибыли и показателей рентабельности предприятия, т. е. на экономическую эффективность его деятельности.
Объем производства продукции (услуг) может выражаться в натуральных, условно-натуральных и стоимостных измерителях. Основными показателями объема производства являются товарная и валовая продукция, а выпуска продукции — готовая и товарная продукция.
Основные задачи экономического анализа объема производства (услуг) и выпуска продукции:
1. Оценка динамики по основным показателям объема, структуры и качества продукции (услуг).
2. Проверка сбалансированности и оптимальности планов, плановых показателей, их напряженности и реальности.
3. Выявление степени влияния основных факторов на показатели объема производства и реализации продукции (услуг).
4. Разработка важнейших мероприятий по использованию внутрихозяйственных резервов для повышения темпов прироста продукции (услуг), улучшения ее ассортимента и качества.
Основные объекты анализа:
• объем производства и реализации продукции (услуг) в целом и в разрезе ассортимента;
• качество и структура товарной продукции и представленных услуг;
• ритмичность производства и выпуска товарной продукции.
В процессе анализа устанавливается равномерность выполнения плана выпуска продукции (услуг) в целом по предприятию, по отдельным подразделениям и отдельным изделиям (услугам).
Проводится факторный анализ объема производства (услуг). На изменение объема выпуска продукции влияют как внешние факторы, так и внутренние. К основным относятся факторы, связанные с товарно-сырьевым и материально-техническим обеспечением, эффективностью использования основных фондов и трудовых ресурсов, а также с цено образов анием.
Определяется уровень качества произведенной продукции, выявляются потери от брака и причины снижения качества продукции.
Рассчитываются коэффициенты ритмичности производства, а также величина упущенных резервов роста выпуска продукции в связи с неритмичной работой предприятия.
47. Методика анализа себестоимости продукции и факторов, которые ее обусловливают
Цель анализа себестоимости продукции — поиск возможностей снижения (оптимизации) затрат и способа управления, при котором руководитель хозяйствующего субъекта может использовать эти возможности для увеличения прибыли предприятия. Важнейшими путями снижения себестоимости продукции (операционных затрат) является экономия всех видов ресурсов, потребляемых в производстве.
Анализ себестоимости продукции состоит:
• из изучения общего уровня себестоимости и факторов, определяющих размер всех или большинства элементов затрат;
• анализа отдельных видов затрат с целью выявления резервов экономии по отдельным элементам затрат.
На себестоимость влияют различные факторы, которые можно объединить в две группы:
• внешние факторы, отражающие общий уровень развития экономики и не зависящие от деятельности субъекта. Влияние этой группы факторов проявляется в уровне цен на сырье, материалы, товары и др.;
• внутренние факторы, непосредственно связанные с результатами деятельности хозяйствующего субъекта, с его предпринимательской активностью, — объем выпуска и реализации продукции, форма и система оплаты труда и др.
На уровень себестоимости существенно влияет выручка от реализации продукции. Все затраты по отношению к объему выручки можно разделить на две группы: условно-постоянные и переменные.
Условно-постоянные затраты — это затраты, сумма которых не изменяется при изменении выручки от реализации продукции. Это арендная плата, амортизация основных фондов, износ малоценных и быстроизнашивающихся предметов и т. д.
Переменные затраты — это затраты, сумма которых изменяется пропорционально изменению объема выручки от реализации продукции. Это расходы на сырье, транспортные расходы, на оплату труда рабочих основного производства, топливо, газ и т. д.
Деление затрат на условно-постоянные и переменные позволяет вывести зависимость между выручкой от реализации продукции, себестоимостью и размером прибыли от реализации продукции.
Общий анализ себестоимости проводится путем расчета следующих показателей:
1. Общая себестоимость — сумма затрат по отдельным статьям.
2. Уровень себестоимости — отношение общей себестоимости к объему выпущенной продукции.
3. Абсолютная сумма экономии или перерасхода — разница между фактической и плановой суммой затрат.
4. Изменение уровня себестоимости — разница между фактическим и плановым уровнями себестоимости.
5. Темп изменения уровня себестоимости — отношение изменения уровня себестоимости к базисному (плановому) уровню себестоимости.
6. Индекс уровня себестоимости.
7. Относительная экономия или перерасход по себестоимости.
Методика анализа состоит в сопоставлении фактических показателей с плановыми величинами и данными за предыдущие периоды.
48. Задачи анализа затрат на производство продукции
Важным показателем, характеризующим работу предприятий, является себестоимость продукции. От ее уровня зависят финансовые результаты деятельности предприятий, темпы расширенного воспроизводства, финансовое состояние хозяйствующих субъектов.
Анализ затрат на производство продукции имеет исключительно важное значение, поскольку себестоимость продукции определяется затратами всех видов ресурсов: основных фондов, сырья, материалов, топлива и энергии, труда, используемых непосредственно в процессе изготовления продукции и выполнения работ, а также для сохранения и улучшения условий производства и его совершенствования. Этот анализ позволяет выяснить тенденции изменения данного показателя, сравнить фактические данные с плановыми, определить влияние различных видов затрат на изменение данного показателя и на этой основе оценить работу предприятия и установить резервы снижения себестоимости продукции.
Целью анализа затрат на производство продукции является поиск возможностей снижения ее себестоимости и способа управления, при котором руководитель хозяйствующего субъекта может использовать эти возможности для увеличения прибыли предприятия.
Задачи анализа затрат на производство продукции:
1. Оценка обоснованности и напряженности плана по себестоимости продукции, издержкам производства и обращения на основе анализа затрат.
2. Установление динамики и степени выполнения плана по себестоимости, причин отклонения фактических затрат от плановых.
3. Определение факторов, повлиявших на динамику показателей себестоимости и выполнения плана по ним, величины и причины отклонений фактических затрат от плановых.
4. Анализ себестоимости продукции по элементам и отдельным видам (статьям) затрат.
5. Анализ себестоимости отдельных видов продукции.
6. Выявление резервов дальнейшего снижения себестоимости продукции.
Основным целевым направлением анализа затрат на производство продукции является поиск резервов повышения эффективности использования материальных, трудовых, денежных ресурсов в процессе производства и сбыта продукции. Изучение затрат на производство продукции позволяет правильно оценить показатели прибыли и рентабельности предприятия.
49. Методика анализа использования материальных ресурсов
Анализ использования материальных ресурсов начинают с изучения снабженческой деятельности, т. е. определяют уровень выполнения плана и динамику снабжения по количеству материалов, их качеству, видам, срокам поставки.
В процессе анализа по основным видам материальных ресурсов определяют показатель обеспеченности ими предприятия как отношение фактически поступивших материалов данной группы к потребности в них.
При определении уровня обеспеченности выявляют сверхнормативные и дефицитные запасы в натуральном и стоимостном выражении. Он рассчитывается как отношение остатка изучаемого вида материала к среднегодовому его расходу в производстве.
Сопоставление данных об уровне обеспеченности запасами с нормами позволяет установить по каждому виду материалов излишек или недостаток. Для оценки обеспеченности предприятия материальными ресурсами необходимо изучать:
• откуда поступают материалы;
• величину партии;
• интервалы поставок;
• продолжительность транспортировки;
• величину оптимального страхового запаса.
Эти показатели необходимы не только для оценивания организации снабжения, но и для установления нормативов запасов на будущее.
На следующем этапе анализа изучают рациональность использования материальных ресурсов. Для этого используют показатели материалоемкости и материалоотдачи.
Материалоемкость характеризует расход определенного материала на изготовление конкретного изделия и определяется как отношение стоимости израсходованных материалов к стоимости изготовленного продукта.
Материалоотдача — это отношение стоимости выпущенной продукции к стоимости затраченных материалов.
При анализе также определяется относительная экономия материальных затрат — разница между фактическими затратами предметов труда и произведением плановых затрат на индекс выполнения плана по товарной продукции.
Показателями эффективности использования материалов являются данные о выходе годной продукции и коэффициент использования материалов.
Отношение чистого веса изделия к фактически израсходованному материалу характеризует коэффициент использования материалов.
В конце анализа определяют возможные резервы увеличения выпуска продукции за счет более рационального и эффективного использования материальных ресурсов.
50. Анализ труда и его оплаты на предприятиях разных форм собственности
На каждом предприятии большое значение имеет анализ труда, в процессе которого следует осуществлять систематический контроль за использованием фонда оплаты труда (ФОТ), выявлять возможности экономии средств за счет роста производительности труда и снижения трудоемкости продукции. Уровень производительности труда выражается показателями валовой товарной или чистой продукции, приходящейся на одного работника в единицу времени, или показателями трудоемкости в единицу времени.
Эффективность использования труда характеризуется такими показателями:
• обеспеченность предприятия трудовыми ресурсами;
• использование трудовых ресурсов;
• производительность труда;
• темпы роста производительности труда;
• фондовооруженность труда;
• доля прироста чистой или товарной продукции за счет повышения производительности труда;
• показатель экономии живого труда.
Интенсивность труда характеризуется количеством труда, затраченным в единицу времени, квалификацией труда, уровнем механизации и автоматизации.
Средства на оплату труда отражаются в составе себестоимости, а также частично формируются из прибыли, остающейся в распоряжении предприятия.
Приступая к анализу использования фонда оплаты труда, в первую очередь необходимо рассчитать абсолютное и относительное отклонение фактической величины от плановой. Далее необходимо определить факторы абсолютного и относительного отклонения по фонду оплаты труда. Затем следует проанализировать причины изменения постоянной части фонда оплаты труда. В процессе анализа следует установить соответствие между темпами роста средней заработной платы и производительности труда.
Этапы проведения анализа оплаты труда:
• изучение обоснованности средств на оплату труда в целом и по категориям работающих;
• изучение выполнения плана ФОТ;
• определения наличия относительной экономии или перерасхода ФОТ;
• определение состава ФОТ и причины его изменения (изменение численности работающих, изменение средней заработной платы).
Структура средств, направленных на оплату труда (доля, включаемая в состав себестоимости и формируемая из прибыли), различается в зависимости от формы стоимости.
51. Классификация и характеристика резервов повышения эффективности труда работников предприятия
Одной из задач экономического анализа является выявление, изучение и использование резервов повышения эффективности хозяйственной деятельности.
Одной из составляющих, обеспечивающих эффективную хозяйственную деятельность, является эффективность труда работников предприятия. Эффективность труда проявляется в его производительности и качестве. Производительность труда — это выработка товаров или услуг в единицу времени, приходящаяся на одного среднесписочного работника. Резервы повышения эффективности труда можно классифицировать таким образом:
1. Совершенствование организации производства, труда и управления:
• улучшение организации производства и внедрение научной организации труда;
• улучшение использования рабочего времени;
• уменьшение невыходов и сокращение внутрисменных простоев.
2. Повышение технического уровня производства:
• создание новых рабочих мест;
• модернизация производства.
3. Рациональная организация рабочих мест, совмещение профессий.
4. Оптимальное соотношение основных и вспомогательных работников.
5. Снижение трудоемкости выпускаемой продукции, предоставляемых услуг.
6. Повышение квалификации работников и организация оплаты труда.
Взаимосвязь факторов, определяющих эффективность труда работников предприятия, можно проследить по рис. 31.
52. Методика анализа использования трудовых ресурсов
Трудовые ресурсы на предприятии — это объект постоянной заботы со стороны руководства предприятием. Роль трудовых ресурсов существенно возрастает в период рыночных отношений.
Цель анализа использования трудовых ресурсов — поиск резервов повышения производительности труда работников, определение оптимальной численности работников на предприятии, структуры кадров и рациональной загруженности работников предприятия.
Для определения оптимальной численности работников на предприятии рассчитывают следующие коэффициенты:
1. Удельный вес каждой категории работников (Dp,) в общей среднесписочной численности персонала предприятия (P):
Dp = p / P, или Dp = (P -100)/ Р,
где Pt — среднесписочная численность работников i-й категории, чел.
 |
|
Рис. 31. Взаимосвязь факторов, определяющих эффективность труда работников предприятия |
2. Коэффициент выбытия кадров (К ):
к — р / р ^в.к г ув 1 г >
где Рув — количество работников, уволенных по разным причинам за данный период.
3. Коэффициент приема кадров (К ):
К = Р / Р
где Рп — количество принятых на работу за данный период.
4. Коэффициент общего оборота кадров (Коб):
Коб = (Рув.с + Рп )/ Р>
где Рув с — количество уволившихся с предприятия по собственному желанию, а также из-за нарушения трудовой дисциплины за отчетный период, чел.; Рп — количество вновь принятых за отчетный период работников, чел.; Р — среднесписочная численность работающих на данном предприятии в период, предшествующий отчетному, чел.
5. Коэффициент стабильности кадров (К ):
Кс.к = 1 — К об •
6. Коэффициент текучести кадров (Кт к):
Кт.к = Рув.н / Р,
где Рув н — количество уволенных работников по негативным причинам.
Анализ трудовых ресурсов начинается с изучения обеспеченности предприятия рабочей силой. Для этого анализируют состав и структуру работников по численности. Сопоставление данных по численности по различным категориям дает представление о степени обоснованности количественного соотношения между ними.
Важным направлением анализа является также оценка уровня квалификации рабочей силы. Уровень квалификации характеризуется:
• у рабочих — тарифными разрядами и средним тарифным разрядом по предприятию;
• у инженерно-технических работников (ИТР) — образованием и стажем.
Изучают также движение рабочей силы по ранее перечисленным показателям.
Качественным показателем, характеризующим использование рабочей силы, является уровень производительности труда. Об эффективности использования труда принято судить по следующим показателям: темп роста производительности труда; фондовооруженность и ее изменение; доля прироста чистой или товарной продукции за счет роста производительности труда; показатель экономии живого труда и др.
Средняя выработка на одного работающего зависит от соотношения работающих и производительности труда одного рабочего. Влияние этого фактора определяют с помощью удлинения модели и метода цепной подстановки.
Интенсивность труда характеризуется количеством труда, затраченного в единицу времени, квалификацией труда, а также уровнем механизации и автоматизации производства.
Кадровый потенциал играет главную роль в решении научно-технических организационных и экономических задач по достижению запланированных результатов хозяйствования. Уровень обеспеченности предприятия рабочей силой и ее рациональное использование в значительной мере определяют организационно-технический уровень производства, характеризуют степень использования техники и технологии, предметов труда, обеспечивают высокую конкурентоспособность и финансовую стабильность предприятия.
53. Методика анализа производительности (продуктивности) труда и заработной платы
Для правильной организации труда на предприятии необходимо знать, какое количество труда требуется для выполнения той или иной работы.
Цель анализа производительности (продуктивности) труда — установление оптимальной меры труда каждого работника и соответствующей его оплаты, а также поиск резервов повышения производительности труда.
Для этого исследуют трудовой процесс путем расчленения его на составляющие; изучают все факторы, влияющие на затраты труда; проектируют более совершенный состав операций и методы их выполнения; разрабатывают мероприятия по улучшению обслуживания рабочего места; рассчитывают время на выполнение работы; внедряют нормы в производство и т. д.
Основными показателями, которые рассматриваются в ходе проведения анализа производительности труда, являются интенсивность труда и средняя выработка, приходящаяся на одного работающего.
Интенсивность труда характеризуется количеством труда, затраченного в единицу времени, квалификацией труда, а также уровнем механизации и автоматизации производственного процесса.
Средняя выработка, приходящаяся на одного работающего, зависит от соотношения работающих и производительности труда одного рабочего. Влияние этого показателя определяют с помощью удлинения модели и метода цепной подстановки.
Важнейшими резервами роста часовой и среднечасовой производительности труда являются такие факторы, как повышение квалификации кадров, оптимальное соотношение основных и вспомогательных рабочих, совмещение профессий, эффективная организация заработной платы с учетом мотивации и т. д.
При анализе расходов на оплату труда рассматриваются средства, включенные в состав себестоимости (фонд оплаты труда — ФОТ), и средства, отчисляемые от чистой прибыли, остающейся в распоряжении предприятия.
Прежде чем начать анализ, изучают обоснованность средств на оплату труда в целом и по категориям работников. При оценке обоснованности ФОТ учитывают показатель соотношения темпов прироста заработной платы и производительности труда. Необходимо также учитывать, что в плановом периоде следует закладывать опережение темпов роста производительности труда над темпами роста его оплаты. Этот коэффициент определяется путем деления индекса роста производительности труда на индекс роста средней заработной платы.
Далее определяют состав ФОТ и причины его изменения. Затем изучают выполнение плана использования ФОТ, определяют абсолютную экономию и перерасход ФОТ в целом и по категориям. Определяют также наличие относительной экономии или перерасхода ФОТ.
Средства на оплату труда следует оценивать во взаимосвязи с анализом выпуска и реализации готовой продукции и анализом прибыли.
54. Методика анализа эффективности использования основных фондов
Основные фонды (ОФ) — это средства предприятия, которые многократно участвуют в производственном процессе и переносят свою стоимость на стоимость выпускаемой продукции по частям, по мере начисления амортизации.
Цель анализа — определить обеспеченность предприятия и его структурных подразделений ОФ и уровень их использования по обобщающим и частным показателям, а также установить причины их изменения; рассчитать влияние использования ОФ на объем производства продукции и другие показатели; изучить степень использования производственной мощности предприятия и оборудования; выявить резервы повышения эффективности использования основных средств.
Анализ обычно начинается с изучения структуры и динамики ОФ. Для этого все ОФ предприятия группируют в соответствии с их статистической классификацией. Затем для каждой группы рассчитывают основные показатели динамики ОФ: коэффициент обновления ОФ, коэффициент выбытия ОФ, коэффициент износа ОФ, коэффициент годности ОФ, длительность одного оборота ОФ.
Затем изучают обеспеченность предприятия ОФ. Для этого данные о фактическом их наличии сравнивают с плановой потребностью в ОФ. Обобщающим показателем, характеризующим уровень обеспеченности предприятия ОФ, является фондовооруженность труда, которую рассчитывают как отношение среднегодовой стоимости ОФ к среднесписочной численности работающих. После этого анализируют обобщающие показатели эффективности использования ОФ.
Обобщающими показателями, характеризующими эффективность использования ОФ, являются фондоотдача и фондоемкость.
Фондоотдачу (ФО) основных фондов расчитывают как отношение объема выручки от реализации продукции (ВР) к среднегодовой стоимости основных фондов (ОФср):
ФО = ВР/ОФ.
сР
Среднегодовую стоимость ОФ определяют для каждой группы ОФ с учетом их ввода в действие и выбытия.
Фондоемкость (ФЕ) продукции — это величина, обратная фондоотдаче. Она характеризует затраты основных средств на одну денежную единицу реализованной продукции:
ФЕ = 1/ФО = ОФср / ВР.
ср
Снижение фондоемкости продукции свидетельствует о повышении эффективности использования основных фондов.
Показатель фондоотдачи тесно связан с производительностью труда (ПТ) и фондовооруженностью (ФВ) труда, которая характеризует стоимость основных фондов, приходящихся на одного работающего:
ФО = ПТ/ФВ.
Таким образом, основным условием роста фондоотдачи является обеспечение превышения темпов роста производительности труда над темпами роста фондовооруженности труда.
После анализа обобщающих показателей эффективности использования основных фондов с целью более детальной оценки их использования изучают показатели уровня обеспеченности и использования машин и оборудования: коэффициент, характеризующий удельный вес автоматических машин и оборудования; коэффициент использования производственной мощности; коэффициент использования наличного оборудования; коэффициент использования установленного оборудования; коэффициент использования времени работы оборудования; коэффициент использования оборудования по мощности и др. Для получения общей оценки использования оборудования рассчитывают интегральный коэффициент.
В конце анализа рассчитывают резервы увеличения выпуска продукции и фондоотдачи. Такими резервами могут быть ввод в действие неустановленного оборудования, его замена и модернизация, сокращение целодневных и внутрисменных простоев, внедрение передовой техники и технологии и т. д.
55. Методика анализа финансовых результатов работы предприятия
Результатом хозяйственной деятельности предприятия может быть убыток, отсутствие положительного результата — точка безубыточности или прибыль.
Прибыль — это одна из форм чистого дохода, денежное выражение стоимости прибавочного продукта, поступающего в распоряжение предприятия.
Прибыльность хозяйствующего субъекта характеризуется абсолютным и относительным показателями. Абсолютный показатель прибыльности — это сумма прибыли. Относительный показатель — уровень рентабельности.
Анализ прибыли хозяйствующего субъекта выполняют путем сравнения фактических данных с плановыми и предшествующим периодом. Анализ следует проводить по данным работы за год и по кварталам, используя отчетные данные о финансовых результатах (форма № 2 БО). В этой форме содержится информация о пяти видах финансовых результатов. Показатели, характеризующие финансовое состояние в прошлом году, приводятся в соответствие с показателями отчетного года с помощью индексации цен и др. Плановые показатели хозяйствующий субъект разрабатывает как собственник предприятия самостоятельно для внутреннего пользования. Методика анализа финансовых результатов деятельности предприятия включает:
1. Изучение формирования прибыли во времени и в пространстве.
2. Выявление причинно-следственных связей в хозяйственном процессе и их роли в воздействии на изменение прибыли.
3. Количественное измерение влияния внешних и внутренних факторов, определяющих изменение прибыли.
4. Выявление имеющихся возможностей роста прибыли и определение путей их мобилизации.
5. Оценку системы показателей рентабельности предприятия с точки зрения ее достаточности.
6. Оценку степени воздействия имеющихся ресурсов на уровень рентабельности деятельности предприятия.
Рентабельность представляет собой доходность производственноторгового процесса. Ее величина измеряется системой показателей рентабельности. Уровень рентабельности (Р) хозяйствующих субъектов, связанных с производством продукции, определяется процентным отношением прибыли (П) от реализации продукции (валовой прибыли) к себестоимости реализованной продукции (товаров, работ, услуг) (И):
Р = (П / И) • 100.
Уровень рентабельности предприятий торговли и общественного питания устанавливают отношением прибыли от реализации товаров к выручке от их реализации (Т):
Р = (П / Т) • 100.
Рентабельность измеряют также как отношение прибыли к общим затратам на производства, так и к отдельным их элементам (основным фондам, заработной плате, материальным ресурсам и т. д.).
Обобщающим показателем, характеризующим деятельность предприятия, является рентабельность капитала, которую рассчитывают как отношение чистой прибыли к используемому капиталу (итог баланса).
В процессе анализа финансовых результатов изучают: динамику изменения объема чистой прибыли, показатели рентабельности, рассчитанные по чистой прибыли, и факторы, их определяющие.
Прибыль и рентабельность предприятия являются обобщающими показателями интенсификации производственной и маркетинговой деятельности.
56. Анализ рентабельности
Рентабельность — это относительный показатель прибыльности предприятия.
Существует система показателей рентабельности, которая подразделяется на две группы:
• показатели рентабельности вложений в имущество предприятия и его виды;
• показатели рентабельности продукции.
К первой группе относятся следующие показатели:
• рентабельность всего имущества (капитала или активов);
• рентабельность собственных средств;
• рентабельность производственных фондов;
• рентабельность финансовых вложений и т. д.
Первые три показателя вычисляют как отношение прибыли от обычной деятельности до налогообложения или чистой прибыли к средней стоимости соответствующего имущества за анализируемый период. При этом стоимость производственных фондов определяют, суммируя стоимость основных средств и материальных оборотных средств. Рентабельность финансовых вложений рассчитывают как отношение доходов, полученных от ценных бумаг и от долевого участия предприятия в уставных фондах других предприятий, к средней стоимости его финансовых вложений.
Рентабельность продукции определяют как отношение прибыли, полученной от реализации продукции, к полной ее себестоимости.
Анализ рентабельности хозяйствующего субъекта следует проводить по данным работы за год и по кварталам. При этом фактические показатели рентабельности за исследуемый период сравнивают с плановыми (расчетными) показателями и показателями за предыдущие периоды. Показатели за предыдущие периоды приводятся к сопоставимому виду с помощью индекса цен. Плановые показатели разрабатываются хозяйствующим субъектом самостоятельно для внутреннего пользования.
Затем изучают влияние факторов на показатели рентабельности и определяют резервы роста показателей рентабельности.
Для обеспечения роста рентабельности темпы роста прибыли должны опережать темпы роста используемых ресурсов или результата деятельности, т. е. доходов от реализации продукции (товаров, работ, услуг).
57. Методика анализа стабильности работы предприятия
Стабильность работы предприятия характеризуется множеством показателей, отображающих устойчивое состояние его финансов, оптимальный уровень платежеспособности и ликвидности.
Цель анализа финансов — оценка состояния предприятия в предыдущем периоде и оценка состояния на данный момент, а также оценка будущего потенциала предприятия.
Финансовый анализ проводится в несколько этапов.
На первом этапе следует определить подход или направления анализа.
На втором этапе оценивают качество исходной информации.
На третьем этапе выполняют анализ с использованием следующих основных методов:
• горизонтального — сравнение каждой позиции баланса или другой формы отчетности с данными предыдущего периода;
• вертикального — определение структуры слагаемых показателя, влияние каждой позиции на результат в целом;
• трендового — анализ показателя за несколько периодов и определение тренда с помощью математической обработки ряда динамики.
Анализ можно проводить как по абсолютным, так и относительным показателям. Особое значение имеет расчет относительных показателей ликвидности и рыночной устойчивости, а также рентабельности предприятия.
Анализ платежеспособности предприятия включает определение таких показателей, как финансовая устойчивость и кредитоспособность предприятия.
Финансово устойчивым является такой хозяйствующий субъект, который за счет собственных средств покрывает средства, вложенные в активы, не допускает неоправданной дебиторской и кредиторской задолженности и расплачивается в срок по своим обязательствам. Основой финансовой устойчивости является рациональная организация и эффективное использование оборотных средств. Поэтому в процессе анализа финансового состояния вопросам рационального использования оборотных средств уделяют основное внимание.
Анализ финансовой устойчивости включает:
• анализ состава и размещения активов хозяйствующего субъекта;
• анализ динамики и структуры источников финансовых ресурсов;
• анализ наличия структуры оборотных средств.
Важным показателем оценки финансовой устойчивости является темп прироста реальных активов (А, %):
•100,
С1 + 3 + Д1
С0 + 30 + Д0
где С — основные средства и вложения без учета износа, торговой наценки по нереализованным товарам, нематериальных активов, использованной прибыли, грн.; З — запасы и затраты, грн.; Д — денежные средства и прочие активы без учета использованных заемных средств, грн.; 0 — предыдущий год; 1 — текущий год.
Для оценки финансовой устойчивости предприятия также используют коэффициент автономии, коэффициент финансовой устойчивости предприятия и коэффициент привлечения средств.
Коэффициент автономии (Ка) характеризует независимость финансового положения предприятия от заемных источников средств. Он показывает долю собственных средств (Сс) в общей сумме источников средств (И):
Сс
и '
В Украине минимальное значение коэффициента автономии считается приемлемым на уровне 0,6. Ка > 0,6 означает, что все обязательства предприятия могут быть покрыты за счет собственных средств; рост коэффициента автономии свидетельствует об увеличении финансовой независимости и стабильной работе предприятия.
Коэффициент финансовой устойчивости (Ку) представляет собой соотношение собственных и заемных средств:
С
К у _—, у 3 + К
где З — заемные средства, грн.; К — кредиторская задолженность и другие пассивы, грн.
Коэффициент привлечения средств (Кп с ) представляет собой отношение задолженности к сумме текущих активов или одной из их составляющих:
_ з
_ А ’
текущие активы, грн.
где З
задолженность, грн.;
Этот коэффициент отражает степень финансовой независимости предприятия от заемных источников. Чем ниже уровень данного коэффициента, тем выше кредитоспособность хозяйствующего субъекта и стабильность работы предприятия.
Затем изучают в отдельности динамику и структуру собственных оборотных средств и кредиторской задолженности.
Дальнейший анализ оборотных средств предприятия проводят путем изучения динамики и состава оборотных средств по видам. Методика общего анализа состоит в сопоставлении сумм оборотных средств на начало и конец периода и выявлении законности и целесообразности отвлечения средств из оборота.
Под кредитоспособностью хозяйствующего субъекта понимается наличие у него предпосылок для получения кредита и его возврата в срок.
При анализе кредитоспособности используют ряд показателей. Наиболее важными из них являются норма прибыли на вложенный капитал и ликвидность.
Норма прибыли (Р) на вложенный капитал определяется отношением суммы прибыли к общей сумме баланса:
Р = П / ? К,
где П — сумма прибыли за отчетный период (квартал, год), грн.; ? К — общая сумма пассива, грн.
Рост этого показателя характеризует тенденцию прибыльной деятельности заемщика, его доходность.
58. Анализ ликвидности и платежеспособности предприятия
Главным критерием оценки финансово-экономического состояния предприятия являются показатели платежеспособности и степени ликвидности.
Платежеспособность предприятия определяется его способностью своевременно и полностью исполнять платежные обязательства, которые вытекают из торговых, кредитных и других операций денежного характера. Платежеспособность влияет на формы и условия коммерческих операций, в том числе на возможность получения кредита.
Ликвидность предприятия определяется наличием у него ликвидных средств, к которым относятся наличные деньги, денежные средства на счетах в банках, легко реализуемые элементы оборотных средств и др. Ликвидность отображает способность предприятия быстро погашать свою задолженность. По существу ликвидность хозяйствующего субъекта означает ликвидность его баланса.
Ликвидность баланса выражается в степени покрытия обязательств хозяйствующего субъекта его активами, срок превращения которых в деньги соответствует сроку погашения обязательств. Ликвидность означает безусловную платежеспособность субъекта и предполагает постоянное равенство между активами и обязательствами как по общей сумме, так и срокам наступления.
Для оценки платежеспособности и ликвидности могут быть использованы следующие основные приемы:
• структурный анализ изменения активных и пассивных платежей баланса, т. е. анализ ликвидности баланса;
• расчет финансовых коэффициентов ликвидности;
• анализ движения денежных средств за отчетный период.
При анализе ликвидности баланса сравнивают средства по активу, сгруппированные по степени их ликвидности, с обязательствами по пассиву, объединенными по срокам их погашения и в порядке возрастания сроков. Расчет и анализ коэффициентов ликвидности позволяет определить степень обеспеченности текущих обязательств ликвидными средствами. Главная цель анализа движения денежных потоков — оценить способность предприятия генерировать денежные средства определенного размера и в сроки, необходимые для осуществления планируемых затрат и платежей.
59. Анализ оборотных средств и источников их формирования
В начале анализа актива баланса (имущества) необходимо рассчитать долю основных средств, других необоротных активов (раздел I) и оборотных активов (раздел II) в общем итоге баланса. Затем следует определить структуру оборотных средств, т. е. часть материальных оборотных средств и других, которые находятся в расчетах и денежных средствах. Анализируя состояние активов предприятия, необходимо выяснить ликвидность баланса, которая отражает возможность быстрой мобилизации собственных средств для своевременной и полной оплаты долгов (кредитов и кредиторской задолженности).
Все средства по степени их ликвидности следует объединить в несколько групп:
1. Быстроликвидные (денежные средства в кассе и на счетах в банках, ценные бумаги повышенного спроса и векселя надежных предприятий и финансовых учреждений).
2. Высокой и средней ликвидности (дебиторская задолженность текущего характера, запасы готовой продукции на складе и покупные товары).
3. Малоликвидные (производственные запасы ресурсов производства, остатки незавершенного производства, расходы будущих периодов, просроченные суммы дебиторской задолженности).
4. Неликвидные (все основные средства и долгосрочные финансовые вложения, другие необоротные активы).
С анализом состава имущества по степени его ликвидности связаны расчеты коэффициентов ликвидности (будущей платежеспособности):
1. Коэффициент абсолютной или мгновенной ликвидности рассчитывают отношением денежных средств и краткосрочных активов к краткосрочным обязательствам. Нормативное значение этого коэффициента рекомендуется в пределах 0,25-0,35.
2. Коэффициент быстрой ликвидности определяют отношением разности оборотных активов и товарно-материальных запасов к краткосрочным обязательствам. Нормативное значение этого коэффициента должно быть не меньше единицы.
3. Коэффициент покрытия равен отношению оборотных активов к краткосрочным обязательствам. Нормативное значение этого коэффициента должно составлять 2,0-2,5.
При рассмотрении показателей ликвидности необходимо учитывать определенную условность всех классификаций имущества по степени его возможного преобразования в платежные средства.
Анализ статей пассива баланса предусматривает прежде всего разделение всех источников формирования имущества на собственные и приравненные к ним средства и привлеченные средства. Считается, что собственных средств должно быть не меньше 50 % общей суммы источников финансирования (валюты баланса). Чем больше их часть, тем выше финансовая устойчивость (независимость) предприятия.
Собственные средства направляют в первую очередь на финансирование основных фондов (раздел I), а также в оборотные средства (собственные).
При анализе источников собственных средств следует выяснить необходимость их привлечения, структуру источников и эффективность их использования.
60. Анализ финансового состояния предприятия
Под финансовым состоянием понимается способность предприятия финансировать свою деятельность. Оно характеризуется обеспеченностью финансовыми ресурсами, необходимыми для нормального функционирования предприятия, целесообразностью их размещения и эффективностью использования, финансовыми взаимоотношениями с другими юридическими и физическими лицами, платежеспособностью и финансовой устойчивостью.
Финансовое состояние может быть устойчивым, неустойчивым и кризисным. Способность предприятия своевременно производить платежи, финансировать свою деятельность на расширенной основе свидетельствует о его хорошем финансовом состоянии.
Финансовое состояние предприятия зависит от результатов его производственной, коммерческой и финансовой деятельности. Если производственный и финансовый планы успешно выполняются, то это положительно влияет на финансовое состояние предприятия. Если же в результате невыполнения плана по производству и реализации продукции повышается уровень ее себестоимости, уменьшается выручка и сумма прибыли, то вследствие этого ухудшается финансовое состояние предприятия и снижается его платежеспособность.
Устойчивое финансовое положение, в свою очередь, положительно влияет на выполнение производственных планов и обеспечение нужд производства необходимыми ресурсами. Поэтому финансовая деятельность как составляющая хозяйственной деятельности направлена на обеспечение планомерного поступления и расходования денежных ресурсов, выполнение расчетной дисциплины, достижение рациональных пропорций собственного и заемного капитала, наиболее эффективное его использование.
Главная цель финансовой деятельности — правильно распределить, где, когда и каким образом использовать финансовые ресурсы для эффективного развития производства и получения максимума прибыли.
Чтобы выжить в условиях рыночной экономики и не допустить банкротства предприятия, нужно хорошо знать, как управлять финансами, какой должна быть структура капитала по составу и источникам образования, какую долю должны занимать собственные и заемные средства. Следует знать и такие понятия рыночной экономики, как деловая активность, ликвидность, платежеспособность, кредитоспособность предприятия, порог рентабельности, запас финансовой устойчивости (зона безопасности), степень риска, эффект финансового рычага и др., а также методику их анализа.
Главная цель анализа — своевременно выявлять и устранять недостатки в финансовой деятельности, находить резервы улучшения финансового состояния предприятия и его платежеспособности.
При этом решаются следующие задачи:
1. На основе изучения причинно-следственной взаимосвязи разных показателей производственной, коммерческой и финансовой деятельности оценивать выполнение плана по поступлению финансовых ресурсов и их использованию с позиции улучшения финансового состояния предприятия.
2. Прогнозировать возможные финансовые результаты, экономическую рентабельность исходя из реальных условий хозяйственной деятельности и наличия собственных и заемных ресурсов, разрабатывать модели финансового состояния при разнообразных вариантах использования ресурсов.
3. Разрабатывать мероприятия, направленные на эффективное использование финансовых ресурсов и укрепление финансового состояния предприятия.
Методика анализа включает:
1. Анализ доходов и расходов предприятия — изучается взаимосвязь финансовых и производственных показателей работы предприятия.
2. Анализ взаимоотношений предприятия с бюджетом (выполнение плана платежей в бюджет и ассигнований из него, если они предусмотрены).
3. Анализ взаимоотношений со всеми контрагентами (поставщики, покупатели) предприятия, а также оценка расчетов с собственным персоналом.
4. Анализ образования и использования прибыли.
Для оценки устойчивости деятельности предприятия используют систему показателей, характеризующих изменения:
• структуры капитала предприятия по его размещению и источникам образования;
• эффективности и интенсивности использования капитала;
• платежеспособности и кредитоспособности предприятия;
• запаса его финансовой устойчивости.
Анализ финансового состояния предприятия основывается главным образом на относительных показателях, так как абсолютные показатели баланса в условиях инфляции практически невозможно привести в сопоставимый вид.
Относительные показатели анализируемого предприятия можно сравнивать:
• с общепринятыми “нормами” для оценки степени риска и прогнозирования возможности банкротства;
• с аналогичными данными других предприятий, что позволяет выявить сильные и слабые стороны предприятия и его возможности;
• с аналогичными данными за предыдущие годы для сопоставления и выяснения изменений финансового состояния предприятия.
Анализом финансового состояния занимаются не только руководители и соответствующие службы предприятия, но и его учредители, инвесторы для изучения эффективности использования ресурсов, банки — для оценки условий кредитования и определения степени риска, поставщики — для своевременного получения платежей, налоговые инспекции — для выполнения плана поступления средств в бюджет и т. д.
2.3. Примеры решения основных типов задач
Задача 1
Проанализировать влияние на прирост объема товарной продукции изменения численности работников и производительности труда одного среднесписочного работника (табл. 43).
Исходные данные
Таблица 43 |
|
Показатель |
Обозначение |
План
(базис) |
Факт
(отчет) |
|
Объем товарной продукции, тыс. грн. |
X |
|
|
|
Отработанное время, чел.-дней |
a |
1000 |
1050 |
|
Объем выработки одного среднесписочного работника в день, тыс. грн. |
b |
1,2 |
1,38 |
|
Решение
1. Находим недостающие показатели — абсолютное и относительное отклонения фактических значений от плановых показателей и заполняем табл. 44.
Обобщенные данные
Таблица 44 |
|
Показатель |
Обозна
чение |
План
(базис) |
Факт
(отчет) |
Отклонение (+, —) |
абсолют
ное |
относительное, % |
|
1 |
2 |
3 |
4 |
5 = 4 - 3 |
6 = 5/3-100 |
|
Объем товарной продукции, тыс. грн. |
х |
1200 |
1449 |
249 |
20,8 |
|
Отработанное время, чел.-дней |
a |
1000 |
1050 |
50 |
5 |
|
Объем выработки одного среднесписочного работника в день, тыс. грн. |
b |
1,2 |
1,38 |
0,18 |
15 |
|
2. Построим модель результативного показателя (объем товарной продукции):
х = ab.
3. Используя метод цепной подстановки, получаем х0 = a0b0 = 1000 • 1,2 = 1200 тыс. грн;
х01 = a1b0 = 1050 • 1,2 = 1260 тыс. грн;
Xj = a1b1 = 1050 • 1,38 = 1449 тыс. грн;
Аха = х01 - х0 = 1260 - 1200 = 60 тыс. грн;
Axb = х1 - х01 = 1449 - 1260 = 189 тыс. грн;
Дх = х1 - х0 = 1449 - 1200 = Axa + Ахь = 60 +189 = 249 тыс. грн.
4. Решаем задачу методом разниц:
Дxa = х01 - х0 = a1b1 - a0b0 = b0(a1 - a0) = Aab0 = 50 • 1,2 =
= 60,0 тыс. грн;
Дхь = х1 - х01 = a1b1 - a1b0 = a1(b1 - b0) = Aba1 = 1050 • 0,18 =
= 189 тыс. грн;
Ax = x1 - x0 = 1449 - 1200 = Axa - Axb = 60 +189 = 249 тыс. грн.
5. Решаем задачу интегральным методом:
AaAb
2
AaAb
Axa = Aabo + -Axfr = Aba0 +
50 -1,2 + 50'0,18 = 60 + 9 = 64,5;
2 2
: 0,18 -1000 + 50 - 0,18 = 180 + 4,5 = 184,5;
Ax = Axa + Axb = 64,5 +184,5 = 249.
Вывод. Объем товарной продукции увеличился на 249 тыс. грн. На этот прирост повлияли два фактора: увеличение отработанного времени на 50 чел.-дней способствовало приросту объема выпуска продукции на 60 тыс. грн, увеличение производительности труда среднесписочного работника на 0,18 тыс. грн дало прирост объема выпуска продукции на 189 тыс. грн (по расчету, проведенному методом цепной подстановки и методом разниц).
При использовании интегрального метода не учитывались особенности влияния количественных и качественных факторов; действия факторов считались равноценными, поэтому есть отклонения в результатах расчетов по факторам по сравнению с расчетами, выполненными методом цепных подстановок и методом разниц.
Задача 2
Рассчитать влияние на изменение дохода от реализации товаров следующих факторов: численности работников; количества отработанных ими дней и объема выработки, приходящегося на одного среднесписочного работника (табл. 45).
Исходные данные
Таблица 45 |
|
Показатель |
Обозначение |
План
(базис) |
Факт
(отчет) |
|
Доход от реализации товаров, тыс. грн. |
X |
|
|
|
Среднесписочная численность работников, чел. |
а |
600 |
590 |
|
Отработанное время, чел.-дней |
b |
304 |
308 |
|
Объем выработки одного среднесписочного работника в день, грн. |
c |
300 |
320 |
|
Решение
1. Находим недостающие показатели — абсолютное и относительное отклонения фактических значений от плановых показателей и заполняем табл. 46.
Обобщенные данные
Таблица 46 |
|
Показатель |
Обозна
чение |
План
(базис) |
Факт
(отчет) |
Отклонение (+, —) |
абсолют
ное |
относительное, % |
|
1 |
2 |
3 |
4 |
5 = 4 - 3 |
6 = 5/3^100 |
|
Объем розничного товарооборота, тыс. грн. |
X |
54720 |
58150,4 |
3430,4 |
6,27 |
|
Среднесписочная численность работников, чел. |
а |
600 |
590 |
-10 |
-1,67 |
|
Отработанное время, чел.-дней |
b |
304 |
308 |
4 |
1,32 |
|
Объем выработки одного среднесписочного работника в день, грн. |
с |
300 |
320 |
20 |
6,67 |
|
2. Построим модель результативного показателя (дохода от реализации товаров):
х = abc.
3. Используя метод цепных подстановок, получаем х0 = а0Ь0с0 = 600 • 304 • 300 = 54720 тыс. грн;
х01 = а1Ь0с0 = 590 • 304 • 300 = 53808 тыс. грн; х02 = а1Ь1с0 = 590 • 308 • 300 = 54516 тыс. грн; х1 = а1Ь1с1 = 590 • 308 -320 = 58150,4 тыс. грн;
Ах а = х01 - х0 = 53808 - 54720 = -912 тыс. грн;
Дхь = х02 - х01 = 54516 - 53808 = 708 тыс. грн;
Ахс = х1 - х02 = 58150,4 - 54516 = 3634,4 тыс. грн;
Дх = х1 - х0 = 58150,4 - 54720 = Дха + Дхь + Дхс =
= -912 + 708 + 3634,4 = 3430,4 тыс. грн.
4. Решим задачу факторного анализа интегральным методом и методом разниц:
Метод разниц Axa = Aab0c0; Axb = Aba1c0; Axc = Aca1b1.
Интегральный метод Axa = l/2Aa(b0cl + blc0) + 43AaAbAc; Axb = 1/2Ab(aQc1 + ajCQ) + V3AaAbAc; Axc = 1/2Ac(aQb1 + a1b0) + 1/3AaAbAc;
Вывод. В общем доход от реализации товаров увеличился на 3430,4 тыс. грн. На это увеличение повлияли следующие факторы: несоответствие фактической численности запланированному количеству на 10 чел. привело к потере дохода на 912 тыс. грн; дополнительно отработанные 4 дня привели к росту выручки на 708 тыс. грн; увеличение объема выработки одного среднесписочного работника всего на 20 грн в день дало прирост выручки на 3634,4 тыс. грн.
При использовании интегрального метода не учитывалось влияние количественных и качественных факторов; действия факторов считались равноценными, поэтому есть отклонения в результатах расчетов по факторам по сравнению с расчетами методом цепных подстановок и методом разниц.
Задача 3
Главный менеджер туристической фирмы “САМ” поручил менеджеру отдела внутреннего туризма рассчитать, как повлияют на доход фирмы от реализации путевок следующие факторы: средняя стоимость одной реализованной путевки; среднее количество путевок, реализованных за один день; количество отработанных дней в анализируемом периоде (табл. 47).
Исходные данные
Таблица 47 |
|
Показатель |
Обозначение |
План
(базис) |
Факт
(отчет) |
|
Доход от реализации путевок, тыс. грн. |
X |
|
|
|
Среднее количество путевок, проданных за один день, шт. |
а |
5 |
8 |
|
Количество отработанных дней |
b |
304 |
308 |
|
Средняя стоимость путевки, грн. |
c |
550 |
600 |
|
Решение
1. Находим недостающие показатели — абсолютное и относительное отклонения фактических значений от плановых показателей и заполняем табл. 48.
Обобщенные данные
Таблица 48 |
|
Показатель |
Обозна
чение |
План
(базис) |
Факт
(отчет) |
Отклонение (+, —) |
абсолют
ное |
относительное, % |
|
1 |
2 |
3 |
4 |
5 = 4 - 3 |
6 = 5/3-100 |
|
Доход от реализации путевок, тыс. грн. |
х |
836 |
1478,4 |
642,4 |
76,8 |
Среднее количество путевок, проданных
за один день, шт. |
a |
5 |
8 |
3 |
60 |
|
Количество отработанных дней |
b |
304 |
308 |
4 |
1,3 |
|
Средняя стоимость путевки, грн. |
c |
550 |
600 |
50 |
9,1 |
|
2. Построим модель результативного показателя:
х = аЬс.
3. Используя метод цепных подстановок, получаем х0 = a0b0c0 = 550 • 304 • 5 = 836 тыс. грн;
х01 = a1b0c0 = 8 • 304 • 550 = 1337,6 тыс. грн; х02 = a1b1c0 = 8 • 308 • 550 = 1355,2 тыс. грн; х1 = aJbJcJ = 600 • 308 • 8 = 1478,4 тыс. грн; ха = x01 - х0 = 1337,6 - 836 = 501,6 тыс. грн; xb = х02 - х01 = 1355,2 - 1337,6 = 17,6 тыс. грн; хс = Xj - х02 = 1478,4 - 1355,2 = 123,2 тыс. грн; х = х1 - х0 = 1478,4 - 836 = ха + xb + хс = 501,6 + 17,6 + 123,2 = = 642,4 тыс. грн.
4. Решим задачу факторного анализа интегральным методом: Аха = l/2Aa(b0cJ + b^) + V3AaAbAc;
Axb = 1/2Ab(a0c1 + a1c0) + 1/3AaAbAc;
Ахс = l/2Ac(a0bl + a{bQ) + 1/3AaAbAc;
Аха = 1,5 • (304 -600 + 308 • 550) + 200 = 1,5 • 351800 + 200 =
= 527,9 тыс. грн;
Axb = 2 • (4400 + 3000) + 200 = 2 • 7400 + 200 = 15 тыс. грн;
Ахс = 25 • (1540 + 2432) + 200 = 99,5 тыс. грн;
Ах = Аха + Ахь + Ахс = 642,4 тыс. грн.
Методом разниц:
Аха = АаЬ0с0 = 3 • 304 • 550 = 501,6 тыс. грн;
Ахь = АЬа1с0 = 4 • 8 • 550 = 17,6 тыс. грн;
Ахс = Аса1Ь1 = 50 • 8 • 308 = 123,2 тыс. грн;
Ах = Аха + Ахь + Ахс = 501,6 +17,6 +123,2 = 642,4 тыс. грн.
Вывод. В общем доход от реализации путевок увеличился на 642,4 тыс. грн. На это увеличение повлияли следующие факторы: увеличение среднего количества путевок, проданных за один день, на 3 путевки дало прирост объема продаж на 501,6 тыс. грн; дополнительно отработанные 4 дня дали прирост объема продаж путевок на 17,6 тыс. грн; с ростом средней стоимости путевки на 50 грн выручка увеличилась на 123,2 тыс. грн.
При использовании интегрального метода не учитывалось влияние количественных и качественных факторов; действия факторов считались равноценными, поэтому есть отклонения в результатах расчетов по факторам по сравнению с расчетами, осуществленными методом цепных подстановок и методом разниц.
Задача 4
Смешанная модель
Рассчитать, как изменится прибыль при изменении таких факторов, как объем реализации, цена единицы продукции, себестоимость (табл. 49).
Построим модель результативного показателя:
х = a(b - с).
Решим задачу методом абсолютных разниц:
Аха = Аа^ — с0 ) = 2000 • (25 - 18) = 14000 грн;
Ахь = Abа1 = 1 • 32000 = 32000 грн;
Ахс = (-Ас )aj = -1 • 32000 = -32000 грн;
Ах = 14000 + 32000 + (-32000) = 14000 грн.
|
Обобщенные данные |
|
Показатель |
Обозна
чение |
План
(базис) |
Факт
(отчет) |
Отклонение (+, —) |
абсолют
ное |
относительное, % |
|
1 |
2 |
3 |
4 |
5 = 4 - 3 |
6 = 5/3-100 |
|
Объем реализации продукции, грн. |
a |
30000 |
32000 |
+ 2000 |
+6,6 |
|
Цена единицы продукции, грн. |
b |
25 |
26 |
+ 1 |
+4 |
Себестоимость
единицы продукции,
грн. |
c |
18 |
19 |
+1 |
+5,5 |
Прибыль
от реализации, грн. |
x |
210000 |
224000 |
14000 |
6,6 |
|
Вывод. Прибыль от реализации в отчетном периоде увеличилась по сравнению с базисным на 14000 грн. На это увеличение повлияли три фактора:
• за счет роста объема реализации продукции на 2000 грн прибыль увеличилась на 14000 грн;
• с ростом цены единицы продукции с 25 до 26 грн прибыль увеличилась на 32000 грн;
• увеличение себестоимости единицы продукции на 1 грн привело к потере прибыли на 32000 грн.
Задача 5
Рассчитать, как изменится выручка от реализации товаров с учетом изменения факторов, связанных с использованием материальнотехнической базы: количества рабочих мест, рабочих смен, отработанных дней в году, объема выработки на одном рабочем месте за смену. При расчетах использовать способ корректирующего коэффициента (табл. 50).
|
Исходные данные |
|
Показатель |
Обозначение |
План
(базис) |
Факт
(отчет) |
|
Выручка от реализации товаров, тыс. грн. |
X |
|
|
|
Количество рабочих мест |
a |
414 |
415 |
|
Количество рабочих смен |
b |
1,45 |
1,46 |
|
Количество рабочих дней в году |
c |
304 |
305 |
Объем выработки на одном рабочем
месте за смену, тыс. грн. |
d |
300 |
310 |
|
Решение
1. Находим недостающие показатели — абсолютное и относительное отклонения фактических значений от плановых показателей и заполняем табл. 51.
2. Построим модель результативного показателя (объем розничного товарооборота):
х = abcd.
3. Рассчитаем объем выручки от реализации товаров по плану и фактически, данные внесем в табл. 51:
0,242 + 0,689 + 0,329 + 3,333 = 4,593.
4. Рассчитаем корректирующий коэффициент (К):
Относительное отклонение по изучаемому показателю Сумма относительных отклонений по факторам
1,0102.
4,640
4,593
5. Используя корректирующий коэффициент, рассчитаем полное влияние факторов на результативный показатель. Предполагаем, что все факторы влияют на результативный показатель одинаково, т. е. при расчете не надо соблюдать последовательность замены факторов.
Обобщенные данные
|
|
|
|
|
Отклонение |
Влияние факторов, тыс. грн. |
|
Показатель |
Обоз
наче
ние |
План
(базис) |
Факт
(отчет) |
абсо
лют-
ное |
отно-
ситель-
ное,
% |
услов
ное |
полное |
|
1 |
2 |
3 |
4 |
5 = 4-3 |
6 = 5:3-100 |
7 |
8 |
Выручка от реализации
товаров,
тыс. грн.
Количество рабочих мест |
X
a |
54747,4
414 |
57287,8
415 |
2540,4
1,0 |
4,640
0,242 |
132,24 |
133,588 |
|
Количество рабочих смен |
b |
1,45 |
1,46 |
0,01 |
0,689 |
377,568 |
381,419 |
|
Количество рабочих дней |
c |
304 |
305 |
1,0 |
0,329 |
180,09 |
181,927 |
Объем выработки на одном рабочем месте,
тыс. грн. |
d |
0,3 |
0,31 |
0,01 |
3,333 |
1824,912 |
1843,526 |
Сумма относительных
отклонений по факторам |
|
|
|
|
4,593 |
|
|
Находим условное влияние факторов:
Axa = Aab0c0d0 = 1 • 1,45 • 304 • 0,3 = 132,24;
Axb = Aba0c0d0 = 0,01 • 414 • 304 • 0,3 = 377,568; Axc = Aca0b0d0 = 1 • 414 • 1,45 • 0,3 = 180,09;
Axd = Ada0b0c0 = 0,01 • 414 • 1,45 • 304 = 1824,912. Используем видоизмененную формулу:
Axa = Aab0c0d0;
Axb = a0 Abc0d0;
Axc = a0b0Ac0d0;
Axd = a0b0c0Ad;
Ax = Axa + Axb + Axc+ Axd = 2514,81;
2514,81 Ф 2540,4.
Так как условное влияние факторов не равно отклонению результативного показателя (объема розничного товарооборота), необходимо рассчитать их полное влияние на изучаемый показатель.
Находим полное влияние факторов на результативный показатель с учетом корректирующего коэффициента:
hxaR = (Aab0c0d0)K = (1 • 1,45 • 304 • 0,3) • 1,0102 = 133,588;
АльК = (Aba0c0d0)K = (0,01 • 414 • 304 • 0,3) • 1,0102 = 381,419;
AxcK = (Aca0b0d0)K = (1 • 414 • 1,45 • 0,3) • 1,0102 = 181,927;
AxR = (Ada0b0c0 )K = (0,01 • 414 • 1,45 • 304) • 1,0102 = 1843,526;
Ax = AxR + AxbK + AxcK + AxdR = 2540,46.
Вывод. Запланированный объем выручки от реализации товаров перевыполнен на 4,64 %. Сверх плана продано товаров на 2540,4 тыс. грн. На это увеличение повлияли четыре фактора:
• с ростом количества рабочих мест на одно место выручка увеличилась на 133,588 тыс. грн;
• увеличение количества рабочих смен на 0,01 дало прирост выручки на 381,419 тыс. грн;
• увеличение отработанного времени на один день дало прирост выручки на 181,927 тыс. грн;
• с ростом объема выработки на одном рабочем месте в день на 0,01 тыс. грн выручка увеличилась на 1843,526 тыс. грн.
Задача 6
Рассчитать, как изменения структуры товарооборота (выручки от реализации) повлияют на среднюю цену реализуемых товаров трех сортов. В расчетах используйте метод процентных чисел (табл. 52).
Исходные данные
Таблица 52 |
|
Изделие |
Цена за 1 кг,
грн. (р0 ) |
Количество, кг |
|
План (g0) |
Факт (gi) |
|
А |
1,00 |
47 |
49 |
|
Б |
0,80 |
39 |
47 |
|
В |
0,50 |
25 |
15 |
|
Итого |
111 |
111 |
|
Решение
1. Находим недостающие показатели — абсолютное и относительное отклонения фактических значений от плановых показателей и заполняем табл. 53.
2. Рассчитаем среднюю базисную цену товара:
по плану:
p0 = Zpg0 / Z g0 = (1,00 • 47 + 0,80 • 39 + 0,50 • 25) / 111 = 90,7 / 111 =
= 0,8171 грн;
фактически:
Pj = Zpgj / Z g1 = (1,00 • 49 + 0,80 • 47 + 0,50 • 15) / 111 = 94,1 / 111 =
= 0,8477 грн.
Вывод. Средняя плановая цена за 1 кг реализуемого товара составила 81,7 коп., а фактическая — 84,8 коп., т. е. увеличилась на 3,1 коп. Влияние изменения структуры товарооборота:
Др = p1 - p0 = 0,848 - 0,817 = 0,031 грн.
Изменение средней цены за 1 кг товара обусловлено изменением структуры товарооборота.
Задача 7
Определить объем реализации товаров за анализируемый период, используя данные табл. 54.
Рассчитать влияние элементов товарного баланса на изменение объема реализации товаров (изучаемый показатель).
Решение
1. Для определения объема реализации товаров за период используем формулу товарно-сырьевого баланса:
Зн + П = Р + В + У + Зк,
где У — уценка.
С помощью этой формулы найдем реализацию товаров за базисный и отчетный периоды и заполним табл. 55:
Р = Зн + П - В - Зк.
Модель результативного показателя (Р) — аддитивная.
В данном случае уценки товаров не происходит.
276
|
Обобщенные данные |
Изде
лие |
Цена за 1 кг, грн. (p) |
Количество |
Стоимость,
грн. |
Структура по количеству, % |
Процентные числа, % |
Отклонение (+, —) |
План
(^0) |
Факт
(^і) |
План
ІР8о) |
Факт
(pg1) |
План
(fo) |
Факт
(fi) |
План |
Факт |
в структуре, % |
средней
цены |
|
і |
2 |
3 |
4 |
5=2-3 |
6=4-2 |
7=3/111-100 |
8= 4/111-100 |
9=7-2 |
10=2-8 |
11= 8 - 7 |
12=10 - 9 |
|
А |
1,00 |
47 |
49 |
47 |
49,0 |
42,34 |
44,14 |
42,34 |
44,14 |
1,8 |
1,8 |
|
Б |
0,80 |
39 |
47 |
31,2 |
37,6 |
35,14 |
42,34 |
28,11 |
33,87 |
7,2 |
5,76 |
|
В |
0,50 |
25 |
15 |
12,5 |
7,5 |
22,52 |
13,52 |
11,26 |
6,76 |
-9,0 |
-4,5 |
|
Итого |
111 |
111 |
90,7 |
94,1 |
100,0 |
100,0 |
81,71 |
84,77 |
|
3,06 |
|
|
Показатель |
Обозначение |
План
(базис) |
Факт
(отчет) |
|
Запасы товаров (сырья) на начало периода |
Зн |
130 |
139 |
|
Поступления товаров (сырья) за период |
П |
1900 |
1340 |
|
Реализация за период |
Р |
|
|
|
Выбытие товаров |
В |
20 |
30 |
|
Запасы товаров (сырья) на конец периода |
Зк |
154 |
120 |
|
|
Таблица 55 |
Обобщенные данные, тыс. грн.
|
Показатель |
Обозна
чение |
План
(базис) |
Факт
(отчет) |
Отклонение (+, —) |
абсолют
ное |
относительное, % |
|
1 |
2 |
3 |
4 |
5 = 4 - 3 |
6 = 5/3-100 |
|
Запасы товаров (сырья) на начало периода |
Зн |
130 |
139 |
9 |
6,92 |
|
Поступления товаров (сырья) за период |
П |
1900 |
1340 |
-560 |
-29,47 |
|
Реализация за период |
Р |
1856 |
1329 |
-527 |
-28,39 |
|
Выбытие товаров |
В |
20 |
30 |
10 |
50,00 |
|
Запасы товаров (сырья) на конец периода |
Зк |
154 |
120 |
-34 |
-22,08 |
Для проведения факторного анализа используем метод цепных подстановок:
Р0 = Зн0 + П0 - В0 - Зк0 = 130 + 1900 - 20 - 154 = 1856 тыс. грн;
Ре, = Зн1 + П0 - В0 - Зк0 = 139 + 1900 - 20 - 154 = 1865 тыс. грн;
Р02 = Зні + П - В0 - ЗК0 = 139 + 1340 - 20 - 154 = 1305 тыс. грн;
Р03 = Зн1 + П1 - В1 - Зк0 = 139 + 1340 - 30 - 154 = 1295 тыс. грн;
Р = Зн1 + Я; - р - Зк1 = 139 + 1340 - 30 - 120 = 1329 тыс. грн;
ДРзн = Р01 - Р0 = 1865 - 1856 = 9 тыс. грн;
ДРп = Р02 - Р01 = 1305 - 1865 = -560 тыс. грн;
ДРв = Р03 - Р02 = 1295 - 1305 = -10 тыс. грн;
ДРзк = Pj - Р03 = 1329 - 1295 = 34 тыс. грн;
ДР = Р, - Р0 = 1329 - 1856 = ДРзн + ДРп + ДРв + ДРзк = 9 + (-560) +
1 0 зн п в зк
+ (-10) +34 = -527 тыс. грн.
Вывод. Для решения задачи построена аддитивная модель на базе формулы товарно-сырьевого баланса. Для определения влияния факторов на результативный показатель использован метод цепных подстановок.
Расчетами установлено: недовыполнение плана по объему реализации товаров на 527 тыс. грн обусловлено действием следующих факторов:
• увеличение запасов товаров на начало периода на 9 тыс. грн и уменьшение их на конец периода на 34 тыс. грн привели к увеличению объема реализации на 43 тыс. грн;
• уменьшение поступления товаров за период на 560 тыс. грн и рост их выбытия на 10 тыс. грн привели к уменьшению объема реализации на 570 тыс. грн.
Эту задачу можно решить также методом прямого счета (по абсолютному отклонению факторов товарного баланса с учетом аддитивной модели и знаков в ней).
Задача 8
Метод процентных чисел
Менеджеру экономического отдела магазина “SONY” было поручено рассчитать, как за анализируемый период на среднюю частоту завоза бытовой техники влияют частота завоза по отдельным видам техники и структура их завоза. Исходные данные для расчета приведены в табл. 56.
Решение
1. Определим объем завоза бытовой техники в магазин “SONY” соответственно по плану и фактически:
3200 + 4200 + 1800 + 1890 + 2150 + 450 = 13690;
3500 + 3800 + 2150 + 1500 + 2600 + 300 = 13850.
|
Исходные данные |
|
Наименование бытовой техники |
Объем завоза бытовой техники, усл. ед. |
Частота завоза бытовой техники, дни |
|
план |
факт |
план |
факт |
Стиральные
машины |
3200 |
3500 |
22 |
20 |
|
Холодильники |
4200 |
3800 |
30 |
25 |
|
Телевизоры |
1800 |
2150 |
14 |
10 |
Микроволновые
печи |
1890 |
1500 |
16 |
12 |
Электрические
плиты |
2150 |
2600 |
25 |
13 |
|
Чайники |
450 |
300 |
15 |
10 |
|
2. Определим структуру завоза бытовой техники магазина “SONY”:
по плану: 3200 : 13690 • 100 = 23 %;
4200 : 13690 • 100 = 31 %;
1800 : 13690 • 100 = 13 %;
1890 : 13690 • 100 = 14 %;
2150 : 13690 • 100 = 16 %;
450 : 13690 • 100 = 3 %; фактически: 3500 : 13850 • 100 = 25 %;
3800 : 13850 • 100 = 27 %;
2150 : 13850 • 100 = 16 %;
1500 : 13850 • 100 = 11 %;
2600 : 13850 • 100 = 19 %;
300 : 13850 • 100 = 2 %.
3. Определим процентные числа для факторного анализа:
по плану: 22 • 23 = 506;
30 • 31 = 930;
14 • 13 = 182;
16 • 14 = 224;
25 • 16 = 400;
15 • 3 = 45;
фактически: 20 • 25 = 500;
25 • 27 = 675;
10 • 16 = 160;
12 • 11 = 132;
13 • 19 = 247;
10 • 2 = 20;
по промежуточному расчету:
22 • 25 = 550;
30 • 27 = 810;
14 • 16 = 224;
16 • 11 = 176;
25 • 19 = 475;
15 • 2 = 30.
Полученные суммы процентных чисел разделим на 100 и получим среднюю частоту завоза бытовой техники в магазин (результативный показатель):
по плану: 2287 : 100 = 22,87;
фактически: 1734 : 100 = 17,34;
при плановой частоте завоза и фактической структуре завоза:
2265 : 100 = 22,65.
4. Рассчитаем влияние факторов на изменение средней частоты завоза:
17,34 - 22,87 = -5,53,
в том числе за счет изменения факторов структуры завоза бытовой техники:
22,65 - 22,87 = -0,22,
за счет изменения факторов частоты завоза по отдельным видам бытовой техники:
17,34 - 22,65 = -5,31.
Результаты расчетов занесем в табл. 57.
Вывод. Расчеты менеджера магазина “SONY” показали, что средняя частота завоза бытовой техники увеличилась на 5,53 дней (с 22,87 до 17,34). Это изменение результативного показателя (средней частоты завоза) обусловлено действием следующих факторов:
• изменение частоты завоза по отдельным видам бытовой привело к увеличению средней частоты завоза на 5,31 дней (17,34 - 22,65);
• за счет изменения структуры завоза бытовой техники в магазин результативный показатель увеличился на 0,22 дня (22,65 - 22,87).
281
|
Обобщенные данные |
Наименова
ние
бытовой
техники |
Объем завоза товаров,
тыс. грн. |
Частота завоза, дней |
Структура завоза, % |
Процентные числа |
Общее
откло
нение
в завозе
товаров |
Отклонение
за счет |
|
план |
факт |
план |
факт |
план |
факт |
план |
проме-
жуточ. |
факт |
струк
туры
завоза |
часто
ты
завоза |
|
і |
2 |
3 |
4 |
5 |
6 |
7 |
чо
II
со |
40
II
•С |
10 = 5-7 |
11 = 5-4 |
12 |
13 |
|
Стиральные машины |
3200 |
3500 |
22 |
20 |
23 |
25 |
506 |
550 |
500 |
-2 |
|
|
Холодиль
ники |
4200 |
3800 |
30 |
25 |
31 |
27 |
930 |
810 |
675 |
-5 |
|
х |
|
Телевизоры |
1800 |
2150 |
14 |
10 |
13 |
16 |
182 |
224 |
160 |
-4 |
|
|
|
Микроволновые печи |
1890 |
1500 |
16 |
12 |
14 |
11 |
224 |
176 |
132 |
-4 |
|
|
Электри
ческие
плиты |
2150 |
2600 |
25 |
13 |
16 |
19 |
400 |
475 |
247 |
-12 |
|
|
|
Чайники |
450 |
300 |
15 |
10 |
3 |
2 |
45 |
30 |
20 |
-5 |
|
|
|
Итого |
13690 |
13850 |
|
|
100 |
100 |
22,87 |
22,65 |
17,34 |
-5,53 |
-0,22 |
-5,31 |
|
Задача 9
Кратная модель
На основе приведенных в табл. 58 данных, которые характеризуют использование предметов труда на предприятии, выполнить следующее:
1. Составить обобщенную таблицу, рассчитать материалоемкость (затраты предметов труда на одну гривню товарной продукции в копейках).
2. Проанализировать полученные показатели, используя метод цепных подстановок и метод разниц, определить влияние на изменение выпуска продукции в отчетном периоде по сравнению с плановым и предыдущим периодом следующих факторов:
• изменение количества предметов труда, использованных на производстве;
• изменение материалоемкости.
3. Сделать выводы.
Решение
Таблица 58
Исходные данные, тыс.грн. |
|
Показатель |
Предыдущий |
Отчетный период |
|
период |
план |
факт |
|
Товарная продукция |
3590 |
3700 |
3980 |
|
Затраты предметов труда на производство продукции |
2260 |
2430 |
2600 |
|
1. Находим недостающие показатели (материалоемкость — затраты предметов труда на одну гривню товарной продукции в копейках; абсолютное и относительное отклонения фактических значений от значений предыдущего периода и плановых показателей. Заполним обобщенную табл. 59.
2. Построим модель результативного показателя (материалоемкость):
Х = ВІА,
|
Обобщенные данные |
Показа
тель |
Обо-
зна-
че-
ние |
Преды
дущий
период |
Отчетный
период |
Отклонение
по предыдущему
периоду |
Отклонение
плановых
значений от фактических |
|
план |
факт |
абсо
лют-
ное |
отно-
ситель-
ное, % |
абсо
лют-
ное |
отно-
ситель-
ное, % |
|
і |
2 |
3 |
4 |
5 |
6 = 5-3 |
7=6/3 • 100 |
8=5-4 |
9=8/4-100 |
Матери
алоем
кость |
Х |
62,9526 |
65,6756 |
65,3266 |
2,374 |
3,77 |
-0,349 |
-0,53 |
|
Т овар-ная продукция |
А |
3590 |
3700 |
3980 |
390 |
10,86 |
280 |
7,567 |
Затр аты предметов труда на
произ
водство
продук
ции |
В |
2260 |
2430 |
2600 |
340 |
15,044 |
170 |
6,995 |
|
где В — затраты предметов труда на производство продукции; А — товарная продукция.
Как видим, наша модель кратная, т. е. зависимость результативного показателя от факторов выражается в виде частного деления.
2.1. Проведем факторный анализ изменения результативного показателя путем сравнения фактических данных за отчетный период с данными предыдущего периода, используя метод цепной постановки;
Т0 = В0/А0 = (2260/3590) • 100 = 62,952664 коп.;
Х01 = В1/А0 = (2600/3590) • 100 = 72,42339 коп.;
Х1 = В1/А1 = (2600/3980) • 100 = 65,32663 коп.;
АХВ = Х01 - Х0 = 72,42339 - 62,952664 = 9,470726 — изменение материалоемкости за счет фактора В;
ДХа = X1 - Х01 = 65,32663 - 72,42339 = -7,09676 — увеличение затрат предметов труда на производство товарной продукции за счет фактора А;
ДХ = X1 - X1 = 65,32663 - 62,952664 = АХв + ДХа =
= 9,470726 - 7,09676 = 2,37 коп.
2.2. Проведем факторный анализ изменения результативного показателя путем сравнения фактических данных за отчетный период с плановыми данными, используя метод цепной постановки:
Х0 = В0/А0 = (2430/3700) • 100 = 65,67567 коп.;
X0j = В1/А0 = (2600/3700) • 100 = 70,27027 коп.;
X1 = В1/А1 = (2600/3980) • 100 = 65,32663 коп.;
ДХв = X01 - Х0 = 70,27027 - 65,67567 = 4,5946 — изменение результативного показателя за счет фактора В;
ДХа = Xj - X0j = 65,32663 - 70,27027 = -4,94364 — изменение результативного показателя за счет фактора А;
ДХ = X - х1 = 65,32663 - 65,67567 = ДХв + ДХа = 4,5946 - 4,94364 = = 0,349 коп.
3. Выводы:
1. Фактическая материалоемкость за отчетный период относительно предыдущего возросла на 2,37 коп. (с 62,952664 до 65,3266 коп.). Это свидетельствует об увеличении затрат предметов труда на производство товарной продукции за отчетный период. Это увеличение обусловлено влиянием двух факторов:
• затраты предметов труда на производство товарной продукции возросли на 340 грн (с 2260 до 2600 грн), или на 15 %. Увеличение затрат дало прирост материалоемкости на 9,47075 коп.;
• увеличение выпуска товарной продукции на 390 грн (с 3590 до 3980 грн), или на 10 %, снизило материалоемкость на 7,09676 коп.
2. Фактическая материалоемкость в отчетном периоде уменьшилась на 0,349 коп. относительно плановых показателей (с 65,67 до 65,3266 коп.). Уменьшение доли затрат в произведенной продукции обусловлено действием двух факторов:
• затраты предметов труда на производство товарной продукции увеличились на 170 грн (с 2430 запланированных до 2600 грн фактически полученных). Из-за увеличения затрат материалоемкость увеличилась на 4,94364 коп. в одной гривне, затраченной на производство продукции;
• увеличение производства товарной продукции на 240 грн (с 3700 до 3980 грн) привело к снижению доли материалоемкости в произведенной продукции на 4,5946 коп.
Задача 10
Метод Дельфи
Выполнить комплексную оценку совокупности изучаемых объектов и сравнительный анализ хозяйственной деятельности с использованием метода Дельфи.
Решение
1. Найдем максимальное значение по каждому изучаемому показателю и выделим его в матрице исходных данных (табл. 60).
Таблица 60
Матрица исходных данных, % |
|
Предприятие |
Степень выполнения плана |
Динамика |
дохода
от реализации
товаров |
чистой
прибыли |
произво
дительности
труда |
фондо
отдачи
основных
средств |
оборотных
средств |
|
А |
102,5 |
84,4 |
98,6 |
119,1 |
103,1 |
|
Б |
87,3 |
47,2 |
86,2 |
104,5 |
94,0 |
|
В |
95,7 |
104,5 |
106,7 |
74,3 |
111,2 |
|
Г |
110,6 |
114,7 |
105,9 |
87,7 |
106,3 |
|
Д |
106,2 |
96,0 |
111,5 |
98,6 |
88,9 |
|
Е |
113,0 |
90,3 |
102,3 |
114,2 |
64,0 |
|
Ж |
104,3 |
60,1 |
104,7 |
90,0 |
102,7 |
|
2. Значение каждого показателя из матрицы исходных данных разделим на максимальное значение изучаемого показателя. Например, по степени выполнения плана товарооборота 102,5 : 113 = 0,907 и т. д.
Результаты полученных расчетов внесем в матрицу координат (табл. 61).
Матрица координат
Таблица 61 |
|
Предприятие |
Степень выполнения плана |
Динамика |
дохода
от реализации
товаров |
чистой
прибыли |
произво
дительности
труда |
фондо
отдачи
основных
средств |
оборотных
средств |
|
А |
0,907 |
0,736 |
0,884 |
1,0 |
0,927 |
|
Б |
0,773 |
0,412 |
0,773 |
0,877 |
0,845 |
|
В |
0,847 |
0,911 |
0,957 |
0,624 |
1,0 |
|
Г |
0,979 |
1,0 |
0,950 |
0,736 |
0,956 |
|
Д |
0,940 |
0,837 |
1,0 |
0,828 |
0,799 |
|
Е |
1,0 |
0,787 |
0,917 |
0,959 |
0,576 |
|
Ж |
0,923 |
0,524 |
0,939 |
0,756 |
0,924 |
|
3. Значение каждого показателя в матрице координат возведем в квадрат и полученные данные внесем в матрицу квадратов (табл. 62).
4. Возведенные в квадрат данные по каждому показателю просуммируем по строке, т. е. по каждому изучаемому предприятию. Например, по предприятию А: 0,823 + 0,542 + 0,781+ 1,0 + 0,859 = 4,005 и т. д.
5. В матрице квадратов (табл. 62) по сумме баллов присвоено призовое место каждому предприятию, однако здесь не учитывалась значимость используемых оценочных показателей (все они считались равнозначными).
6. Для уточнения результатов присуждения призового места воспользуемся экспертной оценкой значимости каждого взятого для расчетов показателя и заполним табл. 63.
Справка. Для оценки значимости показателя эксперты используют
пятибалльную шкалу:
Матрица квадратов
Пред
приятие |
Степень выполнения плана |
Динамика |
Сумма
баллов |
Призо
вое
место |
дохода
от реализации
товаров |
чистой
прибыли |
произ
води-
тельно-
сти
труда |
фондо
отдачи
основ
ных
средств |
оборот
ных
средств |
|
А |
0,823 |
0,542 |
0,781 |
1,0 |
0,859 |
4,005 |
2 |
|
Б |
0,597 |
0,170 |
0,598 |
0,769 |
0,714 |
2,848 |
7 |
|
В |
0,717 |
0,830 |
0,916 |
0,389 |
1,0 |
3,852 |
4 |
|
Г |
0,958 |
1,0 |
0,903 |
0,542 |
0,914 |
4,317 |
1 |
|
Д |
0,884 |
0,701 |
1,0 |
0,689 |
0,638 |
3,909 |
3 |
|
Е |
1,0 |
0,619 |
0,841 |
0,920 |
0,332 |
3,712 |
5 |
|
Ж |
0,852 |
0,276 |
0,882 |
0,572 |
0,854 |
3,436 |
6 |
|
|
Таблица 63 |
Матрица взвешенных величин
Пред
приятие |
Степень выполнения плана |
Динамика |
Сумма
баллов |
Призо
вое
место |
дохода
от реализации
товаров |
чистой
прибыли |
произ
води-
тельно-
сти
труда |
фондо
отдачи
основ
ных
средств |
оборот
ных
средств |
|
А |
3,704 |
2,710 |
3,124 |
2,000 |
2,577 |
14,115 |
4 |
|
Б |
2,687 |
0,850 |
2,392 |
1,538 |
2,142 |
9,609 |
7 |
|
В |
3,227 |
4,150 |
3,664 |
0,778 |
3,000 |
14,819 |
2 |
|
Г |
4,311 |
5,000 |
3,612 |
1,084 |
2,742 |
16,749 |
1 |
|
Д |
3,978 |
3,505 |
4,000 |
1,372 |
1,914 |
14,769 |
3 |
|
Е |
4,500 |
3,095 |
3,364 |
1,840 |
0,996 |
13,795 |
5 |
|
Ж |
3,834 |
1,380 |
3,528 |
1,144 |
2,562 |
12,448 |
6 |
7. Взвесим данные из матрицы квадратов по балльной оценке каждого показателя и просуммируем полученные данные по каждому изучаемому предприятию (по строке). Например, по предприятию А: 0,823 • 4,5 + 0,542 • 5 + 0,781 • 4 + 1 • 2 + 0,859 • 3 = 14,115 и т. д.
8. Сравним призовые места, рассчитанные без экспертной оценки показателей, с призовыми местами, рассчитанными с учетом экспер-ной оценки, и заполним табл. 64.
Таблица 64
Сравнительные данные призового места |
|
|
Призовое место, рассчитанное |
|
Предприятие |
без учета экспертной |
с учетом экспертной |
|
|
оценки |
оценки |
|
А |
2 |
4 |
|
Б |
7 |
7 |
|
В |
4 |
2 |
|
Г |
1 |
1 |
|
Д |
3 |
3 |
|
Е |
5 |
5 |
|
Ж |
6 |
6 |
|
Вывод. Для проведения сравнительной оценки семи предприятий использовано пять оценочных показателей. Расчеты, проведенные с использованием метода математического анализа, показали, что более точное распределение мест дал метод Дельфи, где учтена значимость показателей, используемых для сравнительной оценки предприятий.
Задача 11
Метод комплексной оценки деятельности предприятий.
Метод суммы мест и метод расстояний
В табл. 65 приведены исходные данные, характеризующие хозяйственную деятельность предприятий. Используя эти показатели, рассчитать интегральный показатель комплексной оценки деятельности предприятия. На основе этой информации проранжировать предприятия и выбрать лучшее.
Исходные данные
Предприя
тие |
Динамика, % |
валового дохода
от реализации
товаров |
прибыли до налогообло
жения |
оборачиваемости
капитала |
уровня издержек
обращения |
уровня
обязательных
платежей |
производитель
ности труда |
уровня
материальных
затрат |
фондоотдачи
основных фондов |
|
і |
97,0 |
101,4 |
103,1 |
103,8 |
110,4 |
99,6 |
103,1 |
99,8 |
|
2 |
101,2 |
100,0 |
89,0 |
100,4 |
100,0 |
88,0 |
103,4 |
100,0 |
|
3 |
99,8 |
100,1 |
98,0 |
93,0 |
105,4 |
108,0 |
89,9 |
104,0 |
|
4 |
115,2 |
102,5 |
110,4 |
105,4 |
95,6 |
109,4 |
104,3 |
105,4 |
|
5 |
110,2 |
108,4 |
108,5 |
103,0 |
99,4 |
105,1 |
103,5 |
108,4 |
|
6 |
103,4 |
103,3 |
112,4 |
113,4 |
98,0 |
100,1 |
102,4 |
103,4 |
Стимулиру
ющее
напр явление показателя |
+ |
+ |
+ |
|
|
+ |
|
+ |
|
Эталон |
115,2 |
108,4 |
112,4 |
93,0 |
95,6 |
109,4 |
89,9 |
108,4 |
Решение
Проранжируем предприятия и заполним табл. 66. Например, по объему валового дохода первое место займет предприятие 4 с максимальной динамикой роста дохода (115,2 %); по показателю динамики уровня издержек обращения первое место займет предприятие 3, у которого наблюдается динамика снижения уровня (93 %).
Первое место поделили предприятия 4 и 5, которые набрали равное количество баллов (по 21 баллу), второе место заняло предприятие 6 (24 балла) и т. д.
Определение призового места по показателям предприятий
|
Таблица 66 |
Пред
приятие |
Динамика, % |
Сумма
мест |
Призо
вое
место |
валового дохода
от реализации
товаров |
прибыли до налогообложения |
оборачиваемости
капитала |
уровня издержек
обращения |
уровня обязатель
ных платежей |
производитель
ности труда |
уровня материаль
ных затрат |
фондоотдачи
основных фондов |
|
і |
6 |
4 |
4 |
4 |
6 |
5 |
3 |
6 |
38 |
5 |
|
2 |
4 |
6 |
6 |
2 |
4 |
6 |
4 |
5 |
37 |
4 |
|
3 |
5 |
5 |
5 |
і |
5 |
2 |
і |
3 |
27 |
3 |
|
4 |
і |
3 |
2 |
5 |
і |
і |
6 |
2 |
21 |
1 |
|
5 |
2 |
і |
3 |
3 |
3 |
3 |
5 |
і |
21 |
1 |
|
6 |
3 |
2 |
і |
6 |
2 |
4 |
2 |
4 |
24 |
2 |
|
Обобщенные данные
|
Таблица 67 |
|
Предприятие |
Расстояние до эталона |
Место |
|
1 |
33,56 |
5 |
|
2 |
40,30 |
6 |
|
3 |
25,12 |
3 |
|
4 |
20,22 |
1 |
|
5 |
22,73 |
2 |
|
6 |
29,24 |
4 |
|
Используя цифровые значения показателей, приведенные в табл. 65, решим задачу методом расстояния до эталона для предприятия 1:
r = (115,2 - 97,0 )2 +(108,4 -101,4)2 +(112,4 -103,1)2 +
+ (93,0 -103,8)2 +(95,6 -110,4)2 + (109,4 - 99,6)2 +
+ (89,9 -103,1)2 + (108,4 - 99,8)2 = 33,56.
R =4r.
Аналогично рассчитаем расстояние до эталона для остальных пяти предприятий и заполним табл. 67.
Вывод. Наименьшее отклонение показателей предприятий от эталона имеет предприятие 4, которое по праву заняло первое место.
Раздел 3
ЭКОНОМИЧЕСКИЙ АНАЛИЗ И ПРОГНОЗИРОВАНИЕ НА МАКРОУРОВНЕ
3.1. Существующая информационная база и подходы к анализу на макроуровне
Первоисточником всех анализируемых показателей является отчетность предприятий об их промышленной деятельности. Если анализ и имитационное прогнозирование проводятся в масштабе области (в том числе в масштабе Автономной Республики Крым), то непосредственным источником информации должны служить интегрированные (сводные) данные по области, собираемые облстатуправления-ми. Если же анализ и имитационное прогнозирование проводятся в масштабе всей страны, то используются интегрированные данные по Украине в целом, собираемые Министерством статистики Украины и его Вычислительным центром.
В существующей отчетности, интегрированной по областям и Украине в целом, все предприятия, производящие промышленную продукцию, группируются по четырем признакам.
1. По формам собственности и ведомственной подчиненности (включая предприятия Украины, расположенные на территории других государств, и предприятия других государств на территории Украины); такой сводной формой по стране являются, в частности, формы С-1 и Н-3М.
2. По отраслевой принадлежности предприятий. Здесь имеются в виду планируемые (или, иначе, хозяйственные, смешанные) отрасли, отражаемые в формах С-0, N 11, Н-3, N 15 и др.
В отличие от чистых планируемые отрасли формируются в облстат-управлениях из предприятий, которые в полном своем составе включаются в ту отрасль (и подотрасль), к которой относится наибольшая часть продукции, производимой предприятием, независимо от ведомственной подчиненности предприятия и от того, что в составе продукции предприятия имеется продукция, относящаяся к другим отраслям. Таким образом, планируемая отрасль содержит в себе элементы других отраслей (поэтому ее часто называют смешанной). Суммарное количество предприятий, входящих в состав смешанных отраслей, равно реально существующему числу предприятий в промышленности в целом.
Чистая отрасль — это совокупность производства однородных (по отраслевой принадлежности) продуктов. Поскольку многие предприятия вырабатывают продукцию нескольких отраслей, то чистая отрасль состоит как из целых предприятий, так и из их частей (если, например, предприятие, в котором наибольшая доля продукции относится к пищевой промышленности, имеет еще механический цех и электростанцию, то по существующим в статистике правилам формирования чистых отраслей продукция этого предприятия будет распределена между тремя отраслями: пищевой, металлообрабатывающей и энергетикой). Таким образом, чистая отрасль — это чисто собирательная экономическая совокупность, однородная по отраслевому признаку, но включающая “кусочки” реально существующих предприятий. Число предприятий, включаемых статистикой в чистую отрасль, обычно не ставится, так как это будет не число предприятий, а число “кусочков” предприятий, и сумма этих “кусочков” по всем чистым отраслям была бы в несколько раз больше реально существующего количества предприятий. По содержанию регулярной статотчетности предприятий чистые отрасли можно сформировать только по объему валовой продукции, объему капитальных вложений и вводу основных фондов (табл. 9, лист 1-1, форма 2-КС). Кроме того, Министерство статистики Украины составляет по чистым отраслям межотраслевой баланс (МОБ) производства и распределения продукции, включая все отрасли и сферы народного хозяйства. Однако составление МОБ опаздывает почти на год по сравнению с остальной сводной отчетностью.
Планирование (прогнозирование) по чистым отраслям до настоящего времени не производилось.
В форме С-0 по Украине числится 16 отраслей и 149 подотраслей; кроме того, выделяются две обобщенные группы: добывающая и обрабатывающая промышленности; следует учитывать, что в большинстве форм отчетности применяется перечень отраслей и подотраслей, указанный в форме С-0, но в отчетности по капитальным вложениям (таблицы 9, 10, форма 2-КС) он существенно отличается и по составу предприятий, включаемых в эти отрасли.
3. По территориальному признаку — все промышленное производство, расположенное на территории Украины, отражается в целом по стране, областям (в том числе по Автономной Республике Крым) и городам Киеву и Севастополю.
4. По экономико-статистическим признакам. В статистической отчетности все предприятия, производящие промышленную продукцию, группируются в пять кругов:
• вся промышленность страны без промышленности колхозов (основные и подсобные промышленные производства);
• промышленность предприятий, находящихся на самостоятельном балансе (основные);
• промышленное производство, находящееся на балансе непромышленных предприятий, организаций (подсобное);
• промышленное производство колхозов;
• вся промышленность страны (суммируется по всем четырем названным экономико-статистическим признакам).
Эти четыре признака взаимопроникаемы, поэтому количество возможных комбинаций группировок предприятий по этим признакам очень велико. Однако сводная статотчетность дается только по части этих комбинаций: например, сводная отчетность о наличии, составе и движении промышленно-производственных основных фондов (ППОФ) дается по форме № 11, где учитываются только предприятия, находящиеся на самостоятельном балансе. Круг (число и состав) предприятий, входящих в каждую комбинацию, учитываемую в сводной статформе, может быть самым различным, и показатели развития промышленности по этим кругам также самые различные.
Состав предприятий любого исследуемого круга от года к году меняется. Это обусловлено либо организационными причинами (слияние или разъединение предприятий, переход их в другой круг или поступление из других кругов вследствие изменения принадлежности), либо “физическими” (ввод новых предприятий, расширение действующих, ликвидация устаревших). Кроме того, финансовыми и статистическими органами иногда вносятся изменения в порядок исчисления (учета) показателей, что так же, как и состав предприятий исследуемого круга, оказывает заметное влияние на абсолютную величину и динамику показателей.
В соответствии с изложенным в статистике принято понятие методологии учета, которое (согласно применению этого термина в формах С-0 и С-1) учитывает изменения в составе исследуемого круга по организационным причинам и изменения в порядке исчисления показателей. В этом смысле и необходимо применять термин “методология учета.
Важными являются понятия “структурные сдвиги”, “изменение структуры”, которые в существующей экономической литературе и методиках недостаточно четки, что недопустимо. Поэтому необходимо различать следующие структурные сдвиги.
Структурные сдвиги организационного характера, возникающие в результате поступления или выбытия предприятий при передаче их с баланса на баланс, объединения или разъединения предприятий в составе исследуемого круга по сравнению с предыдущим периодом, входят в понятие методологии учета и выявляются по отчетности за два смежных года.
Термины “изменение структуры производства”, “структура производства” будем применять для оценки изменения доли стоимостного выражения объема производства (в виде валовой, товарной, чистой или условно чистой продукции) каждой составляющей исследуемого круга в общем объеме производства по этому кругу; частным случаем термина “структура производства” будем считать термин “структура производимой продукции”, которым будем называть изменения ассортимента продукции в стоимостном, натуральном или условно натуральном выражении (например, в тоннах условного топлива или в калориях).
Термин “изменения структуры распределения производственных ресурсов” (основных фондов, численности персонала, оборотных средств) будем применять для оценки изменения доли данного вида производственных ресурсов по какой-то части исследуемого круга в общем объеме этого ресурса по всему кругу.
Термин “изменение структуры состава производственного ресурса” данного вида будем применять, когда речь идет о поэлементном составе этого ресурса (например, доля активной и пассивной части в стоимости основных фондов или доля рабочих, ИТР в численности промышленно-производственного персонала) в целом по изучаемому кругу.
Все эти круги, отражаемые в сводной статистической отчетности, представляют собой экономические совокупности большего или меньшего числа тех или иных предприятий. Эти совокупности могут при анализе рассматриваться двояко: либо как неделимая экономическая единица (“одной строкой”), либо как экономическая совокупность, т. е. как сумма ее составляющих (“сумма строк”). При анализе необходимо четко определять, какой аспект имеется в виду, поскольку некоторые методы анализа динамики показателей для экономической единицы и экономической совокупности различны.
Все эти структурные изменения должны учитываться при анализе показателей круга, рассматриваемого как экономическая совокупность его составляющих (подотраслей, предприятий).
Если данный круг предприятий рассматривается в целом (одной строкой), то их показатели берутся для исследования в целом по этому кругу (например, объем товарной продукции или другой объемный показатель по этому кругу не рассматриваются как состоящие из показателей отдельных предприятий, входящих в этот круг). Ясно, что при таком исследовании понятия структуры производства, структуры размещения производственных ресурсов отпадают.
С позиций методики анализа все экономические показатели, содержащиеся в статотчетности, можно распределить на три категории:
1) объемные (количественные) показатели, объединенные в три группы:
• показатели, характеризующие результаты производства за период; сюда относятся все виды стоимостной, натуральной и условной оценки объема продукции за период;
• показатели, характеризующие объемы текущих затрат (используемых ресурсов), формирующих себестоимость продукции;
• показатели, характеризующие объемы использованных ресурсов всех видов в их наличии на начало, конец периода и в среднем за период (среднегодовые объемы основных фондов, среднегодовая численность персонала, среднегодовые мощности), а также объемы затраченных капитальных вложений;
2) качественные показатели, которые полностью определяются названными выше объемными показателями и служат для оценки эффективности (отдачи) использованных ресурсов; эти показатели представляют собой частное от деления годовых результатов производства на текущие затраты или на среднегодовой объем использованного ресурса данного вида; может применяться и обратный показатель затрат ресурсов на единицу продукции (такой, например, как затраты на денежную единицу продукции);
3) структурные показатели, характеризующие названные выше виды структур и влияние структурных изменений на показатели развития экономической совокупности; эти показатели также можно отнести к качественным показателям, хотя они и не характеризуют прямо эффективность производства.
Показатели в статформах (как объемные, так и качественные, как стоимостные, так и выраженные в физических единицах) могут быть даны либо в сопоставимом, либо в фактическом их значении, либо в том и другом виде.
Для сопоставимости стоимостных показателей в динамике их выражают в единой методологии и в одних неизменных ценах; для сопоставимости численности персонала в динамике численность выражают в единой методологии. С этой целью в отчетности предприятий и в сводной статотчетности данные по валовой продукции, стоимости основных производственных фондов и численности персонала приводятся за отчетный год в его методологии, а за предыдущий год — в методологии отчетного года. Причем товарная (валовая) продукция в отчете за данный год дается в двух ценах: в действовавших в отчетном году и в неизменных, а за предыдущий (Г-і)-й год дается в этом же отчете в тех же неизменных ценах и в ценах, действовавших в предыдущем году. Затраты на производство и материальные затраты в отчете за данный t-й год в его ценах и методологии отражены как за t-й, так и за (t—1)-й годы.
Такая система сводных отчетных данных позволяет сравнивать и фактические, и сопоставимые показатели. Сопоставимые показатели по ряду лет, выраженные в одних и тех же ценах и методологии, называют динамическими рядами, поскольку отношение показателя за любой t-й год в таком ряду к показателю за предыдущий (Г-1)-й год является темпом (индексом) роста этого показателя за счет роста его объема. Считается, что такой динамический ряд объемных показателей (товарная, валовая, чистая, условно чистая продукции, среднегодовая стоимость ППОФ, среднегодовая численность промышленно-производственного персонала (ППП) и рабочих, материальные затраты, амортизационные отчисления, себестоимость продукции, затраты на производство, прибыль, объем капитальных вложений производственного назначения) характеризует динамику физического объема данного показателя (т. е. его материально-вещественного выражения).
До недавнего времени при анализе отчетных данных и планировании (прогнозировании) экономического развития основное внимание уделялось составлению и анализу именно таких динамических рядов различных показателей, приведенных в сопоставимый вид. Однако абсолютные значения этих сопоставимых показателей являются чисто условными.
Эти значения имели бы место в действительности, если бы условия их формирования (цена, методология учета и т. д.) во всех годах исследуемого периода были бы одинаковыми, т. е. такими, как в году, в методологии которого исчислен динамический ряд. По мере удаления от этого года абсолютная величина сопоставимых показателей все в большей мере отклоняется от фактических данных за те же годы. Эти отклонения особенно быстро (сейчас иногда за неделю) нарастают ныне в условиях “либерализации” цен и ослабления централизованного руководства экономикой. Динамика цен стала решающим фактором производства. Поэтому достоверные, реальные результаты производства сейчас более, чем когда-либо, отражаются фактическими показателями, ибо именно фактические объемы ресурсов, фактические объемы производства в конечном итоге используются обществом для производственного и непроизводственного потребления.
В силу этого необходимо при экономическом анализе одновременно исследовать динамику фактических и сопоставимых показателей — как объемных, так и качественных. При анализе фактических показателей за каждую пару смежных лет (периодов) вычисляется индекс (темп) роста этого показателя, но этот индекс /^ будет характеризовать рост под влиянием всех факторов (роста цен, изменения методологии, “физического” роста, изменения структуры производства и структуры распределения производственных ресурсов), в то время как индекс роста сопоставимых показателей I, как уже упоминалось, характеризует лишь “физический” рост, поскольку влияние остальных (упомянутых выше в скобках) факторов устраняется в процессе расчета сопоставимого показателя.
Отметим, что обязательным условием правильности анализа динамики фактических и сопоставимых факторов является выборка (расчет) их по строго одноименному кругу предприятий за все годы анализируемого периода. Это требует особого внимания к тому, какой круг предприятий охватывает каждая рассматриваемая статформа за каждый год, поскольку (как указывалось выше) эти круги могут быть самыми различными. Если рассматривается статформа, содержащая показатели за два года и более, то следует исходить из того, что составители этой формы (обычно это органы статистики) соблюли указанное условие в рамках данной формы. Но если исследуемый период занимает большее число лет и приходится рассматривать несколько таких форм, обязательно следует убедиться, что во всех этих формах отражаются показатели одного и того же круга предприятий (по четырем признакам, изложенным в начале этого раздела). Определенное усложнение при этом создается тем, что в ныне существующей системе статистики отсутствует сводная статформа, где приводятся все основные показатели в их взаимосвязи по полному кругу предприятий, имеющих промышленное производство.
Например, основная сводная статформа С-0 (С-1) содержит данные о величине и динамике (за два смежных года) объема товарной продукции, численности ППП, стоимости ППОФ, но не содержит данных о затратах на производство (себестоимости) и их составляющих, прибыли, составе ППП и ППОФ, капвложениях, ввозу и вывозу продукции, объеме реализации и т. д. Эти отсутствующие данные имеются в других сводных статформах, но уже по другим кругам предприятий, обычно не совпадающим ни с одним кругом формы С-0 (С-1).
Поэтому перед исследователем стоит задача привести данные других статформ к кругу формы С-0 (С-1), взятой по полному кругу предприятий с учетом колхозной промышленности. Это относится как к фактическим, так и сопоставимым значениям показателей.
Если в течение рассматриваемого периода производилась разовая переоценка производственных фондов или разовый пересмотр всех цен на продукцию, и эти обстоятельства не отражены в форме С-0 (С-1), то должны быть привлечены специальные документы Минстата или Минфина о порядке учета этих пересмотров в показателях.
Индексы (темпы) роста могут рассчитываться и для объемных, и для качественных показателей, причем индекс роста качественного показателя равен частному от деления индексов соответствующих объемных показателей.
Переходя к проблемам анализа показателей экономической совокупности как суммы ее частей, следует предостеречь читателей от смешивания понятий “состав совокупности” и “структура совокупности”. Состав совокупности — это просто перечень включенных в нее частей совокупности, а структура совокупности — это ее долевой состав по частям совокупности по какому-нибудь объемному показателю (объем продукции, стоимость ППОФ, численность персонала).
Анализ показателей экономической совокупности как суммы ее частей состоит из нескольких этапов:
а) анализ по каждой части совокупности отдельно;
б) анализ по совокупности как единого целого (“одной строкой”);
в) анализ по совокупности как результата взаимодействия входящих в нее частей, т. е. анализ влияния структурных изменений в совокупности и влияния каждой части совокупности на показатели совокупности в целом;
г) согласование результатов анализа по этапу “б” с анализом по этапу “в”.
Анализ по этапам “а” и “б” выполняется одинаковыми методами и излагается в п. 3.2.1-3.2.6, анализ по этапам “в”, “г” — в п. 3.2.7.
Предметом анализа являются объемные и качественные показатели.
Объемные показатели, выражающие результат производства (объемы продукции и прибыли), характеризуют эффект производства (абсолютную величину этого эффекта). Однако очевидно, что сами по себе эти объемы не позволяют судить о том, какова была эффективность производства, которая определяется соотношением между результатом (эффектом) производства и величиной используемых ресурсов, полностью расходуемых (это все виды затрат на производство) и примененных, которые не расходуются (точнее, расходуются лишь частично и восстанавливают свою стоимость). Это основные и оборотные фонды и промышленно-производственный персонал.
До настоящего времени в экономике промышленности, статистике промышленности не выработано общепризнанного метода оценки эффективности промышленного производства по совокупному объему примененных и расходуемых ресурсов. Применяются частные показатели эффективности, в которых результат производства делится отдельно на объем каждого вида (ресурса) или наоборот. В итоге получаются различные оценки эффективности.
Однако до сего времени и на предприятиях, и в статистических органах, и в Министерстве экономики эффективность производства оценивается, как и раньше, по частным показателям. Поэтому настоящая методика анализа также ориентирована на эти показатели, систематизированный перечень которых приведен в табл. 68.
Кроме показателей, указанных в этой таблице, следует, учитывая переход к рыночной экономике, ввести показатель прибыли на вложенный капитал, т. е. отношение прибыли к сумме основных фондов и оборотных средств, причем прибыль следует брать как от производства, так и от реализации.
Показатели и их условные обозначения, указанные в табл. 68, будут использоваться в последующих параграфах. При этом, поскольку многие методы анализа оказываются одинаковыми для ряда показателей, будут применяться следующие общие обозначения.
Обозначение В относится к показателю, динамику которого мы исследуем в зависимости от факторов (других показателей), его образующих ( х и у ), в мультипликативной связи В = xy или в аддитивной связи В = х + у.
Символ б проставляется внизу справа от основного и обозначает базовый год временного ряда (Вб), символ п — последний отчетный год временного ряда (Bn).
Символ е относится к любому году в пределах от “б” до “n”.
Символ А означает алгебраический прирост любого показателя (например, АВ = Вп - Вб).
Символ d означает долю того или иного объемного показателя в другом показателе или сумме таких показателей по частям совокупности.
Перечень основных экономических показателей, используемых в анализе
302
|
Таблица 68 |
Виды
ресурсов и
результата
производ
ства |
Наименование
объемного
показателя |
Условное
обозна
чение |
Частные показатели эффективности использования ресурсов |
|
Прямые (производство продукции, прибыли на единицу ресурса) |
Обратные (затраты ресурса на единицу продукции, прибыли) |
Наименование
показателя |
Условное
обозначение |
Наименование
показателя |
Условное
обозначение |
|
і |
2 |
3 |
4 |
5 |
6 |
7 |
|
|
Применя- |
Среднегодовая |
|
Выработка Т |
|
Трудоемкость |
|
|
|
емые |
численность ППП |
Ч |
на 1 чел. ППП |
b = T : Ч |
1 ден. ед. Т |
н
II
<
II
'Э- |
|
|
ресурсы |
Среднегодовая |
|
Фондоотдача |
f = T : Фс |
Фондоемкость |
|
-Q
О |
|
стоимость ППП |
ФС |
|
|
1 ден. ед. Т |
Ф = Фс :Т=1 : f |
Рн
>* |
|
Среднегодовая |
|
Выработка Т |
|
Количество Fc |
|
|
(U |
|
стоимость оборот- |
|
на 1 ден. ед. Fc |
|
на 1 ден. ед. Т |
II
Е-ч |
|
(U |
|
ных фондов |
Fc |
(число оборотов Fc) |
X = T : Фс |
|
|
S
(U |
Полно- |
Затраты на произ- |
|
Выработка Т на |
|
Затраты |
c = 1 : Э = |
|
>* |
стью |
водство (себесто- |
|
1 ден. ед. затрат ЗП |
Э = T : ЗП |
на 1 ден. ед. Т |
= ЗП : Т |
|
Ч |
расходу- |
имость) |
ЗП |
|
|
|
|
|
С |
емые |
Материальные |
|
Выработка Т |
|
Материалоемкость |
|
|
К |
ресурсы |
затраты |
M |
на 1 ден. ед. М |
T : M = 1 : m |
1 ден. ед. Т |
m = M : T |
|
|
(затра- |
Фонд оплаты |
|
Выработка Т |
|
Зарплатоемкость |
|
|
|
ты) |
труда ППП |
S |
на 1 ден. ед. S |
T : S = 1 : з |
1 ден. ед. Т |
з = S : T |
|
|
|
Отчисления от |
|
|
|
|
|
|
|
|
фонда оплаты труда |
Q = qs |
|
|
|
|
|
|
|
Амортизационные |
|
Выработка Т |
|
Амортизация |
|
|
|
|
отчисления |
А = аФс |
на 1 ден. ед. A |
4
II
P |
на 1 ден. ед. T |
а=А:Т=аф |
|
303
|
1 |
2 |
3 |
4 |
5 |
6 |
7 |
|
Стоимо- |
Товарная продукция |
T |
|
|
|
|
|
стной объем |
Чистая продукция |
D |
Отношение D : Т |
|
|
|
|
продук- |
Условно чистая |
|
|
|
|
|
|
ции |
продукция (добав- |
|
|
|
|
|
|
|
ленная стоимость) |
U |
Отношение U : Т |
|
|
|
|
|
Объем реализации |
R |
Отношение R : Т |
У
II |
Отношение Т : R |
1dR |
|
Прибыль |
Прибыль от произ- |
П=Т-ЗП |
Рентабельность к ЗП |
Рз = П : ЗП |
Затраты на |
|
|
и ее распре- |
водства |
|
|
|
1 ден. ед. прибыли |
|
|
деление |
Выплаты персоналу |
|
|
|
от производства |
1/Рз |
|
|
из прибыли |
SW |
|
|
|
|
|
|
Штрафы и пени |
|
|
|
|
|
|
|
(сальдо) |
Ш |
|
|
Доля Ш в П |
е;
и
ЁЗ
fc] |
|
|
Налоги из прибыли |
"и |
|
|
Доля "и в П |
dN = Nn : П |
|
|
Прибыль от реали- |
|
|
|
|
|
|
|
зации |
П |
Отношение Пr : П |
II |
Отношение П : Пr |
|
Точка над показателем означает, что он является итогом (алгебраической суммой для объемных показателей и взвешенной суммой для
качественных показателей) по частям совокупности: Бб = ^ Бб,.
І
Обозначения i относятся к составным частям экономической совокупности.
Символ W обозначает тот объемный показатель, по которому определяется структура совокупности.
3.2. Общие методы анализа показателей развития экономики промышленности
3.2.1. Расчет динамического ряда в сопоставимых значениях по экономической единице в целом
Поскольку форма С-0 (С-1) годовая, рассмотрим расчет динамического ряда от года к году (хотя в принципе такой ряд может составляться и от квартала к кварталу, от месяца к месяцу — лишь бы были необходимые статистические данные).
Ниже излагаются соображения, касающиеся объемных показателей, к которым относятся товарная (валовая) продукция, стоимость промышленно-производственных фондов, численность персонала и рабочих, материальные затраты, амортизационные отчисления, чистая и условно чистая продукция, себестоимость всей продукции, прибыль, капитальные вложения. Из числа этих показателей только по первым четырем в регулярной отчетности имелись сопоставимые исходные данные, а по кругу С-0 (С-1) имеются данные только по первым трем показателям.
Между индексом изменения фактической величины объемных отчетных стоимостных показателей /^, который называют интегральным индексом, и индексом изменения сопоставимой величины этих же показателей / (индекс сопоставимого или физического объема показателя) существует такая связь:
= Іц Ім I, (21)
где Іц — индекс роста цен; Ім — индекс изменения методологии учета. Индекс структуры в этой формуле отсутствует, поскольку рассматриваются показатели экономической единицы в целом.
В применении к численности персонала формула (21) используется без Іц.
Эта формула относится как к цепным индексам (т. е. к индексам It,t за каждую пару смежных лет от года (t-1) к году t ), так и к
базовым индексам Iб, 1^ . Базовый индекс равен отношению показателя В'п за последний год исследуемого ряда n лет к показателю Б'б за начальный, базовый год б этого ряда и, следовательно, равен последовательному произведению цепных индексов, которые при этом образуют как бы цепочку:
I‘n = Вп : Вб = І(б+1)I(б+2) ¦ "It ¦¦¦In ¦ (22)
В дальнейшем базовые индексы будут обозначаться с дополнительным символом б сверху справа от основного обозначения (например,
I|, іцб, Iб и т. д.); цепные индексы будут обозначаться с символом
года t справа внизу от основного обозначения (например, I^t, Iц,It
и т. д.). Если формула или логическое рассуждение применимы и к цепным, и к базовым индексам, указанные дополнительные символы применяться не будут.
Принимаются еще следующие дополнительные обозначения:
В — исследуемый показатель; к нему применяются следующие символы:
• слева вверху ставится символ года, в ценах которого выражен показатель В; если приняты неизменные цены, ставится “н”;
• справа вверху располагается символ года, в методологии которого выражается показатель В;
• справа внизу расположен символ года, за который исчислен показатель В.
Символы годов применяются следующие: б, б + 1,..., (t-1), t, (t+1),..., n — годы любого последовательного ряда.
В соответствии с этим показатель В, взятый за (?-1)-й год, по методологии t-го года и в неизменных ценах, будет иметь вид
|
HD t Bt—1 |  |
символ методологии символ отчетного года |
символ цен
Тот же показатель за t-й год, в его методологии и его ценах, будет иметь вид
 |
символ методологии символ отчетного года |
символ цен
¦>
Выбор базового года б, года неизменных цен н и года м, в методологии которого рассчитывается динамический ряд, производится исследователем в зависимости от наличных статистических данных и изменений в ценах. Обычно складывается, что м > н > б.
В принципе, динамический ряд может быть рассчитан в методологии любого года и в любых ценах. Однако рекомендуется рассчитывать ряд в методологии последнего года п, по которому имеется вся необходимая статотчетность, и в качестве неизменных цен принимать либо неизменные цены, отраженные в отчетности этого последнего года п, либо сложившиеся в этом или предыдущем году фактические цены.
Цепные индексы определяются по принятым в статистике формулам:
t Ы
I = Bt
^,t t—ІТІ t— 1
Bt—1
hr t
It=
H Bt—1
H Bl
(23)
(24)
1 Mt
(25)
H B,
Исходя из этих формул и формулы (21) индекс изменения цен I будет выражаться так:
t Tit t—1jit—1
I =_Xl = -Bl ¦ Bt—i
4t I I H nt ' H nt—1' (26)
JMtJt Bt Bt—1
Правая часть формулы (26) есть частное от деления индекса цен t-го года по отношению к неизменным ценам в методологии того же t-го года на индекс цен (t-l)-ro года по отношению к тем же неизменным ценам, но уже в методологии (t-l)-ro года, т. е. получается, что индекс I , вычисляемый по формуле (26), несет в себе и какое-то влияние методологии.
Логически рассуждая, индекс цен можно было бы исчислять и по другой формуле:
(27)
Г = _В_ * "
тем более, что необходимые для этого значения числителя и знаменателя по одному и тому же кругу предприятий имелись в статформах по себестоимости (формы Н-3, № 6, № 15). При таком исчислении индекса I индекс I примет следующее значение:
t-\Bt
н Bt
ІІІ
ItI
(28)
t—1 ту t—1 H ту t
Bt-1 Bt—1
Первая дробь правой части этого выражения представляет собой произведение индекса методологии t—1IMt, выраженного через цены
(t-іуго года ( (—1 :t 1 ) , на индекс физического роста объема производства, также выраженный через цены (г-1)-го годаt 1It =
= t—1 Bt : t—1 Bt— 1 . Вторая дробь правой части равна индексу физического роста I , рассчитанному по формуле (24).
Следовательно, формула (28) может быть записана таким образом:
t—іту t t—1 ту t
Bt—1 Bt
t—іту t—1 t—1 ту t
I' =.
1 Mt
(29)
lIMt (кото-
Bt—1 Bt—1
н Bt H Bh
Из формулы (29) вытекает, что индекс методологии рый, конечно, не равен IMt) корректируется здесь соотношением индексов физического роста, исчисленным по ценам (г-1)-го года и по неизменным ценам. Полученный индекс методологии I'Mt также, как правило, не будет равен I м t.
Если исследователь принимает в качестве неизменных цен фактические цены (г-1)-го года, то в правой части формулы (29) символы цен н заменятся на символы (t-1), а индекс It = НБ( / нБ(-1 превратится в t-1Б\ /t-1БІ-Х и сократится с таким же выражением, находящимся в числителе правой части формулы (29). Вследствие этого I'Mt становится равным t-1IMt, т. е. соответствует формуле (25) с заменой в ней символа цен н на символ (t-1). Аналогично вторая дробь в правой части формулы (26) превращается в единицу, и первая дробь совпадает с формулой (27).
Из изложенного вытекает, что для расчета всех цепных индексов (IXt ’14t ’1Mt ’ It) для каждой пары смежных лет динамического ряда применяются:
1) формулы (21)-(26) — если расчет B ведется в неизменных ценах;
2) те же формулы (формула (26) может быть заменена формулой (27) с заменой в них символа цен н на символ л) — если расчет ведется в фактических ценах какого-либо года (обозначенного через л).
Для составления динамических рядов численности персонала применяются те же формулы с исключением из их состава индексов цен.
Следует учесть, что цепные индексы, полученные первым способом, не совпадут, как правило, с индексами, рассчитанными по второму способу, и это различие будет тем больше, чем больше разница между годом, по которому взяты неизменные цены н, и годом л, а также чем больше число лет (периодов) в динамическом ряду. Это не является недостатком исследования, а просто следствием выбора сопоставимой цены и принятой методики расчетов.
Для вычисления абсолютной сопоставимой величины изучаемого
объемного показателя B по всем годам динамического ряда сначала оп-
_
ределяется этот показатель для того года е , в методологии которого решено рассчитать весь ряд. Если цены (неизменные или фактические), отражающиеся в отчетности за этот же год е, приняты исследователем за основу, то сопоставимое числовое значение Б'е за этот и за предыдущий годы берется из соответствующей статотчетности за этот год е.
Если за основу приняты фактические цены какого-то другого года л данного динамического ряда, то взятая указанным выше способом величина Be за год е пересчитывается в сопоставимое значение В'е (т. е. в цены л года):
В
если л < е , то В'е=-е-; (30)
^ц(л+1)Іц(л+2) ••• Іце
если л > е , то В'е = ВеІц(е+1)1ц(е+2) ••• 1цл • (31)
Сопоставимые значения B для всех остальных лет динамического ряда вычисляются исходя из полученного указанным выше способом значения В'е и полученных индексов физического роста I двумя способами:
1) для лет, меньших е, путем последовательного деления В'е на соответствующее произведение цепных индексов I; для лет, больших е, путем последовательного умножения В'е на соответствующее произведение цепных индексов I;
2) рекуррентным методом, т. е. путем умножения В’еІ(е+1), затем умножения полученного таким образом значения В'(е+1) на І(е+2) и так далее до года п; для лет, предшествующих году е, расчет начинается с деления В'е : Іе, затем деления полученного таким
образом значения В{е-1) на І(е-1) и так далее вплоть до базового года.
Для удобства расчетов рекомендуется составить таблицу индексов It,IMt,Іці и сопоставимых значений В'( по всем годам исследуемого периода (хотя до настоящего времени, пока значения Іц и Ім мало отличались от единицы, обычно ограничивались таблицей со значениями It и В'(). Такая таблица удобна тем, что при прибавлении к временному ряду нового последнего года (п+1) индексы It за все предыдущие годы не изменяются; не изменяются за прошлые годы и значения В'( — если только исследователь не изменил год м, в методологии которого исчисляются показатели, и не изменил цен, принимаемых за неизменные.
Если в составе исследуемой экономической единицы за исследуемый период произошли существенные изменения, должны существовать конкретные указания статорганов о том, как и на основании каких данных может быть учтено влияние таких существенных изменений в расчете индексов и абсолютных объемов показателя В. При отсутствии необходимых данных для этого ряд по такой отрасли или ведомству разрывается и распадается на две части: до указанного изменения и после него. Эти части несопоставимы между собой.
3.2.2. Расчет фактических значений по экономической единице в целом
Принцип расчетов фактических значений объемных показателей (по экономической единице) очень прост:
а) во временной ряд от базового года б до последнего отчетного года n из статформ выписываются абсолютные фактические значения каждого объемного показателя B фактически действовавших цен и других условий каждого года ряда;
б) вычисляются цепные погодовые интегральные индексы /^t роста рассматриваемого показателя путем деления абсолютного значения показателя за год t на аналогичный показатель за предыдущий (Г—1)-й год, а затем и базовый индекс путем умножения цепных.
Прежде чем приступить к этим операциям по показателям, не содержащимся в форме С-0 (С-1), надо привести показатели в сопоставимый вид, как это указано в п. 3.2.4.
При желании в полученную таблицу значений Bt и /^t могут быть внесены рассчитанные ранее (как указано в п. 3.2.1) значения It, I , I , B't; это удобно для сравнения Bt и B't и расчета их изменений под влиянием различных факторов.
Примерный вид такой таблицы и порядок расчетов в ней приведены в конце п. 3.2.5.
3.2.3. Особенности расчета по группам лет
Расчеты по группам лет могут проводиться двумя способами:
а) когда в ряду фактических или сопоставимых показателей оставляются объемные показатели только за последний год каждого (трех-, пяти-, n-летнего) периода;
б) когда за каждый период объемные показатели по объему продукции, прибыли, затратам на производство и всем их элементам вычисляются суммированием соответствующих объемных показателей по годам, входящим в периоды.
Исходным материалом для построения динамических рядов по периодам являются таблицы абсолютных фактических и сопоставимых значений исследуемого объемного показателя В за каждый год исследуемого периода. Расчет таких таблиц выполняется в соответствии с указаниями, изложенным в п. 3.2.1.
При расчетах первым способом индексы от периода к периоду получают путем умножения аналогичных ежегодных индексов каждого периода. Среднегодовые индексы за период получают из данного произведения путем извлечения из него корня той степени, которая равна числу лет в периоде. Для этого находят логарифм произведения годовых индексов и делят его на число лет в периоде. Получив логарифм среднегодового индекса, затем находят значение числа, отвечающего данному логарифму; это число и будет среднегодовым индексом за исследуемый период.
При расчете вторым способом следует поступить так:
• объемы продукции, прибыли, текущих затрат всех видов в целом за период определяются по сумме соответствующих годовых объемов; делением этой суммы на число лет в периоде получают среднегодовой объем за данный период;
• средневзвешенные во времени объемы ресурсов (стоимости ОППФ, численности персонала, оборотных средств), действовавшие в течение данного периода, получают суммированием среднегодовых значений этих ресурсов; делением полученной суммы на число лет в периоде получают среднегодовое значение ресурса за период.
Индекс роста каждого показателя за период получают делением полученного среднегодового показателя за данный период на аналогичный среднегодовой показатель за предыдущий период (среднегодовой индекс при таком способе не исчисляется). Очевидно, что индексы за период, исчисленные по первому и второму способу, будут различными.
Отметим, что первый способ не учитывает уровня объемных показателей во все годы периода, кроме последнего года, поэтому динамику по периодам более правильно оценивать вторым способом.
3.2.4. Перерасчет по сопоставимости объемных показателей различных кругов
Как уже отмечалось, макроуровень отличается от микроуровня многообразием кругов предприятий, показателей, которые отражаются в различных статистических и плановых документах. К сожалению, в заголовках большинства форм отчетности нет четких указаний о том, какой именно круг предприятий учитывается в каждой форме. Поэтому при пользовании формой статистической отчетности следует точно установить круг предприятий, отражаемых в ней. Особенно это относится к виду отрасли (хозяйственная или чистая) и экономико-статистическому признаку (предприятия на самостоятельном балансе; подсобные предприятия; промышленные предприятия колхозов; сумма первых и вторых; сумма первых, вторых и третьих).
Наиболее полной является отчетность по кругу предприятий на самостоятельном балансе; ряд статформ (например, затраты на производство, себестоимость) по кругу подсобных предприятий и промышленности колхозов вообще отсутствуют. Вместе с тем предприятия на самостоятельном балансе как наиболее крупные дают основную часть промышленной продукции и имеют основную часть ППОФ отрасли (ведомства, круга); на этих предприятиях занята подавляющая часть персонала отрасли (ведомства, круга). Доля подсобных промышленных предприятий и предприятий колхозной промышленности в общем объеме этих показателей по отрасли (министерству) является незначительной. Поэтому допустимо (и практикуется) определять отсутствующий в отчетности качественный показатель по кругу, включающему предприятия на самостоятельном балансе плюс подсобные предприятия, или даже этот круг плюс колхозная промышленность, исходя из аналогичного показателя по кругу предприятий на самостоятельном балансе. Делается это путем распространения соответствующего качественного показателя по кругу предприятий на самостоятельном балансе на более широкий круг. К числу таких показателей относятся материалоемкость, зарплатоемкость товарной (валовой) продукции и другие составляющие затрат на рубль товарной продукции, состав и движение ППОФ.
Методика таких перерасчетов объемных показателей с какого-либо круга на круг формы С-0 (С-1) приводится ниже.
Введем следующие обозначения для показателей, отражаемых в сводных статформах (Н-3, форма 15) по затратам на производство (себестоимости) по кругу предприятий, включенных в эти формы: Мк -объем материальных затрат; SR — фонд оплаты труда без выплат из ФМП; Q — отчисления на соцстрахование и другие отчисления от SR, входящие в затраты на производство; Ак — сумма амортизационных отчислений; Тк — объем товарной продукции.
Как известно, эти показатели в форме С-0 (С-1) отсутствуют. Обозначим имеющиеся в форме С-0 (С-1) объем товарной продукции через Т, среднегодовую численность ППП через Ч, стоимость ППОФ на начало года, среднегодовую и на конец года соответственно через Фн,
Ф , Ф .
ск
Тогда объем материальных затрат М для круга формы С-0 (С-1) определяется по формуле
М = МК Т = ткт, (32)
Т к
где тк = Мк : Тк — материалоемкость ден. ед. товарной продукции по кругу форм Н-3, № 15.
Объем фонда оплаты S труда ППП для круга формы С-0 (С-1) определяется по формуле
S = S Т = ЗкТ. (33)
тк
Объем отчислений от S для круга формы С-0 (С-1) определяется по формуле
Q = Qk S = qs, (34)
Sk
где q = Q : SR — норма отчислений от фонда оплаты труда.
Объем амортизационных отчислений А для круга формы С-0 (С-1) определяется по формуле
A = A к Т = аТ, (35)
Т к
где а = A к: Тк — амортизационноемкость Тк.
Как видим, в основе этих формул лежит распространение качественных показателей (тк, зк, q, а), взятых по одному кругу (форм Н-3, № 15...) на другой круг (в данном случае на круг форм С-0 (С-1)).
Формулы (33)-(35) не вполне корректны, поскольку фонд оплаты труда и отчисления от него в большей мере зависят от средней зарплаты и численности ППП, чем от объема товарной продукции. Поэтому сумма амортизационных отчислений в большей мере зависит от нормы амортизационных отчислений и среднегодовой стоимости ППОФ, чем от объема товарной продукции.
Поэтому формулами (33)-(35) рекомендуется пользоваться, когда нет сводных статформ по численности персонала и зарплате (С-2Б, С-2А) и по движению ППОФ (форма 11) или же в качестве сверки данных.
Более корректны следующие формулы:
S = SK4, (36)
где SR — среднегодовая зарплата одного ППП, вычисленная по форме С-2Б (С-2А);
А = аф, (37)
где ак — норма амортизационных отчислений (включая ремонтный фонд), рассчитанная по данным формы 11 (круг которой касается основных предприятий на самостоятельном балансе, причем он к тому же не совпадает с одноименным кругом по форме С-0, С-1).
Объемы ликвидации ППОФ, взаимных передач ППОФ, а также объемы ввода новых фондов по форме С-0 (С-1) не даются, и их надо рассчитывать.
Объем ликвидации Ф1 устаревших ППОФ по кругу формы С-0 (С-1) рассчитывается по формуле
Ф = ІФн, (38)
где l — коэффициент ликвидации устаревших ППОФ — рассчитывается по данным формы 11 делением стоимости ликвидированных ППОФ на стоимость всех ППОФ на начало года.
Объем сальдо ф безвозмездных передач и поступлений ППОФ по кругу формы С-0 (С-1) рассчитывается по формуле
Ф е=?Фн, (39)
где е — отношение объема сальдо безвозмездных передач и поступлений по форме 11 к стоимости всех ППОФ на начало года по этой форме.
Несколько более сложной является формула для определения объема Фь вводимых новых ППОФ по кругу форм С-0, С-1:
|
b |  |
(40)
Ф,
|
Y = |  |
(41)
где
В формуле (41) значения Фс11, Фн11, Фк11 берутся из формы 11; коэффициент у представляет собой пересчет прироста ППОФ за год в среднегодовой прирост.
В формулах (32)-(41) объемные показатели по форме С-0 (С-1) берутся либо в сопоставимом значении — для получения динамического ряда, либо в фактическом значении (в методологии и ценах каждого года) — для получения ряда фактических значений искомых показателей. То же относится к показателю материалоемкости m . Остальные качественные показатели (зк, q, a, a , l, е, у ) вычисляются по их фактическому отчетному значению в их статистических формах за каждый год.
В тех случаях, когда исследуемое ведомство и соответствующая отрасль близки по составу включаемых предприятий, допустимо распространение некоторых (в основном технико-экономических) качественных показателей ведомства на отрасль и наоборот. Однако такой прием в настоящее время мало применим из-за сокращения объектов, включаемых в сводную отчетность по ведомствам.
Технический уровень производства в подсобных промышленных предприятиях и предприятиях колхозной промышленности значительно ниже, чем у предприятий на самостоятельном балансе; возможны также существенные отличия в ассортименте продукции. Поэтому метод распространения качественных показателей предприятий на самостоятельном балансе на подсобную и колхозную промышленность не всегда может дать достаточно точные результаты. Для предотвращения получения в этих случаях нереальных результатов при расчете длительных сопоставимых рядов показатели по подсобным предприятиям и по колхозной промышленности не следует вычислять путем вычитания показателей по предприятиям на самостоятельном балансе из показателей по более широкому кругу. Необходимо делать самостоятельный расчет по каждому кругу отдельно и рассматривать наиболее широкий круг как совокупность более узких кругов. Объемные показатели по такой совокупности определяются как сумма показателей более узких кругов.
3.2.5. Факторный анализ прироста показателей по экономической единице в целом
Под факторным анализом понимают разложение абсолютного или относительного прироста исследуемого показателя (за год или ряд лет) на части, соответствующие влиянию каждого из факторов, от которых зависит формирование этого показателя.
Прежде чем приступить к собственно анализу, необходимо установить характер влияния факторов на исследуемый показатель (является ли это влияние функциональным или относится к стохастическим явлениям) и конкретное выражение этого влияния. Во многих случаях один и тот же показатель в экономической единице (или “одной строкой” по экономической совокупности) может быть представлен функциональной зависимостью и уравнением корреляционной связи. Так, в ряде исследований объем товарной продукции Т выражается в стохастических связях различных видов, коэффициенты которых h определяются корреляционным анализом, например:
T = h0 + ИХЧ + И2Ф ±?,
T = h04 ЬіФкі eht ±?,
где ? — отклонение расчетного значения Т от фактического.
Форму стохастической зависимости и коэффициенты следует определять, руководствуясь методами математической статистики с использованием ЭВМ. Описание таких методов не предусмотрено в настоящем учебном пособии, поскольку по этим вопросам имеется многочисленная литература [11; 27; 31; 33].
Практика, однако, показала, что использование стохастических связей менее предпочтительно, чем функциональных (жестко детерминированных) по следующим причинам:
• определение коэффициентов корреляции h требует использования длительных временных рядов (не менее 10 лет) и значительных затрат времени;
• коэффициенты h при любой форме корреляционной связи требуют немалых затрат труда для интерпретации с существующими (отчетными, плановыми, прогнозируемыми) показателями развития экономики промышленности;
• несмотря на трудоемкость этих методов, они никогда не дают точных результатов, даже за отчетный период;
• при скачкообразных изменениях каких-либо факторов (показателей) в отчетном периоде этот метод вообще неприменим.
Поэтому рассмотрим методику, ориентированную на исследование детерминированных функциональных связей, реально отражаемых в отчетных, плановых, прогнозируемых показателях и основанных на бесспорных экономико-математических взаимосвязях различных факторов (показателей).
Выражение исследуемых показателей (как объемных, так и качественных) в виде тех или иных функций от различных факторов базируется на четко детерминированных экономических и математических взаимосвязях. Например, зависимость объема товарной продукции Т может быть выражена с помощью формулы (1):
Tt : Tt-1 = 1= /цЛЛ •
Исходя из того, что объем продукции Т может быть представлен в зависимости от выработки v рабочего в один час фактической работы и числа этих человеко-часов в году, а фондовооруженность должна выражать обеспеченность реальными мощностями сменного рабочего, можно записать:
Т = v^gPco,
или в индексной форме
IT = IvI % IgIPc1 а,
где ? — коэффициент полезного использования времени рабочим за смену; g — коэффициент использования планового числа рабочих дней в году рабочими; Рс — среднее число рабочих в смене; а — коэффициент сменности.
Возможно и другое выражение для Т:
T = Vc ЩРса, c Ц с
где ?с — фондовооруженность рабочего за смену; Щ — коэффициент использования полной мощности; Ц — средняя цена единицы мощности (стоимость ППОФ, деленная на мощность).
Форму функции для Т можно записать еще многими подобными способами. Это же относится и к другим объемным и качественным показателям. Далее будем через B обозначать любой исследуемый объемный или качественный показатель (а не только объем продукции), прирост которого мы хотим разложить по факторам, влияющим на этот прирост.
Методы факторного анализа зависят от вида функциональной или корреляционной зависимости исследуемого показателя B от различных факторов (х, y, z).
А. РАСЧЕТЫ ДЛЯ АДДИТИВНОЙ ФУНКЦИОНАЛЬНОЙ ЗАВИСИМОСТИ
Если зависимость исследуемого показателя B от факторов является линейной:
B = h0 + hx x + h2 y + h3 z (42)
или представляет собой сумму факторных одночленов:
B = h + h1x2 + hq^y + h3z3, (43)
то влияние факторов х, y, z на прирост Д показателя B определяется просто, точно и бесспорно по приросту каждого фактора: для первого уравнения
ABx = hl (xn - Хб )
Щ = h2 (Уп - Уб ) (44)
aBz = h3 (zn- z6);
ABx = h1 (П - Хб )
для второго уравнения
АБу = h2 (Уп - Уб ) (45)
ABz = h3 (П - 4 )•
В обоих случаях автоматически обеспечивается равенство
АБ = Вп - Вб =ABx +ABy +ABz • (46)
В этих формулах символ п, стоящий справа от основного обозначения показателя или фактора, означает, что данный показатель (фактор) относится к последнему году исследуемого ряда; символ б, расположенный там же, означает, что данный показатель относится к базовому, самому первому году ряда, т. е. году, по которому исчисляются базовые индексы. Символ t относится к любому году, промежуточному между п и б.
Формулы (42)-(46) применимы для объемных и качественных показателей (если суммируемые или вычитаемые показатели имеют одинаковые единицы измерения), для фактических и сопоставимых значений показателей, а также и для пары смежных лет, когда п = t, а б = t - 1.
При этом
Конкретными случаями линейной зависимости для промышленности являются:
І
где М, А, S, Q, П — материальные затраты, амортизационные отчисления, фондооплата труда (без выплат из ФМП), отчисления от S, входящие в затраты на производство, прибыль; Т% — объем товарной продукции всей промышленности (или ее отрасли); i — символ отрасли (подотрасли) промышленности.
Для этих уравнений имеем
АТ = Т„ - Тб =
(Мп -Мб ) + {Ап - Аб ) + ((и - S6 ) + {Qn - Qe ) + (Пп - Пб )= (50)
= АМ +АА + AS + AQ +АП,
АТ% =Т% п - т%, ))(, - т,, )=%АТ,- (5і)
І
Эти формулы действительны, если символ n заменить на символ t, а символ б — на символ (t-і); к ним применима также формула (27), т. е. по каждому фактору сумма его приростов за каждую пару смежных лет равна приросту фактора, исчисленному сразу за весь период лет (от б до n). Аналогично общий прирост Т за период от б до n (АТ = Tn -Тб) будет равен сумме погодовых приростов:
АТ = % (т - т-).
t=б+1
Это важная особенность линейной зависимости, которая отсутствует при мультипликативной связи показателей.
Б. РАСЧЕТЫ ДЛЯ МУЛЬТИПЛИКАТИВНОЙ ФУНКЦИОНАЛЬНОЙ ЗАВИСИМОСТИ
Если зависимость состоит из произведений и частных различных факторов, например:
B = xy, (52)
B = hxyz, (52a)
h_
xyz
B = hxy_
z
(53)
(53a)
то пока не существует официально признанного общего метода точного определения влияния изменения факторов х, y, z на прирост показателя B. Широко применяемый в литературе и в ряде официальных методик цепной метод индексного анализа имеет существенные недостатки. Дело в том, что этот метод требует вести расчеты последовательно, переходя от одного фактора к другому, и результат расчета зависит от места, которое отведено данному фактору в их последовательности. Количество вариантов последовательности тем больше,
чем больше число факторов, влияющих на тот или иной показатель. Количество получаемых вариантных результатов равно N!, где N — число факторов. При двух факторах будет только 2 варианта, при трех — 6, при четырех — 24, при пяти — 120 вариантов. Одновременно возрастает сложность расчетов, которая уже при четырех факторах создает значительные затруднения.
Кроме того, при таком методе всегда получается остаток, величина которого определяется приростами сразу двух, трех и более факторов, поэтому не может быть достаточно обоснованно отнесена на какой-либо один фактор.
Имеется, правда, так называемый логарифмический метод, при котором такого остатка не образуется. Но он не нашел ни широкого, ни официального признания — возможно, из-за того, что в нем теряется экономический смысл (содержание приростов) и заменяется математической абстракцией. Это подтверждается абсурдным результатом для случая, когда IB = 1.
Известны также попытки разработать так называемый интегральный метод разложения прироста исследуемого показателя B при мультипликативной связи факторов, его образующих. Суть такого метода заключается в нахождении полного дифференциала функции B в виде суммы частных дифференциалов по каждому фактору и последующем интегрировании каждого частного дифференциала. Этот метод дает точное и полное разделение общего прироста по факторам и, более того, позволяет учесть неравномерность роста каждого фактора в течение каждого из сравниваемых лет. Однако он не нашел применения из-за сложности и неполной разработанности.
Таким образом, несмотря на указанные недостатки индексного метода, в литературе, статистике и официальных методиках сейчас применяется именно этот метод, когда исследуемый показатель является произведением двух других показателей (см. формулу (52)), один из которых является качественным, а другой — количественным. Отметим, что все объемные экономические показатели и большинство качественных могут быть представлены именно таким образом:
Т = ЦЯ — товарная (валовая) продукция равна произведению цены на физическое количество изделий (для монопродукта).
товарная (валовая) продукция равна произведению выработки на численность персонала;
Аналогично: ЛМЛ
материальные затраты равны материалоемкости 1 грн товарной (валовой) продукции, умноженной на объем валовой продукции;
товарная продукция равна произведению фондоотдачи на объем ППОФ;
стоимость ППОФ равна произведению фондоемкости 1 грн товарной (валовой) продукции на объем последней;
/ т \
ФС
ФС
Фс =
Т =
' т ^
Ч =
С =
с т Л/
Фа_4
Ч
Фс
выработка равна произведению фондоотдачи на фондовооруженность;
численность персонала равна произведению трудоемкости 1 грн валовой продукции на объем последней;
— себестоимость всей товарной продукции равна затратам на 1 грн товарной продукции, умноженным на объем последней.
Методика факторного анализа для всех таких функций одинакова, поскольку они имеют общий вид: В = xy (см. формулу 52)), где B — показатель, прирост которого желательно разбить по факторам; х — качественный фактор; у — объемный (количественный) показатель.
Влияние факторов х, у на исследуемый показатель может оцениваться двумя способами: темпами роста (прироста), абсолютным (алгебраическим) приростом. В обоих случаях сравнивается значение показателя за планируемый (исследуемый) год Bn = xnyn с показателем за базовый год Вб = хбуб. В первом случае рассматривается частное от деления этих выражений:
Bl=х^ь.
вб хб У б
(54)
(54а)
что соответствует индексной форме
В= Чу
Во втором случае рассматривается разность этих выражений:
Вп - Вб = АВ = хпуп - хбуб =
= (хб +Ах )уб +Ау)-ХбУб = УбАх + Хб Ау + АхАу. (55)
Из правой части этого уравнения очевидно, что первый ее член убАх дает прирост показателя B в результате изменения фактора х, взвешенного по базовому значению фактора у; второй член хбАу дает прирост показателя B в результате изменения фактора у, взвешенного по базовому значению фактора х; третий член АхАу отражает прирост показателя B от совместного изменения обоих факторов. Именно такая оценка является правильной, не страдающей никакими допущениями (см. [17]).
Однако в статистике и в официальных методиках оценки приростов третий член правой части выражения (55) присоединяют к влиянию изменений качественного фактора х. При этом правая часть уравнения (55) преобразуется следующим образом:
уб Ах + хб Ау + АхАу =
= (іб + Ау )Ах + хбАу = уп Ах + хбАу. (56)
Следовательно, абсолютный прирост показателя B в результате изменения качественного фактора х рассчитывается по формулам:
АВХ = упАх (57) или ДВХ = Вп - ВбIб = Вб (( -і). (57а)
Эта формула лежит в основе всех официальных методик и плановых расчетов (хотя в ряде случаев она имеет другой вид), когда требуется рассчитать величину экономии или перерасхода какого-либо ресурса, получаемую в году п по сравнению с годом б. Логика этого расчета такова: исходят из гипотетической ситуации, определяя ту величину ресурса B (обозначим ее через Вп), которая потребовалась бы при величине объемного показателя уп , но при базовом значении качественного показателя (хб), который в данном случае должен характеризовать расход исследуемого ресурса на единицу объемного показателя — например, продукции. Очевидно, что Bn = хбyn. Тогда экономия (знак -) или перерасход (знак +) определится из разности
Bn - Bn = ХпУп - ХбУп = УпАх>
т. е. получилось такое же выражение, как в формуле (57).
Здесь получается (как и должно быть), что экономия достигается лишь тогда, когда прирост качественного показателя Ах отрицателен. В этом случае производство тем эффективнее, чем ниже значение качественного показателя (обратная зависимость). Если показатель х выражает прямую эффективность, т. е. отдачу единицы ресурсов, величина которых выступает в знаменателе показателя х в качестве объемного показателя у, то прирост продукции АВх, получаемый по формулам (57) и (57а), называется интенсивным приростом.
Абсолютный прирост показателя B от изменения количественного (объемного) фактора рассчитывается по формулам
АВУ = хбАу (58) или АВУ = Вб (б -1). (58а)
При этом обеспечивается равенство
АВх +АВУ =АВ.
Прирост продукции, получаемый по формулам (58), (58а), — следствие роста объемного показателя, т. е. расходуемых или используемых ресурсов, поэтому такой прирост называют экстенсивным.
Формулы (57) и (58) более четко выражают существо расчета, формулы (57а) и (58а) чаще встречаются в официальных методиках и плановых расчетах; результаты расчетов, конечно, должны быть одинаковыми по формулам обоих видов.
Поскольку эти формулы применяются в действующих официальных методиках, то, несмотря на дефектную их особенность (произвольное отнесение АхАу на счет влияния качественного фактора х), они должны применяться во всех методиках экономического анализа и в системе АСПР для тех случаев, когда исследуемый показатель B выражен произведением качественного фактора х на количественный фактор у. Это же требование относится и к функциям вида B = x/y или B = y/x, которые могут быть представлены так:
|
В = х = х |
' 1' |
, в = У = |
' 1N |
|
У |
,У, |
х |
,х, |
Тогда в первом случае рассматривается не фактор у, а фактор 1/y, во втором случае — не х, а 1/x.
В официальных методиках не содержится указаний о применении цепного индексного метода к разложению прироста исследуемого показателя B, если он выражен в виде произведения (или произведения и частного) трех факторов (см., например, формулы (52а), (53), (54а)) и более.
В табл. 69 приведен условный числовой пример для двухфакторной связи Т = ?Ч, где все показатели уже приведены в сопоставимый вид (или рассматриваются в их фактическом значении); для сокращения таблицы берем небольшой период; расчет ABx и ABy ведется по формулам (57) и (58).
Применив логику изложенного выше цепного (т. е. поэтапно осуществляемого) индексного метода, приходим к простому решению по-факторного разложения прироста показателя B, являющегося мультипликативной функцией трех факторов:
B = xyz, или в индексной форме ІВ = IJyIz.
Суть решения: путем объединения двух факторов в один (xy = p либо yz = p) сначала определяем приросты двухфакторной функции (B = pz или B = xp) от ее факторов, руководствуясь формулами (57), (58) либо (57а), (58а). Затем, согласно этим же формулам, разложим сложный прирост ABp на его части. Опуская доказательство, приведем конечные формулы, которые действительны для обоих способов выбора сложного фактора p:
ABx = znynAx = B6 (( -l)162;
ABy = ZnX6Ay = B6 (I6y -l); (59)
ABZ = убxfeAz = B6 (I -1).
Заметим, что две последние формулы по своей форме совпадают с формулами (57а) и (58а), и это совпадение вполне закономерно.
При этом
ABx +ABy +ABz = Bn - B6 = AB.
Эти же формулы действительны для расчета приростов ABxt,
AByt, ARzl за один t-й год по сравнению с (г-І)-м (в формулах символ n заменяется на t, а символ б — на (t-І)).
326
Условный числовой пример для двухфакторной связи
Таблица 69 |
|
Показатели и их приросты |
Номер
строки |
Годы |
Сумма приростов за 1, 2 и n-й годы |
Расчет
за
все годы |
|
базовый б |
t-й |
|
1-й |
2-й |
3-й (n) |
|
А |
Б |
В |
1 |
2 |
3 |
4 |
5 |
6 |
|
Исследуемый B |
t=v4 |
1 |
50 |
66 |
91,08 |
130,24 |
— |
— |
|
Качественный фактор х |
v |
2 |
5 |
5,5 |
6,6 |
8,58 |
— |
— |
|
Объемный фактор у |
Ч |
3 |
10 |
12 |
13,8 |
15,18 |
— |
— |
|
Годовые приросты T—Tt { |
ATt |
4 |
- |
16 |
25,08 |
39,16 |
80,24 |
80,24 |
|
Приросты Т от б до t за счет |
фактора Ч формулы (58) |
Ат6ч, |
5 |
- |
5-(12—10)=10 |
5-(13,8—10)=19 |
5-(15,18—10)= =25,9 |
— |
25,9 |
|
фактора v формулы (57) |
Атб |
6 |
- |
12 ¦ (5,5—5)=6 |
13,8-(6,6—5)= =22,08 |
15,18-(8,58—5)= =54,34 |
— |
54,34 |
Годовые приросты Т за счет факторов v и Ч
Мt -АТб_ц |
AT4t |
7 |
|
10—0=10 |
19—10=9 |
25,9—19=6,9 |
25,9 |
25,9 |
|
АТ V, |
8 |
- |
6—0 = 6 |
22,08—6=16,08 |
54,34—22,08=
=32,26 |
54,34 |
54,34 |
|
Сумма строк 7 и 8 |
|
9 |
- |
10+6=16 |
9+16,08=25,08 |
6,9+32,26=
=39,16 |
80,24 |
80,24 |
|
327
|
А |
Б |
В |
1 |
2 |
3 |
4 |
5 |
6 |
|
Разделение ДГг по факторам |
AT4t |
10 |
- |
2-5=10 |
1,8-5,5=9,9 |
1,38-6,6=9,11 |
29,01 |
5-5,18=25,9 |
|
по формулам (57) и (58) с заменой n на t, б на —1 |
|
11 |
- |
0,5-12=6 |
1,1-13,8=15,18 |
1,98-15,18=
=30,5 |
51,23 |
15,18-3,58=
=54,34 |
|
Сумма строк 10 и 11 |
|
12 |
- |
10+6=16 |
9,9+15,18=
=25,08 |
9,1 1+30,05= =39,16 |
80,24 |
80,24 |
Очередность расположения факторов х, y, z должна быть такова: первым идет, безусловно, качественный фактор х, последним — количественный фактор z.
Рассмотрим теперь конкретный часто встречающийся пример трехфакторной мультипликативной связи применительно к объему товарной продукции:
Т : t-ьт?і = /Еt = IMtIntIt, или в базовых индексах
Пп-’П . бп-’б _ тб _ тбтбтб Тп ¦ Тб — 1 ^ — 1Ц1 м1 ,
где іЦЦ является индексом качественного показателя (цен), т. е. соответствует іц в формулах (59), индекс іЦ соответствует іЦ, а Iб со-
б
ответствует Iz в формулах (59)).
Рассмотрим последовательность и результат расчетов факторного разложения (анализа) приростов ATt на приросты, отвечающие факторам іЦЦ,іЦ ,Iб за каждый год исследуемого периода (от б+1 до n ).
В этом примере (см. табл. 70) одновременно производится приведение Т в сопоставимый вид и факторное разложение прироста Т, исчисленного по фактическим (не приведенным в сопоставимое значение) значениям Т. Для расчета сопоставимых значений Т принята методология последнего года ряда (3-го года), т. е. m — n, и те неизменные цены н, которые отражены в статформе С-0 (С-1) за этот год.
Если же возникнет необходимость вместо неизменных цен н применить действующие цены последнего (n-го) года ряда, то в формулах (24)-(26) символ цен н заменяется на n.
Рассматривая данные табл. 70, видим полное соответствие суммы ежегодных приростов Т от каждого из факторов (строки 17, 18, 19), во-первых, с общим годовым приростом Т (см. строку 13), во-вторых, с суммой годовых приростов Т (см. графу 5 строки 13), равной
T - бтб — 715,8672 - 250 — 465,8672.
Отметим, что “вес” прироста в строках 13-20 выражается исходя из товарной продукции, взятой за каждый год в его ценах и его методологии.
Поэтому понятно несовпадение ежегодных и общих приростов товарной продукции Т/ от индекса физического роста (строки 4 и 9) с
Последовательность и результат расчетов факторного разложения анализа приростов
329
|
Таблица 70 |
|
Показатели, порядок их расчета, их обозначения |
Номер
строки |
Годы |
Сумма приростов товарной продукции (Т) за три года |
|
базовый б |
1-й |
2-й |
3-й (n-й) |
|
A |
Б |
1 |
2 |
3 |
4 |
5 |
Товарная продукция в ценах и методологии данного года (берется из формы
e-о, с-1) V/ |
1 |
250 |
291,72 |
373,1682 |
715,8672 |
|
|
Принимаемое исходное значение Т за n-й год в его методологии и неизменных ценах н (берется из формы С-0, С-1), Тп |
2 |
|
|
|
264,0055 |
|
Расчет
индексов
за смежные годы |
интегрального индекса роста Т по данным строки 1 по формуле (23) Iy, = 'У : ' 'г/-!1 |
3 |
|
1, 16688 |
1,2792 |
1,91835 |
|
|
индекса “физического” роста Т по данным формы С-0, С-1 по формуле (24), I |
4 |
|
1,04 |
1,025 |
1,015 |
|
|
индекса методологии учета по формуле (25) по данным формы С-0, С-1, ^ |
5 |
|
1,02 |
1,04 |
1,05 |
|
|
индекса роста цен по формуле (26), I |
6 |
- |
1,10 |
1,20 |
1,80 |
- |
|
Продолжение табл. 70
330
|
A |
Б |
1 |
2 |
3 |
4 |
5 |
|
Расчет сопоставимого значения Т обратным рекуррентным ходом по формуле HTtn - нтП : (ln¦¦¦¦¦І,+1) |
7 |
244= =253,76 :
: 1,04 |
260,104 :
: 1,025= =253,76 |
264,0056 :
: 1,015= =260,104 |
264,0056 |
- |
Расчет
базовых
индексов |
интегрального индекса роста Т по данным строки 3 по формуле
ІХt - ІХ(6+1) ¦¦¦¦¦ ІХt |
8 |
1 |
1,16688 |
1, 16688Х
х1,2792=
= 1,49267 |
1,49267Х
х1,91835=
=2,86347 |
|
индекса физического роста Т по данным строки 4 по формуле
1 = І(б+1) ¦ ¦¦¦ ¦1 |
9 |
1 |
1,04 |
1,04 ¦ 1,025=
= 1,066 |
1,066 '1,015= 1,08199 |
|
индекса методологии учета по данным строки 5 по формуле
Іб - І ¦ ¦ І
Mt м(б + 1) ¦¦¦ Mt |
10 |
1 |
1,02 |
1,02-1,04=
= 1,0608 |
1,0608^1,05= = 1,11384 |
|
индекса роста цен по данным
строки 6 по формуле
Іб = І ¦ ¦ І
-'щ іц(б+1) ¦ ¦ ¦ 1ц |
11 |
1 |
1,10 |
1,10 ¦ 1,20=
= 1,32 |
1,32 ¦ 1,8= =2,376 |
|
|
Контрольное произведение строк 9, 10, 11, которое должно быть равно базовому интегральному индексу (см. строку 8) |
12 |
- |
1,16688 |
1,49267 |
2,86347 |
- |
|
Общий годовой прирост Т от всех факторов по данным строки 1 |
13 |
|
291,72-250=
= 41,72 |
373,1682
-291,72=
= 81,4482 |
715,8672-373,1682 = =342,699 |
465,8672 |
331
|
A |
Б |
1 |
2 |
3 |
4 |
5 |
Приросты
‘t‘ за
период от “б” до “t”
за счет: |
индекса физического роста
б
It, расчет по последней из формул (38), (39) (фактор z) |
14 |
|
250-(1,04—1) =
= 10 |
250^(1,066—1)=
= 16,5 |
250х
х(1,08199-1)=
=20,4975 |
|
индекса методологии учета
б ~
I, расчет по средней из
формул (38), (39) (фактор у) |
15 |
|
250-(1,02-1)х
х1,04=5,2 |
250^(1,0608—
—1)^ 1,066=
= 16,2032 |
250^(1,11384—
—1)1,08199=
=30,7934 |
|
индекса роста цен I^ , расчет по первой из формул (38), (39)
(фактор х) |
16 |
|
250 ¦ (1, 1—1)х
х1,02-1,04=
=26,52 |
250-(1,32—1)х
х1,0608х
х1,066=90,465 |
250)2,376—
— 1)^ 1,11384х
х 1,08199=
= 414,5763 |
|
Г одовые приросты
tT
Tt
за счет: |
индекса физического роста I :
ATt = ATt6 -Ат(б_?) (данные строки 14) |
17 |
— |
10-0=10 |
16,5—10=6,5 |
20,4975—16,5=
=3,9975 |
20,4975 |
индекса методологии учета :
АТМ = АТмб _ АТмб(t_1) (данные строки 15) |
18 |
|
5,2-0=5,2 |
16,2032—5,2 =
= 1 1,0032 |
30,7934—
— 16,2032 =
= 14,5902 |
30,7934 |
индекса роста цен I :
АТц = АТ1 -ATH(t _1)
(данные строки 16) |
19 |
- |
26,52-0=26,52 |
90,4650—
—26,52=
=63,7450 |
414,5763—
—90,4650=
=324,21 13 |
414,5763 |
Окончание табл. 70
332
|
А |
Б |
1 |
2 |
3 |
4 |
5 |
|
Сумма строк 17-19, которая должна быть равна строке 13 (см. последнюю из формул (42)) |
20 |
- |
41,72 |
81,4482 |
342,699 |
465,8672 |
Годовой прирост сопоставимого значения товарной продукции (по данным строки 7):
. НтП НтП НтП
Л Tt - Tt - Tt-1 |
21 |
|
253,76-244= = 9,76 |
260,104-
-253,76=
=6,344 |
264,0055-
-260,104=
=3,9015 |
20,0055 |
аналогичными приростами товарной продукции в неизменных ценах и методологии последнего года ряда ( НТ" — см. строку 7). Сравнивая эти погодовые приросты (строки 17 и 20), видим, что они отличаются базовой величиной товарной продукции: 250 — при ценах и методологии базового года, 244 — в неизменных ценах н и методологии n-го года.
Поэтому в каждом исследовании необходимо четко указывать, как определялся ежегодный абсолютный прирост объема товарной продукции от индекса физического роста: по неизменным ценам или по фактически действовавшим в каждом году. Отношение величины первых приростов к величине вторых всегда равно отношению базового объема товарной продукции, выраженного в этих разных ценах; по данным табл. 70 это выглядит так:
9,76 _ 6,344 _ 3,9015 _ 244 _
10 _ 6,5 _ 3,9975 _ 250 _ бТб ' (60)
Пользуясь формулой (60) и зная годовые приросты физического объема в неизменных ценах и методологии, можно легко рассчитать эти приросты в фактических ценах и методологии и наоборот.
3.2.6. Особенности факторного анализа
качественных показателей по экономической единице. Интенсивный и экстенсивный прирост.
Экономия ресурсов
Все качественные показатели представляют собой частное от деления одного объемного (количественного) показателя на другой, следовательно, величина и динамика любого качественного показателя зависят от “физического” роста методологии учета (для стоимостных показателей — и цен) числителя и знаменателя, образующих данный качественный показатель. Поэтому для расчета качественных показателей в сопоставимых условиях сначала необходимо рассчитать сопоставимое значение объемных показателей (числителя и знаменателя), образующих данный качественный показатель. Числитель и знаменатель следует рассчитывать в одной и той же методологии, в одних и тех же ценах (для стоимостных показателей).
Сопоставимые значения качественных показателей (например, выработку продукции на одного работающего) по каждому году следует рассчитывать делением полученного указанным выше образом объемного показателя, принимаемого в качестве числителя (например, товарной продукции Т), на объемный показатель, принимаемый в качестве знаменателя — например, на среднегодовую численность персонала Ч, т. е. Т : Ч (иными словами, производительность труда ППП).
Полученные значения качественных показателей подвергаются факторному анализу по правилам и формулам, изложенным в п. 3.2.5.
Следует учесть, что по таким качественным показателям (исчисленным по сопоставимым значениям) исключено влияние цен и методологии, остается только влияние “физического” роста числителя и знаменателя. Поэтому индексы (темпы) роста таких качественных показателей будут равны частному от деления индексов “физического” роста числителя и знаменателя, образующих данный качественный показатель. Для указанного примера (? = Т : Ч) это будет иметь вид
ITt
I4t
Bt-1
Ivt =
или для базового индекса
16 . 1Tt
I6.
I4t
I6 =
1vt -
(61)
Вид формулы (61) справедлив и для периода от б до n лет (с заменой индекса t на n и (t-1) на б), а также и для всех других качественных показателей (естественно, с заменой исходных объемных показателей).
Фактические (не сопоставимые) значения качественных показателей рассчитываются делением соответствующих фактических значений объемных показателей. Полученные фактические значения качественных показателей подвергаются факторному анализу по правилам и формулам, изложенным в п. 3.2.5. В этом случае анализ выделяет влияние изменения цен, методологии и физического роста совместно и числителя, и знаменателя. Для уяснения этого важного обстоятельства рассмотрим динамику показателя материалоемкости m ден. ед. товарной продукции:
m = М : Т , (62)
где М — материальные затраты.
Вид этой формулы и все последующие рассуждения и формулы действительны и для других качественных показателей — например, фондоотдачи f = T : Фс , производительности труда ? = Т : Ч, зарплатоемкости з = S : Т.
Мп — МбІбМцІбМуІбы
гр _ гр -гб тб тб
тп — тбІГцІГуІГ >
где іМц, іМу, I ММ — базовые индексы (темпы) роста М за счет роста цен, методологии учета, “физического” роста от года б до года п;
тб тб тб гр
ІТц, ІТу, Іт — то же для Т.
Из (42) и (43) вытекает, что
mn
J б тб тб
Очевидно, что
(64)
б _ тМц 1Му JM
тб ІМбц JTy JT
где іб — базовый индекс (темп) роста материалоемкости m от года б до года п.
Первая дробь в правой части этой формулы есть базовый индекс роста материалоемкости іт ц под совместным влиянием изменения на М и на Т; вторая дробь — базовый индекс роста материалоемкости Ібту от совместного влияния изменения методологии учета М и Т;
третья дробь — это базовый индекс роста материалоемкости ^ от совместного влияния физического роста М и Т. Следовательно, формулу (64) можно записать так:
тп — j б — j б j б j б (64я)
1т 1тц1 ту т- Vutay
тб
Отметим, что приведенные в данном разделе формулы справедливы не только для базовых индексов, но и для индексов от года к году (надо только в этих формулах снять в индексах символ б, а в обозначениях М, Т, m символ б заменить на Г-1, а символ m — на t.
Поскольку при анализе М и Т индексы в правой части формулы (64) становятся известными, то можно вычислить и индексы в формуле (64а).
Не приводя доказательств, даем конечные формулы для разделения каждого из приростов на части, зависящие от динамики М и Т:
А б тц = А б тмц + А б тТц,
т [іМц (Тц )- 1^
А тМц = ®,5тб (мц — 1
-11I6 I6
л. \.і ту т ?
А б тц =)
или
\Іб Іб
? my1 m ?
А б бу = А бтМу +А б тТу,
-бб [ Ібму (і:і|у)-1] І6 А тМу 5тб (му 1 j
А б6у = I
(65)
или
Чу
А б т = А б тм + А б тТ,
(МТ)
б
А т = 6т
или
-V+1'
б
ІТ
Абтм = 0,5тб (іМ -1)
Все изложенное в разд. 3 относится как к прямым, так и к обратным качественным показателям. Напомним, что под прямым качественным показателем имеется в виду такой показатель, рост которого вызывает рост объема (производства или ресурса) и который является числителем в составе качественного показателя. Под обратным качественным показателем подразумевается такой, рост которого вызывает снижение объема (производства или ресурса) и который является знаменателем данного качественного показателя.
Например. Прямой качественный показатель производительности труда v = T / Ч; в функции T = ?Ч его рост вызывает рост объема Т (товарной продукции). Обратным показателем в данном случае будет трудоемкость продукции т = Ч/T; в функции Т = (1/т)Ч рост т вызывает снижение Т.
Когда исследуется именно такая функция (с обратным качественным показателем), то во всех приведенных выше формулах его следует применять в качестве х, но в виде обратной величины, т. е. принимать, что х = 1/т , а индексы I выражать в виде 1/Іт .
Если при анализе оказалось, что прирост продукции (весь или часть его) явился следствием роста прямого качественного показателя (представляющего собой выработку продукции на единицу какого-либо ресурса) или снижения обратного качественного показателя (затрат какого-либо ресурса на единицу продукции), то такой прирост называют интенсивным.
Экстенсивным называют прирост объема продукции, полученный за счет роста объемного показателя у, представляющего собой тот или иной ресурс. Изложенный в настоящем пособии материал как раз и позволяет определить эти приросты.
В качестве примера рассмотрим взаимосвязь В = ЭС, где В — объем продукции; Э — качественный показатель — выработка продукции на 1 грн текущих затрат С, т. е. Э = В/С.
Особенностью рассматриваемой зависимости является возможность объективного расчленения С на слагаемые, некоторые из которых могут быть представлены как функция других факторов. Анализ приростов В на основе указанных взаимосвязей дан в табл. 71.
Если функцию результата производства В в табл. 71 заменить ресурсом С, а ресурс С — результатом производства, то функция В = ЭС примет вид
С = — В = сВ,
Э
где c — затраты на 1 грн продукции В. С учетом этих замен все формулы в табл. 71 сохраняются, но приросты в этом случае будут означать приросты (+) или экономию (-) ресурса С.
Величина интенсивного прироста будет означать в этом случае перерасход или экономию ресурса С от роста (АС = Сп - Сб с плюсом) или снижения (АС = Сп - Сб с минусом) удельных затрат с на 1 грн продукции В:
АСЭ =АсВп. (66)
Аналогично для материальных затрат М и материалоемкости т,
|
численности Ч и трудоемкости т, объема ППОФ ФС |
и фондоемкости ф: |
|
АМэ = АтВп, |
(67) |
|
АЧэ =АтВп, |
(68) |
|
АфЭ =АФВп, |
(69) |
338
Таблица 71
Схема анализа приростов результата производства В по затратной форме его выражения
Показатель интенсивного роста
Э — В Э — Вб
Эп — Сп ’ Эб — Сб
ДЭ — Эп - Эб. |
Показатель
экстенсивного роста |
Весь объем текущих
затрат |
Разделение показателей графы 1 по элементам |
Фонд
зарплаты
S=s4 |
Амортиза
ционные
отчисления
А=аФс |
Отчисления
на социальное страхование Q |
Материальные затраты
М |
Нераспреде
ленные
затраты V |
|
A |
1 |
2 |
3 |
4 |
5 |
6 |
|
В абсолютном значении показателей |
1. Вид функции результата производства |
В — ЭС —
— Э (S+А+а+ +М+V) |
BS — ЭS —
— ЭяЧ |
ВА — ЭА — — ЭаФ |
Bq — Эд |
Вм — ЭМ |
В? — Э? |
|
2. Общий прирост результата (сумма интенсивного и экстенсивного приростов) |
ДВ —
— Вп - Вб |
ДВS —
— BS - BS6
п б |
ДВА —
— B А — B А Ап Аб |
В —
— BQn - bQ6 |
ДВМ —
— Вмп - Вмб |
ДВ? —
— ДВ? -Д^?,
пб |
|
3. Интенсивный прирост результата |
ДЭСп |
ДЭSn |
ДЭАп |
ДЭдп |
ДЭМ п |
ДЭ?п |
|
4. Экстенсивный прирост результата |
ДСЭб |
Д?Эб |
ДАЭб |
ддЭб |
ДМЭб |
Д?Эб |
|
339
|
A |
1 |
2 |
3 |
4 |
5 |
6 |
|
|
Из строки 4:
деление
экстенсивного прироста на
приросты
от: |
5. Прироста S
за счет s (прироста А за счет а) |
|
ДиЭб х х Ч п+Чб
2 |
ДаЭб х
ФС +ФС
Сп Сб
х-—
2 |
|
|
|
6. Прироста S
за счет Ч (прироста А за счет Фс ) |
|
ДЧЭб х
х sn+s6
2 |
ДФСЭбх х ап + аб
2 |
|
|
|
|
7. Вид функции результата производства |
ІВ = ІЭ ІС |
IBS = ІЭIS |
ІВА = ІЭ1А |
ІВй = ІЭIQ |
ІВМ = ІЭІМ |
ІВ? = ІЭ І? |
|
В индексных (темповых) показателях |
8. Общий прирост результата (сумма интенсивного и экстенсивного приростов) |
II II
* ±
II |
дв$
вб |
ДВА
Вб |
ДВо_
вб |
ДВМ
вб |
Дв?
вб |
|
9. Интенсивный прирост результата |
&ЭСп
вб
= &І ЭІС |
ДЭ^п
вб |
ДЭАп
вб |
ДЭQn
вб |
ДЭМ п
вб |
ДЭ?п
вб |
|
10. Экстенсивный прирост результата |
дс
C = дІс
сб |
ДБ
~б |
ДА
сб |
ДQ
Сб |
ДМ
С |
Д?
с |
Из строки 10: деление
экстенсивного прироста на
приросты
от: |
11. Прироста S
за счет s (прироста А за счет а) |
|
стр.5
вб |
стр.5
вб |
|
|
|
|
12. Прироста S за счет Ч (прироста А за счет Фс ) |
|
стр.6
вб |
стр.6
вб |
|
|
|
Окончание табл. 71
|
A |
1 |
2 |
3 |
4 |
5 |
6 |
Доля
интенсивного
прироста (единиц) dn |
13. В общем приросте результата |
&ЗСп
AB |
A3Sn |
A3An
AB |
A3Qn |
A3M n |
A3Vn |
|
AB |
AB |
AB |
AB |
14. В приросте результата за счет данного
элемента |
|
A3Sn |
A3An |
A3Qn |
A3M n |
A3Vn |
|
ABs |
ABV |
ABQ |
ABM |
ABv |
340
Доля экстенсивного прироста d э = 1 - dn.
Отрицательное значение интенсивного прироста означает такой же положительный прирост экстенсивного прироста и наоборот.
Дополнительные обозначения: s — среднегодовая зарплата одного ППП; Ч — среднегодовая численность ППП; а — средняя норма амортизационных отчислений на полное восстановление и капитальный ремонт; Фс — среднегодовая стоимость ППОФ.
и так для любого показателя удельных затрат ресурсов на 1 грн продукции В.
Напоминаем, что во всех этих формулах экономия ресурса будет иметь знак перерасход — знак +.
В заключение сделаем несколько общих замечаний, относящихся ко всем разделам экономического анализа. Если анализ проводится по крупной экономической совокупности, на основе нескольких сводных статистических источников, подготовленных органами Минста-та Украины, то перед анализом необходимо убедиться, что все используемые статформы за данный год относятся к одному и тому же числу и составу учтенных в них предприятий. Если даже в названии этих форм указано одинаковое название круга учтенных в них предприятий (на самостоятельном балансе, подсобные предприятия и т. д.), то это еще не значит, что число учтенных предприятий во всех формах одинаково.
Кроме того, следует учитывать, что по некоторым видам предприятий (подсобные предприятия, колхозная промышленность) ряд стат-форм и показателей вообще отсутствует. Поэтому возникает проблема пересчета показателей с одного круга в другой. Метод такого пересчета приведен в п. 3.2.4. Такой метод не может дать точных результатов, но при существующей статотчетности другого выхода нет.
Анализ выполнения плановых заданий, т. е. сравнение исследуемых показателей и образующих их факторов, предусмотренных планом, с теми же показателями и факторами по отчету за этот же год (период), в принципе ничем не отличается от анализа отчетных показателей двух лет (периодов). В полной мере применимы все изложенные в настоящих рекомендациях методические подходы и формулы с тем лишь отличием, что плановые показатели принимаются за базу (т. е. в приведенных выше формулах к ним применяются обозначения с символом года б), а отчетные показатели принимаются за показатели последнего года исследуемого ряда (т. е. в приведенных выше формулах к ним применяются обозначения с символом года n).
При таком методе анализа (отчет с планом) получают данные о проценте выполнения плановых заданий, об экономии или перерасходе ресурсов по сравнению с планом, о влиянии изменения отчетных факторов х, y, z по сравнению с плановыми значениями этих же факторов на исследуемый показатель В.
Во многих случаях анализ выполнения плана производят путем сравнения плановых и отчетных показателей и факторов, их образующих, за данный исследуемый год с показателями одного и того же базового года (периода), за который обычно принимают год (период), предшествующий данному. В этом случае также применимы все изложенные выше методические подходы и формулы, но здесь к плановым и отчетным показателям и факторам за исследуемый год в формулах применяются обозначения с символом п, а обозначения с символом б используются для показателей и факторов за базовый год.
3.3. Особенности факторного анализа по экономической совокупности как сумме ее частей
Анализ динамики показателей по экономической совокупности состоит из таких этапов:
• этап “а” — анализ по каждой части совокупности;
• этап “б” — анализ по совокупности в целом (по первой строке рекомендуемой таблицы);
• этап “в” — анализ по сумме частей совокупности (по последней строке рекомендуемой таблицы).
Этапы “а”, “б” выполняются по методике, изложенной в данном разделе (в основном в п. 3.2.5).
Анализ по этапу “в”, т. е. анализ зависимости исследуемого показателя В от факторов x, у по экономической совокупности как сумме ее частей, усложнен тем, что сами эти факторы зависят от их величины х, yi в частях совокупности и от изменения структуры совокупности. Следовательно, общее изменение (ДВ) исследуемого показателя В по совокупности можно выразить двояко:
Вп — Вб = ДВ = ДВх + ДВу = ДВстр + Д В t, (70)
где ABx, ABy — приросты B за счет изменения факторов x, у по совокупности в целом, рассчитываемые по показателям совокупности в последней строке таблицы исходных данных, согласно принятому виду зависимости B от этих факторов ( = Ху), по изложенным ранее формулам (57), (58) (см. п. 3.2.5); ABCTp — изменение B под влиянием
изменения структуры совокупности по W; ABf — изменение B под влиянием изменения факторов хі , у в частях совокупности и совокупности в целом.
Из формулы (70) вытекает, что сумма ABx + ABy содержит в себе величину ABCTp, распределенную как-то между слагаемыми этой суммы, в то время как ABf = ABX + AB очищено от влияния изменений структуры совокупности. Поэтому неправильно поступают те экономисты, которые, вычислив AB, ABCTp, ABx, определяют влияние фактора у по остатку:
ABy =AB-(ABx + ABctp ).
При таком определении величина ABy получится искаженной, заниженной, так как в ABХ может содержаться какая-то часть AB?CTp и, таким образом, эта часть вычитается (алгебраически) из AB дважды (один раз в составе ABCTp, другой раз — в составе ABX).
По аналогичной причине нельзя по такому остатку определять и ABx-
Общий методологический подход при факторном анализе, как это видно из ранее изложенного, состоит в том, что величины B6, x6,уб и величины Bn, xn, yn сравниваются с некоторыми промежуточными гипотетическими значениями этих показателей. Величину A B стр в статистике и в официальных методиках принято определять по формуле
ABCTp = BIII - BII- (71)
Здесь ?ш — гипотетическое значение B, определяемое по сумме
X Biii,. в частях совокупности при базовых значениях качественного фактора x6, в частях совокупности, при конечном значении объемного фактора уп в целом по совокупности (последняя строка таблицы) и при конечной (отвечающей году п) структуре показателя W (по которому желательно определять структуру); если все показатели в исследуемой форме связи имеют дробный вид (например, Т/Ч = (Т/Ф)(Ф/Ч), т. е. В = Т/Ч, х = Т/Ф, у = Ф/Ч), то сохраняется базовое значение
B6j, хб, y6j в частях совокупности, а значения Вш, Хш, уш (в целом по совокупности) определяются исходя из объема Wn и его конечной структуры dnw (отвечающей году п); Вп — гипотетическое значение В, определяемое по сумме ^ВПі в частях совокупности (с учетом примечания на предыдущей странице) при базовых значениях качественного фактора хб, в частях совокупности, при конечном значении объемного фактора уп в целом по совокупности, но при базовой структуре показателя W; если все показатели в исследуемой форме связи имеют дробный вид (как показано ранее при объяснении Вщ), то сохраняется базовое значение Вб , хб,, уб, в частях совокупности, а значения Вп, Хп, уп (в целом по совокупности) рассчитываются исходя из объема Wn, но при базовой его структуре d6w, (отвечающей году б).
Таким образом, различие между Вш и Вп определяется различием в структуре по показателю W.
В итоге при факторном анализе показателей экономической совокупности, рассматриваемой в виде суммы ее частей, имеем дело с четырьмя ситуациями:
ситуация I — отвечающая всем базовым показателям (т. е. фактической ситуации года б); все показатели ее будут иметь внизу справа символ б, например, хбi > Вб и т. п.;
ситуация II — описанная выше гипотетическая ситуация, обозначенная через Вц; все показатели ее будут иметь внизу справа символ II, например,Х^ц., Хп и т. д.;
ситуация III — описанная выше гипотетическая ситуация, обозначенная через Вш ; все показатели ее будут иметь символ III;
ситуация IV — отвечающая всем показателям конечного года (т. е. фактической ситуации года п); все ее показатели будут иметь символ п.
Поскольку, согласно формуле (71) АВсТр = Вщ - Вц, то
ABf = (п - Вб )-АВстр = (п - ВШ )+ (ВП - Вб )¦ (72)
Так как значение Вц отличается от Вб только ростом у, то прирост II - Вб) следует обозначить как прирост B от роста у, т. е. (Вп - Вб) = АВу. Прирост (Вn - Вш) при одинаковых значениях уп,
обусловлен различиями в Хщ, ущі от xn, yn, поэтому его следует считать приростом за счет изменений xt, yi в частях совокупности по сравнению с ситуацией III. Этот прирост обозначим через АВ-f = Вп -
-Вщ- Состав всех приростов можно представить в виде схемы (см. рис. 32).
АВх + АВу
V
а
АВ = Вп - Ва
n |
 |
|
Рис. 32. Графическое изображение взаимосвязи всех приростов показателя В |
Из рис. 32 и формулы (72) вытекает возможность представить А В Х и АВу как сумму их частей, находящихся в составе АВу, АВ^, АВf'.
X ^Дстр x + АВ ;
(73)
ЬВу =аВу +АВстру +аВfy .
Придерживаясь основного принципа разделения общего прироста от х и у (прирост от х вычисляется как Ах, умноженный на конечное для данной ситуации значение у, а прирост от у вычисляется как Ау, умноженный на начальное значение х), для определения всех указанных выше видов приростов показателя В получаем табл. 72, имея в виду, что
Вб = Хб уб > Вп = Хпуп , BII = XII yIb BIII = XIIIy III-
Таблица 72
Формулы расчета приростов показателя B = ху (принципиальная форма)
|
Существо формул |
Формула расчета |
|
Общий прирост показателя В |
АВ = Хпуп - ХбУ б |
Разделение общего прироста {АВ) на части, зависящие от изменения структуры W, от роста
У и от изменения факторов х. , у. в частях совокупности
АВ = АВстр +АВ? +АВ f
стр у Jxy |
АВстр = хшу ш - хп уп у = хп уп - хб уб
АІВ f = Хпуп - ХШуIII
ху |
|
Разделение АВстр на части, зависящие от X и у Д^стр = АВстрх + стр у |
АВ!стрх = (% - ХП )уШ
АВстр у =(уШ - уП )хП |
|
Разделение АВ! у! на части, зависящие от X! и у! у =АВ Ух +АВ У у |
АВух = (ХП - Хб )уП
АВуу = (уП - уб )Хб |
Разделение АВ! f на части, зависящие от X! и у!
J ху
АВ f = АВ f + АВ f
J ху J х у у |
bBfx ={Хп -ХШ )уп
&ВГ =(уп - Лп )хш
J У |
Численные значения Вб, Хб, Уб, Вп, Хп, уп, а также значения ]?б =
= X W6t,d6Wi = W6i / w6, Шп = X W„t, = Wni / Шп известн^і как ис
ходные данные исследования. Что же касается показателей II и III си-туаций ((, Уд, хш, уш), то конкретные выражения формул для их расчета зависят от того, являются показатели В и у объемными или качественными, чем является показатель W (по которому определяется структура совокупности): равен он В, у или какому-то другому объемному показателю, участвующему в образовании показателей В и у, если они являются качественными; кроме того, имеет значение тип сочетания всех этих условий.
Исследования показали [25, с. 286-287], что для мультипликативной связи В = ху имеется четыре вида таких сочетаний: сочетание М1 — где В, х, у имеют дробную размерность, W — зна
менатель исследуемого показателя В; подвид этого сочетания, когда ^ у- = 1;
сочетание М2 — где В, х, у имеют дробную размерность, W —
числитель исследуемого показателя В; подвид этого сочетания, когда ^ у- = 1;
сочетание М3 — где В — объемный показатель, W — знаменатель
качественного показателя х;
сочетание М4 — где В — объемный показатель, W — числитель
качественного показателя х.
Перечень таких сочетаний приведен в табл. 73.
В табл. 74 приведены значения показателей для ситуации II и III для указанных в табл. 73 типов сочетаний анализируемых факторов (доказательства опускаются ввиду их сложности).
Напомним, что полученные при этом значения приростов исследуемого показателя отвечают экономической совокупности в целом как итогу составляющих ее частей.
В официальных документах [22, с. 200, 510, 581] имеются некоторые формулы для подобных расчетов. Однако все они имеют ограниченную область применения, и расчеты по ним совпадают с расчетами по формулам табл. 70 и 71.
Так, для расчета изменения фондоотдачи Af под влиянием какого-либо фактора j рекомендуется формула
АТ- - fЩ
J Фб +ХАФ- ’
j
где АТ- — прирост продукции за счет j; f6 — фондоотдача базовая, равная Тб / Фб; АФ- — прирост Ф за счет j.
348
Таблица 73
Перечень наиболее часто исследуемых мультипликативных взаимосвязей экономических показателей в экономической совокупности
|
|
|
|
|
Объемный |
Тип сочетаний |
|
|
|
|
|
|
|
|
|
|
|
|
Исследуемый |
Качественный |
Объемный |
показатель, |
показателей, |
Формула |
Особенность |
|
№ |
показатель В |
фактор х |
фактор у |
по которому |
определяющий
формулы |
выражения для B = ху |
данных
сочетаний |
|
|
|
|
|
рассчитывается |
расчета |
|
|
|
|
|
|
структура W |
приростов В |
|
|
|
1 |
2 |
3 |
4 |
5 |
6 |
7 |
8 |
|
1 |
Выработка |
Фондоотдача |
Фондовооружен- |
Численность |
М1 |
T T Ф |
|
|
|
Т:Ч |
Т:Ф |
ность Ф:Ч |
ППП Ч |
|
Ч ~ ФЧ |
|
|
2 |
Фондоотдача |
Выработка Т:Ч |
Численность ППП |
Фонды Ф |
М1 |
tr |? h Itr-II
^ \% |
W — знаме- |
|
|
Т:Ф |
|
на единицу фондов |
|
|
натель |
|
|
|
|
Ч:Ф (показатель, |
|
|
|
исследуе- |
|
|
|
|
обратный фондо- |
|
|
|
мого |
|
|
|
|
вооруженности) |
|
|
T T S |
показателя В
и объемного |
|
3 |
Выработка Т:Ч |
Выработка на |
Зарплата 1 ППП S:4 |
Численность |
М1 |
Ч _ S Ч |
фактора у |
|
|
|
1 грн оплаты труда Т:8 |
|
ППП Ч |
|
|
|
|
|
4 |
Затраты на
1 грн продукции С:Т |
Отношение С:М |
Материалоемкость продукции М:Т |
Объем продукции Т |
М1 |
C С М
Т ~ ~МЧ~ |
|
349
|
1 |
2 |
3 |
4 |
5 |
6 |
7 |
8 |
|
5 |
Выработка Т:Ч |
Фондоотдача
Т:Ф |
Фондовооруженность Ф:Ч |
Объем продукции Т |
м2 |
T T Ф
Ч ~ ФЧ |
W —
числитель
исследу- |
|
6 |
Выработка Т:Ч |
Выработка на
1 грн оплаты труда T:S |
Зарплата 1 ППП
S-.Ч |
Объем продукции Т |
М2 |
to 1 tr1
Еч 1^0
II
Еч |tr |
емого
показателя В и
качествен- |
|
7 |
Фондоотдача
Т:Ф |
Выработка Т:Ч |
Численность ППП на единицу фондов Ч:Ф |
Объем продукции Т |
М2 |
T T Ч ~Ф ~ ЧФ |
ного
фактора х |
|
8 |
Численность
ППП Ч |
Трудоемкость
Ч:Т |
Объем продукции Т |
Объем продукции Т |
М3 |
1 ^ '
II |
|
|
9 |
Фонды Ф |
Фондоемкость
Ф:Т |
Объем продукции Т |
Объем продукции Т |
М3 |
Ф = (Ф)Т |
W — |
|
10 |
Материальные
затраты М |
Материалоемкость М:Т |
Объем продукции Т |
Объем продукции Т |
М3 |
м -(Т)Т |
знаменатель
качествен
ного |
|
11 |
Объем продукции Т |
Выработка Т:Ч |
Численность ППП Ч |
Численность
ППП Ч |
М3 |
Т ¦(Ч )'
( Т \ |
фактора х и объемного фактора у |
|
12 |
Объем продукции Т |
Фондоотдача
Т:Ф |
Фонды Ф |
Фонды Ф |
М3 |
Т = |— Ф
( Ф) |
|
|
13 |
Себестоимость продукции С |
Затраты на
1 грн продукции
С:Ч |
Объем продукции Т |
Объем продукции Т |
М3 |
с ¦( с )Т |
|
Окончание табл. 73
|
1 |
2 |
3 |
4 |
5 |
6 |
7 |
8 |
|
14 |
Объем продукции Т |
Выработка Т:Ч |
Численность ППП Ч |
Объем продукции Т |
М4 |
Т -(7 > |
W — числитель качественного |
|
15 |
Объем продукции Т |
Фондоотдача
Т:Ф |
Фонды Ф |
Объем продукции Т |
М4 |
Т -(7')Ф |
фактора х и исследуемого
показателя В |
350
Примечание. Объем продукции Т может быть принят в любом ее выражении: товарной, валовой, чистой, условно чистой, в натуральном выражении.
Таблица 74
Расчет приростов x и у |
Прирост какого показателя
исчисляется |
X |
У |
|
Для каких типов сочетаний применимы исчисления |
М, м2 , м3 , м4 |
м1, м2 |
M3, М4 |
|
Общий прирост показателя по экономической совокупности как итогу составляющих ее i отраслей (предприятий) |
АХ = Хn - Хб |
АУ = У n - У б |
АУ = У n - У б |
Разделение общего прироста на части,
зависящие от |
изменения
структуры W |
АХстр = ХШ - Хб |
АУ стр = У Ш - У б |
0 |
изменения
показателей
Х, Уі |
&
н
II
3
1 |
АУУ = У n - .Уш |
АУУ = У n - Уб |
|
Для расчета изменения (“-” — экономия, “+” — прирост) АЧстр численности ППП от изменения отраслевой структуры продукции Т рекомендуется формула
АЧСтр =^Чбі ІТі - ЧбІт,
І
где i — символ отрасли; Іт. = Tn, /Тб,; Іт = Tn /Тб.
Анализ показывает, что для всех типов сочетаний показателей, указанных в табл. 74 (Мр М2, М3, М4), имеют место следующие равенства: jcji = Хб, xnt = %б.. Кроме того, для сочетаний М1 и М2 у п = у б, Уц. = Убі. Для сочетаний М3 и М4 имеет место равенство Уп = = •уш, но уд. уш..
Вследствие этого обращаются в нуль все те приросты, где фигурируют разности хп - Хб, Уд - У б и Уш - Уіь реальное значение могут иметь лишь следующие составляющие общего прироста Ах и АУ (о делении по i-м частям совокупности будет сказано позже):
А-Хстр = S (dnWi — dnWi ^)Хбі = ^ Ахгстр..., (74)
і і
но не учитывает разности ( - %б)•
Расчеты по формулам, изложенным в табл. 72-74 (зная все показатели по базовому б году и конечному n году), позволяют получить значения приростов показателей (в том числе под влиянием изменения структуры W ), соответствующих последней, итоговой строке расчетных таблиц.
Расчет в таких таблицах хотя и трудоемок, но весьма нагляден (см. прил. 2-4).
3.4. Формирование и функционирование моделей макроуровня
3.4.1. Модели в фактических условиях
(в ценах и методологии учета каждого года)
ПРИНЦИПЫ, СХЕМА И БЛОЧНЫЙ СОСТАВ МОДЕЛЕЙ
В основу формирования и функционирования моделей макроуровня положены описанные ранее реальные функциональные связи между факторами производства, величина и динамика которых отрицается в существующей статистической и финансовой отчетности, агрегируемой в разрезе отраслей, подотраслей, ведомств, форм собственности, по областям, т. е. по требуемым объектам. Анализ и формализация этих связей за отчетные годы, выполненные в соответствии с изложенной в настоящем пособии методикой, плюс экспертная (основанная на других исследованиях) оценка тенденций изменений факторов производства в будущем являются базой для прямого расчета всех показателей промышленного производства на ближайшую перспективу.
Развитие каждого данного объекта рассматривается с учетом его связей с другими объектами, в рамках промышленности и народного хозяйства Украины в целом.
При рассмотрении взаимосвязи факторов производства выделяются основные (решающие) факторы и второстепенные факторы нормативно-делового характера. К числу важнейших относится соотношение темпов роста фонда потребления и объема производства (или средней зарплаты с учетом всех выплат и производительности труда).
Анализ прошлого и прогноз будущего развития выполняется как в фактических условиях каждого года, так и в сопоставимых условиях (в условиях последнего отчетного года).
Предусматривается возможность прогнозирования с двумя подходами: целевым, когда достигается определенный результат производства с последующим определением требуемых для этого ресурсов и интенсивности их использования, и ресурсным, когда исходя из определенной величины ресурсов и интенсивности их использования определяется результат производства.
В соответствии с этим возможны очень многие способы расчета прогнозных показателей, однако мы изложим только несколько наиболее употребительных. Вариантность способов получения результата производства и требуемых для этого ресурсов позволяет осуществить их сверку и согласование, что повышает достоверность прогноза. Все способы расчета прогнозных показателей осуществляются рекуррентно (т. е. последовательно год за годом): сначала проводятся расчеты на первый прогнозный год, после полного согласования этих расчетов проводятся расчеты на второй прогнозный год и т. д.
Модель внутреннего развития объекта состоит из шести взаимосвязанных блоков:
Блок 1. Воспроизводство основных фондов.
Блок 2. Живой труд, его использование и оплата.
Блок 3. Затраты на производство и результат производства.
Блок 4. Реализация продукции и ее финансовые результаты.
Блок 5. Баланс товарной продукции и ее распределения.
Блок 6. Таблица индексов.
Разделение блоков 1-3 в значительной мере условно: оно удобно для раздельной выборки и расчета всех показателей за отчетные годы соответствующими специалистами и оценки ими величины нормативных, долевых и основных показателей, экзогенно вводимых на прогнозные годы; расчет же всего комплекса показателей на перспективу требует совместного рассмотрения этих трех блоков.
Блок 4 очень важен для условий развития рыночных отношений, однако он очень плохо обеспечен статистической и финансовой отчетностью в разрезе отраслей промышленности; только по промышленности в целом дается полная расшифровка финансовых результатов промышленной деятельности; в табл. 4 формы С-0 имеются лишь данные об объеме реализации, прибыли от нее, стоимости ППОФ и оборотных фондов.
Блок 5 основывается на данных межотраслевых балансов производства и распределения продукции (МОБ) за отчетные годы; тенденции динамики прямых и полных удельных расходов на единицу продукции за отчетные годы позволяют (с учетом динамики цен) с определенной степенью вероятности экспертно оценить их значение в ближайшей перспективе (1-3 года). Существенным недостатком такой модели является то, что ее исходная база — МОБ — запаздывает почти на два года.
Блок 6: таблица индексов цен и методологии формируется по каждой отрасли промышленности и промышленности в целом на основе отчетных данных по динамике цен на материальные затраты и по данным форм С-0 (С-1). Данные о динамике этих индексов в прогнозные годы крайне необходимы, так как без этого нельзя связать расчеты в фактических условиях с расчетами в сопоставимых условиях. Такие данные должны разрабатывать в отделении цен ИИЭИ.
Совокупность комплексов этих блоков по всем объектам (которые в сумме должны составлять всю промышленность Украины) дополняется двумя общими для всей промышленности моделями распределения:
• общего объема капитальных вложений производственного назначения в промышленность;
• общей численности ППП в Украине.
Если объектами являются области (промышленность областей), модель распределения численности ППП в значительной мере теряет свое значение, поскольку существующий жилой фонд не допускает существенной межобластной миграции ППП, и количество ППП в каждой области может быть точнее оценено при анализе перераспределения трудовых ресурсов внутри каждой области.
Ниже дана логическая схема всего комплекса расчетов.
Согласование суммарных показателей объектов в перспективе с показателями, полученными в целом по промышленности, может осуществляться двумя путями:
• итерационной корректировкой тех и других показателей до полного их совпадения (имеется в виду, что распределение лимитов капитальных вложений и объемов производства уже согласовано ранее);
• определением показателей по промышленности Украины в целом (кроме капитальных вложений и объема производства, которые согласовываются вначале) как суммы показателей составляющих ее отраслей при условии согласованных подходов к определению нормативных и долевых показателей.
МЕТОДИКА РЕАЛИЗАЦИИ ПРОГНОЗНЫХ РАСЧЕТОВ ПО БЛОКАМ 1-3
В блоках 1-3 охвачены все процессы производства, поэтому разделение блоков удобно лишь для процесса заполнения данных за отчетные годы и экспертной оценки экзогенно вводимых показателей на прогнозные годы. Реализация же того или иного способа взаимосвязанных расчетов на прогнозные годы требует совместного рассмотрения всех трех блоков.
В табл. 75 по блокам приводится перечень показателей, необходимых для прогнозных расчетов. Эти таблицы должны содержать 3-4 графы, относящиеся к последним отчетным годам, и 2-3 графы — к прогнозным годам (большее число прогнозных лет в нынешних условиях быстрых изменений в экономике нецелесообразно). Показатели дальнейшего анализа, вытекающие из полученных при прогнозах расчетов, здесь не приводятся, поскольку рассмотрены в предыдущих разделах.
Кроме того, здесь не используются показатели, отражающие влияние мероприятий НОТ (в связи с прекращением существования соответствующих отчетных форм) и оценку мер по ликвидации малопроизводительных рабочих мест (из-за отсутствия необходимой отчетности на уровне отраслей, регионов). В целях упрощения не показаны: использование фондовооруженности сменных рабочих активной частью ППОФ (применяется широко известное понятие фондовооруженности 1 ППП в схеме ППОФ), расчет доплат персоналу из прибыли за снижение материалоемкости товарной продукции (поскольку такая система еще не введена на государственном уровне), выделение повторного счета (оно анализируется в блоке 4).
В целях сокращения записей формул обозначения показателей за тот год, по которому они известны (из отчета за последний отчетный год или за рассчитанный прогнозный год), будут содержать символ года о вместо символа t; скажем, вместо Tt будет записано To или вме-
Перечень показателей для прогнозных расчетов
|
Таблица 75 |
Стро
ка |
Блок |
Обозначение показателя, формула его расчета |
Наименование показателя, его сущность |
|
1 |
2 |
3 |
4 |
|
1 |
1 |
СО.
II |
Объем капиталовложений
производственного назначения по всем источникам финансирования по методике планирования капвложений |
|
2 |
1 |
© |
Отношение абсолютного прироста незавершенного строительства к объему капвложений |
|
3 |
1 |
© |
Отношение объема списанных капвложений ко всему объему капвложений |
|
4 |
1 |
? |
Отношение сальдо безвозмездных поступлений (+) и передач (—) к стоимости ППОФ на начало года |
|
5 |
1 |
© |
Коэффициент ликвидации ППОФ (отношение объема ликвидированных ППОФ к ППОФ на начало года) |
|
6 |
1 |
© |
Отношение ввода ППОФ по методике планирования капвложений к вводу ППОФ, вытекающему из формы С-0 (С-1) |
|
7 |
1 |
1—1 K Фс — Фн / \
0= в = у + Фн ( — ?) |
Объем капвложений
производственного назначения по соответствующей форме С-0 (С-1) |
|
8 |
1 |
Ф = Ф н к.р |
Объем ППОФ по соответствующей форме С-0 (С-1) на начало прогнозируемого года, равный объему ППОФ на конец предыдущего года |
|
9 |
1 |
© |
Коэффициент пересчета годового прироста (Ф —Ф ) в среднегодовой
(Фс-Ф„)у = (ф-фн)/(ф,-фн) |
|
|
1 |
2 |
3 |
4 |
|
10 |
1 |
Фв = К (l-dA-dK.o ) |
Ввод ППОФ |
|
11 |
1 |
Фк = Фн (1+е-/) + Фв |
Стоимость ППОФ на конец года |
|
12 |
1 |
Фс = Фн + х(Фк-Фн ) =
= фЧ=Т:f |
Среднегодовая стоимость ППОФ |
|
13 |
1 |
ІФ = Фс : Фс.р = Іт : 1 f |
Индекс (темп) роста ППОФ |
|
14 |
1 |
© |
Коэффициент сменности по числу рабочих в наибольшей смене |
|
15 |
1 |
^ = 0 : 0о |
Индекс (темп) роста коэффициента
сменности |
|
16 |
1 |
(2D |
Индекс (темп) роста процента полезного использования (работы) времени в течение смены |
|
17 |
1 |
© = ^ : If |
Индекс (темп) роста удорожания стоимости единицы полезного свойства ППОФ (единицы мощности) |
|
18 |
1 |
If = Іоі^ : /у = f : fo |
Индекс (темп) роста фондоотдачи |
|
19 |
1 |
f = T : Фс = fo/f |
Фондоотдача |
|
20 |
1 |
? |
Норматив амортизационных отчислений на реновацию |
|
21 |
1 |
? |
Относительная величина дебаланса износа ППОФ |
|
22 |
1 |
ДИ = ХФн + Фс а-Фн l |
Абсолютный прирост износа ППОФ |
|
23 |
1 |
И = Ио +ДИ |
Износ ППОФ |
|
24 |
2 |
0 = ЧоІЧ = Фс : v = T : В |
Среднесписочная численность ППП |
|
25 |
2 |
0 = Ч : Чо = if : ІВ |
Индекс (темп) роста Ч |
|
26 |
2 |
© |
Доля ППП, занятых в колхозной промышленности, в общей среднесписочной численности ППП |
|
27 |
2 |
|
Доля ППП, занятых в промышленности остальных форм собственности (кроме государственной и колхозной), в Ч |
|
1 |
2 |
3 |
4 |
|
28 |
2 |
©
II |
Доля рабочих Р в общей численности
ППП Ч |
|
29 |
2 |
Рс =К> ):о |
Численность рабочих в наибольшей
смене |
|
30 |
2 |
0= Фс : Ч = bo bb 1+p ~m -
-Z°z (1+n)(1+q): (+ap)
І+П+w J v p' |
Фондовооруженность одного ППП, ее стандартный расчет |
|
31 |
2 |
b = f <P = bo Ib = T : Ч |
Выработка продукции на 1 ППП (производительность труда) |
|
32 |
2 |
Щ = b : bo = Iz : © = IfIv |
Индекс (темп) роста выработки на 1 ППП |
|
33 |
2 |
S = s4 = Z : (l+n+w) |
Фонд зарплаты (без выплат из прибыли и премий за счет себестоимости) |
|
34 |
2 |
s = S : Ч = zoIz : (l+n+w) |
Среднегодовой фонд зарплаты на 1 ППП |
|
35 |
2 |
? |
Отношение выплат ППП за счет себестоимости продукции (премии за изобретательство, рационализацию и т. д.) сверх фонда зарплаты к фонду зарплаты |
|
36 |
2 |
S (1+n) |
Сумма оплаты труда всего ППП, входящая в себестоимость продукции |
|
37 |
2 |
© |
Суммарный норматив отчислений на социальное и обязательное медицинское страхование |
|
38 |
2 |
s (i+n)q |
Сумма отчислений на социальное и обязательное медицинское страхование, входящая в себестоимость продукции |
|
39 |
2 |
© |
Отношение суммы выплат ППП из прибыли (кроме дивидендов, процентов за паевые взносы и т. п.) к фонду зарплаты |
|
40 |
2 |
Z = S (l+n+w) = z4 |
Фонд потребления |
|
1 |
2 |
3 |
4 |
|
41 |
2 |
z = Z : Ч = z0 Іг |
Фонд потребления на 1 ППП |
|
42 |
2 |
03 = Z = KzIb =
i 1+n+w
“ s 1+По+Wo |
Индекс (темп) роста фонда потребления на 1 ППП |
|
43 |
2 |
о
: со
: со
II
II
-C>
’'¦ч
’'¦ч
II
S) |
Отношение темпов роста z к темпам роста b — индексу (темпу) роста зарплатоемкости !з! |
|
44 |
2 |
з = S (1+n): T = s (1+n): b |
Зарплатоемкость продукции, входящая в состав затрат на производство
1 грн товарной продукции Т |
|
45 |
2 |
з = Z : T = z : b |
Фонд потребления на 1 грн Т |
|
46 |
3 |
© |
Ремонтный фонд на 1 грн стоимости ППОФ |
|
47 |
3 |
A = ( + ap ) |
Сумма амортизационных отчислений на реновацию и в ремонтный фонд |
|
48 |
3 |
? |
Материалоемкость 1 грн товарной продукции (без амортизационных отчислений) m = М:Т |
|
49 |
3 |
M = mT |
Объем материальных затрат (без амортизационных отчислений) |
|
50 |
3 |
зп = м + а + S (i + n)(i + q) |
Объем затрат на производство |
|
51 |
3 |
0 |
Рентабельность к затратам на производство Рз = П : ЗП |
|
52 |
3 |
T = fФс = ЬЧ =
= ЗП (1+Рз )= Т о It |
Объем товарной продукции |
|
53 |
3 |
IT = 1 іІФ = ІЬІЧ =
= (IzI4 ) : Kz = T : To |
Индекс (темп) роста объема товарной продукции |
|
54 |
3 |
П = Т : (1+Рз ) = ЗПРз =
= Т - ЗП |
Прибыль от производства |
|
1 |
2 |
3 |
4 |
|
55 |
3 |
*SW (1+q ) |
Выплаты персоналу (кроме дивидендов, процентов за паевые взносы и т. п.) из прибыли вместе с начислениями на социальное и обязательное медицинское страхование |
|
56 |
3 |
© |
Число оборотов за год оборотных средств Fc X = T : Fc |
|
57 |
3 |
Fc = T : X |
Среднегодовая стоимость оборотных средств |
|
58 |
3 |
b
II
1
II
T |
Условно чистая (вновь созданная) продукция |
|
59 |
3 |
dU = U : T |
Доля условно чистой продукции в объеме товарной продукции Т |
|
60 |
3 |
D = U - A = T -(M +A) |
Чистая продукция |
|
61 |
3 |
II
b |
Доля чистой продукции в объеме товарной продукции Т |
|
62 |
3 |
©
II
b
b |
Доля продукции группы Б в объеме товарной продукции Т |
сто Ф будет записано Фсо. (Считается, что все перечисленные ниже показатели за такой год и за предшествующие годы анализируемого периода известны.)
В этих же условиях обозначения показателей за год, по которому рассчитывается прогноз, не будут иметь никакого символа времени, например вместо будет записано просто Тили вместо Фф+1) бу
дет записано Фс.
Те нормативные и долевые показатели на этот прогнозный год, которые должны быть до начала расчетов экзогенно (экспертно или по другим данным) определены, находятся в кружке. Те основные прогнозные показатели, по сочетанию которых строится тот или иной способ расчета всего прогноза, находятся в квадратной рамке. Часть этих показателей, сочетанием которых определяется способ расчета прогноза, также должны быть определены экзогенно. Другая часть этих основных показателей, а также все прочие показатели прогнозного года рассчитываются по указанным формулам. Напоминаем, что
все отчетные и прогнозные показатели выражаются в фактических (ожидаемых) условиях (ценах и методологии) каждого года. Все нормативные и долевые показатели, а также индексы (темпы) роста даются не в процентах, а в единицах (долях единицы).
Взаимосвязь экономических показателей промышленного объекта представлена на рис. 33.
Направление стрелок показывает прямое воздействие показателя, от которого исходит стрелка, на тот показатель, к которому стрелка направлена (хотя возможно и обратное воздействие). При этом сплошная линия стрелки означает передачу (воздействие) всего объема того показателя, от которого исходит стрелка, тому показателю, к которому стрелка направлена; штриховая линия стрелки означает передачу лишь части объема того показателя, от которого исходит стрелка.
На рис. 33 для упрощения опущены те же показатели, которые опущены и в табл. 75; кроме того, не показаны условно чистая продукция Uи чистая продукция D. Вместе с тем дополнительно к показателям табл. 75 дана расшифровка источников капитальных вложений К и статей расхода прибыли (согласно интегрированным отчетным статформам таблиц ТІФ, ТІР, 2, 3, 5, 7), поэтому приведем перечень условных обозначений показателей, отсутствующих в табл. 75:
Г — объем капиталовложений, выделяемых из централизованных государственных резервов;
ДН — абсолютный прирост незавершенного строительства, равный dA K;
Kc — объем капиталовложений, списанных в установленном
порядке, равный dKc K;
Кп — отчисления от прибыли на развитие производства;
Кр — отчисления от прибыли на социальное развитие;
N — налоги и прочие платежи в бюджет и внебюджетные фонды;
D — выплаты дивидендов, процентов по акциям, паевым взносам;
E — финансовый резерв (страховой фонд);
G — отчисления на благотворительные цели;
|
= s (l+ri+co)--—>Z = s (l+rj+co) |  |
33. Схема взаимосвязи экономических показателей промышленного объекта |
L — отчисления на оплату социальных льгот работникам;
Л — прочие расходы из прибыли.
Распределение показателей табл. 75 по способу их определения на прогнозный год представлено в табл. 76.
Таблица 76
Распределение показателей табл. 75 по способу их определения на прогнозный год
|
Способ определения показателей |
Количе
ство
показа
телей |
Условные обозначения показателей |
|
Известны по данным за предыдущий год |
і |
Фн |
|
Экзогенно определяют до начала расчетов (в их числе — важнейший показатель) |
21 |
dA, dK.c, е, l, в, у, с, I^, а, ар, х, dK, d0, dp, n, q, w, Kz, m, X, dg
(в кружке) |
|
Важнейшие показатели, из которых три надо определить экзогенно (затем рассчитывают остальные) |
7 |
К, Ч или Іц, ф, lb, Iz, P3, Ij или If (ly) (в квадратной рамке) |
|
Все остальные показатели в табл. 75 рассчитывают после расчета важнейших показателей |
33 |
См. все остальные показатели в табл. 75 без рамок |
Математическая связь между важнейшими показателями выражается следующими уравнениями:
Фв = К (1 - dA- dK.c);
Фс =УФв + Фк.о I1 -і(( -е)];
К = К р;
(75)
(76)
(77)
(78)
(79)
(80)
zA ((+п))(+q)
-)а + ар)
fo If
--m
1 + P3
І+ц + w
Фс
!т = If Ф-=?ч = If — ІЧ;
Фс.о Фо
Iz = КzIb = Iз.
В уравнениях (75)-(80) задействовано 27 показателей:
• четыре (Фко, Фс о, fo, zo) известны из предыдущего года;
• двенадцать (dA, dкс, у, l, е, р, п, q, w, m, a, ap) относятся к числу экзогенно определяемых до начала расчетов;
• одиннадцать неизвестных (Фв, K, Фс, К, Iz, If, ф, Рз, IT, Ib, ІЧ ).
Из числа последних показателей четыре первых относятся к уравнениям (75)-(77), следовательно, для решения этих уравнений достаточно лишь один из неизвестных показателей определить экзогенно. Очевидно, что целесообразнее всего в качестве такого показателя принять объем капитальных вложений производственного назначения К, вытекающий из динамики ППОФ по форме С-0 (С-1), или К = Кр (объем капвложений по методике их планирования и отчетности).
В уравнениях (78)-(80) имеется семь неизвестных (Iz, If, ф, Рз, Іт , Ib, I4), не считая Фс , которое определяется из уравнений (75)-(77). Следовательно, из этих семи неизвестных показателей надо экзогенно определить два, остальные можно рассчитать.
Таким образом, получаем шесть возможных комбинаций экзогенно определяемых важнейших показателей (кроме материалоемкости m, которая относится к 20 экзогенным показателям, обязательно определяемым до начала расчетов) (см. табл. 76):
1) к, If , ч
2) K, If, Iz;
3) K, If , Рз;
4) K, If , Ib,
5) K, IT , Ib;
6) K, If, ф
Кроме того, можно выбрать комбинации без К, которое будет определено исходя из Фо, последнее — исходя из фондоотдачиf или вооруженности труда ф, например:
7) If , IT , Ib.
Состав показателей этих комбинаций предопределяет порядок всех последующих расчетов.
Пользуясь табл. 75 и 77, каждый исследователь в зависимости от выбранной им комбинации важнейших экзогенно вводимых показателей может быстро составить перечень как входной информации (состоящей из показателей за предыдущий год Фк.о, Фс.о, оо,fo, Io, Ч0, bo, to, To и всех экзогенно вводимых показателей), так и выходной, получаемой при расчетах согласно табл. 77.
Порядок проведения расчетов на прогнозный год в зависимости от комбинации экзогенных важнейших показателей
№
опера
ции |
Из какого
известного показателя исходим |
Какие показатели
вычисляем |
Номер строки в табл. 75, по формулам которой производится расчет |
|
і |
2 |
3 |
4 |
|
|
Комбинация 1 (исходим из K, It |
т, ІЧ) |
|
і |
K |
Фв, Фк, Ф, А |
10, 11, 12, 47 |
|
2 |
I |
f, Т, Іт |
19, 52 |
|
3 |
m |
M |
49 |
|
4 |
Ч |
Ч, b, I., I, z, Z |
25, 31, 32, 42, 41, 40 |
|
5 |
Z |
S, s, з |
33, 45 |
|
6 |
S |
з, ЗП |
44, 50 |
|
7 |
T, ЗП |
Рз, П |
52, 54 |
|
8 |
Из полученных |
Все оставшиеся |
По соответствующим |
|
|
выше рассчитанных показателей |
и не рассчитанные
в табл. 75 |
строкам |
|
|
Комбинация 2 (исходим из K, If |
т, I) |
|
1-3 |
Выполняются как в комбинации 1 |
|
|
4 |
к |
Ib, Ч Ч, b, ф, z, Z |
32, 25, 24, 31, 30, 41, 40 |
|
5-8 |
Выполняются как в комбинации 1 |
|
|
|
Комбинация 3 (исходим из K, т, |
I, P)
7Z з' |
|
і |
K |
Фв, Фк, Ф, А |
10, 11, 12, 47 |
|
2 |
m |
M |
49 |
|
3 |
і, рз |
I, b, Ф, Ч, Т, f, z |
32, 31, 30, 24, 52, 19, 41 |
|
4 |
z |
Z, S, s, з |
40, 33, 34, 45 |
|
5-7 |
Выполняются как операции 6-8 в комбинации 1 |
|
|
Комбинация 4 (исходим из K, If |
т, Ib) |
|
1-3 |
Выполняются как в комбинации 1 |
|
|
4 |
h |
I„, Ч, b, ф, I, z, Z |
25, 24, 31, 30, 42, 41, 40 |
|
5-8 |
Выполняются как в комбинации 1 |
|
|
|
Комбинация 5 (исходим из K, т, |
Ip h) |
|
1-2 |
Выполняются как в комбинации 3 |
|
|
3 |
ІТ |
T, f |
53, 19 |
|
4 |
Ib |
b, Ч, ф, I, z, Z |
31, 24, 30, 42, 41, 40 |
|
5-8 |
Выполняются как в комбинации 1 (за исключением, которое определено в операции 3) |
|
1 |
2 |
3 |
4 |
|
Комбинация 6 (исходим из K, m, If, v) |
|
1-3 |
Выполняются как в комбинации 1 |
|
|
4 |
V |
Ч, Ч b, I., I, z, Z
’ Ч ’ b z’ ’ |
30, 25, 31, 32, 42, 41, 40 |
|
5-6 |
Выполняются как в комбинации 1 |
|
|
|
Комбинация 7 (исходим из If, IT, |
m У |
|
1 |
f iT |
f I Ф K Ф Ф
J ’ 1Ф^а ’ в’ ^ к |
19, 13, 7, 10, 11 |
|
2 |
IT Ib |
T, Ч Ч, b, Ф, Iz, z, Z |
52, 25, 31, 42, 41, 40 |
|
3 |
m |
M |
49 |
|
4 |
Z |
S, s, з, з, ЗП |
33, 45, 44, 50 |
|
5 |
Из полученных |
Все оставшиеся и |
По соответствующим |
|
|
выше рассчитанных |
не рассчитанные |
строкам |
|
|
показ ателей |
в табл. 75 |
|
В целом показатели табл. 77 дают возможность рассчитать все другие показатели, характеризующие процесс производства (затраты на 1 грн продукции, рентабельность, экономию ресурсов, окупаемость роста фондовооруженности труда повышением его производительности, все качественные показатели по объемам условно чистой и чистой продукции, а также все соответствующие темповые показатели).
При необходимости перечень показателей табл. 75 может быть дополнен:
1) показателями, расшифровывающими разделение ППОФ на активную и пассивную части, и соответствующими расчетами норм амортизационных отчислений;
2) показателями производительности труда сменного рабочего в увязке с вооруженностью его труда активной частью ППОФ.
Полная увязка показателей первой группы требует выборки за отчетные годы и экзогенного определения на прогнозные годы доли активной части ППОФ на начало года (d н), во вводимых (d в), ликвидируемых (d ), передаваемых ППОФ (daE), и на конец года (d ). При этом должно соблюдаться следующее равенство:
Фв4.в = Фл4л + Фе4е = Фк4.к - Фн4.н . (81)
В таком случае сумму амортизационных отчислений рассчитывают раздельно: по всей активной части среднегодовых фондов (Ф^ас)
и по пассивной [Фс(1-^ас)], для чего нормы отчислений за отчетные годы также рассчитывают раздельно.
Показатели второй группы состоят из фондоотдачи активной части ППОФ за наибольшую смену/ , вооруженности труда сменного рабочего активной частью ППОФ фар. Имеем произведение /арФар = = b = bid , где dp — доля рабочих в составе ППП (dp = Р/Ч). Формула
Т = /Фс (82)
отражает связь между показателями, выраженными через общую стоимость ППОФ и общую численность ППП, и показателями, выраженными через активную часть ППОФ и численность рабочих в наибольшей смене, поскольку ее можно записать как Т = /фЧ, где / — фондоотдача; ф — фондовооруженность; Ч — численность персонала. При прогнозировании в этом случае вместо/, I/, b, Ib, Ч, ІЧ, фЧ применяются /ap, bap, Pc, фар и соответствующие индексы.
Расчеты можно выполнять вручную или на ЭВМ. В последнем случае должна быть разработана программа, соответствующая выбранной комбинации важнейших экзогенных вводимых показателей.
Рассмотрим проблему экзогенного определения важнейших показателей на перспективу в фактических ценах и условиях каждого года, что относится к объемам и индексам роста Т, М, К. Такое определение связано с двойной трудностью: требуется оценить физический рост (т. е. в сопоставимых условиях), рост (уменьшение) данного показателя; определить рост цен по данному показателю.
При этом действуют следующие соотношения:
ІТ = Іт I ЦТ ;
Ім = ім іцм ;
іф = ІФ іцф ;
Im = Im (ЦМ ! ІЦТ );
I =1(цф 11ЦТ ).
(83)
(84)
ІК = ІКІЦК;
где IT , ІМ , ІФ , ІК , Im, I/ — индексы (темпы) роста Т, М, Ф, К, m,/в
фактических условиях данного года; І'т. І'м. Іф. IК. I'm. If — те же
индексы роста, но в сопоставимых условиях (т. е. это индексы физического роста Т, М, Ф, К); I^ , ^М , ^Ф , ^К — индексы роста цен и изменения методологии учета Т, М, Ф, К; при этом, как известно, индекс роста цен не определяется только в случае переоценки ППОФ; тот ежегодный рост средних цен на ППОФ, который отражается в объеме их стоимости по формам С-0 (С-1), является следствием роста цен на вводимые фонды (Фь) из-за роста цен на К.
Отсюда вытекает, что анализ показателей за отчетные годы и рекуррентный расчет показателей на прогнозные годы целесообразнее сначала проводить в сопоставимых условиях, а затем после полного согласования этих расчетов между собой выполнять расчеты в фактических условиях каждого года.
МЕТОДИКА АНАЛИЗА И ПРОГНОЗИРОВАНИЯ ОБЪЕМА РЕАЛИЗАЦИИ И ЕГО ФИНАНСОВЫХ РЕЗУЛЬТАТОВ
(БЛОК 4)
Очевидно, что условия и сам факт производства продукции без ее реализации не нужны обществу.
Реализация же может проходить по ценам большим или меньшим, чем оптовые (сложившиеся в процессе производства), и в объемах больших, чем ранее предусматривалось (в этом случае уменьшается остаток продукции на складах). Кроме того, цены реализации включают в себя расходы по реализации (даже не касаясь торговых наценок).
Блок 5 ориентирован на анализ объема реализации и прибыли от реализации, а также на сравнение их с показателями производства.
К сожалению, необходимая для этого статистическая база (отчет об основных показателях хозяйственной деятельности, таблица ТІР), сводимая Министерством статистики Украины в целом по промышленности и ее отрасли, содержит данные только по числу предприятий, полной себестоимости реализованной продукции, прибыли, вытекающему отсюда уровню рентабельности, а также аналогичные данные по убыточным предприятиям. Распределения прибыли в этой таблице нет.
Полная картина распределения прибыли от реализации, наличия и движения средств предприятий дается лишь в целом по промышленности. Если сделан такой свод по промышленности в целом, значит, исходная отчетность предприятий позволяет это сделать. А так как принадлежность каждого предприятия к той или иной отрасли, ведомственная подчиненность, формы собственности известны, то нет препятствий для составления и реализации в облстатуправлениях программы для ЭВМ по своду этих данных не только по промышленности в целом, но и по ее объектам.
В табл. 78 представлены данные по аналитическому блоку, отчетность по которому является ежеквартальной.
Реализация продукции и ее финансовые результаты в фактических ценах и условиях каждого года (блок 4)
|
(наименование отрасли) |
Стро
ка |
Обоз
наче
ние |
Наименование показателя
и единицы его измерения |
Методика определения показателей |
за отчетные
годы |
за прогнозные
годы |
|
1 |
2 |
3 |
4 |
5 |
|
1 |
R |
Объем реализации
млн грн. |
Гр.2+Гр.8 табл.1 или
Гр.23 формы
С-0 (табл.4) |
R=T
(см. стр.32 табл. 75) |
|
2 |
dR |
Отношение R к объему произведенной товарной продукции Т (см. стр. 52 табл. 75)
единиц |
dR = R:T |
Определяется
экзогенно |
|
3 |
ПR |
Прибыль от реализации
млн грн. |
Гр.3 табл.1 или гр.31 формы
С-0 (табл.4) |
(см. стр. 54 табл. 75) |
|
4 |
d П |
Отношение Пr к объему прибыли от производства П (см. стр. 51 табл. 75)
единиц |
t;
t;
и |
Определяется
экзогенно |
|
5 |
R
c |
Отношение уровня рентабельности к полной себестоимости реализованной продукции
единиц |
Rc = Пк : (^Пк ) |
а
1
fel |
|
С TdR — ndR |
|
Примечания: 1. Отчетные данные таблицы заполняются по материалам Минста-та Украины: “Отчет об основных показателях хозяйственной деятельности, табл. 1, 2, 3, 5, 7”; на номера этих таблиц даются ссылки при вычислении показателей; кроме того, показатели по строкам 1, 3, 6-8 могут определяться по табл. 4 формы С-0.
2. В графе 3 и 5 даны ссылки на номера таблиц данного пособия, а в графе 4 — номера таблиц отчетных данных Минстата Украины.
|
1 |
2 |
3 |
4 |
5 |
|
6 |
F
c |
Среднегодовая стоимость (нормируемых) оборотных средств
млн грн. |
Гр.33 формы
С-0 (табл.4) — гр.20 ф.С-0 (табл.3) |
?
II
С |
|
7 |
К |
Число оборотов Fcза год
единиц |
II |
Определяется
экзогенно |
|
8 |
R
ФБ |
Уровень рентабельности к сумме среднегодовой стоимости ППОФ (Фс) и Fcc
единиц |
где Fc берется из гр. 20 ф. С-0 (табл. 3) |
РФс = ПЯ :
: (Фс +Fc) |
|
9 |
П
? |
Прибыль не от реализации, а от других источников (реализации материальных ценностей, внереализационных операций)
млн грн. |
П = гр. 3 + гр. 4 (табл. 2) |
П = П„е g R |
|
10 |
ПБ |
Балансовая прибыль
млн грн. |
ПБ = П + П =
R g
= гр.1 (табл. 2) |
ПБ = П + П
Rg |
|
11 |
е |
Отношение П к Пв
g R
единиц |
е = П : П„
g R |
Определяется
экзогенно |
|
12 |
D |
Из стр. 9 — дивиденды по акциям, % по облигациям и доходам от других ценных бумаг
млн грн. |
D = гр. 5 (табл. 2) |
D = nR д |
|
13 |
д |
Отношение D к Пr |
д = D : Пr |
Определяется
экзогенно |
|
14 |
C |
Санкции, полученные (+), уплаченные (—) или их сальдо
млн грн. |
C = гр. 6 (табл. 2) |
C = ПRdc |
|
15 |
d
С |
Отношение C к Пr
единиц |
сф
II
О
С |
Определяется
экзогенно |
|
16 |
N |
Все платежи в бюджет, причитавшиеся по расчету
млн грн. |
N = гр.1 (табл. 3) |
N = Кф у =
= ПБ а б 5у |
|
1 |
2 |
3 |
4 |
5 |
|
17 |
Nn |
Из стр. 16 — платежи из прибыли
млн грн. |
Nn = гр. 2 (табл. 3) |
Njj — шN |
|
18 |
No |
Все платежи в бюджет, фактически выплаченные
млн грн. |
|
Nф = NПФ 6 =
= ПБ6б 6 |
|
19 |
Nn0 |
Из стр. 18 — платежи из прибыли
млн грн. |
|
NПф= П^б |
|
20 |
d Б |
Отношение стр. 19 к балансовой прибыли
единиц |
dБ = N ПФ : ПБ |
Определяется
экзогенно |
|
21 |
6 |
Отношение стр. 18 к стр. 19
единиц |
6 = N0 : Ыпф |
Определяется
экзогенно |
|
22 |
? |
Отношение стр. 16 к стр. 18
единиц |
<
и |
Определяется
экзогенно |
|
23 |
ш |
Отношение стр. 17 к стр. 16
единиц |
и
3 |
Определяется
экзогенно |
|
24 |
ВФ |
Фактически внесено во все
внебюджетные фонды (социальное страхование, пенсионный, занятости, разгосударствления и приватизации, Чернобыльский и др.)
млн грн. |
Вф =1 гр. 1, з,
5, 7, 9 (табл. 5) |
ВФ= ВФСПМ =
— Zлм |
|
25 |
В
ФСП |
Из стр. 24 — фонд социального страхования и пенсионный фонд
млн грн. |
в —
ФСП
— гр.1 + гр.3 (табл. 5) |
ВФСП — Zjl |
|
26 |
q |
Отношение стр. 25 к фонду
потребления Z
(см. стр. 40 табл. 75)
единиц |
q = в Фсп *Z |
Определяется
экзогенно
(сравнивая с q по табл. 75) |
|
27 |
м |
Отношение стр. 24 к стр. 25
единиц |
м = ВФ : ВФСП |
Определяется
экзогенно |
|
1 |
2 |
3 |
4 |
5 |
|
28 |
K
п |
Поступило (начислено) в фонд развития и совершенствования
производства
млн грн. |
K = гр. 2 (табл. 7) |
КП = KdKn =
= Ф^^КП |
|
29 |
K |
Фактически израсходовано (перечислено) в фонд развития и совершенствования производства
млн грн. |
K = гр. 3 (табл. 7) |
К = ФА |
|
30 |
K
о |
Остаток (+), перерасход (—) средств фонда развития и совершенствования производства на конец года
млн грн. |
Ко = гр. 4 (табл. 7) |
Ko(,+1) = Ko+
+ Knt+v- K,p |
|
31 |
°кп |
Отношение стр. 28 к стр. 29
единиц |
Ь
>г
N |
Определяется
экзогенно |
|
32 |
dK |
Отношение стр. 29 к стоимости ППОФ на конец года (см. стр. 11 табл. 75)
единиц |
dK = К : Фк |
Определяется
экзогенно |
|
33 |
v
Р |
Поступило (начислено) в фонд социального развития
млн грн. |
?п = гр. 6 (табл. 7) |
v = vd „ =
n vn
= Zd d „
v vn |
|
34 |
v |
Фактически израсходовано (перечислено) по фонду социального развития
млн грн. |
v = гр. 7 (табл. 7) |
v = Zd
v |
|
35 |
v
о |
Остаток (+), перерасход (—) средств фонда социального развития на конец года
млн грн. |
?о = гР. 8 (табл. 7) |
Vo(,+l) = Vo+
+ (\,+<Г V(,+r) |
|
36 |
dvn |
Отношение стр. 33 к стр. 34
единиц |
dvn = ?п : ? |
Определяется
экзогенно |
|
1 |
2 |
3 |
4 |
5 |
|
37 |
dv |
Отношение стр. 34 к фонду потребления Z (см. стр. 40 табл. 75)
единиц |
N
II
•ХЗ |
Определяется
экзогенно |
|
38 |
Wn |
Поступило (начислено) в фонд поощрения
млн грн. |
Wn = гр. 10 (табл. 7) |
Wn = WdWn =
= SdWdWn |
|
39 |
W |
Фактически израсходовано (перечислено) в фонд поощрения
млн грн. |
W = гр.11 (табл. 7) |
W = SdW |
|
40 |
W
o |
Остаток (+), перерасход (—) средств фонда поощрения на конец года
млн грн. |
Wo = гр. 12 (табл. 7) |
Wo(l+l) = Wo, +
+ (W„(,+1) -W(,+1)) |
|
41 |
dwn |
Отношение стр. 38 к стр. 39
единиц |
dWn = Wn : W |
Определяется
экзогенно |
|
42 |
dw |
Отношение стр. 39 к фонду зарплаты S (см. стр. 33 табл. 75)
единиц |
dW = W : S |
Определяется
экзогенно
(сравнивая с W
по табл. 75) |
|
43 |
E |
Сумма фактически израсходованных (перечисленных) средств в фонд предприятия: стр. 29 + стр. 34 + стр. 39
млн грн. |
E = к + v + w |
E = к + v + w |
|
44 |
d E |
Отношение стр. 43 к балансовой прибыли (стр. 10)
единиц |
dE = E : ПБ |
dE = E : ПБ |
|
45 |
dEnR |
Отношение стр. 43 к прибыли от реализации (стр. 3)
единиц |
dEnR = E : nR |
dEnR = E : nR |
|
46 |
dEn |
Отношение стр. 43 к прибыли от производства (см. стр. 54 табл. 75)
единиц |
dEn= E : П |
dEn= E : П |
Строки 2, 4, 26, 32, 37, 42 табл. 78 устанавливают связь показателей табл. 75 (блоки 1-3) с настоящей таблицей (блок 4); эта связь достаточно сложна: она отражает изменение круга предприятий, отличие объема производства от объема продаж, отличие оптовых цен предприятий от цен реализации, влияние внепроизводственной деятельности (операций с ценными бумагами и т. п.).
АНАЛИЗ И ПРОГНОЗ БАЛАНСА ТОВАРНОЙ ПРОДУКЦИИ И ЕЕ РАСПРЕДЕЛЕНИЯ (БЛОК 5)
Этот баланс выполняется по промышленности в целом и ее отраслям на основе данных отчетного межотраслевого баланса производства и распределения товарной продукции (МОБ). К сожалению, этот баланс подготавливают в Министерстве статистики Украины с опозданием на 1,5 года против отчетного года. Такая задержка сводит к минимуму роль этого баланса при принятии экономических решений. Если бы этот баланс готовился не более чем за полгода после окончания отчетного года, то он играл бы важную роль в экономической политике правительства.
Однако, несмотря на известную задержку, МОБ можно использовать в целях прогнозирования развития экономики промышленности и ее отраслей, если его данные связать с данными формы С-0 (С-1) и других отчетных форм, поступающих не более чем с полугодовым опозданием после окончания отчетного года.
Для этого по промышленности в целом и по каждой ее отрасли рекомендуется прежде всего провести анализ данных МОБ за два-три последних года, по которым этот баланс имеется.
При этом следует учитывать, что в МОБе фигурируют “чистые отрасли” промышленности (в отличие от отраслей в формах С-0 (С-1)) и применяются действующие цены конечного потребления каждого года (т. е. цены с учетом НДС, транспортно-заготовительных расходов и торговой наценки).
Форма такого анализа и методы определения показателей предлагаются в табл. 79. При этом обращаем внимание на то, что некоторые условные обозначения этой таблицы иногда не совпадают с аналогичными обозначениями предыдущих разделов данного учебного пособия, что обусловлено множеством использованных показателей. Заполнение табл. 79 за годы, последующие за последним годом, по которому имеется отчетный МОБ, возможно двумя способами.
Баланс товарной продукции и ее распределения (блок 5)
|
(наименование отрасли) |
|
Строка |
Обозна
чение |
Наименование показателя и единицы его измерения |
Определение показателей за годы, по которым имеется отчетный МОБ |
|
і |
2 |
3 |
4 |
|
і |
T ’ |
Объем произведенной продукции
млн грн. |
Берутся данные строки “Вся продукция” из МОБ по графе соответствующей отрасли |
|
1а |
GT |
Отношение объема произведенной продукции в действующих ценах и методологии каждого года по строке 52 табл. 75 к объему произведенной товарной продукции, указанному в строке і данной таблицы
единиц |
Рассчитывается по формуле
G стр. 52 табл. 75
T стр.1 данной таблицы |
|
2 |
И T |
Ввоз продукции (включая импорт)
млн грн. |
Берутся данные строки “Ввоз” из МОБ по графе соответствующей отрасли |
|
375
376
|
1 |
2 |
3 |
4 |
|
3 |
dN |
Отношение ввоза продукции к объему ее производства
единиц |
Рассчитывается по формуле d _ стр. 2 n стр.1 |
|
4 |
Э t |
Вывоз продукции (включая экспорт)
млн грн. |
Берутся данные графы “Вывоз” из МОБ по графе соответствующей отрасли |
|
5 |
d
Э |
Отношение вывоза продукции к объему производства
единиц |
Рассчитывается по формуле
стр. 4
d'b _ 1
стр. 1 |
|
6 |
Q.
н |
Остатки на складах продукции на начало данного (конец предыдущего) года
млн грн. |
Источники информации пока не установлены,
но имеется связь
(стр. 6 - стр. 7) _ Е стр. 9, 12, 23, 24, 25 -- (стр. 1 + стр. 2 - стр. 4) |
|
7 |
Q.
к |
Остатки на складах продукции на конец данного (начало последующего) года
млн грн. |
|
8 |
R |
Ресурсы продукции данной отрасли для потребления внутри страны
млн грн. |
Рассчитывается по формуле
R = стр. 1 + стр. 2 - стр. 4 + (стр. 6 - стр. 7) |
|
9 |
R
П |
Из строки 8 — все производственное потребление продукции данной отрасли в стране
млн грн. |
Берутся данные графы “Итого потреблено в отраслях материального производства” из МОБ по строке соответствующей отрасли |
377
|
1 |
2 |
3 |
4 |
|
10 |
R
с.п |
Из строки 9 — собственное производственное потребление продукции своей отрасли
млн грн. |
Берутся данные на пересечении графы и строки МОБ по соответствующей отрасли |
|
11 |
a„
Rc.n |
Отношение объема собственного производственного потребления своей продукции к объему производства (повторный счет)
единиц |
Рассчитывается по формуле стр. 10
a r =-г
Rc.n стр. 1 |
|
12 |
R
н.п |
Из строки 8 — непроизводственное потребление продукции данной отрасли
млн грн. |
Берутся данные графы “Итого непроизводственное потребление” по строке соответствующей отрасли в МОБ |
|
13 |
a R
RH.n |
Отношение объема непроизводственного потребления к объему произведенной товарной продукции
единиц |
Рассчитывается по формуле
стр. 12
aR =-г
RH.n стр. 1 |
|
14 |
a Б |
Доля группы Б в объеме товарной продукции
единиц |
Берется из строки таблицы соответствующей
отрасли |
|
1 |
2 |
3 |
4 |
|
15 |
N |
Нормативный объем непроизводственного (личного и общественного) потребления товарной продукции данной отрасли внутри страны (исходя из норм потребления, потребительской корзины и других расчетов)
млн грн. |
Берется по данным специальных расчетов, согласованных с Минэкономики Украины |
|
16 |
? |
Степень удовлетворения нормативных потребностей страны в продукции непроизводственного потребления данной отрасли
единиц |
Рассчитывается по формуле
стр. 12
? = —--
стр. 15 |
|
17 |
“ Rn |
Отношение объема производственно-потребленной продукции данной отрасли ко всему объему производства продукции этой отрасли
единиц |
Рассчитывается по формуле
стр. 9
а r =-т
Rn стр. 1 |
|
18 |
а а |
Доля группы А в объеме продукции данной отрасли
единиц |
Рассчитывается по формуле
а а = стр.1 - стр.14 данной таблицы |
|
19 |
T
п.с |
Объем продукции данной отрасли в составе материальных затрат строительной продукции страны
млн грн. |
Берется по графе “Строительство” по строке данной отрасли МОБ |
378
379
|
1 |
2 |
3 |
4 |
|
20 |
T
п.п |
То же — в составе материальных затрат всех отраслей промышленности Украины
млн грн. |
Берется по графе “Итого промышленность” по строке данной отрасли МОБ |
|
21 |
T
сх |
То же — в составе материальных затрат продукции сельского и лесного хозяйства страны
млн грн. |
Берется по графе “Сельское и лесное хозяйство” по строке данной отрасли МОБ |
|
22 |
T
пр |
То же — в составе материальных затрат продукции отдельных отраслей материального производства
млн грн. |
Берется по сумме граф “Транспорт и связь”, “Сфера обращения”, “Прочие виды деятельности сферы материального производства” по строке данной отрасли МОБ |
|
23 |
Зн.ф |
Затраты продукции данной отрасли на накопление основных фондов (производственных и непроизводственных)
млн грн. |
Берется по графе “Накопление основных производственных и непроизводственных фондов” по строке данной отрасли МОБ |
|
24 |
З
н.о |
Затраты продукции данной отрасли на накопление оборотных фондов, запасов (+ — расход,--сни
жение)
млн грн. |
Берется по графе “Накопление оборотных фондов, запасов и резервов” по строке данной отрасли МОБ |
|
25 |
з ф
в.ф |
Затраты продукции данной отрасли на возмещение выбывших основных фондов, на капремонт, потерь основных и оборотных фондов
млн грн. |
Берется по сумме двух граф “Возмещение” по строке данной отрасли МОБ |
380
|
1 |
2 |
3 |
4 |
|
26 |
|
Контроль правильности выборки данных |
По каждому году должно быть соблюдено равенство
стр.1 + стр. 2 = стр. 4 + стр. 9 + стр. 12 +
+ стр. 23 + стр. 24 + стр. 25 - (стр. 6 - стр. 7) |
|
27 |
w |
Степень зависимости производства данной отрасли от внешних экономических связей (доля внешнего оборота в объеме продукции)
единиц |
Рассчитывается по формуле
(стр. 2 + стр. 4) стр. 1 |
|
28 |
ан.ф |
Доля затрат на накопление основных фондов в составе продукции данной отрасли
единиц |
Рассчитывается по формуле стр. 23
а д= —--
н-ф стр. 1 |
|
29 |
а н.о |
Доля затрат на накопление оборотных фондов, запасов, резервов в составе продукции данной отрасли
единиц |
Рассчитывается по формуле
стр. 24
а = —--
н-° стр. 1 |
|
30 |
а ,
в.ф |
Доля затрат на возмещение выбывших основных фондов, на капремонт, потерь основных и оборотных фондов в составе продукции данной отрасли
единиц |
Рассчитывается по формуле
стр. 25
а ф = • 100
в-ф стр. 1 |
|
31 |
I
э |
Прямые удельные затраты продукции электроэнергетики на 1000 грн произведенной продукции данной отрасли
1 грн/1000 грн |
Берется из МОБ (коэффициенты прямых и полных затрат) по строке “Электроэнергетика” в графе данной отрасли (кроме промышленности в целом) |
381
|
1 |
2 |
3 |
4 |
|
32 |
I
T |
Прямые удельные затраты продукции топливной промышленности на 1000 грн произведенной товарной продукции данной отрасли
1 грн/ЮОО грн |
Берутся из МОБ (коэффициенты прямых и полных затрат) по сумме строк “Нефтегазовая”, “Угольная”, прочая топливная промышленность (кроме промышленности в целом) |
|
33 |
I
ч |
Прямые удельные затраты продукции черной металлургии на 1000 грн произведенной продукции данной отрасли
1 грн/ІООО грн |
Берутся из МОБ (коэффициенты прямых и полных затрат) по строке “Черная металлургия” (кроме промышленности в целом) |
|
34 |
M " |
Итого материальных затрат (без амортизации) в составе объема затрат на производство (ЗП)
млн грн. |
Берется из строки “Итого материальных затрат (без амортизации и недоамортизированной стоимости)” по графе соответствующей отрасли в МОБ |
|
35 |
GM |
Отношение объема материальных затрат по строке 49 табл. 75 к объему таких затрат по строке 34 данной таблицы
единиц |
Рассчитывается по формуле
G стр. 49 табл. 75
M стр. 34 данной таблицы |
|
36 |
А " |
Амортизация и недоамортизированная стоимость в составе объема затрат на производство
млн грн. |
Берется из строки “Амортизация и недоамортизированная стоимость” по графе соответствующей отрасли МОБ |
|
37 |
Ga |
Отношение суммы амортизации по строке 47 табл. 75 к объему по строке 36 данной таблицы
единиц |
Рассчитывается по формуле
стр. 47 табл. 75
Ga =-
стр. 36 данной таблицы |
382
|
1 |
2 |
3 |
4 |
|
38 |
Ф |
Среднегодовая стоимость основных фондов
млн грн. |
Берется из строки “Среднегодовая стоимость основных фондов” по графе соответствующей отрасли МОБ |
|
39 |
ТФ |
Отношение среднегодовой стоимости ППОФ по строке 12 табл. 75 к стоимости основных фондов по строке 8 данной таблицы
единиц |
Рассчитывается по формуле
стр. 12 табл. 75
Ф стр. 38 данной таблицы |
|
40 |
D |
Объем чистой продукции согласно данным МОБ (т. е. в ценах потребления с НДС)
млн грн. |
Рассчитывается по формуле
D = стр. 1 - стр. 34 - стр. 36 данной таблицы |
|
41 |
Z |
Сумма оплаты труда согласно МОБ
млн грн. |
Берется по сумме строк “Заработная плата”, “Другие основные выплаты”, “Оплата труда в колхозах” по графе соответствующей отрасли МОБ |
|
42 |
TZ |
Отношение фонда потребления по строке 40 табл. 75 к сумме оплаты по строке 41 данной таблицы
единиц |
Рассчитывается по формуле стр. 40 табл. 75
Т —
z стр. 41 данной таблицы |
|
43 |
Ч ' |
Среднегодовая численность работников по данным МОБ
тыс. чел. |
Берется по строке “Среднегодовая численность работников” по графе соответствующей отрасли МОБ |
383
|
1 |
2 |
3 |
4 |
|
44 |
Тч |
Отношение численности ППП по строке 24 табл. 75 к численности работников по строке 43 данной таблицы
единиц |
Рассчитывается по формуле
стр. 2 формы С-0(С-1)
Тч =-
стр. 43 данной таблицы |
|
45 |
Q |
Сумма начислений по соцстрахованию, отчислений в фонды соцобеспечения и соцстрахования колхозников по данным МОБ
млн грн. |
Берется по сумме строк “Начисления по соцстрахованию”, “Отчисления в фонды соцобеспечения и соцстрахования колхозников” по графе соответствующей отрасли
МОБ |
|
46 |
TQ |
Отношение стр. 40 табл. 75 х стр. 37 табл. 75 (суммы отчислений от фонда потребления по табл. 75) к сумме начислений по строке 45 данной таблицы
единиц |
Рассчитывается по формуле
стр. 40 табл. 75 х стр. 37 табл. 75
Tq
Q стр. 45 данной таблицы |
|
47 |
H |
НДС по данным МОБ
млн грн. |
Берется по данным строки “НДС” по графе соответствующей отрасли МОБ |
|
48 |
П ’ |
Прибыль (+), убыток (—) без НДС, но с учетом сальдо регулирования цен на дотируемую продукцию
млн грн. |
Рассчитывается по формуле
П" = стр.40 - стр.41 - стр.45 - стр.47 данной таблицы |
|
49 |
Р |
Рентабельность по данным МОБ (к себестоимости)
единиц |
Рассчитывается по формуле
стр. 48
стр. 1 - стр. 47 - стр. 48 |
384
|
1 |
2 |
3 |
4 |
|
50 |
Т я |
Объем товарной продукции согласно МОБ без НДС и без торгово-транспортных расходов
млн грн. |
Т* = (по гр. соотв. отрасли - стр. 47 данной табл.) : (стр.“Вся продукция за вычетом торгово-транспортных расходов”) |
|
51 |
GT ¦ |
Отношение объема продукции по строке 52 табл. 75 к ее объему по строке 50 данной таблицы
единиц |
Рассчитывается по формуле
гр. 4 формы С-0(С-1)
Gt " =
стр. 50 данной таблицы |
|
52 |
а НТ |
Величина НДС на 1 грн продукции, взятой по строке 1
единиц |
Рассчитывается по формуле аш = стР' 47
стр. 1 |
|
53 |
ат.-т |
Величина торгово-транспортной наценки на 1 грн
продукции, взятой по строке 1
единиц |
Рассчитывается по формуле
а т.-т = (стр. 1 данной табл. - стр. “Вся продукция за вычетом торгово-транспортных расходов” по гр. данной отрасли МОБ) : стр. 1 данной таблицы |
|
54 |
т
к.п |
Конечное потребление продукции |
Рассчитывается по формуле
ТКп = стр. 1 + (стр. 2 - стр. 4) - стр. 9 =
= стр. 1/1 + стр. 3 - стр. 5 - стр. 17 |
Первый способ прогнозирования опирается на отчетные и рассчитанные прогнозные данные по блокам 1-3, которые состоят из двух групп:
1) данные за отчетные годы, по которым имеется форма С-0 (С-1), и за другие необходимые для блоков 1-3 годы: за один или два года (поскольку расчет МОБ задерживается на 1,5 года);
2) данные за последующие годы: из них один текущий (в течение которого проводится это исследование) и остальные прогнозные годы; показатели этой группы за все годы рассчитаны как прогнозные.
Зная все показатели табл. 75 и учитывая, что они отличаются от показателей табл. 79 как кругом охваченных предприятий, так и ценами на продукцию, переход от показателей табл. 75 к показателям табл. 79 осуществляется через связующие относительные показатели табл. 78 (см. стр. 1а, 35, 37, 39, 42, 44, 46, 51), а также через долевые и удельные показатели (см. стр. 3, 5, 11, 13, 16, 17, 27, 28-33, 52, 53). Значения связующих показателей табл. 77 (а также прирост остатков продукции на складах: стр. 6 - стр. 7) определяются на указанные выше годы экзогенно: на основе динамики этих показателей за отчетные годы с ее корректировкой по ожидаемым изменениям условий либо по данным специальных целевых исследований. Динамику этих показателей обычно согласовывают с Министерством экономики Украины. После этого почти все остальные показатели на исследуемые годы рассчитывают таким образом:
стр. 1 = стр. 52 табл. 75 : стр. 1а
стр. 2 = стр. 1 х стр. 3
стр. 4 = стр. 1 х стр. 5
стр. 2 + стр. 4 = стр. 1 х стр. 27
стр. 8 = стр. 1 + стр. 2 - стр. 4 + (стр. 6 - стр. 7)
стр.12=стр.1хстр.13
стр. 9 = стр. 8 - стр. 12 - стр. 23 - стр. 24 - стр. 25 = стр. 15 = = стр. 12 : стр. 16 стр. 10 = стр. 1 х стр. 11
стр. 17 = стр. 1 + стр. 3 - стр. 4 - стр. 13 - стр. 28 - стр. 29 -- стр. 30
стр. 18 = стр. 9 : стр. 1
стр. 19 + стр. 20 + стр. 21 + стр. 22 = стр. 9
стр. 23 = стр. 1 х стр. 28
стр. 24 = стр. 1 х стр. 29
стр. 25 = стр. 1 х стр. 30
стр. 34 = стр. 49 табл. 75 : стр. 35
стр. 36 = стр. 47 табл. 75 : стр. 37
стр. 38 = стр. 12 табл. 75 : стр. 39
|
стр. 36 = |  |
стр. 40 = стр. 1
стр. 34
стр. 45,
где n = стр. 41 + стр. 45 + стр. 47 + стр. 48; стр. 41 = стр. 40 табл. 75 : стр. 42 стр. 43 = стр. 24 табл. 75 : стр. 44 стр. 45 = (стр. 40 табл. 75 х стр. 37 табл. 75) : стр. 46 стр. 47 = стр. 1 х стр. 52 стр. 48 = стр. 40 - стр. 41 - стр. 45 - стр. 47 стр. 49 = стр. 48 : (стр. 1 - стр. 47 - стр. 48) стр. 50 = стр. 52 табл. 75 : стр. 51 = стр. 1 : (1 - стр. 52 - стр. 53) стр. 54 = стр. 1 + (стр. 2 - стр. 4) - стр. 9 = стр. 1 х (1 + стр. 3 -- стр.5 - стр. 17).
Как видно, первый способ прогнозирования баланса производства продукции и ее распределения построен на экзогенном, а значит, приблизительном определении относительных и долевых показателей, многие из которых зависят от изменения цен, динамика которых также не может быть оценена.
Все расчеты выполняются рекуррентно, т. е. последовательно год за годом; пока не выполнены все расчеты и согласования по первому прогнозному году, не приступают к подведению итогов следующего года.
Второй способ прогнозирования основан на прогнозе матрицы прямых материальных затрат на единицу продукции каждой отрасли (каждого объекта исследования). Эта таблица имеет специфическую форму (табл. 80).
Таблица 80
Прямые удельные материальные затраты на единицу продукции
|
(наименование отрасли) |
|
Наименование отраслей, продукция которых потребляется данной отраслью в виде материальных затрат |
Годы, по которым имеется отчетный
МОБ |
Годы, по которым не составлен МОБ |
|
t-3 |
t-2 |
t-1 |
t |
t + 1 |
t+2 |
t+3 |
t+4 |
Электроэнергетика
Топливная
..............и т. д. |
|
|
|
|
|
|
|
|
|
За годы, по которым имеется отчетный МОБ, данные о прямых удельных материальных затратах берутся прямо из них. За годы, по которым не составлен МОБ (как по прошедшим годам, так и будущим), прямые удельные материальные затраты проставляются экзогенно, в ценах последнего года, по которому имеется МОБ, исходя из двух предположений:
а) учета вероятных влияний научно-технического прогресса и внутриотраслевых структурных изменений;
б) считая, что рост цен в прогнозных годах будет одинаков во всех отраслях материального производства.
Полученную в табл. 80 матрицу корректируют с учетом индексов цен на продукцию. Для этого составляется таблица цепных индексов цен: за прошлые годы — по отчетным данным, за будущие — на основе экзогенных данных. Эта таблица по форме подобна табл. 80 с тем лишь отличием, что в ней по строкам (годам) проставляются цепные индексы средних за год цен (и методология учета) на продукцию той отрасли, название которой стоит в данной строке.
По данным такой таблицы корректируются экспертные оценки прямых удельных материальных затрат путем умножения каждого из них на относящийся к нему множитель М, представляющий собой для первого (+1) года, по которому не составлен МОБ, отношение цепного индекса роста цен на продукцию отрасли, указанной в строке (г), к цепному индексу роста цен на продукцию отрасли (j), указанной в заголовке табл. 78. После того, как таким образом будут откорректированы прямые удельные материальные затраты на первый прогнозный год, корректируются удельные материальные затраты второго прогнозного года путем их умножения на множитель Мж предыдущего года и на множитель второго года Mt+2. В третьем прогнозном году экзогенно определенные в табл. 80 удельные материальные затраты умножаются уже на три множителя: Mt+l Mt+2 M+3 и т. д.
Полученные таким образом скорректированные значения прямых удельных материальных затрат сводятся по каждому году в одну таблицу (матрицу) (табл. 81).
Таблица 81
|
Таблица скорректированных прямых удельных материальных затрат на прогнозный_год |
Отрасль, чья продукция
расходуется в виде
материальных затрат |
Отрасль,
расходующая
данные
материальные
затраты
на единицу своей
продукции |
Электро
энергетика |
Топлив
ная |
И т. д. |
Электроэнергетика
Т опливная
.........................и т. д. |
|
|
|
|
|
Далее можно действовать по двум направлениям.
Первое направление. Данные табл. 81 применяются к данным табл. 75 для вычисления отраслевого состава объема материальных затрат по каждой отрасли путем умножения прямых удельных материальных затрат по табл. 81 на объем товарной продукции Т по стр. 52 табл. 75 и на стр.іа табл. 79. Если полученная при этом суммарная величина материальных затрат М" по данной отрасли (что соответствует стр. 34 табл. 79) не совпадает с частным от деления стр. 49 табл. 75 на стр. 35 табл. 79, то необходимо вносить коррективы в соответствующие экзогенные показатели либо в табл. 75, либо в табл. 81, либо и туда, и туда. Соответственно вносятся коррективы и в табл. 78. Остальные показатели определяются как по первому способу (т. е. исходя из показателей табл. 75). Все расчеты осуществляются рекуррен-тно, т. е. последовательно год за годом.
Второе направление решения задачи реализуется после того, как будет подготовлена для первого прогнозного года табл. 81. Эта таблица представляет собой квадратную матрицу, которую обозначим через А. Эту матрицу следует далее преобразовать в матрицу полных удельных материальных затрат по формуле (Е-А)-1, где Е — единичная матрица того же порядка, что и А [32]. После этого исходя из стр. 52 табл. 75, деленной на стр. 1а табл. 79, т. е. в ценах и кругу предприятий МОБ, или исходя из объема продукции конечного потребления, получим
Тел = (стр. 52 табл. 75 : стр. 1а табл. 79) х х (1 + стр. 3 - стр. 5 - стр. 17 табл. 79).
Сначала используем матричную форму Т" = (Е - А)-1 Т^ п для нахождения Т?п по Т" или наоборот — для нахождения Т "по Т^п. Затем определяем объемы материальных затрат по каждой отрасли с помощью значения Т" и матрицы А (табл. 81) прямых удельных материальных затрат. Полученные при этом объемы материальных затрат М" должны совпасть с частным от деления стр. 49 табл. 75 на стр. 35 табл. 79. Если такого совпадения не будет, необходимо внести коррективы в соответствующие экзогенные показатели в табл. 75 и 81. Все расчеты выполняются рекуррентно, т. е. пока не закончено согласование всех данных по табл. 75 и 79 по первому прогнозному году, не следует приступать к расчетам по следующему году.
3.4.2. Значение и особенности моделей в сопоставимых условиях
Модель развития промышленного производства в фактических условиях (в ценах и методологии каждого года), изложенная в параграфе 3.4, дает полное представление о всех финансовых результатах производства и реализации продукции, но не дает данных об изменении физического объема продукции, основных фондов, капитальных вложений, численности персонала. А такие данные (индексы физического роста и физические объемы основных факторов производства и качественных показателей) крайне необходимы, так как только с их помощью (не считая объемов продукции в натуральном выражении) можно получить достаточно близкие к истине оценки физического роста факторов производства в денежном выражении.
Это относится к следующим показателям (обозначения см. в табл. 75), их составляющим (даны в скобках) и индексам их роста:
K, K, Фс (Фв, Фн, Фк), Т(M, A, П, V, D),f ф, Ч(p,pY b, m .
Особое место в приведении показателей в сопоставимый вид занимает зарплата как важная составляющая условно чистой V и чистой продукции D (см. параграф 3.5).
Заполнение данных за отчетные годы и расчеты за прогнозные годы для данной модели выполняются по табл. 82* такой же формы, что и для модели в фактических условиях по блокам 1-3 (т. е. по табл. 75 с учетом примечаний к ней), но с рядом отличий в порядке заполнения.
Главное положение — это принятие за основу фактических показателей последнего отчетного года t (показатели которого в табл. 75 обозначены символом о), в методологии и ценах которого должны быть рассчитаны все зависящие от цен и методологии показатели как в отчетных, так и прогнозных годах.
Ниже дается порядок использования данных табл. 75 при составлении табл. 82 (табл. 83).
Таблица 83
Использование данных табл. 75 при составлении табл. 82
|
За какие годы |
Что делать с показателями табл. 75 |
|
Показатели переписи переносятся из табл. 75 в табл. 82 без всяких изменений (строки из табл. 75) |
Показатели
пересчитываются
в цены и методологию ?-го (последнего отчетного) года (строки из табл. 75) |
|
Отчетные годы, кроме последнего (обозначенного в табл. 75 символом) |
2, 3, 4, 5, 6, 9, 14, 16, 20,
21, 26, 27, 28, 35, 37, 39,
43, 45, 46, 52, 62 |
Все остальные
показатели |
|
Последний отчетный год, в ценах и методологии которого составляется табл. 81 |
Все показатели по всем
строкам |
|
|
Прогнозные годы начиная с (t+^-го года |
2, 3, 4, 5, 6, 9, 14, 16, 20
21, 26, 27, 28, 35, 37, 39,
43, 45, 46, 52, 62 |
Все остальные
показатели |
|
|
* Табл. 82 не приводим, так как она аналогична табл. 75. |
Здесь надо пояснить, почему строки 43 и 45 переносятся из табл. 75 в табл. 82 без изменений. Дело в том, что обычно применявшаяся методика расчета сопоставимых показателей за отчетные годы, при которой фонд зарплаты S и фонд потребления Z сохранялись в их фактическом значении, не годится в условиях роста инфляции, когда за один год цены вырастают во много раз. Сохранение такой методики приводит к тому, что за прошлые годы (когда цены были во много раз ниже) объемы Т и М при их пересчете в цены последнего года во много раз вырастают, доля оставленной в прежних размерах зарплаты соответственно снижается, а рассчитанная по остатку прибыль приобретает огромные размеры. Однако если сопоставимые расчеты вести в неизменных ценах, то это приведет к соответствующему уменьшению объемов Т за анализируемые годы, и эти объемы станут меньшими, чем фактические объемы S и Z, которые должны входить в сопоставимые объемы Т. Получается запутанная ситуация.
Таким образом, при расчетах сопоставимых значений показателей K, Ф , Т, M и вытекающих из них (П, V, D) необходимо за отчетные и прогнозные годы в состав сопоставимых показателей по табл. 83 вносить фактическое значение зарплатоемкости 1 грн товарной продукции з = Z : T = z :b = S(1 + n + w), числящееся в стр. 45 табл. 75, а следовательно, при этом переносить из табл. 75 в табл. 83 и значения Kz = I3 (стр. 43 табл. 75).
Ниже дается методика пересчета остальных основных показателей исходя из данных за последний отчетный год, причем имеется в виду, что все пересчеты выполняются от t-го года назад, год за годом, и от t-го года вперед, год за годом. Предполагается, что все индексы известны. Задачу пересчета показателей табл. 75 в методологию и цены последнего отчетного года t удобнее всего выполнять, составив сначала табл. 75 цепных индексов физического роста К, Ф , М, Т, Ч. Форма этой таблицы такая же, как и у других расчетных таблиц, поэтому здесь не приводится. Эти цепные индексы I'k , Іф,Iм Ц'т, І'ч рассчитываются по данным табл. 75 по имеющимся там объемам К, Фс, М, Т, Ч и цепным индексам цен, методологии, содержащимся в формулах:
І'к
I ф |
|
j |
: IЦК |
|
Kj -1 |
|
Фс |
• I„ , |
|
фС |
¦1 Цф] |
|
IuMj ; : !ЦTJ;
: Im4j ,
(85)
J -1
І'т. =
TJ -1 4J
j -1
где I'k . — цепной индекс физического роста К в j-м году по сравнению с (j- 1)-м; І'ф. — то же в отношении Фс; IМ. — то же в отношении
М; І'т, — то же в отношении Т; j — любой номер года от (t-2) до (Г+3)/
После этого фактические значения К, Фс, М, Т, Ч, имеющиеся в табл. 75, по всем годам, кроме t-го (т. е. последнего отчетного, по ценам и методологии которого ведется расчет табл. 82), следует разделить на соответствующее произведение цепных индексов физического роста. Можно поступить и иначе: вести расчет рекуррентно от года t к прошлым годам и от того же года t к прогнозным годам. Например, имеем для t-го года Tt; тогда T't-i = Tt : ITt и Tt'+i = Tt • Іт(t+1),
T/_2 = T/_i: It(t_i), T+2 = Tt+i • It(t+2) и так далее по всем этим объемным показателям.
Таков переход от табл. 75 в фактических условиях каждого года к табл. 82 в ценах и методологии последнего отчетного года.
Однако практика показывает, что удобнее проводить анализ за отчетные годы и расчет прогноза на будущее начиная с показателей, вычисленных в сопоставимых ценах, а уже затем переходить к показателям в фактических условиях.
Форма таблицы и перечень показателей остаются такими же, как в табл. 75. Прежде всего заполняются все 62 показателя за последний отчетный (t-й) год в их фактическом значении, т. е. в действовавших ценах и методологии t-го года. Затем по всем отчетным годам на основании отчетной документации составляется таблица цепных индексов (темпов) физического роста (от года к году) объемов капитальных вложений Гк, среднегодовых ППОФ Іф, объемов материальных затрат М объемов товарной продукции І'т, численности ППП ІЧ; по формулам табл. 83 и по этим индексам начиная от t-го года назад рассчитываются абсолютные сопоставимые объемы К, М, Т, Ч за все отчетные годы.
Одновременно по отчетным фактическим данным (так же, как и для табл. 7 5) заполняются за все отчетные годы все нормативные, долевые и структурные показатели (стр. 2, 3, 4, 5, 6, 9, 14, 16, 20, 21, 26, 27, 28, 35, 36, 37, 39, 43, 46, 48, 56, 62 по табл. 75) и рассчитываются все остальные показатели за отчетные годы (как указано в табл. 75).
Получив таким образом полностью заполненную таблицу за все отчетные годы, приступают к прогнозированию такими же методами, как указано в табл. 76, 77 и с учетом пояснений к ним, выполняя расчеты рекуррентно. Первым прогнозным годом обычно оказывается текущий год, в котором проводится такое исследование.
3.5. Проблемы повышения оперативности,
достоверности анализа и прогнозных расчетов
СОВЕРШЕНСТВОВАНИЕ ИНФОРМАЦИОННОЙ БАЗЫ
В настоящий период перехода к рыночным отношениям с элементами их государственного регулирования своевременность, полнота и достоверность данных системы отчетности, освещающей все стороны хозяйственной деятельности, являются еще более важным условием своевременного принятия правильных решений Кабинетом Министров и Верховной Радой Украины, чем в период действия командноадминистративной системы.
Это объясняется прежде всего быстрыми инфляционными процессами, неналаженностью и ненадежностью хозяйственных связей, социальной напряженностью и необходимостью принятия упреждающих решений, основанных на самой “свежей” и глубоко проанализированной информации.
Существующая система статистической и финансовой отчетности по промышленным объектам не отвечает таким требованиям, несмотря на ее обширность и сложность, и прежде всего потому, что проведенные в 1990-1991 гг. “упрощения” существенно снизили полноту информации, но не устранили ее недостатков.
Главными из них являются:
1. Отсутствие данных о динамике материалоемкости, в том числе топливо-энергоемкости продукции (форма № 5-6).
2. В сводной отчетности по объемам и динамике капитальных вложений и вводу основных фондов (форма 2-КС) упускается раздел 5 “Незавершенное строительство (по фактической стоимости для застройщика)”, нет четкого сопоставления сметной и фактической стоимости строительства; вся эта отчетность не увязана с отчетностью по наличию и движению основных фондов (форма № 11).
3. Статотчетность по эффективности вводимых мощностей недостаточна, а по эффективности общей суммы капитальных вложений производственного назначения, по существу, отсутствует.
4. Во всей отчетности не отражается с требуемой полнотой использование основных фондов и рабочего времени персонала; последнее не позволяет достоверно определить трудоемкость продукции.
5. В сводной статотчетности нет данных, позволяющих определить размеры повторного счета в составе товарной (валовой) продукции и материальных затрат объединений, концернов, ведомств, отраслей, регионов.
6. Сводные формы статотчетности по себестоимости, по труду, по использованию основных фондов не связаны между собой (осуществляются по разному составу учтенных предприятий).
7. Сводная отчетность о затратах на производство, об объемах производства оторвана от отчетности по реализации продукции и результатам торгово-финансовой деятельности.
8. В отчетности по труду отсутствует показатель зарплатоемкости продукции, учитывающий все выплаты персоналу, т. е. весь фонд потребления по данному предприятию, отрасли, ведомству.
9. В статотчетности (как предприятий, так и в сводной) весьма неполно и несвоевременно отражаются экспортно-импортная деятельность промышленных предприятий, экспорт и импорт промышленной продукции вообще и его финансовые (в том числе инвалютные) результаты.
В целом статистическая и финансовая отчетность раздроблена по очень многим формам, вследствие чего неизбежным является несовпадение числа предприятий, представивших данные по этим формам. А отсюда вытекает несопоставимость сводных данных по ним.
ПРОБЛЕМА ПРОГНОЗИРОВАНИЯ ДИНАМИКИ ЦЕН
Важнейшим условием разработки более или менее достоверного прогноза производственной и торгово-финансовой деятельности промышленности Украины является наличие достоверного прогноза динамики цен.
Сложность прогнозирования динамики цен предопределяется тем, что на нее влияет стихийно складывающаяся ситуация на рынке, где уровень цен и объемов производства и продаж взаимно воздействуют друг на друга. Кроме того, на уровень цен влияют решения правительства, уровень монополизации производства и продаж, территориальное размещение производства и рынка потребления (что особенно важно в сложившихся условиях дефицита горючего для всех видов транспорта), местные условия, влияние колебания на “черном” рынке, фискальная политика, которая, в свою очередь, предопределяется складывающимся соотношением между объемами производства и требованиями рынка производственного и непроизводственного потребления.
На фоне этого себестоимость продукции и ее цена, складывающаяся в процессе производства, при всей их важности являются лишь исходными величинами, на которые накладываются многие внепроиз-водственные влияния, образующие в конце пути товара розничную цену конечной продажи. И это цена предопределяет собой величину материальных затрат на производство и величину минимальной зарплаты. Таким образом круг влияний замыкается. Сложность всех этих взаимосвязей иллюстрирует схема взаимодействия факторов при установлении цены производства и цены конечной продажи (рис. 34).
Представляется, что лучшим из возможных путей прогнозирования цен является использование межотраслевого баланса производства и распределения продукции всего материального производства, в котором находят отражение все фактически сложившиеся связи (конечно, в меру того, насколько они учтены в Министерстве статистики при составлении МОБ).
Если принять, что расход физического количества продукции j-й отрасли на физическую единицу продукции г-й отрасли постоянен от года к году (а это допущено весьма близко к реальному положению в пределах 2-3 лет), то можно считать, что отношение прямых удельных затрат по МОБу на 1 грн продукции г-й отрасли за два смежных года будет представлять собой отношение индексов роста средних цен j-й отрасли к индексу роста средних цен г-й отрасли. Это позволяет, используя расчеты цены производства по типичным видам продукции различных отраслей, проверить, насколько оправдано указанное выше отношение к определению соотношения средних цен в отраслях, которое (при небольших внутриотраслевых структурных изменениях) можно считать постоянным в течение 2-3 лет. А это, в свою очередь,

дает возможность, используя известную среднюю цену единицы продукции по одной из базовых отраслей, определить соответствующие цены по всем остальным отраслям промышленности и материального производства.
Такое сложное исследование прошлой и будущей динамики цен должно проводиться регулярно из года в год специальным подразделением НИЭИ Минэкономики Украины и отделом финансов и себестоимости Минэкономики Украины.
К сожалению, слишком продолжительное составление МОБ в Министерстве статистики Украины (в течение двух лет) существенно снижает ценность этих балансов. Необходимо уменьшить этот период в 2 раза. Такая возможность появляется в связи с введением в отчетную форму № 5-С по себестоимости раздела, где материальные затраты разделены по отраслевому признаку.
В Институте теоретической физики НАН Украины создана математическая модель анализа и прогноза экономической ситуации, в которой впервые объединены микро- и макроуровни.
Разработан также алгоритм для расчета уравновешенных цен. На основе этой модели можно прогнозировать варианты экономического развития и осуществлять его регулирование с помощью кредитно-финансовых и налоговых рычагов.
В основу математической модели положен фундаментальный принцип экономического равновесия: спрос на товары и услуги не должен превышать предложение.
Созданная учеными математическая модель функционирования экономики позволяет не только четко определять влияние отдельных недостатков проводимой экономической реформы, но и спрогнозировать развитие экономики Украины не только на ближайшую, но и на длительную перспективу с учетом процессов ее реформирования.
ПРИЛОЖЕНИЯ
398
Приложение 1
Организационно-информационная модель анализа финансового состояния и эффективности работы субъекта хозяйственной деятельности

|
399 |  |
400

401

Пример анализа аддитивной связи качественных
Части
совокупно
сти |
Год “6” |
|
|
T6i |
а6Ті |
М 6і + A6i |
S6 і J"
-
Т6і |
р6і -- П6і : Т 6і |
T ¦
m |
a nTi |
II ^
11 02
3
02*
1 |
|
і |
80 |
0,8 |
0,65 |
0,20 |
0,15 |
84 |
0,7 |
|
2 |
20 |
0,2 |
0,55 |
0,25 |
0,20 |
36 |
0,3 |
Вся
совокуп
ность |
Е =
= 100 |
II о
И -Г |
0,63 |
0,21 |
0,16 |
Е -- 120 |
Е -- 1,0 |
|
|
Формула расчета |
Распределение Ат* |
|
1 |
^стрі - x6i (anTi-арТі)
Ах if - AXj -ДХстрі |
0,65(0,7-0,8)--0,65 -0,05-(-0,065)-0,015 |
|
2 |
|
0,55(0,3-0,2)-0,055 —0,05—(-0,055)--0,105 |
|
|
1Ax1Z - xn1anT1 - х61а6Т1 |
0,6-0,7-0,65-0,8--0,10 + + |
|
Вся |
2 Ах2Х - xn2anT2 - х62а6Т2 |
0,5-0,3-0,55-0,2-0,04
іі іі
0,57 - 0,63 |
|
совокупность |
Сумма почленно |
|
|
Сумма итога Ах1^+Ах2? |
-0,10+0,04--0,06 |
|
|
Ахстр1 + Ахстр2 |
-0,065+0,055--0,01 |
Совместное
влияние |
1 Ахстрх1 - (х61 - х6 )(anTi-a6Ti) |
(0,065-0,63)(0,7-0,8)--0,002 |
изменений
структуры и |
2 Ахстрх2 - (х62 - x6)(anT2-а6т2) |
(0,55-0,63)(0,3-0,2)--0,008 |
|
|
Ахстрх1 + Ахстрх 2 |
—0,002+(—0,008)-—0,010 |
показателей по экономической совокупности
|
Год “и” |
Приросты показателей |
|
М пі + Апі |
S"
Т — Jni
1 ni |
Pni _
_ П • • Т •
mz nz |
< E-f
II |
Ьп'і _
_ m’ni — mSi |
^f_ ,
_ /'¦ - /я-nz Sz |
APz _
_ pni — p Si |
Tnz
= m • пі |
|
0,60 |
0,25 |
0,15 |
4 |
-0,05 |
+0,05 |
0,00 |
|
0,50 |
0,28 |
0,22 |
16 |
-0,05 |
+0,03 |
+0,02 |
|
0,57 |
0,259 |
0,171 |
M
II
Ю
о |
-0,06 |
+ 0,049 |
+0,011 |
|
Распределение A/J |
Распределение Ap- |
E |
|
0,2(0,7-0,8)_-0,02 |
0,15(0,7-0,8)=-0,015 |
-0,1 |
|
0,05-(-0,02)_0,07 |
0-(—0,015)=0,015 |
0,1 |
|
0,25(0,3-0,2)_0,025 |
0,2(0,3-0,2)=0,02 |
0,1 |
|
0,03-0,025=0,005 |
0,02-0,02=0 |
-0,1 |
|
0,25-0,7-0,2-0,8=0,015 |
0,15-0,7-0,15-0,8=-0,015 |
-0,1 |
|
+ + |
+ + |
|
|
0,28-0,3-0,25-0,2=0,034 |
0,22-0,3-0,2-0,2=0,026 |
0,1 |
|
II II |
II II |
|
|
0,259 - 0,210 |
0,171 - 0,16 |
0 |
|
0,015+0,034=0,049 |
-0,015+0,026=-0,01 1 |
0 |
|
-0,02+0,025_0,005 |
-0,015+0,02=0,005 |
0 |
|
(0,20-0,21)(0,7-0,8)=0,001 |
(0,15-0,16)(0,7-0,8)=0,001 |
0 |
|
(0,25-0,21)(0,3-0,2)=0,004 |
(0,20-0,16)(0,3-0,2)=0,004 |
0 |
|
0,001+0,004=0,005 |
0,001+0,004=0,005 |
0 |
404
ПРИМЕР ФАКТОРНОГО АНАЛИЗА (РАЗЛОЖЕНИЯ ПРИРОСТОВ) ПОКАЗАТЕЛЕЙ ЭКОНОМИЧЕСКОЙ СОВОКУПНОСТИ С УЧЕТОМ ИЗМЕНЕНИЯ СТРУКТУРЫ СОВОКУПНОСТИ
Рассматривается изменение объема продукции С (в любом ее выражении) в зависимости от численности персонала Ч=у, выработки и изменения структуры продукции по В, т. е. принято что W=B.
Ч. Сочетание данной взаимосвязи с уче
Взаимосвязь ~ — х имеет мультипликативный вид В — xy —
том структуры по В соответствует типу сочетаний М4 (см. табл. 73).
Напомним, что обозначения с точкой над ними — это итог суммирования (алгебраического или взвешенного) аналогичных показателей в частях совокупности, имеющих в своих обозначениях символ i; если в обозначении отсутствуют i и точка — это означает, что обозначение относится и к частям совокупности, и к совокупности в целом.
№
стро
ки |
Части
совокуп
ности
и их
сумма |
Год б. Ситуация I. |
B6=W6 |
|
|
Год n. |
Ситуация IV. Bn=xnyn |
|
|
B6=W6 |
Вб
4 - Ч
Чб |
II |
d, - W |
II
s
cq |
II |
y =4
x n n |
d Wni |
J б Уп l б
yn y, yn |
Jб Wn
W - w, |
|
" Е W, |
nWl Е w ¦ |
|
1 |
2 |
3 |
4 |
5 |
6 |
7 |
8 |
9 |
10 |
|
1 |
Вся сов. |
200 |
1,612 |
124 |
1,0 |
320 |
2,1053 |
152 |
1,0 |
1,2258 |
1,6 |
|
2 |
1 |
40 |
2 |
20 |
0,2 |
80 |
2,5 |
32 |
0,25 |
1,6 |
2,0 |
|
3 |
2 |
60 |
2,5 |
24 |
0,3 |
112 |
2 |
56 |
0,35 |
2,3333 |
1,8667 |
|
4 |
3 |
100 |
1,25 |
80 |
0,5 |
128 |
2 |
64 |
0,40 |
0,8 |
1,28 |
|
5 |
Е |
200 |
1,6129 |
124 |
1,0 |
320 |
2,1053 |
152 |
1,0 |
1,2258 |
1,6 |
405
№
стро
ки |
Части
совокуп
ности
и их
сумма |
Прирост В под |
влиянием всех факторов |
Прирост В за счет роста xf и yt в частях совокупности |
Прирост В
за счет
роста y
ABy =
= BII- B6 =
=B6 X -i) |
Общий прирост В от б до n
&в = В - иб |
Разложение AB
на ABX и АВу |
Весь прирост
ABfi = Bn - ВШ =
= Е(4іі -Brn ) |
Разложение ABfi
на ABfix и ABfiy |
|
ABX = yn Ax |
?
н?
II
5 |
ABXi =
= (xni -X6i )Упі |
ABy =(п - УіІІ )хб AByi = (ni -УіІІІ )хбі |
|
11 |
12 |
13 |
14 |
15 |
16 |
17 |
|
1 |
Вся сов. |
120 |
74,839 |
45,161 |
74, 839 |
74,839 |
0 |
45,161 |
|
2 |
1 |
40 |
16 |
24 |
15,048 |
16 |
-0,95 |
9,032 |
|
3 |
2 |
52 |
-28 |
80 |
21,060 |
-28 |
49,060 |
13,548 |
|
4 |
3 |
28 |
48 |
-20 |
24,068 |
48 |
23,932 |
22,581 |
|
5 |
Е |
120 |
36 |
84 |
60,171 |
36 |
24,171 |
45,161 |
№
стро
ки |
Части
совокуп
ности
и их
сумма |
Ситуация II.
d II Wi = d6Wi BII = XIIy II |
yII Уп
= X6 y n |
XII = x6 |
Ситуация III.
BIII = BII
XIIIi = X6i |
B!III = dIIIWi |
y . Е dnWi
У n '
= d X6i
= dnWi |
|
BIIi - BII d6Wi = B6 Iyn |
2?
и " |
Bn
yIIi = ““ = У6і^уп x6i |
dIIWi = d6Wi |
B IIIi = BIII dnWi |
v3
*
II |
11 |
d IIIWi = dnWi |
|
1 |
2 |
3 |
4 |
5 |
6 |
7 |
8 |
|
6 |
Вся сов. |
245,16 |
1,6129 |
152 |
1,0 |
245,161 |
1,6129 |
152 |
1,0 |
|
7 |
1 |
49,032 |
2 |
24,516 |
0,2 |
64,957 |
2 |
32,479 |
0,25 |
|
8 |
2 |
73,548 |
2,5 |
29,419 |
0,3 |
90,940 |
2,5 |
36,376 |
0,35 |
|
9 |
3 |
122,581 |
1,25 |
98,065 |
0,5 |
103,932 |
1,25 |
83,145 |
0,40 |
|
10 |
Е |
245,161 |
1,6129 |
152 |
1,0 |
259,829 |
1,7094 |
152 |
1,0 |
406
Прирост объема В под влиянием изменения структуры ситуация III - ситуация II
Разложение Л5стр на части, зависящие от АВ^рх и АВу
№
стро-
ки
Части совокуп ности и их сумма
^стрі _ ВШі ВИі ~
( \
= Уп
nWi бі
Е dnWi у б
хбі
^стр = BIII - BII =
АВстріх =
= Уш (хШі-xIIi) = = Уш/ (хбі-хбі ) = 0
АВс,
АВстрі АВстріх
= АВстрі - 0
Е ц nWi хбі
10
11
6
7
8
9
10
Вся сов. 1 2 3
Е
0
15,925
17,392
-18,649
14,668
0
15,925
17,392
-18,649
14,668
Порядок работы
После заполнения строк 1, 2, 3, 4, 5 по графам 1-10, т. е. ситуации I базовой и ситуации IV (конечной) заполняются данные для ситуации II. Для этого в строки и графы ситуации II переносятся из ситуации I значения хбі, x6, x6, d6Wi , а из ситуации IV берется значение yn = уп = 152. После этого по указанным графам 1 и 3 в формулах рассчитываются значения Бп,Бш,уш.
Для образования ситуации III в нее переносятся из ситуации I значения Хб, хбі, а из ситуации IV берется значение = dnWi и значение Уп = Уп = 152-
После этого по формулам, указанным в графах 5 и 7, рассчитываются значения Бііі , Віііі , yiiii, Xiii ¦
Получилась следующая схема разделения общего прироста 320-200=120 (в скобках в числителе номер строки, в знаменателе — номер графы, где находится данное число):
С одной стороны,
(5/11) (5/12) (5/13)
120 = 36 + 84
(5/13) (5/16) (5/17) (10/9)
84 = 24,171 + 45,161 + 14,668
С другой стороны,
(5/11) (5/14) (5/17) (10/9)


120 = 60,171 +45,161 + 14,668
(5/15) (5/16) (10/10) (10/11)
36 + 24,171 0 + 14,668
Данные таблицы позволяют аналогичным образом представить разделение прироста АБі (см. графу 11 по строкам 1, 2, 3) по каждой i-й части совокупности.
408
ПРИМЕР ФАКТОРНОГО АНАЛИЗА (РАЗЛОЖЕНИЯ ПРИРОСТОВ) ПОКАЗАТЕЛЕЙ ЭКОНОМИЧЕСКОЙ СОВОКУПНОСТИ С УЧЕТОМ ИЗМЕНЕНИЯ СТРУКТУРЫ СОВОКУПНОСТИ
Рассматривается изменение объема продукции С товарной продукции Т в зависимости от затрат на 1 грн товарной продукции С:Т и объема Т, а также от изменения структуры Т, т. е. приято что W=T.
C
T, где в общем виде В = xy, C = B, x = —, y = T.
Взаимосвязь имеет вид
\T J T
Вид взаимосвязи с учетом того, что T=W находится в знаменателе качественного показателя х, соответствует типу сочетаний Мъ (см. табл. 73).
Напоминаем, что обозначения с точкой над ними представляют собой сумму (алгебраическую и взвешенную) аналогичных показателей в частях совокупности, имеющих в своих обозначениях символ i; если в обозначении отсутствуют i и точка — это означает, что обозначение относится и к частям совокупности, и к совокупности в целом.
№
стро
ки |
Объект |
Год б Ситуация I Вб=хбуб |
Год n Ситуация IV Bn=xnyn |
|
Сб=Вб |
Сб
хб =-
T6 |
Уб=Тб=W6 |
, _ |
ао
II
аЬэ |
II
^ |;Р |
II
II
Я |
d WnWi |
II
II
'S 04
ll
^ ОЧ |
|
~ш' Е Щ |
anWi v
Е WnWi |
|
1 |
2 |
3 |
4 |
5 |
6 |
7 |
8 |
9 |
|
1 |
Совокупн. |
126 |
0,63 |
200 |
1,0 |
184 |
0,575 |
320 |
1,0 |
1,6 |
|
2 |
1 |
20 |
0,5 |
40 |
0,2 |
32 |
0,4 |
80 |
0,25 |
2,0 |
|
3 |
2 |
36 |
0,6 |
60 |
0,3 |
56 |
0,5 |
112 |
0,35 • |
1,867 |
|
4 |
3 |
70 |
0,7 |
160 |
0,5 |
96 |
0,75 |
128 |
0,4 |
1,28 |
|
5 |
Е |
126 |
0,63 |
200 |
1,0 |
184 |
0,575 |
320 |
1,0 |
1,6 |
409
№
стро
ки |
Объект |
Прирост объема С(В) под общим влиянием всех факторов |
Прирост В за счет роста xf и у в частях совокупности ABf = Вп - Вш |
Прирост В
за счет
роста
y |
Общий прирост В от б до n
&в = в - иб |
Разложение AB
на ABX и АВу |
Весь прирост |
Разложение ABf
на ABfx и ABfiy |
%
и
*
5 |
II
5 |
ABfi = Bn BIII =
= Е Упі (xni- x6i) |
ABfix =ABfi |
о
II |
|
10 |
11 |
12 |
13 |
14 |
15 |
16 |
|
1 |
Вся сов. |
58 |
-17,6 |
75,6 |
-17,6 |
-17,6 |
0 |
75,6 |
|
2 |
1 |
12 |
-8 |
20 |
-8 |
-8 |
0 |
12 |
|
3 |
2 |
20 |
-11,2 |
31,2 |
11,2 |
11,2 |
0 |
21,6 |
|
4 |
3 |
26 |
6,4 |
19,6 |
6,4 |
6,4 |
0 |
42 |
|
5 |
Е |
58 |
-12,8 |
70,8 |
-12,8 |
-12,8 |
0 |
75,6 |
№
стро
ки |
Объект |
Ситуация II |
XIIi = x6i
xii = x6 |
yII = yn = Tn
hiwi = d6Wi |
Ситуация III |
XIIIi = X6i dIIIWi = dnWi |
Уіііі = Упі
Уіііі = yn = Tn |
|
BIIi = B6il6yn BfII = B6 i6yn |
XII = x6 |
= T6
yIIi У6r yn
yII = B6 ? = yn |
dIIWi = d6Wi =
= d6Ti |
Biiii = ^B6i^wi BIII = Е BIIIi |
xiiii _ x6i
X = Ciii
n |
y IIIi = Упі = Tni yiII = yn = Tn |
d IIIWi = dnWi = = dnTi |
|
1 |
2 |
3 |
4 |
5 |
6 |
7 |
8 |
|
6 |
Совокупн. |
201,6 |
0,63 |
320 |
1,0 |
201,6 |
0,63 |
320 |
1,0 |
|
7 |
1 |
32 |
0,5 |
64 |
0,2 |
40 |
0,5 |
80 |
0,25 |
|
8 |
2 |
57,6 |
0,6 |
96 |
0,3 |
67,2 |
0,6 |
112 |
0,35 |
|
9 |
3 |
112 |
0,7 |
160 |
0,5 |
89,6 |
0,7 |
128 |
0,40 |
|
10 |
Е |
201,6 |
0,63 |
320 |
1,0 |
196,8 |
0,615 |
320 |
1,0 |
410
|
|
|
Прирост объема С(В) под влиянием изменения структуры Т(у); ситуация III - ситуация II |
|
|
|
|
Разложение ЛБ^ на части, зависящие от Хі и Уі |
|
|
|
ДВстрі = BIIIi BIIi = |
|
|
|
№ |
Части |
= Вбі (IWi - I yn ) |
|
|
|
стро- |
совокуп- |
|
ДБСТр. = 0 |
ДВ ¦ -ДБ ¦ |
|
ки |
ности |
^стр = BIII - BII = |
|
|
|
|
|
|
ДБСтр x - 0 |
ДВ -ДВ |
|
|
|
|
|
стр у стр |
|
|
|
= Е ДБCTpi = |
|
|
|
|
|
= (%-xn )Wn |
|
|
|
|
|
9 |
10 |
11 |
|
6 |
Вся сов. |
201,6-201,6=0 |
0 |
0 |
|
7 |
1 |
8 |
0 |
8 |
|
8 |
2 |
9,6 |
0 |
9,6 |
|
9 |
3 |
-22,4 |
0 |
-22,4 |
|
10 |
Е |
-4,8 |
0 |
-4,8 |
Порядок работы
После заполнения строк 1, 2, 3, 4, 5 по графам 1-9, т. е. ситуации I (базовой) и ситуации IV (конечной), заполняются данные для ситуации II, куда переносятся из ситуации I значения x6i, хб, хб, d6Wi, а из ситуации IV берется значение yn = уп = 320; после этого рассчитываются значения Вп,Вш,уш по формулам, указанным в графах 1 и 3. Для образования ситуации III в нее
переносятся из ситуации I значения хб (для строки 6), а из ситуации IV берутся значения Хп, хпі,уп и значения d^wi; после этого рассчитываются значения Вш,ВШі,Вш,Хщ по формулам, указанным в графах 5 и 6.
Получилась следующая схема разделения общего AB прироста (в скобках в числителе номер строки, в знаменателе — номер графы, где находится число):
С одной стороны,
(5/10) (5/11) (5/12) (5/12) (5/15) (5/16) (10/9)
AB =58 =-12,8 + 70,8 70,8 = 0 + 75,6 - 4,8
С другой стороны,
(5/10) (5/13) (5/16) (10/9)
AB = 58 = -12,8 + 75,6 - 4,8


(5/14) (5/15) (10/10) (10/11) -12,8 + 0 0 + -4,8
Данные таблицы позволяют аналогичным образом представить разделение прироста AB (см. графу 10 по строкам 2, 3, 4) по каждой г-й части совокупности. Заметим, что расчет по совокупности в целом АВл (строка 1, графа 11) дает результат -17,6. Таким образом, имеем
(1/11) (5/11) (10/9)
-17,6 - (-12,8) = 4,8,
т. е. равно влиянию изменения структуры.
СПИСОК ИСПОЛЬЗОВАННОЙ И РЕКОМЕНДУЕМОЙ ЛИТЕРАТУРЫ
1. Закон Украі'ни “Про власність” від 7 лютого 1991 р. // ВВР Ук-раіни. — 1991. — № 20.
2. Закон Украіни “Про підприемство” від 7 лютого 1991 р. // ВВР Украіни. — 1991. — № 14.
3. Закон Украіни “Про підприемництво” від 27 лютого 1991 р. // ВВР Украіни. — 1991. — № 24.
4. Закон Украіни “Про зовнішньоекономічну діяльність” від 16 квітня 1991 р. // ВВР Украіни. — 1991. — № 16.
5. Закон Украіни “Про інвестиційну діяльність” від 18 вересня 1991 р. // ВВР Украіни. — 1991. — № 47.
6. Закон Украіни “Про оподаткування прибутку підприемств” від 22 травня 1997 р. № 283/97-ВР зі змін. і допов. від 19 вересня 1997 р. № 535/97-ВР1, від 4 листопада 1997 р. № 607/97-ВР2, від 18 листопада 1997 р. № 639/97-ВР3.
7. Анализ хозяйственной деятельности в промышленности / Под ред. Стражева. — Минск: Выш. шк., 1995.
8. Баканов М. И. Анализ хозяйственной деятельности в торговле. — М.: Финансы и статистика, 1993.
9. Баканов М. И., Кашаев А. Н., Шеремет А. Д. Экономический анализ. Теория, история, современное состояние, перспективы. — М.: Финансы, 1976.
10. Баканов М. И., Шеремет А. Д. Теория анализа хозяйственной деятельности: Учебник. — М.: Финансы и статистика, 1997.
11. Венецкий И., Венецкая В. Основные математико-статистические понятия и формулы в экономическом анализе. — М.: Статистика, 1974.
12. Дембинский Н. В. Вопросы теории экономического анализа. — М.: Финансы, 1973.
13. Зудилин А. П. Анализ хозяйственной деятельности предприятий развитых капиталистических стран. — Екатеринбург: Каменный пояс, 1992.
14. Економічний аналіз господарськоі' діяльності / В. І. Іващенко, М. А. Болюк та ін. — К.: ЗАТ “Нічлава”, 1999.
15. Івахненко В. М. Курс економічного аналізу: Навч. посіб. — К.: Знання-Прес, 2000.
16. Кагалин В. В. Финансовый учет и отчетность в соответствии со стандартами ГААР. — 2-е изд., испр. и перераб. — М.: Дело, 1998.
17. Казинец Л. Изменение структурных сдвигов в экономике. — М., 1969.
18. Каракоз И. И., Самборский В. И. Теория экономического анализа. — К.: Выща шк., 1989.
19. Калина А. В., Конева М. І., Ященко В. О. Сучасний економічний аналіз і прогнозування (мікро- та макрорівень): Навч.-метод. посіб. — К.: МАУП, 1998.
20. Коробов М. Я. Фінансово-економічний аналіз діяльності підприемств: Навч. посіб. — К.: Т-во “Знання”, КОО, 2000.
21. Котлер Ф. Маркетинг-менеджмент. — СПб.: Питер Ком, 1999. — (Сер. Теория и практика менеджмента).
22. Методические указания к разработке Государственного плана экономического и социального развития СССР. — М.: Экономика, 1980.
23. Мец В. О. Економічний аналіз фінансових результатів стану підприемства: Навч. посіб. — К.: Вид-во КНЕУ, 1999.
24. Муравьев А. И. Теория экономического анализа: проблемы и решения. — М.: Финансы и статистика, 1988.
25. Научно-методические основы планирования и прогнозирования развития экономики. — К.: Наук. думка, 1986.
26. Попович П. Я. Економічний аналіз та аудит на підприемстві: Підручник. — 3-те вид., перероб. і допов. — Тернопіль, 1998.
27. Программа множественной линейной регрессии с исследованием отклонений. ФАП ГлавНИИВЦ Госплана УССР. — К., 1984.
28. Проектний аналіз: Навч. посіб. / За ред. С. О. Москвіна. — К.: Лібра, 1998.
29. Савицкая Г. В. Анализ хозяйственной деятельности предприятия. — 4-е изд., перераб. и доп. — Минск: ООО “Новое знание”, 1999.
30. Теория анализа хозяйственной деятельности / Под ред. В. В. Осмоловского. — Минск: Выш. шк., 1998.
31. Тинтнер Г. Введение в эконометрию. — М.: Статистика, 1965.
32. Эйдельман М. Межотраслевой баланс общественного продукта. — М.: Статистика, 1966.
33. Юнькова Е. А., Кулян В. Р. Эконометрия. — К.: МАУП, 1997.
34. Яцків Т. І. Теорія економічного аналізу. — Львів: Світ, 1993.
СОДЕРЖАНИЕ
Раздел 1. Экономический анализ, его значение
1.2. Экономический анализ, его задачи и роль в принятии
1.5. Организация экономического анализа и его
1.6. Системы вычислений, применяемые при
1.7. Анализ финансового состояния предприятия и его
1.8. Оценка результатов хозяйственной деятельности
Раздел 2. Практикум по современному экономическому
2.1. Контрольные вопросы по курсу “Экономический
Раздел 3. Экономический анализ и прогнозирование
3.1. Существующая информационная база и подходы
3.2. Общие методы анализа показателей развития
3.3. Особенности факторного анализа по экономической
3.4. Формирование и функционирование моделей
3.5. Проблемы повышения оперативности, достоверности
Висвітлюються загальні положення теоріі економічного аналізу, особливості іі застосування на мікро- та макрорівнях управління. Особливу увагу приділено одному з основних розділів аналізу — аналізу фінансового стану підприемства. Розглядаються особливості і специфіка аналізу та прогнозування основних показників господарськоі діяльності на різних рівнях управління як в Украіні, так і за кордоном.
Для студентів і слухачів системи підготовки, перепідготовки та підвищення кваліфікаціі, а також для працівників підприемств (фірм, компаній), міністерств і відомств, що займаються проблемами аналізу та прогнозування.
Навчальне видання Калина Алла Василівна Конева Майя Іванівна Ященко Володимир Олександрович
СУЧАСНИЙ ЕКОНОМІЧНИЙ АНАЛІЗ І ПРОГНОЗУВАННЯ (мікро- та макрорівні)
Навчально-методичний посібник 3-те видання, перероблене і доповнене (Рос. мовою)
Відповідальний редактор В. М. Чирков Редактор Н. В. Тихонова Коректор Т. К. Валицька
Комп’ютерне верстания Д. А. Варварін, Т. Г. Замура Оформления обкладинки С. В. Фадеев
Підп. до друку 06.10.03. Формат 60х84У16. Папір офсетний. Друк офсетний. Ум. друк. арк. 24,18. Обл.-вид. арк. 25,83. Тираж 8000 пр. Зам. № 3-478
Міжрегіональна Академія управління персоналом (МАУП) 03039 Киі'в-39, вул. Фрометівська, 2, МАУП
Свідоцтво про внесення до Державного реестру суб’ектів видавничоі справи ДК № 8 від 23.02.2000
ВАТ “Білоцерківська книжкова фабрика”
09117 Біла Церква-17, вул. Леся Курбаса, 4
Подобное обозначение отклонений позволяет формализовать все “плюсы” и “минусы” в работе фирмы, что необходимо для автоматического выполнения расчетов при анализе с использованием современных вычислительных машин.
пл бпл
-4 -3 -2 -1 -
-1-1-1-
1 2 3 Объем
Рис. 18. Графическое отражение условно-постоянных затрат
Это такие затраты: арендная плата; амортизационные отчисления; износ нематериальных активов; износ малоценных и быстроизнашивающихся предметов; расходы по содержанию зданий, помещений, услуги сторонних предприятий и организаций; затраты по подготовке и переподготовке кадров; затраты некапитального характера, связанные с совершенствованием технологии и организации производства; отчисления в ремонтный фонд; отчисления на обязательное страхование имущества и другие виды затрат.
Такая отчетность по количеству субъектов более широка, поскольку промышленной деятельностью (как второстепенным видом деятельности) могут заниматься и непромышленные предприятия (например, сельскохозяйственные колхозы и совхозы).
По инструкции ЦСУ методология учета включает в себя также учет изменения цен. Однако во избежание путаницы необходимо придерживаться того определения методологии учета, которое вытекает из форм С-0, С-1, т. е. изменение цен в понятие “методология учета” не включать, а рассматривать его как самостоятельный фактор.
Например, доли нефтедобывающей, газовой, угольной промышленностей в общем объеме товарной (валовой) продукции топливной промышленности.
Под неизменными ценами имеются в виду цены, установленные на определенную дату и применяемые в статотчетности без изменений в течение ряда последующих лет для сопоставимой оценки стоимостных показателей.
Имеется в виду, что алгебраически суммировать можно только объемные показатели (т. е. показатели, имеющие не дробную размерность: ден. ед., чел.), а качественные показатели определяются делением объемных показателей (следовательно, имеют дробную размерность: ден. ед./ден. ед., ден. ед./чел. ит. п.). Лишь при аддитивной связи возможно суммирование качественных показателей.
Так как в нем заключено влияние всех факторов, включая изменение цен и методологии учета.
Штрих в верхней части обозначения В' указывает на то, что показатели В'п и приведены в сопоставимый вид.
Однако значения t B нет в статформах С-0, С-1 и форме № 8.
Сравните с формулой (25).
Сравните с формулой (24).
Напоминаем, что это относится к тому случаю, когда исследуется экономический объект в целом (одной строкой), когда показатель В рассматривается как единое однородное число; например, товарная продукция промышленности не рассматривается как сумма товарной продукции отраслей и т. д.
Обычно этот год принимается по последнему году t, за который поступила вся необходимая статотчетность, но возможны и другие решения.
Это индекс физического роста за год (e + 1).
Штрих в верхней части справа от В означает, что данный показатель взят по его сопоставимому значению в условиях каждого года.
Заметим, что имеющаяся в этих формах статья “прочие затраты” должна быть распределена (включена) в Мк и Sк по принятому для данной отрасли (ведомства) проценту распределения “прочих затрат” на материальные затраты и денежные выплаты.
Все далее сказанное относится к любому объему продукции: товарной, валовой, чистой, условно чистой.
Использование стохастических методов анализа целесообразно только для тех показателей и явлений, по которым невозможно составить уравнение функциональной связи (либо из-за отсутствия всех необходимых показателей, либо из-за неясности математической формы связи).
Здесь и далее под х, y, z будем подразумевать любые факторы, влияющие на показатель B.
Здесь и далее h являются не коэффициентами корреляционной связи, а детерминированными коэффициентами.
Уравнение (48) относится к случаю, когда “прочие затраты” разнесены на М и на S; если этого не сделано, то к его правой части следует прибавить П (прочие затраты).
Метод предложен В. П. Федоровой и Ю. П. Егоровым; см.: “О разложении прироста на факторы” // Вестн. статистики. — 1977. — № 5.
Напоминаем, что Іб обозначает величину базового индекса за весь период от б до п; Іх, I означают величину индекса роста факторов х, у за один год t или за t-й период.
Индекс по товарной продукции рассчитывается как обратный (так как рост Т ведет не к росту m, а к снижению при неизменной величине М).
Различие между В и В заключается в том, что B — это показатель по экономической совокупности в целом, а В — это аналогичный показатель, полученный на основе суммирования объемных показателей по каждой части совокупности.
Сущность влияния изменения структуры совокупности на величину исследуемого показателя В заключается в том, что при ускоренном развитии той части совокупности, где качественный фактор х. больше, чем в целом по совокупности ( x ), показатель В будет расти, если даже величина х. не возрастет. И наоборот, если х^ < х, то ускоренное развитие i-й части совокупности отрицательно повлияет на рост В.
Напоминаем, что речь идет о мультипликативной взаимосвязи показателей: B = xy.
К сожалению, эта отчетность в настоящее время в целом ряде вопросов не соответствует потребностям обстоятельного анализа в указанных разрезах.
Все показатели данной графы определяются также за отчетные годы, т. е. данная графа состоит из п+1 граф, где n — число отчетных лет в исследуемом периоде; n-я графа будет соответствовать году t (обозначаемому индексом о), (п + 1)-я графа будет соответствовать первому прогнозному году (т. е. текущему году, в течение которого проводится данное исследование) по отчетным данным, в фактических условиях каждого года.
Передача (воздействие) понимается в том смысле, что показатель, от которого исходит стрелка, участвует в образовании показателя, к которому направлена стрелка, в качестве слагаемого, вычитаемого, множителя или делителя.
При заполнении данной таблицы следует учитывать, что в МОБе денежные суммы даны в тыс. грн., а численность работников — в единицах.
Включая расходы на оборону, содержание государственных органов всех уровней и прочие виды непроизводственного потребления.
В табл. 75 продукция и вытекающие из нее показатели выражены в
действующих оптовых ценах предприятий (без НДС), а в табл. 79 — с НДС, с транспортно-заготовительными расходами и торговой наценкой.
Ссылка на строку без указания номера таблицы означает, что эта строка относится к табл. 79.
Экономика: Знания - Циклы - Макроэкономика