Новые информационные технологии. Основы и аппаратное обеспечение
Адресное пространство памяти ПК
Для адресного обращения к ячейкам памяти используется их адресация (как и у домов на улицах города). Адреса - нередко большие числа, и поэтому для адресации обычно применяют шестнадцатиричные числа. Совокупность адресов памяти образует адресное пространство. Обсудим его структуру – рис. 3.10.Адреса ячеек памяти у ПК выражаются просто их порядковыми номерами. Первые 640 Кбайт памяти ОЗУ называют основной или стандартной памятью
(conventional memory). С обращением к ним нет никаких проблем. В том числе со стороны MS-DOS любых версий. Эта память была определена еще в ПК IBM PC XT, имевших 20-разрядную шину адресов.
Рис. 3.10. Диаграмма распределения памяти ПКНо уже в ПК IBM PC AT основная память была наращена до 1 Мбайта. Аппендикс - память от 640 Кбайт до 1 Мбайта - получил название скрытая память (shadow memory). Иногда ее называют также UMA областью памяти (Upper Memory Area) или верхней областью памяти. Напрямую она для программ под MS-DOS недоступна. Но драйвер himem.sys позволяет получать к ней доступ.
Снизу этой области зарезервирована область памяти для обслуживания видеоадаптеров. Она содержит память под текстовые и графические страницы, а также память под BIOS видеоадаптера, жесткого диска и обычную BIOS.
В старых ПК (до 386-х) в UMA размещено окно размером в 64 Кбайта, ячейки которого обеспечивают адресацию к 32 Мбайтам памяти. В ПК с процессорами 386 и выше этот вид памяти создается из расширенной памяти и сам по себе не применяется. Этот вид памяти называют дополнительной памятью - EMS (Expanded Memory Specification). Драйвер emm386 обеспечивает программную поддержку этой памяти. В верхней области UMA
располагается системная BIOS.
Начиная с ПК класса 386 выше потолка памяти в 1 Мбайт расположена область памяти HMA (High Memory Arrea). Она используется также для адресации к обычно недоступной расширенной памяти с помощью перекрывающихся сегментов, содержащих по 64 Кбайта памяти. HMA память доступна в реальном режиме работы микропроцессоров. Драйвер himem.sys обеспечивает программную поддержку этой памяти.
Вообще говоря, вся память свыше 1 Мбайта называется наращенной или расширенной памятью XMS (eXtended Memory Specification), так что в нее входит и память HMA и так называемая дополнительная память.
Разобраться с распределением памяти конкретного ПК помогает утилита mem (от memory - память), входящая в состав MS-DOS, а также системные программы, входящие в Windows.
Аналоговые магнитофоны с подмагничиванием ленты
К сожалению, несмотря на большие исследования так и не удалось создать магнитную ленту с линейной зависимостью остаточной намагниченности от напряженности магнитного поля записывающей головки. Эта зависимость имеет сложный гистерезисный характер. Поэтому описанный выше способ записи приходится усложнять.
Структурная схема современного магнитофона представлена на рис. 5.13. Детали лентопротяжного механизма здесь опущены. Для стирания прежней записи в обмотку стирающей головки подается сигнал от генератора высокой частоты ГВЧ. Сигнал ГВЧ имеет частоту 40...100 кГц. Магнитная лента, проходя мимо стирающей головки, многократно перемагничивается, благодаря чему старая запись надежно уничтожается. Рис. 5.13. Функциональная схема современного магнитофона
Далее магнитная лента проходит мимо записывающей головки ЗГ.
По обмотке записывающей головки проходит ток, пропорциональный звуковому сигналу и наложенный на высокочастотный сигнал подмагничивания. Это линеаризирует зависимость остаточной намагниченности от тока звукового сигнала.
Намагниченные участки магнитной ленты проходят мимо воспроизводящей головки ВГ. При этом магнитное поле ленты наводит электродвижущую силу (ЭДС) в обмотке воспроизводящей головки. После усиления ЭДС усилителем воспроизведения УВ звуковой сигнал поступает на громкоговоритель ВА.
Головки магнитофона - маленькие электромагниты с тонкой щелью. Они отличаются толщиной щели - самая маленькая толщина (до 1 мкм) – у воспроизводящей головки. Сердечник головок выполнен из пермаллоя или феррита.
Лентопротяжный механизм магнитофона предназначен для обеспечения равномерного движения магнитной ленты мимо магнитных головок при записи или воспроизведении. Скорость движения ленты стандартизована. Чем выше скорость движения магнитной ленты, тем лучше качество записи, но тем меньше времени будет звучать запись, поэтому приходится находить компромисс между качеством записи и временем звучания кассеты. Лентопротяжный механизм также обеспечивает ускоренную перемотку ленты вперед и назад.
Аналоговые видеомагнитофоны
Для записи телевизионных изображений широко применяются аналоговые кассетные видеомагнитофоны. Хотя в основе магнитной записи звука и изображения много общего, аппаратура и применяемые для записи сигналов методы существенно отличаются друг от друга. Это связано с тем, что оптический сигнал является более информационно насыщенным. В то время как диапазон частот звуковых колебаний составляет 16- 20 000 Гц, диапазон частот полного телевизионного сигнала (канал звука и изображения) составляет 16 Гц- 6 Мгц, т.е. почти в 300 раз шире.Широкое распространение и эксплуатационные удобства современных видеомагнитофонов базируются на двух основных их особенностях: применении наклонно-строчного способа записи и использовании кассет, которые вместе с заключенной внутри них магнитной лентой помещаются в аппарат при записи или воспроизведении изображения.
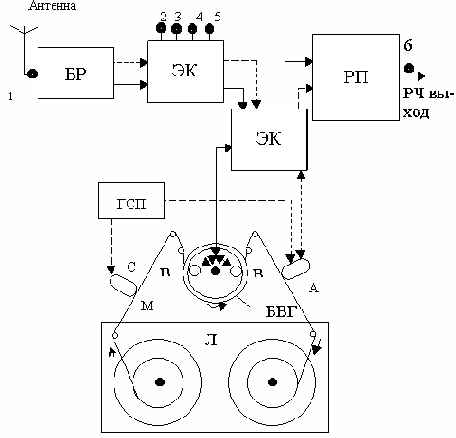
Блок-схема кассетного видеомагнитофона представлена на рис. 5.34. Магнитофон состоит из лентопротяжного механизма и электроники. Лентопротяжный механизм предназначен для обеспечения равномерного перемещения магнитной ленты мимо магнитных головок.
![]() |
Рис. 5.34. Блок- схема аналогового видеомагнитофона: 1- гнездо RF In (антенный вход), 2- гнездо Video In (видеовход), 3- гнездо Video Out (видеовыход), 4- гнездо Audio In (аудиовход), 5-гнездо Audio Out (аудиовыход), 6- гнездо RF Out (высокочастотный выход), АГ- звуковая головка, БВГ- блок вращающихся головок, БР- блок радиоприема, ВГ1 и ВГ2- видеоголовки, ГСП- генератор стирания и подмагничивания (генератор высокой частоты), ЛПМ- лентопротяжный механизм, МЛ- магнитная лента, РП- радиопередающее устройство СГ- стирающая головка звуковой дорожки, ЭК- электронный коммутатор.
Несмотря на разнообразие типов видеомагнитофонов, по принципу построения это в основном двухголовочные несегментированные аппараты, в которых каждая головка записывает отдельное поле.
Есть и более качественные четырехдорожечные аппараты. Общим у всех аппаратов является и то, что на ленте располагается одна (или несколько) звуковая дорожка и одна дорожка сигналов управления. Эти дорожки во всех системах находятся по краям ленты, их магнитная ориентация совпадает с продольной осью ленты.
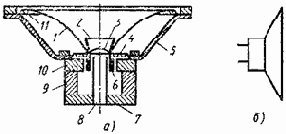
Барабан видеоголовок – барабан в лентопротяжном тракте диаметром 30-110 мм с двумя или большим количеством вращающихся магнитных головок (рис.5.35,а). Магнитная лента транспортируется наклонно относительно плоскости вращения головок, что обеспечивает получение наклонно-строчной записи. Ось вращения барабана головок наклонена к плоскости движения ленты так, что видеоголовки записывают на ленте наклонные дорожки (рис.5.35,б). Для стабильной работы видеомагнитофона конструкция лентопротяжного механизма и особенно барабана видеоголовок делается высокоточной (прецизионной).

Рис. 5.35. Барабан видеоголовок (а) и структура записи на видеоленте (б)
Обычно барабан содержит две видеоголовки, расположенные относительно друг друга со сдвигом на 1800. Барабан совершает 25 об/сек, при этом обе видеоголовки записывают 50 дорожек, на каждой из которых - одно поле телевизионного изображения (т.е. в секунду записывается 25 кадров).
Когда одна видеоголовка заканчивает путь на ленте, записав 312.5 строк (первое поле), другая заходит на ленту и записывает еще 312,5 строк (второе поле), располагающихся на изображении между строками первого поля, образуя полный кадр. За счет вращения головок скорость записи намного выше скорости транспортировки ленты, что и обеспечивает широкополосность видеотракта. Частично это достигается и за счет улучшения качества магнитных видеолент.
Существует несколько форматов записи видеоинформации. Формат записи - это упорядоченное расположение на поверхности ленты строчек и дорожек, намагниченных под действием разнообразных сигналов. Указание формата записи и описание его параметров дает однозначное указание, каким образом производится запись и воспроизведение информации.
Запись звука в видеомагнитофонах популярных форматов (VHS и т.п.) осуществляется неподвижными магнитными головками по краю ленты, по другому краю ленты специальной магнитной головкой записывается сигнал управления.
Высокочастотный тракт (радиоканал) видеомагнитофона (рис.5.32) ничем не отличается от соответствующего устройства телевизионного приемника. С антенного входа (точка 1 рис.5.29), который обозначается обычно RF IN (высокочастотный вход) или ANTENNA IN (антенный вход), телевизионный радиочастотный сигнал поступает на вход блока радиоканала. В этом блоке происходит усиление радиосигнала и его преобразования (на рис.5.32 звуковой канал изображен пунктиром).
Назначение электронного коммутатора 1 и соединенных с ним гнезд аналогично назначению электронного коммутатора телевизора. Электронный коммутатор 2 выполняет необходимые переключения, связанные с выбранным режимом работы видеомагнитофона (запись или воспроизведение). Дело в том, что как звуковая (АГ), так и видеоголовки (ВГ1 и ВГ2) являются универсальными, т.е. используются в режиме записи и воспроизведения.
Радиопередающее устройство преобразует поступающие на него видео - и аудиосигналы и формирует высокочастотный сигнал, соответствующий одному из каналов телевизионного дециметрового диапазона (гнездо 6 на рис.5.32).
Внешне большинство видеомагнитофонов выполнены как стационарные аппараты (рис. 5.36). Спереди их располагается крышка отсека видеокассеты и основные органы управления. Как правило, видеомагнитофоны имеют пульт дистанционного управления. Сзади корпуса расположены выходы видеомагнитофона, а иногда и входы.Рис. 5.36. Видеомагнитофон HV MX100 фирмы Aiwa со стереофоническим звуковым трактом и пультом дистанционного управления
В настоящее время рынок теле- и видеоаппаратуры насыщен изделиями самых различных фирм. Устройство и приемы работы с аппаратурой примерно одинаковы, в любом случае, освоив работу с одним из них, несложно освоить и другой.
Архитектура UMA с общей памятью
У некоторых простых ПК используется архитектура компьютеров с общей памятью UMA (Untified Memory Arhitecture). Она применяется, в частности, в домашних ПК Aptiva фирмы IBM. Объединение ОЗУ с видеопамятью на одной материнской плате упрощает ее конструкцию и уменьшает число проводников на плате.Арифметико-логическое устройство
Арифметико-логическое устройство (АЛУ) построено на множестве логических схем и служит для выполнения арифметических и логических операций. Процессор позволяет в пределах своей разрядности складывать, вычитать, умножать и делить целые числа. Он позволяет также выполнять различные операции (например, сдвига или перемещения) для работы с числами повышенной разрядности и др.Кроме того (и это, пожалуй, самое важное), процессор позволяет выполнять все эти и многие другие операции по программе, выбираемой из внешнего запоминающего устройства, и использовать данные, хранящиеся в нем. Таким образом, процессор наделен средствами общения с памятью и другими внешними устройствами. Процессор реализует также ветвления по программе (безусловные и условные переходы) и циклы.
ASCII и таблицы кодировки
Имеются специальные стандарты, ставящие в соответствие каждый код определенному знаку. Сейчас самым признанным стандартом стал ASCII (American Standard Code for Information Interchange - Американский стандартный код для обмена информацией). В нем каждое значение байта соотносится с определенным символом, например, 65 - это код латинской буквы «A», 66 - «B» и т.д.В новых операционных системах для компьютеров, например Windows 98/2000/NT/XP, применяются и двухбайтные коды (Unicode), позволяющие довести число кодируемых знаков до 65536 символов. Этого достаточно для кодирования самых сложных языков.
В компьютере или ином информационном устройстве имеется также один или несколько наборов знаков (так называемых таблиц знакогенератора), которые ставят в однозначное соответствие код знака с его начертанием на экране дисплея. В результате с помощью специальной алфавитно-цифровой клавиатуры можно преобразовать знак любого языка на любой клавише в код, а с помощью знакогенератора дисплея вывести этот знак на экран дисплея.
Преобразовав символы в коды, нетрудно автоматизировать операции с текстами. Например, несложно подсчитать число символов в строке, выделить первый, последний или вообще любой символ, выполнить сортировку слов, осуществить замену одного символа или подстроки на другой (другую) и даже осуществить автоматическую проверку орфографии и грамматики, используя для этого определенные наборы правил того языка, на котором создается и обрабатывается текст. Все это и делают текстовые редакторы и более мощные текстовые процессоры, такие, как всемирно известный Microsoft Word.
Аудио-оснащение ПК
Для полноценного превращения ПК в мультимедийный компьютер, помимо видеосистемы, ПК должен быть оснащен аудиосистемой. Уже первые типы ПК имели встроенный динамик, в основном создающий системные сигналы – гудки. Полноценное оснащение ПК звуковыми возможностями стало возможным после создания компанией Cteative Labs изделия Sound Blaster (Орудие звука). Это был первый аудиоадаптер в виде карты расширения, вставляемой в слот ПК (рис. 3.18).Рис. 3.18. Аудиоадаптер и его подключение к аудиоустройствам
Аудиоадап-тер по существу состоит из двух частей – цифрового магнитофона и электронного синтезатора звуков. Сигналы звука (от микрофона или линии) усиливаются и смешиваются (микшируются), подаются на АЦП и превращаются в цифровые сигналы. Они записываются в память ПК. Цифровые сигналы с памяти поступают на ЦАП, превращаются в аналоговые сигналы, усиливаются и поступают на акустические системы – головные телефоны или акустические колонки.
Разумеется, что для записи и воспроизведения стереофонических звуков тракт цифрового магнитофона должен быть двухканальным. А в более «крутых» современных аудиоадаптерах применена даже шестиканальная система (5+1), типичная для широкоэкранных кинотеатров и домашних видеотеатров. В этом случае источником звуковых сигналов служат оптические диски формата MP4 или DVD.
Синтезатор музыкальных звуков имеет интерфейс музыкальных инструментов MIDI. Он позволяет подключать к аудиоадаптеру клавиатуру музыкальных инструментов, напоминающую клавиатуру рояля или пианино. Это превращает ПК в полноценный электромузыкальный инструмент. Массу MIDI-файлов с записями музыкальных произведений можно найти на компакт-дисках CD-ROM и в Интернете.
Синтезаторы могут быть двух типов – с частотной модуляцией FM и с волновым синтезом – Wave Table. Последние более совершенны и дают более высокое качество синтезированных звуков. По существу, они представляют собой наборы реальных звуков в цифровой форме, из которых под действием команд формируются сложные звуковые сигналы, даже такие, как отдельные слова и фразы, хлопки в ладоши, свистки и т.д.
Современное аудио-оснащение ПК позволят получить высокое качество звука, но при условии применения достаточно дорогих аудиокарт и мощных и больших внешних акустических систем с усилителями. Хороший звук дают современные стереофонические головные телефоны. А вот встроенные динамики мобильных компьютеров – ноутбуков, а также всевозможные миниатюрные дешевые колонки, высокого качества звука, увы, не дают.
Беспроводная связь с помощью модулей Bluetooth
В Х веке нашей эры король Дании Гарольд II, прозванный Голубой Зуб, прославился как неутомимый собиратель земель датских. А уже в 1998 году под именем Bluetooth (Голубой Зуб) образовался союз промышленных компаний - разработчиков новой технологии радиосвязи, которая могла бы объединить персональные компьютеры, мобильные телефоны и различные бытовые приборы. При этом расположение и число их не имело того значения, которое характерно для применения инфракрасных портов.Родоначальниками Bluetooth выступили гиганты компьютерного и телекоммуникационного рынка - Ericsson, IBM, Intel, Nokia и Toshiba. Сейчас концерн Bluetooth объединяет более 800 компаний, увлеченных новой технологией универсальной беспроводной связи. Технология Bluetooth обеспечивает универсальный механизм беспроводного соединения самых различных устройств друг с другом. Она позволяет заменять кабельные соединения и организовать каналы передачи.
Внешне модуль Bluetooth - это самая обычная интегральная микросхема с площадью около 1 кв. см., которая обеспечивает связь на частоте 2,4 ГГц на расстоянии пока до 10 метров. Он может связать до 8 других устройств, организуя при этом так называемую пикосеть, или PAN (Personal Access Network - Сеть персонального доступа). Одна из микросхем становится ведущей (master), остальные действуют под ее управлением (slaves). Ведущей схемой обычно является та, которая размещена в наиболее мощном устройстве, таком, как карманный персональный компьютер, ноутбук, настольный ПК или мини-ЭВМ.
Ведущая схема координирует посылку и прием данных в рамках образованной пикосети. Если в сети окажется более 8 устройств, будет автоматически сформирована вторая пикосеть. Множество пикосетей, способных взаимодействовать друг с другом, сформируют распределенную сеть (Scatternet).
Пикосети могут взаимодействовать друг с другом, автоматически корректируя поток данных, что достигается возможностью микросхемы Bluetooth быстро переходить с частоты на частоту. Этот способ известен как Frequency Hopping (FH), или просто хоппинг. Он обеспечивает хорошую защиту от помех других излучающих устройств путем быстрого перескока частот 1600 раз в секунду. Хоппинг по частоте обеспечивает также защиту сетей от несанкционированного доступа.
В принципе сети с Bluetooth решают те же задачи, что и инфракрасный порт, но без ограничения числа устройств и неудобств, связанных с их ориентацией. Но все это при условии, что все устройства имеют модуль Bluetooth. Следует иметь в виду, что технология Blustooth находится в начале внедрения, так что «нестыковки» устройств, увы, случаются. Есть и другие технологии беспроводной связи, решающие те же задачи, что и Bluetooth.
Блок команд
В процессор «зашито» множество команд, которые выполняются программно с помощью АЛУ. Их немного больше 200. Это команды предшествующих поколений микропроцессоров 8086, 8088, 286, 386 и 486. Однако в новые процессоры включен целый ряд новых команд (см. выше описание процессоров). Выполнение команд микропроцессора и возложено на блок команд.Блок управления памятью
Во время работы процессор постоянно взаимодействует с памятью. Он получает из памяти коды команд и данные для вычислений и направляет в заданные ячейки памяти результаты вычислений. Для обеспечения этого процессор содержит блок управления памятью. Именно в этом блоке формируются адреса ячеек памяти, с которыми работает микропроцессор. Для работы с памятью большого размера используется страничная организация памяти – при ней адрес задается номером страницы - сегментом и смещением внутри выбранного сегмента. Начиная с процессоров Pentium III стала возможной линейная адресация к ячейкам памяти. Она требует меньшего числа команд на задание адреса и выполняется быстрее.CD-ROM-драйвы
На основе звуковых дисков вскоре были созданы лазерные компакт-диски CD-ROM, допускающие только считывание информации. Емкость CD-ROM до 800 Мбайт. На диск можно поместить энциклопедии и справочники, по объему эквивалентные десяткам томов книг.Первые CD-ROM-драйвы с конструкцией, показанной на рис. 3.16, имели скорость считывания в 150 Кбайт/c. Затем ее стали задавать кратной этой скорости. Так что драйвы с двойной скоростью имеют скорость считывания 2 ´ 150 = 300 Кбайт/c, драйвы с учетверенной скоростью 600 Кбайт/c и т.д. В ноутбуках применяются в основном CD-ROM-драйвы с кратностью скорости 24, тогда как в настольных ПК она обычно достигает 48-50 и даже выше.
Важным параметром является также среднее время доступа (поиска первого нужного сектора). Обычно оно порядка 0.2-0.4 с, а в новых драйвах с повышенной скоростью считывания и с дополнительным буфером кэш-памяти драйва оно существенно ниже. Емкость буфера обычно лежит в пределах от 32 до 256 Кбайтов.
Числа десятичные и шестнадцатеричные
Цифровая информация основана на применении чисел в той или иной системе исчисления. Числа характеризуются основанием. Выше мы познакомились с числами двоичными (основание 2) и восьмеричными (основание 8). В обиходе такие числа используются редко, хотя пользователям компьютерами они привычны.А вот десятичные числа более привычны для людей, которых природа наградила 10 пальцами на руках и ногах. Считается, что именно поэтому люди полюбили десятичную систему исчисления, которой широко пользуются и поныне. Конечно же, современные микропроцессоры компьютеров справляются с десятичными числами так же, как и с двоичными - битами или восьмеричными – байтами.
В ряде случаев, например для указания адресов и содержимого ячеек памяти, применяются шестнадцатеричные числа с основанием 16. Каждый p-й разряд такого числа HEX (p = 0, 1, 2,..., 9, A, B, C, D, E, F) дает вклад в десятичное значение адреса A, равный DEC*16^p (знак ^ означает возведение в степень), где DEC - десятичное значение числа, определяемое следующим образом:
HEX 0 1 2 3 4 5 6 7 8 9 A B C D E F
DEC 0 1 2 3 4 5 6 7 8 9 10 11 12 13 14 15
Применение шестнадцатеричных чисел требует некоторого навыка, но он приходит очень быстро, если вы всерьез займетесь программированием. К примеру, чему равно значение С7h (h означает принадлежность к шестнадцатеричным числам)? Надо полагать, что вы догадались, что с учетом веса разряда C=12 это дает (16*12)+7=199. Разумеется, преобразовывать числа в уме не стоит – многие простые микрокалькуляторы имеют команды для такого преобразования.
Что было до появления ЭВМ
Уже наши предки людей умели подсчитывать число членов своей семьи, количество принадлежащих им животных и вещей, отгибая пять пальцев каждой руки. Состояние древних людей росло, стада домашних животных насчитывали уже тысячи голов, и пальцев рук для вычислений стало мало. И тогда человек придумал первое пятеричное вычислительное механическое устройство – абак. Это была полосатая доска с кучками камней на полосках. Дошедшие до нас счеты – тоже разновидность абака. Они появились в конце XVI века и использовали уже десятичную систему исчисления.В Древнем Риме такие устройства именовались как calculi или abaculi – от слова calculus (в переводе галька, камешек, голыш). Отсюда и появилось слово calculus (вычисления) и calculator (это уже совсем по современному – калькулятор или вычислитель). Первые устройства такого типа на самом деле ничего не вычисляли – они служили просто простой механической памятью.
Долгое время подобные «машины» помогали только складывать и вычитать числа. Но в начале XVII века появились первые логарифмические таблицы, созданные Непером. Затем мир захлестнула волна логарифмических линеек, доживших до наших дней. Увы, точность их изготовления позволяет получать верными только 3 или 4 цифры результатов.
Примерно в 1623 году В. Шиккардом была изготовлена в единственном экземпляре первая механическая счетная машина. Затем французский математик и философ Блез Паскаль в 1642 году изобрел механическую суммирующую машину на шестеренках. А уже в 1674г. Готфрид Лейбниц усовершенствовал ее, сделав возможными умножение, деление и даже извлечение квадратного корня. Он же впервые применил двоичную систему исчисления.
Однако все эти ранние вычислительные устройства не были автоматическими, и ими постоянно управлял человек – пользователь. Первый проект механической машины, управляемой по введенной в нее с перфокарт программе, был создан в 1834 году Чарльзом Бэббиджем. Для привода машины Бэббидж предполагал использовать паровой двигатель.
В своей машине Бэббидж выделял четыре главных блока:
· склад для хранения чисел (по нынешней терминологии память);
· мельницу для перемалывания-обработки чисел (по-нашему, это арифметическое устройство);
· устройство управления;
· устройство ввода-вывода.
Замечательно, что все эти устройства по существу входят в любую современную вычислительную машину. Так что Бэббиджа можно считать первым архитектором вычислительных машин – архитектура его машины сохраняет свое значение и поныне. Бэббидж также предвосхитил возможность изменения алгоритма решения задач по мере их выполнения.
Для записи программ Бэббидж заимствовал идею применения перфокарт, которую предложил и реализовал в ткацких станках Жаккар. Такие карты представляли собой лист плотной бумаги с отверстиями. Отсутствие и наличие отверстия в том или ином месте означало запись логического нуля и единицы. Ада Лавлейс (дочь поэта
Д. Байрона) подготовила первые программы для машины Бэббиджа. В них впервые были реализованы циклы – повторяющиеся неоднократно операции. Ее вклад, как первого в истории Человечества программиста, увековечен в названии современного языка программирования Ада.
Создание первых механических вычислительных устройств способствовало развитию теории вычислений и алгоритмов. Здесь огромный вклад внес Джорж Буль (1815-1864 гг.), который предложил математическое описание логических и арифметических операций, ныне известное как алгебра Буля. По существу Буль создал теоретические основы работы современных цифровых машин.
В 1874 Орднер (Россия) разработал механические счетные машинки небольших размеров – арифмометры. В 1931 году в России был организован выпуск арифмометров «Феликс». Лишь недавно они исчезли с прилавков магазинов канцтоваров. А в 1969 году (уже в век электронных вычислительных машин) только в СССР было выпущено 300 000 арифмометров!
В 1888 году Герман Холлерит создал первую электромеханическую машину – табулятор для обработки перфокарт. Она помогла осуществить перепись населения США. Обработку ее результатов осуществили 43 помощника Холлерита в течение всего одного месяца. Это был феноменальный успех – результаты предшествующей переписи обрабатывало свыше 500 человек на протяжении десяти дет!
В 1896 году Холлерит создал фирму Computing Tabulation Company, которая занималась разработкой и выпуском табуляторов. Из нее и родилась ныне знаменитая корпорация IBM (International Business Machine). Вот уже многие годы эта корпорация лидирует в разработке и производстве больших вычислительных машин для различных сфер экономики.
В 1930 году В. Буш создает дифференциальный анализатор, способный решать дифференциальные уравнения. Одна из последних моделей этого устройства, построенная уже в 1942 году (в разгар второй мировой войны), весила 200 тонн.
В 1937 году Алан Тьюринг опубликовал фундаментальную математическую работу с описанием алгоритмов математических вычислений с помощью удивительной по своей простоте гипотетической машины.
Первые двоичные электромеханические машины на основе реле создал в на рубеже тридцатых/сороковых годов ХХ века немецкий инженер Конрад Цузе - это машины Z1 и Z3. Последняя была изготовлена в 1941 году и имела около 2600 реле. Профессор Гарвардского университета Г. Айкен при участии IBM построил в 1944 году еще одну релейную машину ASCC (Mark-1).
Тем временем физик и математик (по национальности венгр) Джон фон Нейман (1903-1957 гг.), житель США, предложил хранить в памяти вычислительных машин как данные для вычислений, так и программы. Это была основополагающая идея, обеспечивающая вычисления под управлением меняющихся в их ходе данных. Что существенно расширило классы алгоритмов вычислений, доступных вычислительным машинам. Он же предложил классическую архитектуру вычислительных машин, состоящую из следующих узлов:
· арифметико-логическое устройство (АЛУ);
· устройство управления (УУ);
· запоминающее устройство (ЗУ);
· система ввода информации;
· система вывода информации.
Эта архитектура так и названа – фон-Неймановской архитектурой.
Подобные работы велись и в СССР. Так, в 1957 году была создана первая релейная советская счетная машина РВМ-1, превосходящая Mark-2 по скорости вычислений в 14 раз. К этому времени стало ясно, что век электромеханических вычислительных машин окончился. И стали появляться электронные вычислительные машины.
Что нужно для работы в Интернете
Чтобы начать работу в Интернете, нужно иметь компьютер с модемом и договор с местным поставщиком услуг Интернета - провайдером. Интернет - платная услуга, так что получение услуг начинается с оплаты их. Многие провайдеры продают специальные карточки для подключения к Интернету на определенное число часов. Так что достаточно приобрести такую карточку и согласовать по телефону подключение к Интернету.Возможные (но далеко не все) варианты подключения к Интернету представлены на рис. 4.14. Сама сеть Интернета показана как некоторое облако. Видно подключение четырех компьютеров через модемы по проводным линиям и одного компьютера через радиомодем сотового телефона. Это наиболее вероятные способы подключения компьютеров к сети Интернета.

Рис. 4.14. Способы подключения компьютеров к Интернету
Модемы могут быть внешними и внутренними. Внешние модемы
выполнены в небольших корпусах (см. рис. 3.15, где сверху компьютера виден внешний модем). Такие модемы имеют расширенные органы управления, и их можно переносить от одного компьютера к другому. Внутренний модем – это плата расширения, вставляемая в слот расширения, расположенный на материнской плате ПК внутри его корпуса. Внутренние модемы проще и дешевле внешних. Практически все современные модемы поддерживают скорости до 33-57 Кбит/c, но могут заметно отличаться по устойчивости связи - особенно на российских телефонных линиях. Модемы должны быть сертифицированы по нашим условиям.
Подключение и настройка модема в задачи нашего учебного курса не входит. Она описана в ряде книг, например в [12,13], и может быть легко произведена многими пользователями. Впрочем, людям с гуманитарными способностями лучше воспользоваться услугами своего провайдера, хотя бы ради экономии своего времени и нервов.
Кроме того, для работы в Интернете нужно соответствующее программное обеспечение. Впрочем, в его получении сейчас проблем нет - все операционные системы современных ПК имеют функционально полный набор программ для работы в Интернете. Это программы создания соединения, программа электронной почты и программа для просмотра Интернет-страниц, называемая браузером.
Говоря об Интернете как о некоторой огромной сети, своей электронной мировой паутиной (World Wide Web - или сокращенно WWW) опутавшей весь мир, надо постоянно помнить о том, что она является совокупностью множества самых различных сетей с согласованными правилами (протоколами) работы.
Что такое архитектура компьютера
ПК можно уподобить целому городу, живущему своей жизнью. О любом городе очень многое говорит его архитектура. Знакомясь с ней, можно понять историческую судьбу города и узнать о новых достижениях в его строительстве. Так обстоит дело и с ПК. У современных ПК используется шинная архитектура (рис. 3.6).
Рис. 3.6. Упрощенная функциональная схема ПКРассмотрим ее узлы более детально.
Что такое информатика?
Можно сказать, что информатика - это область человеческой деятельности, связанная с созданием, накоплением, хранением, преобразованием и представлением информации с целью управления различными объектами. Слово «информатика» происходит от сочетания слов «информация» и «автоматика», хотя это определение не единственное. Совокупность средств и приемов работы с информацией называется информационными технологиями.Информатику и информационные технологии не следует отождествлять только с компьютеризацией общества. К ним по-прежнему относятся книгоиздание и библиотечное дело, обычные справочные службы, почта, телефон, телеграф, средства радио- и спутниковой связи и многое-многое другое. Но когда говорят о новых информационных технологиях, то чаще всего подразумевают все эти средства, основанные на последних достижениях цифровой
и вычислительной техники. К ним относятся и средства связи и телекоммуникаций, а также технические средства обучения.
Как уже отмечалось, большие объемы информации о чем-либо и правила их применения принято именовать знаниями. С появлением книг, а затем и средств телекоммуникаций возможности тиражирования знаний и их передачи многократно возросли. Появилась многоступенчатая система образования – дошкольного, школьного, высшего, профессионального и даже заочного. Менялся и характер общества – ныне оно стало информационным обществом.
Возникла и новая информационная культура. Ее можно определить как совокупность рациональных и корректных навыков и правил работы с информационными средствами и ресурсами, обеспечивающими необходимый уровень обеспечения информацией любого члена информационного общества и общий прирост информационного потенциала и информационных ресурсов общества. Важно отметить такие правила информационной культуры, как вежливость переписки, недопустимость отправки писем электронной почтой по любому поводу и по любому адресу, недопустимость рекламы в Интернете порнографии или пороков общества, запрет применения компьютерных вирусов и т.д.
Что умеют делать КПК
Ныне КПК – это специализированные компьютеры, имеющие тщательно отобранные и оптимизированные под них компоненты, как аппаратные, так и программные. Минимум этих возможностей следующий:· работа с текстами формата .txt или .doc
популярного текстового процессора Word;
· работа с электронными таблицами формата Excel;
· выполнение простых вычислений с помощью программного микрокалькулятора;
· ведение электронной записной книжки;
· ведение адресной и телефонных книг на сотни-тысячи позиций;
· выполнение функций календаря, электронных часов и будильника;
· построение и редактирование простых графиков;
· работа с рядом небольших специальных программ;
· обеспечение достаточно длительной работы в автономном режиме.
Нетрудно заметить, что набор услуг карманного компьютера достаточно велик и охватывает наиболее серьезные и часто необходимые виды деятельности. Уже одно это делает карманные компьютеры разумной и экономически оправданной ветвью миниатюрных вычислительных устройств.
Но, как у нас говорят, аппетит приходит во время еды. Оценив возможности первых КПК, многие, уже избалованные техническими новинками, пользователи захотели уже и нечто большего. И, отвечая на их запросы, нынешнее поколение КПК, вдобавок к перечисленным возможностям, обеспечивает:
· стыковку с настольным ПК и полноценный обмен с ним данными, программами и просто файлами;
· ряд новых функций, вводимых картами расширения (например, модема, цифровой видеокамеры, системы определения координат местности и др.);
· выполнение функций компьютерного словаря и переводчика;
· чтение электронных документов, статей и книг;
· быстрое подключение к Интернету и просмотр Интернет-страниц;
· работу в любое время и в любом месте с электронной почтой;
· проигрывание музыкальных файлов формата MP3;
· просмотр и ведение электронных фотоальбомов;
· просмотр видеофильмов в формате MP4;
· беспроводную связь с рядом других устройств, например с сотовыми телефонами.
Цифровое кодирование графики и видео
Немного сложнее кодирование черно-белой графики. Любую точку можно представить набором чисел-кодов: координат по осям X и Y. Имея эти коды, можно построить точку в нужном месте экрана. А из множества точек составить любой рисунок. Однако он будет выглядеть как точечный черно-белый рисунок из старых газет.Чтобы получить более качественные полутоновые (grayscale) и особенно цветные (color) рисунки к численным координатам каждой точки, придется добавить некоторые коды цвета и иных свойств точек графики (например, признака мигания точки или ее прозрачности). Их принято именовать графическими атрибутами точки.
С позиций математики набор координат точек представляет собой матрицу – прямоугольную таблицу с числами в ее ячейках. Если составить изображение из точек трех основных цветов, например красного (Red), зеленого (Green) и голубого (Blue), то нам придется хранить матрицы трех цветов и помещать в ячейки матрицы числа, определяющие интенсивность каждого цвета (например, от 0 до 1). Это соответствует одной из ряда схем цифрового кодирования изображений, называемой RGB-методом кодирования изображений.
Цифровые диктофоны с твердотельной памятью
Появление цифровых методов преобразования звуковых сигналов и твердотельной памяти позволило решить задачу, еще недавно казавшуюся фантастической, - создать устройства записи и воспроизведения звуков, не содержащие вообще лентопротяжных механизмов. В таких устройствах цифровые сигналы звука записываются в твердотельную флэш-память достаточно большого объема, а для воспроизведения считываются с нее.Пока широко применяются два класса аудиоустройств с твердотельной памятью:
· диктофоны для записи и воспроизведения речи;
· проигрыватели MP3-файлов с возможностью их обновления в памяти.
Таким образом, о полноценной замене даже кассетных магнитофонов речь пока не идет. Это связано с небольшим объемом памяти и ее дороговизной. Однако несомненно, что устройства с твердотельной памятью, не имеющие сложных и не очень надежных механизмов, в ближайшем будущем полностью вытеснят аудиоустройства с такими механизмами.
На рис. 5.21 показан цифровой диктофон фирмы Aiwa IC-M120/240. Нетрудно заметить, что диктофон имеет минимум органов управления с вполне очевидным назначением. Удлиненная форма диктофона удобна для его размещения в кармане (фирма Samsung выпускает такие диктофоны в форме авторучки). Типичное время записи речи таких диктофонов достигает 2-8 часов.

Рис. 5.21. Цифровой диктофон фирмы Aiwa
IC-M120/240
Диктофоны ICD-M фирмы Sony (рис. 5.22) ведут запись на модули памяти Memory Stick. Это позволяет менять такие модули и сохранять сделанные записи. Недостатком таких модулей является их дороговизна и небольшой максимальный объем памяти - до 128 Мбайт (в ближайшее время можно ожидать выпуск модулей с объемом памяти до 1 Гбайта).Рис. 5.22. Диктофон Sony ICD-M с твердотельной памятью
Внешний вид сменных модулей памяти Memory Stick фирмы Sony представлен на рис. 5.23. Эти модули имеют размер в половину большой марки и выполнены в очень прочном пластмассовом корпусе.
Рис. 5.23. Сменный модуль памяти Memory Stick фирмы SonyМодули Memory Stick - фирменный продукт Sony. Как правило, для цифровых диктофонов других фирм они не подходят. Однако ряд фирм производит подобные диктофоны с применением других модулей флэш-памяти, например MultiMedia Card (MMC), Secure Digital (SD) или Compact Flash (CF).
Цифровые фотоаппараты
Переход от аналоговых форм записи и хранения информации к цифровым распространился на все области деятельности. Этот процесс затронул и такую сферу любительской и профессиональной деятельности, как фотография, - от простых черно-белых и цветных пленок переходят к цифровой фотографии.Электронный цифровой фотоаппарат во многом похож на своего предшественника - обычный фотоаппарат. Он также имеет камеру, объектив с диафрагмой и шторкой, управляемой затвором, а также все электронные устройства для автоматического определения выдержки, диафрагмы и автоматической фокусировки изображения. Более того, в некоторых электронных фотоаппаратах (рис. 5.44, например) используются корпуса и оптика хорошо зарекомендовавших себя типов 35-миллиметровых фотокамер известных фирм (Canon, Nikon, Minolta и др.). Многие электронные фотоаппараты, как и обычные, имеют и встроенную фотовспышку - при ней съемки в затемненных помещениях получаются более живыми.

Рис. 5.44. Электронный цифровой фотоаппарат Sony DSCF-717
Вместо фотопленки в камере установлена такая же светочувствительная матрица, как и в видеокамере - чаще всего ПЗС. Она создает цифровой сигнал, который запоминается в памяти камеры - обычно это флэш-память, хотя есть и камеры с жесткими и гибкими дисками. Файлы изображения (обычного графического формата) можно переносить в компьютер и передавать по сети Интернета.
Цифровой фотоаппарат обычно снабжен оптическим видоискателем и ЖК-панелью, на которой видно, какое изображение помещается в кадр при выбранных автоматических или ручных настройках. В некоторых моделях зеркальных цифровых фотоаппаратов оптический видоискатель получает световой поток непосредственно от светорегистрирующей матрицы, т.е. оператор видит картину, полностью соответствующую будущему отпечатку.
Органы управления мало чем отличаются от органов управления обычных фотоаппаратов, кроме возможности работы с отснятыми кадрами. Имеются кнопки настройки параметров съемки, работы с меню. К основным кнопкам относятся переключатель режима работы, спуска затвора, вход в меню.
Изображение записывается в графическом формате в сжатом виде, чаще всего в формате JPEG c использованием трех степеней сжатия (высокое, среднее, низкое) в зависимости от требований к качеству снимка. Обычно есть возможность записи и в формате TIF без компрессии, но такие файлы велики по размеру.
Цифровой фотоаппарат Sony DSCF-717 (рис. 5.44) относится к числу полупрофессиональных и довольно дорогих моделей. Он имеет 5-мегапиксельную фотоматрицу, обеспечивающую высочайшее качество цифровых фотографий. Камера дает возможность вывода в реальном времени гистограммы кадра: график, показывающий количество света, попадающего на матрицу, позволит сделать правильную экспокоррекцию. Другая удобная функция – возможность создания директорий на карте памяти MS. Заметим, что емкость входящей в комплект камеры карточки увеличилась; теперь она составляет 32 Мб. На подготовку к работе после включения требуется всего 1,5 сек.
Поворачивающийся объектив Carl Zeiss Vario Sonnar обеспечивает функции ночной съемки и ночного кадрирования. Выдержка: от 1/2000 секунд.
Но и легкие малогабаритные цифровые фотокамеры ныне могут иметь высокое разрешение. Например, фотокамера Sony DSCP-9 (рис. 5.45) имеет разрешение 4 Мегапикселя. Такие камеры часто называют «мыльницами» за их простоватый вид и близкие к мыльнице размеры. Тем не менее и такие камеры могут обеспечивать высокое качество изображения.Рис. 5.45. Малогабаритная цифровая камера Sony
DSCP-9
Разумеется, выбранные для примера фотокамеры компании Sony далеко не единственные на рынке таких устройств. Ныне на рынке можно найти десятки цифровых фотокамер самых различных фирм.
Цифровые видеокамеры-фотокамеры
Знакомство с цифровыми видеокамерами и цифровыми фотокамерами показывает, что между ними очень много общего. Поэтому вполне естественной является постепенная интеграция таких устройств. Многие цифровые видеокамеры научились «стрелять одиночными выстрелами», а цифровые фотоаппараты «короткими очередями». В последнее время появились устройства, которые одновременно являются вполне полноценными цифровыми как видеокамерами, так и фотокамерами.Для фотокамеры Sony Cybershot DSCF-77 (рис. 5.46) число пикселей составляет 4 млн. Эта камера имеет универсальный адаптер, самый современный вариообъектив Carl Zeiss. Отснятые изображения записываются на карту памяти MemoryStick Card (в комплекте MS 16 МБайт). Входящий в комплект камеры универсальный адаптер позволяет просматривать фотографии на экране телевизора, передавать их в компьютер и заряжать аккумулятор камеры.
Рис.5.46. Видеокамера-фотокамера Sony Cybershot DSCF-77Поворачивающийся объектив Carl Zeiss обеспечивает удобство съемки, позволяя делять снимки практически под любым углом. Можно снимать даже самого себя! Вы можете сразу просматривать отснятые материалы на удобном ЖК-дисплее, расположенном на задней стенке корпуса. Она может использоваться для киносъемки в формате MPEG Movie HQX. Технология энергосбережения Stamina обеспечивает время работы с аккумулятором NP-FC10 - 1 час 30 мин.
Еще одна видеокамера Sony формата MICROMV класса MegaPixel с разрешением на 2,1 млн. пикселей показана на рис. 5.47. Камера обеспечивает возможность записи на карту Memory Stick. Эта новинка позволяет не только снимать видеофильмы в формате MPEG2 (этот же формат используется в DVD) с разрешением 520 линий по горизонтали, но и делать фотографии с разрешением 1600´1200 пикселей. Камера позволяет снимать в темноте, вести спортивную съемку. Точную цветопередачу и проработку мельчайших деталей изображения обеспечивает традиционный для камер Sony объектив Carl Zeiss T.Рис. 5.47. Видеокамера Sony MegaPixel DCRIP-210E
Камера имеет режим burs - съемка 4 кадров с интервалом 0,5 сек или 32 кадров с интервалом 0,07 сек. Сфокусироваться на объекте съемки можно просто дотронувшись до его изображения на дисплее; активный дисплей также поможет отрегулировать экспозицию. Участок, на который наведен фокус, выводится на дисплей с двойным увеличением. С помощью кольца фокусировки можно также управлять зумом 8 предустановок резкости для разных сюжетов; вес видеокамеры – 520 г, размеры – 98х76х136 мм.
Диапроекторы
Экранные средства обучения и воспитания включают аппаратуру диапроекции, т.е. проецирование в проходящих лучах, и эпипроекции, т.е. проецирование в отраженном свете, и представлены проекционными аппаратами различного типа и назначения.Проекционные аппараты - это оптические устройства, формирующие на экране увеличенное, позитивное, перевернутое, действительное изображение диа– или эпиобъектов. К объектам диапроекции относятся диапозитивы (слайды) и диафильмы, представляющие собой тематически связанную последовательность кадров, расположенных на одной пленке.
Проекционный аппарат - диапроектор (рис. 5.26) состоит из механической и оптической частей. Механическая часть, объединяя конструктивно все элементы аппарата, обеспечивает правильное положение проецируемых объектов перед объективом, их смену, выполнение необходимых регулировок и настроек, а в некоторых аппаратах – автоматическую фокусировку и выдержку времени при смене объектов.
Рис.5.26. Оптическая схема диапроектора (1- рефлектор, 2- источник света, 3- конденсор с теплофильтром, 4- кадровая рамка, 5- объектив)Оптическая часть диапроектора (рис.5.26) состоит из осветительной и проекционной частей и обеспечивает освещение и проецирование объекта.
В большинстве проекционных аппаратов и узкопленочных кинопроекторов применяются кварцевые галогенные малогабаритные (КГМ) лампы накаливания, отвечающие этим требованиям. В названии лампы указываются напряжение питания и мощность, которая определяет световой поток. Например, название КГМ 12-100 определяет кварцевую галогенную лампу, рассчитанную на напряжение питания 12В, мощностью 100 Вт.
Рефлектор
служит для того, чтобы использовался весь создаваемый лампой световой поток, т.е. в отсутствие рефлектора большая часть светового потока не попала бы в объектив. Рефлектор позволяет решить еще одну задачу повышения качества проекции, это будет рассмотрено позже.
Конденсор позволяет сконцентрировать световой поток на кадровой рамке 4, ограничивающей демонстрируемый слайд, и представляет собой систему собирающих линз.
Между линзами конденсора устанавливается оптический теплофильтр (на рис.5.19 не показан), изготовленный из специального стекла, который, задерживая инфракрасные лучи, предохраняет слайд от перегрева.
Объектив представляет собой линзовую оптическую систему и формирует на экране увеличенное изображение объекта. Параметрами объектива являются: фокусное расстояние, относительное отверстие и светосила. Они указываются на оправе объектива.
Главным фокусом называется точка, в которой пересекаются после преломления в объективе лучи, падающие на него пучком, параллельным главной оптической оси, а расстояние главного фокуса от оптического центра объектива называется главным фокусным расстоянием. Оно определяет масштаб изображения (размер изображения).
Относительное отверстие представляет собой отношение диаметра зрачка объектива к его фокусному расстоянию. Например, если фокусное расстояние объектива равно 75 мм, а диаметр его зрачка – 17 мм, то относительное отверстие этого объектива будет 17:75, т.е. 1:4,5.
Светосила характеризует способность объектива к наибольшему пропусканию света и зависит от величины относительного отверстия. Отметим, что светосила объектива с относительным отверстием 1:5,6 больше светосилы объектива с относительным отверстием 1:8.
Линзы современных объективов просветлены, т.е. на их поверхность нанесена тончайшая пленка, позволяющая уменьшить отражение лучей при прохождении их через объектив.
На рис.5.27 приведена схема проекционной части диапроектора, представленной объективом с фокусным расстоянием f. Слева от объектива расположен объект проецирования, представленный в виде стрелки высотой h, острие которой расположено на главной оптической оси. Следовательно, и острие изображения будет расположено на главной оптической оси.
Рис.5.27. Геометрические соотношения оптической схемы диапроектораДля построения изображения выбраны два луча, один из которых проходит через центр объектива и, следовательно, не преломляется, а другой, параллельный оси, преломившись, пройдет через фокус объектива.Так построено изображение стрелки на экране высотой H. Расстояние диапроектора до экрана L должно быть именно таким, как указано на рисунке, именно в этом случае каждая точка объекта проецируется в точку, и его изображение будет резким. В случае, если экран расположен ближе или дальше, чем показано на рисунке, то каждая точка объекта проецируется в пятно, и изображение будет нерезким. Подобие треугольников aOb и AOB позволяет записать соотношение h/H=Ob/L. Заменив в этом соотношении Ob на f, что не приведет к значительной погрешности, окончательно получим h/H=f/L.
Последнее соотношение позволяет определить, на каком расстоянии от экрана следует установить проекционный аппарат, чтобы получить изображение требуемого размера. Кроме того, из этого соотношения следует, что больший размер (масштаб) изображения получается при использовании объектива с меньшим фокусным расстоянием.
Дидактические возможности информационной среды обучения
Практическая реализация учебного процесса, направленного на единство образования, развития и воспитания учащихся, основывается на общих дидактических принципах, к важнейшим из которых относятся: наглядность, активность и сознательность, научность, проблемность, содержательность, доступность, систематичность и последовательность, прочность процесса обучения.Методы обучения, будучи способами организации учебно-познавательной деятельности учащихся, основываются на этих принципах, а ИСО, как одна из составляющих учебного процесса, позволяет эффективно реализовать методы обучения.
Рассмотрим требования к ИСО и ее возможности с точки зрения реализации с ее помощью основных дидактических принципов, которые по отношению к ИСО можно условно разделить на две группы.
К одной группе отнесем принципы, имеющие общий характер и учитываемые как при прямом информационном взаимодействии учителя и учеников, так и при организации дидактического материала в условиях использования ИСО (научность, проблемность, содержательность, доступность, систематичность и последовательность, прочность процесса обучения). Другими словами, информационные потоки ИП1 и ИП3
должны представлять учащимся научно-обоснованную и достоверную информацию в доступной и удобной для ее использования форме, учебная информация должна включать познавательные вопросы, задачи и проблемы, вызывающие у учащихся потребность в познании, необходимость решения познавательной проблемы. В этой связи необходимо отметить высокую информационную насыщенность ИСО.
Ко второй группе дидактических принципов отнесем принцип наглядности и принцип активности и сознательности обучения, в реализации которых ведущая роль принадлежит ИСО.
Принцип наглядности неразрывно связан с использованием различных компонентов ИСО в различных комбинациях, которые обеспечивают непосредственное наблюдение и изучение явлений, предметов, их взаимосвязи. Использование на уроке средств наглядности облегчает и упрощает процесс обучения, делает его более интересным, помогает учащимся на основе конкретных фактов осмыслить стоящие за ними абстрактные понятия и положения.
Универсальность ИСО позволяет использовать ее в различных учебных ситуациях: при передаче учащимся новых знаний, при их закреплении, при выполнении упражнений и решении задач, при контроле знаний учащихся.
Принцип активности и сознательности обучения очень важен и, в конечном счете, определяет успех учебного процесса. Активное соучастие учащихся в учебном процессе служит непременным условием эффективного усвоения учебного материала, побуждает учащихся к самостоятельным объяснениям наблюдаемых на уроке (принцип наглядности!) процессов и явлений. Особенно эффективным в реализации этого принципа является использование в учебном процессе средств ВТ. Работа учащегося с диалоговой учебной программой, как и любой диалог, представляет собой активную форму информационного взаимодействия.
Принцип прочности знаний предполагает всестороннее осмысление учащимися полученных знаний и их усвоение на этой основе. Кроме того, должна осуществляться регулярная и всесторонняя проверка знаний. Применение средств ВТ для контроля знаний учащихся представляется весьма эффективным направлением их использования в школе, поскольку позволяет в большой степени освободить преподавателя от рутинной и трудоемкой работы по контролю знаний, чтобы он имел время для индивидуальной работы с учащимися.
Диски DVD
Теперь поговорим о новинке видеотехнологий - дисках DVD (Digital Versatile Disc). Хотя внешне эти диски почти неотличимы от VD-ROM, это диски специальной конструкции. Для увеличения плотности записи у них применяются полупроводниковые лазеры с длиной волны 0,635-0,65 мкм вместо прежних 0,76 мкм. Смена цвета излучения лазера благоприятно сказалась на разработке оптических систем для фокусировки лазерного луча. Удалось уменьшить диаметр сфокусированного луча до 0,5 мкм и меньше, что обеспечивает уверенное считывание информации с сузившихся информационных дорожек с повышенной плотностью питов. Все это, вместе взятое, позволило увеличить объем записанной информации даже на однослойном диске до 4,7 Гбайт (вместо 0,7 Мбайта на обычном CD-ROM).Укорочение длины волны лазера привело к тому, что для фокусировки потребовалось уменьшение вдвое толщины основы диска - до 0,6 мм. Однако такой диск оказался слишком тонким и ломким. Поэтому пришлось сверху основного диска «приклеить» еще один, также толщиной в 0,6 мм. Так появились первые однослойные DVD диски.
Конструкторы довольно быстро догадались, что второй диск можно сделать также с питами. При этом делалось два диска, и они «склеивались» теми сторонами, на которых расположены питы. Так появились двухслойные диски с емкостью до 8,5 Гбайта. Для перехода от одного слоя к другому надо просто сместить лазерную головку примерно на 40 мкм - на столько отличаются поверхности с питами у двух информационных слоев. При этом считывается только тот слой, на котором лазерный луч сфокусирован. После проигрывания одного слоя проигрыватель таких дисков автоматически переходит на второй слой, а благодаря памяти на несколько секунд такой переход не заметен для зрителей.
Эта идея была развита дальше - появились диски с двумя информационными слоями на одной поверхности и даже с четырьмя на сдвоенных дисках. В последнем случае приходится использовать две лазерные головки, направляющие лучи на обе стороны диска.
Зато емкость такого, по существу четырехслойного, “пирога” возрастает до 17 Гбайт.
Итак, ныне DVD диски могут быть четырех основных типов:
1. Односторонние однослойные (4,7 Гбайт)
2. Односторонние двухслойные (8,5 Гбайт)
3. Двухсторонние однослойные (9,4 Гбайт)
4. Двухсторонние двухслойные (17 Гбайт).
Увеличение информационной емкости нового поколения дисков позволило применить метод сжатия информации MPEG-2, дающий лучшее качество изображения, но требующий существенно большей емкости на каждую минуту проигрывания. Тем не менее, типичное время проигрывания – 135 минут, что вполне достаточно для записи полнометражного фильма. При этом гарантируется HiFi качество стереофонического (и даже пространственного) звукового сопровождения по схеме 5+1.
Сигналы звукового сопровождения могут кодироваться 16, 20 и 24 разрядами с применением линейной кодоимпульсной модуляции. Предусмотрены частоты квантования 48 и даже 96 кГц, что дает верхний предел для звуковых частот в 22 и 44 кГц. Последнее делает DVD диски интересными для любителей высококачественного звука, которых не удовлетворяют обычные звуковые компакт-диски с частотой квантования 44,1 кГц. Кстати говоря, они могут считываться проигрывателями DVD дисков, но для этого требуется смещение лазерной головки на 0,6 мм, для фокусировки лазерного луча не внутри диска, а на его поверхности.
Хотя технология изготовления дисков DVD была разработана и многие фирмы (Matsushita, Thomson, Philips, Samsung, Sony и др.) уже не раз демонстрировали такие диски на выставках и презентациях, фирмы не спешили к подготовке массового производства дисков DVD. Долго решались вопросы защиты дисков от копирования. В США, например, требуют маркировки дисков специальными кодами для регулирования каналов импорта дисков.
Здесь уместно отметить, что DVD выпускаются с разными настройками на разные зоны. В настоящее время это следующие зоны:
1. США и Канада.
2. Европа, Япония, ЮАР, страны Среднего Востока.
3. Юго-Восточная Азия и Тайвань.
4. Австралия, Южная Америка, Латинская Америка, Новая Зеландия.
5. Африка (кроме ЮАР и Египта), Индия, Пакистан, Россия и страны СНГ.
6. Китай.
7. ALL - поддержка всех регионов.
Деление на зоны, к сожалению, стало следствием диктата фирм, производящих видео- и аудиопродукцию высокого класса. Если вставить в DVD-драйв диск, не относящийся к его зоне, то считывание информации окажется просто невозможным.
Дискретные и цифровые сигналы
Дискретные сигналы - это сигналы, которые можно представить дискретными уровнями их параметров. Скажем, выключатель света в вашей комнате может быть либо только включенным, либо только выключенным. Сигнал о его состоянии будет дискретным и двоичным. Если этих уровней много, можно говорить о цифровом представлении информации. Сигналы, мгновенные значения которых представлены числами, принято называть цифровыми сигналами.![]() |
Аналоговый сигнал можно квантовать, т. е. представлять его рядом ступенек, высота которых задается уровнем сигнала в начале каждой ступеньки (в момент выборки) и остается неизменной на протяжении каждой ступеньки (рис. 1.3).
Рис. 1.3. Квантование электрического сигнала синусоидальной формы
В общем случае производят выборку (вырезку) сигналов в определенные моменты времени (рис. 1.4). Они могут равномерно или неравномерно отстоять друг от друга. Выборку электрических сигналов и их представление в виде чисел или кодов конечной разрядности выполняют так называемые аналого-цифровые преобразователи - АЦП. В результате на выходе АЦП мы имеем дискретный сигнал, представленный потоком чисел (кодов). Главные показатели АЦП - это их разрядность (число уровней квантования, обычно выражаемое в двоичном виде) и скорость выполнения преобразований (число операций в секунду).

Рис. 1.4. Аналоговый сигнал произвольного вида и его выборки
Обратное преобразование цифровой информации в аналоговую выполняют цифро-аналоговые преобразователи – ЦАП. Для наиболее распространенных электрических сигналов АЦП и ЦАП выпускаются в виде больших интегральных микросхем, особенности которых мы рассмотрим чуть ниже.
Дисплеи ПК на электронно-лучевой трубке
Дисплей – устройство вывода. Он служит для оперативного отображения информации в ходе диалога с ПК. Обычные дисплеи для настольных ПК (их именуют также мониторами) построены, как и телевизоры, на электронно-лучевой трубке – ЭЛТ (рис. 3.22). Домашние компьютеры – «доски»
Тем временем множество фирм (Atari, Commodore и др.) буквально забросали прилавки магазинов своими бытовыми ПК, в народе образно названных «досками». Эти ПК имели вид клавиатуры, с которой был объединен системный блок. В качестве дисплея применялся обычный телевизор, а в качестве накопителя информации - кассетный магнитофон. Все это упрощало и удешевляло компьютер.Тем не менее дешевые домашние компьютеры 80-х годов были серьезными вычислительными машинами. Многие из них программировались на десятках языков программирования, могли использоваться для подготовки текстов и рисунков, обладали незаурядными звуковыми средствами и, разумеется, позволяли играть с десятками тысяч созданных для них игр.
Домашние видеотеатры
Вовсе не компьютеры и прочие современные аудиовизуальные устройства первыми донесли до нас могучее и подчас таинственное и не вполне объяснимое влияние сочетания видео- и аудиоинформации. Первым был кинематограф. Вспомним крылатую фразу вождя мирового пролетариата В. И. Ленина: «Из всех искусств для нас важнейшим является кино».Хорошо известно, что просмотр фильма в хорошем кинотеатре доставляет куда больше удовольствия, чем просмотр по телевизору. Почему? Есть как минимум три важных обстоятельства - высокое качество наблюдаемого «живого» видеоизображения, реальность его звукового сопровождения и отсутствие мерзкой рекламы. До сих пор качество просмотра фильмов было намного выше, чем предусмотренное телевизионными стандартами (не говоря уже о стандартах для дешевых видеомагнитофонов, вроде VHS). К тому же в современных кинотеатрах использованы многоканальные системы звуковоспроизведения, приближающие звуковую обстановку сюжетов фильмов к естественной, словом, создающие виртуальную звуковую реальность.
С появлением проигрывателей DVD кино пришло в наш дом в виде так называемых домашних видеотеатров. Домашний видео-театр – это довольно обширный комплекс видео- и аудиосредств, позволяющий пользователю организовать высококачественный просмотр видеофильмов с виртуальной (кажущейся) звуковой реальностью.
Просмотр видеофильмов для домашних видеотеатров производит неизгладимое впечатление, порою он просто ошеломляет. Создается полная иллюзия присутствия пользователя в месте действия событий, о которых повествуется в фильме. Вы, к примеру, слышите пение птиц и стрекот кузнечиков не только спереди, но и с боков и даже сзади. Вы можете следить за перемещениями певца по сцене и ощущать перемещение звуков его песни. А грохот грома с раскатами заставит вас вздрогнуть и покрыться мурашками (не хватает только вылить на вас ведро воды, но и эта реальность не за горами). Не случайно одним из первых видеофильмов для домашних видеотеатров стал «Парк юрского периода» - картина, познавательное значение которой трудно переоценить, как и мастерство примененных в ней видео-, аудио- и компьютерных эффектов.
Домашний видеотеатр обычно состоит из следующих компонентов;
· высококачественного телевизора или проектора;
· проигрывателя дисков DVD;
· усилительного комплекса или ресивера (УКВ приемника с многоканальным усилителем) обычно на 6 каналов (схема 5+1);
· нескольких акустических систем.
Любой высококачественный телевизор пригоден в качестве основы домашнего видеотеатра. Новые телевизоры с широким экраном (отношением сторон 16/9, как в широкоэкранном кино, вместо обычного 4/3), повышенной частотой смены кадров (100 Гц вместо 50), устраняющей мерцание экрана, и, наконец, недавно появившиеся телевизоры с высокой четкостью и плазменной панелью позволяют уже сегодня получить качество изображения намного лучшее, чем в обычном кино.
За рубежом уже вовсю начато телевизионное, в том числе спутниковое, вещание в форматах видеотеатров, описанных ниже. У нас такое вещание пока не ведется. Владельцы спутниковых телевизионных систем могут принимать ряд зарубежных телевизионных каналов, вещающих на домашние видеотеатры. Но при этом придется установить на балконе или крыше громоздкую антенну – «тарелку» и приобрести еще ряд электронных устройств - конвертор, тюнер и систему управления антенной.
Эффекту реализма в большой мере содействует применение в домашнем видеотеатре многоканальной системы пространственного звучания. Но многоканальные системы с прямой передачей звуковых сигналов по каждому каналу слишком дороги даже для профессиональных применений. Поэтому применяются системы звуковоспроизведения, основанные на применении двух обычных стереофонических каналов с дополнительной передачей по ним пространственных (объемных) эффектов звуковоспроизведения.
К ставшим стандартными двухканальным системам объемного звучания принадлежит система Dolby Pro Logic Surround, разработанная известной своими пионерскими достижениями в области электроакустики фирмой Dolby Laboratories.
Система ориентирована на озвучивание домашних видеотеатров. Однако сейчас она широко применяется даже в обычных музыкальных центрах фирм Aiwa, Philips, Sony, Technics. Эта система преобразует двухканальное звуковоспроизведение в многоканальное и обеспечивает совместимость акустических трактов. Это значит, что видеофильмы с многоканальным воспроизведением можно просматривать в системе с обычным стереофоническим звуковым сопровождением (но не наоборот!).
Для реализации системы домашнего видеотеатра входящий в ее состав усилитель (отдельный или в составе телевизора или видеомагнитофона) должен быть оснащен специальным процессором Logic Suround, выполненным в виде микросхемы и превращающим исходную двухканальную систему фактически в трехканальную. На выходе матричного декодера появляются обычные стереофонические сигналы для левого и правого фронтальных громкоговорителей и монофонический сигнал для центрального громкоговорителя. Этот дополнительный центральный громкоговоритель устраняет провал в звуковом поле, который нередко наблюдается у обычных стереосистем, особенно если основные (фронтальные) колонки расставлены на значительном расстоянии друг от друга.
Две задние колонки обеспечивают неплохое воспроизведение звуков, идущих сбоку (в этом им помогают и основные колонки) и сзади. На эти колонки подается тот же центральный сигнал, но со сдвигом фазы на +90 градусов для левой и -90 градусов для правой колонок. Для этого в усилитель вводятся широкополосные фазовращатели и дополнительные оконечные каскады усиления мощности (их мощность обычно в 3-4 раза меньше мощности основных усилителей).
Если дополнительные колонки (центральная и задние боковые) отключены, по система дает самое обычное стереофоническое воспроизведение как обычных стереофонических программ, так и специально записанных программ. Обычные программы, записанные без спецэффектов, воспроизводятся системой также без искажений (по крайней мере теоретически). Но, разумеется, в этом случае эффекта локализации отдельных звуков в пространстве нет.
Так что, если у вас нет записей по системе Dolby Pro Logic, то приобретение комплекса с этой системой лишено практического смысла.
Можно согласиться с тем, что пять акустических систем в одной комнате явно многовато! Но, к счастью, ощущение пространственного расположения звука дают лишь средние и высокие частоты. Поэтому в дополнительных колонках нет особого смысла воспроизводить низкочастотные звуки с частотами ниже 100 Гц. Для воспроизведения других частот эти колонки могут иметь небольшие размеры, и проблемы с их размещением не столько связаны с ними самими, сколько с тянущимися к ним проводами. Хотя уже есть и беспроводные системы с активными колонками, но они пока дороги.
Система пространственного звучания THX является дальнейшим развитием рассмотренной выше системы Dolby Pro Logic Surrond. Это система будущего, поскольку она обеспечивает дальнейшее повышение качества пространственного звуковоспроизведения. Она создана фирмой Lucasfilm на базе профессиональных систем такого рода, применяемых в современных широкоэкранных кинотеатрах. Перенос профессиональной системы в быт позволяет получить качество звукового сопровождения, не уступающее тому, которое присуще новейшим кинотеатрам (увы, конечно, не тем, куда мы все реже и реже ходим).
Технически реализация системы THX выглядит заметно сложнее. Достаточно отметить, что для декодирования по этой системе приходится использовать два декодера Dolby Pro Logic и дополнительный декодер THX. Опуская дальнейшие, сугубо технические, подробности, отметим, что фактически в этой системе появляется еще один центральный канал и число примененных акустических колонок возрастает до шести.
В состав домашних видеотеатров входят сравнительно новые акустические устройства, впрочем, уже известные любителям аудиотехники - это сабвуферы (Sound Woofers), или мощные низкочастотные акустические колонки, создающие звуковые колебания большой интенсивности с частотами от 18-30 до 100-120 Гц. Последнее придает естественность звукам грома или пушечных выстрелов, звучанию больших барабанов и иных крупных инструментов, например, таких, как церковный орган.
Еще совсем недавно минимальная стоимость оборудования домашнего видеотеатра составляла 5-10 тысяч долларов. И применение домашнего видеотеатра в качестве средства ТСО было скорее редчайшим исключением, чем правилом. Но времена меняются и ныне комплект домашнего видеотеатра (все, кроме телевизора) можно приобрести всего за несколько сот долларов.
Примером такого дешевого и достаточно высококачественного домашнего видеотеатра является комплект DAV-S400 корпорации Sony. Внешний вид его представлен на рис. 5.49. Развертывание домашнего видеотеатра DAV-S400 не потребует специальных знаний для установки и подключения.

Рис. 5.49. Комплект для домашнего видеотеатры DAV-S400 корпорации Sony
Стильная и чрезвычайно компактная система Sony DAV-S400 способна воспроизводить диски DVD, CD, VideoCD, а также, в отличие от модели прошлого года, к ним добавлены диски Super Audio CD (в т.ч. многоканальные) и CD-R / CD-RW. Выходная мощность увеличена до 40 Вт на каждый из пяти каналов и 100 Вт на сабвуфер. Имеется встроенный радиоприемник FM/MW.
Система оснащена встроенными декодерами Dolby ProLogic, Dolby Digital и DTS с 5+1-канальным звуком. В комплект входят 5 акустических систем, сабвуфер, пульт дистанционного управления, комплект соединительных проводов и документация. Развертывание системы занимает от силы несколько минут.
Столь же элегантно и функционально выглядит комплект для домашнего видеотеатра компании Aiwa XR DV 701. Он представлен на рис. 5.50. Возможности этого комплекта аналогичны уже описанным.
Рис. 5.50. Комплект для домашнего видеотеатра компании Aiwa XR DV 701.Подобный набор становится стандартным для видеотеатров и выпускается в настоящее время многими фирмами. Это позволяет надеяться на быстрое распространение такой техники в быту.
Два класса микропроцессоров (CISC и RISC)
Микропроцессоры выпускаются двух классов:· CISC (Complex Inctruction Set Commands) – процессор с полным набором инструкций (команд);
· RISC (Reduced Inctruction Set Commands) – процессор с сокращенным набором инструкций.
Самые распространенные микропроцессоры Pentium относятся к категории CISC, хотя внутри и используют архитектурные решения RISC процессоров. RISC процессоры используются в ПК корпорации Apple, в серверах и рабочих станциях IBM и Sun Microsystems. Процессоры этого типа нередко применяются и в карманных компьютерах, поскольку они менее сложны технологически и потребляют меньше электрической энергии по сравнению с процессорами класса CISC. Особых преимуществ друг перед другом процессоры этих классов не имеют и развиваются параллельно.
DVD-драйвы
Теперь поговорим о новинке видеотехнологий – цифровых универсальных дисках DVD (Digital Versatile Disc). Для чтения этих новых дисков, внешне таких же, как CD-ROM, применяются полупроводниковые лазеры с меньшей длиной волны - 0,635-0,65 мкм. За счет этого удалось уменьшить диаметр сфокусированного луча до 0,5 мкм и обеспечить уверенное считывание информации с сузившихся информационных дорожек с повышенной плотностью питов. Все это позволило увеличить объем записанной информации даже на однослойном диске до 4,7 Гбайт.Укорочение длины волны лазера привело к тому, что для фокусировки потребовалось уменьшение вдвое толщины основы диска - до 0,6 мм. Однако такой диск оказался слишком тонким и ломким. Поэтому пришлось сверху основного диска «приклеить» еще один пустой диск. Так появились первые однослойные DVD-диски.
Конструкторы довольно быстро догадались, что второй диск можно сделать также с питами. При этом оба диска склеивались теми сторонами, на которых расположены питы. Так появились двухслойные диски с емкостью до 8,5 Гбайта. Для перехода от одного слоя к другому надо просто сместить лазерную головку примерно на 40 мкм именно настолько отстоят друг от друга поверхности с питами у двух информационных слоев.
Затем эта идея была развита дальше - появились диски с двумя информационными слоями на одной поверхности и даже с четырьмя на сдвоенных дисках. В последнем случае приходится использовать две лазерные головки, направляющие лучи на обе стороны диска. Емкость такого диска возрастает до 17 Гбайт.
Дисководы DVD стоят заметно дороже CD-ROM-драйвов. Современные дисководы DVD поддерживают воспроизведение звуковых, видео- и программных файлов большинства ранее известных форматов. Здесь уместно отметить, что DVD-драйвы выпускаются с разными настройками на разные зоны. Например, зона 1 - это США и Канада, зона 4 - Россия и страны СНГ, 6 – все зоны. Сейчас наиболее удобны мультизонные DVD. Выпуск таких дешевых дисков освоен в России, хотя и не всегда на законных основаниях.
Файловые системы
Операция форматирования наносит на диски систему магнитных меток. Эта операция реализована в операционных системах ПК. Информация на дисках хранится в виде файлов – наборов данных, имеющих определенную структуру, заголовок и признак конца. Заголовок файлов состоит из имени и расширения, указывающего на тип файла. Они разделяются точкой, например: let.txt – текстовый файл формата ASCII, let.doc – файл текстового редактора Word. Расширения .exe и .doc задаются исполняемым файлам, т. е. программам в машинных кодах, расширения .bas, .pas и т.д. – относятся к файлам языков программирования Бейсик, Паскаль и т.д.Каждый диск (как жесткий, так и гибкий) имеет системную загрузочную область и специальную таблицу FAT
(Files Allocation Table), в которую занесен порядок расположения файлов на диске и указаны названия файлов. Эта таблица - аналог библиотечному каталогу. Таких таблиц даже две – основная и резервная. Если основная таблица оказывается испорченной, она восстанавливается с помощью резервной таблицы.
Файлы на диске хранятся в виде отдельных блоков – кластеров (не путайте с кластерами ЭВМ). Размеры их зависят от типа файловой системы компьютера. Операционные системы MS-DOS и Windows 95 использовали операционную систему FAT16 (или просто FAT), которая отводила на адресацию кластеров 16 двоичных разрядов. Таким образом, число кластеров составляло 216=65536. Максимальный размер кластера составлял 32 Кбайта, а диска – 2 Гбайта.
Кластер задает минимальный объем памяти, отводимой под запись файла. Даже если информация в файле занимает всего несколько байт, кластер будет отведен под нее полностью. По этой причине реальная емкость дисков может оказаться заметно меньше расчетного значения. Уже у дисков с емкостью около 2 Гбайт может теряться до 30% их емкости.
Для устранения этого серьезного недостатка используется разбивка
одного диска на несколько логических дисков (разделов). Для этого используются специальные утилиты MS-DOS, и этот процесс подробно описан в старой литературе по компьютерам.
Обычно гибкие диски имеют имена A и B, а жесткий диск – C. Если он разбит на разделы, то появятся логические диски с именами D, E и т.д.
Уже во второй редакции Windows 95, а затем и в массовой Windows 98 появилась файловая система FAT32 с 32-разрядной таблицей размещения файлов. В ней 232
кластеров, а максимальный размер кластера 32 Кбайта. Это означает, что емкость жесткого диска может доходить до 2048 Гбайт или до 2 Тбайт. При реально используемой емкости жесткого диска до десятков гигабайт размер кластера уменьшается до 4 Кбайт. Это ведет к существенному уменьшению потерь дисковой памяти.
Иногда при записи даже небольшого файла Windows сообщает, что емкость диска исчерпана. Это часто связано с хранением так называемых временных файлов, которые создает как сама операционная система, так и некоторые прикладные программы. Одним из источников больших по размеру временных файлов является так называемая виртуальная память, широко используемая в операционных системах класса Windows.
По этим причинам в последнее время даже при использовании дисков с емкостью 5-40 Гбайт разбивка их на логические разделы часто не практикуется. Да и зачем она? Вы можете создавать на диске сколько хотите папок со своими именами и пользоваться ими для хранения своих файлов. Предоставьте Windows делать то, что она умеет – рационально распределять дисковое пространство.
Файлы, записанные на диск, могут занимать множество кластеров, причем они могут располагаться в самых разных местах диска. Ясно, что разрывный характер файла замедляет его считывание. Поэтому созданы специальные программы - дефрагментаторы, которые объединяют кластеры в одну цепочку и ускоряют считывание информации.
С кластерами связана еще одна проблема - они могут оказаться дефектными, например, из-за сбоя программы или отключения электропитания в момент, когда файл не успел полностью записаться на диск. Наконец, случается, что один и тот же кластер захватывается двумя файлами, что чревато потерей информации при модификации или стирании одного из файлов.Есть специальные программы, которые убирают дефектные кластеры и ликвидируют их сцепление.
Наконец, нельзя не упомянуть реестр файлов (registry), входящий в операционные системы класса Windows. Реестр – это специальным образом организованный каталог всех средств ПК – аппаратных и программных. Установка или удаление любого устройства или программного средства фиксируется в реестре. Реестр, как и файловая таблица, дублируется и восстанавливается при случайной порче. Существует специальная программная утилита – редактор реестра. Ее применение рекомендуется только опытным пользователям.
Факторы, приведшие к созданию ЭВМ
Переход общества от аграрной к индустриальной экономике привел к чудовищному росту объемов вычислительных работ в социальной и научно-технической сферах. Механические и электромеханические устройства имели слишком низкую скорость работы и малую надежность. Сильно досаждал и шум таких устройств.Между тем в начале ХХ века появились первые электронные лампы, скорость работы которых в тысячи раз превосходила скорость работы реле. Еще в 1913 году русский ученый Бонч-Бруевич первым соединил выход неинвертирующего входной сигнал нелинейного усилителя на двух электронных лампах с его входом. Тем самым он создал электронную систему с положительной обратной связью. Так появился ламповый триггер! Но в то время в роли запоминающего устройства триггер на больших вакуумных лампах еще не был затребован. Лампы были больше по размерам, чем реле, и куда их сложнее.
Тем не менее ламповая радиотехника и радиоэлектроника дали огромный толчок в развитии ЭВМ. Но случилось это далеко не сразу. В годы второй мировой войны лампы и устройства (схемы) на них уже широко применялись для связи и радиолокации. В быт входило радиовещание и телевидение - вначале черно-белое, а затем и цветное. Для радиоприемных устройств мощные и большие электронные лампы были не нужны, а потому появились миниатюрные пальчиковые и даже сверхминиатюрные электронные лампы.
Возникла и бурно развивалась импульсная техника, создающая и обрабатывающая импульсные сигналы, характерные для вычислительных устройств. Стало ясно, что необходимые для построения быстрых вычислительных машин цифровые и логические устройства можно построить на электронных лампах.
Война принесла многим народам неисчислимые беды и страдания. Но она же показала, что войскам воюющих сторон остро нужны высокоточные и высокоскоростные вычислительные устройства. Механические и электромеханические вычислители артиллерийских устройств не успевали следить за быстро пролетающими самолетами и даже за внезапно появляющимися из укрытия танками.
А прицельное бомбометание из быстро летящих самолетов было целым искусством. Так же, как и прицельная стрельба из быстро движущихся по неровной местности танков.
В итоге, на поражение единичной цели порой уходили сотни дорогих снарядов. Быстрые и мощные вычислители требовались для систем самонаведения артиллерийских снарядов, ракет и торпед на цель, для учета быстро изменяющейся обстановки на поле боя и планирования огромных по своим масштабам операций снабжения.
По окончании войны стало ясно, что такие устройства нужны и для мирных целей - прогноза погоды, выполнения все усложняющихся научных и экономических расчетов. Развитие атомной энергетики и создание различных видов ядерного оружия потребовали выполнения огромной работы по моделированию ядерных взрывов и работы ядерных реакторов. Не менее сложными оказались расчеты при проектировании аэрокосмических аппаратов, которое началось вскоре после войны (а в некоторых областях и раньше).
Формы адекватности информации
Обычно информация должна быть адекватна образу (объекту), который она описывает. Различают три формы адекватности информации:· синтаксическая, отражающая формально-структурные свойства информации без учета ее смыслового содержания
· семантическая (смысловая), отражающая смысл информации и позволяющая судить о соответствии информационного образа объекта и самим объектом;
· прагматическая (потребительская) ценность информации для тех целей, ради которых она используется.
Ниже мы рассмотрим эти формы и отвечающие им меры информации более подробно.
Гигагерцевая оптоэлектроника
Многоканальные световолоконные кабели ныне проложены между континентами, странами и городами. Они вместе с узлами (крупными компьютерными центрами) образуют распределенные сети национального и регионального значения и входят в состав глобальной сети Интернета. В последнее время более дешевые световолоконные кабели подводятся и к обычным жилым домам, что открывает возможности получения услуг скоростного Интернета.Уже давно ведутся исследования в области оптоэлектроники. Несомненен прогресс в создании световолоконных кабелей, передающих на дальние расстояния световые сигналы с частотами до 10 ГГц и выше. Но только с появлением СБИС и новейших микроэлектронных технологий появились возможности создания оптико-электронных интегральных микросхем, работающих с такими частотами.
Предел пропускной способности световолоконных линий связи теоретически составляет десятки Тбит/c. Однако реальная пропускная способность таких линий была на 4-5 порядков ниже и достигает 10 Гбит/с. Intel удалось создать транзисторы и СБИС терагерцевого диапазона (см. Главу 1) и разработать специальную технологию упаковки информации во много информационных каналов, передаваемых по одному световолокну.
Эта технология названа DWDM (Dense Wavelength Division Multiplexing – плотное мультимлексирование по длине волны). На большие расстояния удается передавать несколько каналов с пропускной способностью каждого 10 Гбит/c. Ожидается повышение ее до 40 Гбит/c с перспективой передачи по одному волокну триллиона бит в секунду. Это превосходит весь мировой трафик Интернета в настоящее время.
АРХИТЕКТУРА И УСТРОЙСТВО ПЕРСОНАЛЬНЫХ КОМПЬЮТЕРОВ
3.1. Зарождение индустрии персональных компьютеровГлавных вопросов
1. Что такое информация и какова ее роль?2. Как оценивается адекватность информации?
3. В каких единицах измеряется объем информации?
4. Какие виды чисел вы знаете?
5. Какими свойствами обладает синусоидальный сигнал?
6. Чем аналоговая информация отличается от цифровой?
7. Какие цифровые информационные устройства и системы вы знаете?
8. Что такое знания и информационная культура общества?
9. Приведите примеры информационных взрывов.
10. Расскажите об основных вехах в истории компьютеров.
1. Расскажите историю развития микропроцессоров до появления Pentium II корпорации Intel.
2. Каковы главные особенности нового поколения микропроцессоров класса Pentium II, III и 4 корпорации Intel?
3. Какие типы микропроцессоров Celeron вы знаете и в чем их особенности?
4. Какие новые команды введены в процессоры Pentium MMX, Pentium II и Pentium III?
5. Что нового реализовано в процессорах Pentium 4?
6. Каковы особенности микропроцессоров других фирм?
7. Какие узлы содержит микропроцессор и каковы их функции?
8. В чем основные особенности мобильных процессоров?
9. Какие особенности характерны для микропроцессоров карманных компьютеров?
10. Какие эмпирические законы относятся к развитию микропроцесоров и в чем их суть?
1. Назовите все виды сетей, которые вы знаете.
2. Какие вы знаете способы повышения скорости передачи данных через линии связи?
3. Как распространяется свет в световолокне?
4. Как устроены лазерные светоизлучающие диоды?
5. Какие структуры компьютерных сетей вы знаете?
6. Что такое инфракрасный порт и как он работает?
7. Для чего применяются модули Bloetooth?
8. Как организована работа сотовой радиотелефонной сети?
9. Как устроен сотовый телефон и какими он обладает возможностями?
10. Каковы особенности передачи информации в Интернете?
1. Какова связь между физическими параметрами звука и соответствующими им ощущениями?
2. Каковы основные принципы звукозаписи (магнитной и оптической) и их сравнительная помехозащищенность?
3. Каковы конструкция, устройство и приемы управления аппаратурой звукозаписи?
4. Какова связь между физическими параметрами оптического сигнала и соответствующими им ощущениями?
5. Какую аппаратуру экранной статической проекции вы знаете, каковы ее особенности и возможности, как рассчитать расстояние от проектора до экрана?
6. Какую аппаратуру экранно-звуковых средств обучения и воспитания вы знаете, каковы ее особенности и возможности?
7. Каковы основные принципы телевидения и видеозаписи, как правильно соединить видеомагнитофон и телевизор?
8. Каковы возможности и устройство современного мульти-медиапроектора?
9. Как устроены современные аналоговые и цифровые видеокамеры и цифровые фотоаппараты?
10. Как устроены современные цифровые фотоаппараты?
Головные телефоны - наушники
Иногда нужны малогабаритные устройства для прослушивания звуков. К ним относятся наушники, или головные телефоны. Два телефона, снабженные оголовьем, называются головными телефонами (наушниками). Принцип работы телефона аналогичен принципу работы громкоговорителя. Однако капсулы наушников представляют собой очень миниатюрные динамики, потребляющие малую мощность - порядка нескольких мВт.Поскольку наушники надеваются на уши, то при достаточно плотном контакте акустическое короткое замыкание отсутствует. Это, наряду с малой и тонкой мембранной позволяет получить очень высокое качество воспроизведения звука. Многие наушники имеют диапазон частот от 20 Гц до 20 кГц и даже выше, т.е. полностью охватывают диапазон частот звуковых колебаний. Индивидуальный характер прослушивания также имеет ряд положительных моментов - можно слушать музыку, не мешая окружающим.
Телефоны с металлической мембранной над электромагнитом, применяемые в старых телефонных трубках, имеющих металлический и дребезжащий звук, уже давно ушли в историю. По старинке они еще применяются в обычных телефонных аппаратах. Современные наушники обеспечивают высочайшее качество звучания. При этом наушники имеют весьма разнообразную конструкцию.
Стереофонические наушники классической конструкции (рис. 5.8) имеют два капсуля - головки и дугу, которая одевается на голову. Дуга надежно придавливает капсули к ушам, что способствует хорошему воспроизведению низких частот и подавлению внешних шумов. На капсули надевают пористую прокладку для защиты капсулей от пота - увы, но при жаркой погоде уши в таких наушниках могут запотевать.

Рис. 5.8. Наушники (головные телефоны) стандартной конструкции - Sony MDR 201TV
Еще один современный тип наушников имеет индивидуальные крепления на уши в виде загнутых лапок - рис. 5.9. У таких наушников давление на уши снижено и нет дуги, надеваемой на голову. Это особенно важно для женщин, у которых пышная прическа может препятствовать применению наушников стандартной конструкции - с дугой.Рис. 5.9. Наушники Sony MDRQ 33LPS с индивидуальным креплением на каждое ухо и сменными вкладками
Довольно распространены и сверхминиатюрные наушники, капсули которых вставляются прямо в ухо - рис. 5.10. Они крепятся в ухе за счет специальной формы капсулей, повторяющей профиль ушного отверстия. Есть телефоны со специальными резиновыми набалдашниками, или «воздушными мешками». Они нужны для предотвращения акустического короткого замыкания, возникающего при неплотном креплении наушника в ухе. К сожалению, наушники таких конструкций нередко все же выпадают из уха.Рис. 5.10. Миниатюрные наушники Sony MDRE 818LP, вставляемые в уши
Есть и ряд других типов головных телефонов, отличающихся типом крепления к ушам, размерами и техническими характеристиками. В частности, для особо высококачественного прослушивания применяются большие наушники, многие наушники имеют выносной пульт управления - нередко с регулятором громкости. Для сотовых телефонов и персональных мультимедийных компьютеров выпускают гарнитуры - головные телефоны с пристроенным к ним микрофоном на специальном рычаге. Некоторые телефоны имеют пультик управления с регулятором громкости.
Графический манипулятор – мышь
Работа с современным компьютером стала просто немыслимой без применения графического манипулятора того или иного типа. Это второе по значимости устройство ввода и управления компьютером после клавиатуры. Отчасти это связано с повсеместным применением в современных программах графических меню и иных средств графического интерфейса, например кнопок, полос прокрутки, выпадающих списков, линейчатых регуляторов и т.д.Применяются следующие типы графических манипуляторов:
мышь – общеизвестный обычно внешний графический манипулятор;
трэкбол – как бы перевернутая мышь;
тоучпад – графический манипулятор на основе сенсорной панели;
мини-джойстик, или трэкпоинт – манипулятор в виде миниатюрной рукоятки с кнопками пуска;
световой карандаш – манипулятор в форме карандаша;
сенсорный дисплей – манипулятор в виде сенсорной панели и пассивного «пера» - палочки.
Мышь – самый распространенный графический манипулятор. Он используется как внешнее устройство, подключаемое к ноутбуку через последовательный порт RS-232, порт PS/2 или USB. Механическая мышь (рис. 3.21) имеет обрезиненный шарик, который катается по поверхности стола (лучше по поверхности специального коврика) и вращает два валика, угол поворота которых преобразуется в коды, поступающие в компьютер. Мышь имеет также 1-3 управляющие кнопки.

Рис. 3.21. Устройство механической мыши
Существуют и оптические мыши, у которых обрезиненный шарик отсутствует, а перемещения фиксирует фотодиод. Оптическая мышь очень практична, поскольку не требует чистки и механической настройки. Мыши могут быть однокнопочные (в ПК фирмы Apple), двух- и трехкнопочные, а также мыши с колесиком для плавной прокрутки документов. Уже появились и беспроводные мыши, соединяемые с ПК каналом радио- или инфракрасной световой связи. Мыши обслуживаются своим драйвером.
Громкоговорители и акустические системы
Громкоговорителемназывается устройство, предназначенное для громкого воспроизведения звука. Наиболее распространены электродинамические головки прямого излучения (рис 5.7). Принцип работы головки основан на явлении перемещения проводника с током, помещенного в магнитное поле. При протекании тока по звуковой катушке 6, находящейся в магнитном поле, катушка перемещается, увлекая за собой диффузор 1. Если на звуковую катушку подается напряжение с усилителя, то колебания диффузора будут создавать звуковые волны, соответствующие воспроизводимому звуку.
Рис. 5.7. Устройство (а) и условное графическое обозначение (б) электродинамической головки прямого излучения
Звуковая катушка, диффузор и центрирующая шайба 4 образуют подвижную систему головки. Катушка расположена в зазоре магнитной цепи, состоящей из постоянного магнита 9, верхнего 10 и нижнего 7 фланцев и керна 8. Катушка перемещается строго вдоль зазора. Со стороны катушки в диффузор вклеен пылезащитный колпачок 3 (особенно опасны небольшие частицы магнитного материала, которые могут притянуться магнитным полем и нарушить работу громкоговорителя).
Диффузор представляет собой конус с гофрированным основанием. Гофр 11 обеспечивает смещение диффузора вдоль оси головки в обоих направлениях. Диффузор крепится к диффузородержателю 5, являющемуся основанием головки и обеспечивающему необходимую жесткость всей конструкции.
Чем больше размеры диффузора, тем эффективнее он передает низшие частоты, но плохо излучает высшие частоты звукового диапазона. Главной причиной этого является акустическое «короткое замыкание». Например, если диффузор движется вперед, то спереди его создается зона повышенного давления воздуха, а сзади – зона разрежения. Воздух спереди диффузора легко перетекает в пространство сзади диффузора. В итоге медленные (низкочастотные) колебания диффузора создают слабые низкочастотные звуки. Для исключения этого явления динамик надо помещать в ящик больших размеров и делать диффузор большим.
Для эффективного излучения высших частот необходимы малые размеры и масса подвижной системы. Совместить эти противоречивые требования в одной конструкции трудно, поэтому в звуковоспроизводящих системах высокого класса используются раздельные головки для воспроизведения низших, средних и высших частот. В более дешевых и простых системах используются две (высокочастотная и низкочастотная головки). Для улучшения воспроизведения высших частот головки часто снабжают дополнительным диффузором 2. Пример создания звуковых колонок с раздельным усилением низких и средних (большой динамик) и высоких (малый динамик) частот показан на рис. 5.3.
Акустическая система представляет собой один или несколько громкоговорителей, размещенных в ящике или имеющих то или иное акустическое оформление. Обратите внимание на отверстие снизу звуковых колонок рис. 5.3. Это отверстие так называемого фазоинвертора. Звуковые колебания спереди и сзади диффузора находятся в противофазе и потому гасят друг друга. Однако в корпусе больших размеров выходящие из отверстия звуки смещены по фазе. При правильном выборе пути звука от задней стороны динамика можно получить сдвиг по фазе, близкий к 180°, и добиться, что на низких частотах колебания передней и задней поверхностей диффузора будут сфазированы. Таким образом, фазоинвертор повышает отдачу колонок на низких частотах.
Существует еще один тип звуковых колонок с наглухо закрытыми ящиками. Однако в таком ящике возникают резонансные явления, что порой портит звук больше, чем снижение отдачи динамиков на низких частотах. Для снижения резонанса ящик заполняют поглощающим звуки веществом, например пенопластом.
Информация и ее роль в человеческом обществе
Информация относится к классу первичных понятий, по которым нельзя дать точного определения. Под ней обычно подразумевают некоторую совокупность сведений, позволяющих расширить наши представления о тех или иных объектах и явлениях окружающего нас мира, их взаимодействии и состоянии.Люди издавна научились ценить и передавать информацию. Присущий нам от природы мозг не только способен хранить огромные объемы информации, но и перерабатывать
ее и делать из этого определенные выводы. Однако мозг не может долго хранить информацию, она забывается и со смертью человека вообще теряется.
Человек имеет целый ряд органов для приема и передачи информации. Это органы зрения (глаза) и слуха (уши), а также голосовые связки и средства мимики. Благодаря этому человек способен принимать звуковую и зрительную информацию и передавать ее. Восприятие температуры кожей и запаха носом тоже способствует информационному обмену человека с окружающей средой и с особями своего (и не только) рода. Таким образом, человек изначально имел средства приема и передачи информации.
Уже первобытные люди обладали зачатками мышления и сознания. Многие миллионы лет тому назад они уже умели общаться жестами и криками, могли использовать простейшие орудия труда, такие, как камни и палки. Стремление освободить руки для их свободного применения привело к тому, что человек стал прямоходящим существом. В свою очередь, это освободило рот от удерживания предметов, таких, как кости, палки, не съеденные остатки пищи.
Это, как и увеличение информационного обмена между людьми привело к возникновению речи – этой уникальной возможности людей, которой, в столь развитой форме, не обладают другие объекты живой природы. Считается, что речь возникла примерно миллион лет тому назад.
Мозг человека способен ограниченное время хранить информацию, т.е. в информационной системе природа-человек он служит как бы оперативным запоминающим устройством. Первые попытки людей сохранить информацию дошли до наших дней в виде наскальных рисунков, а затем и надписей (рис. 1.1).
Это случилось по крайней мере тридцать тысяч лет тому назад. Тем самым появились первые рукотворные средства долговременного
хранения информации. Рис. 1.1. Каменная плитка показывает, что древним людям были известны матрицы – прямоугольные таблицы с числами
Позже люди научились представлять и передавать информацию на большие расстояния с помощью костров на сопках, специальных сигналов (пример – сигнальщики на кораблях), с помощью звуков барабанов и бамбуковых труб, световых маяков и т.д. Таким образом, они стали использовать внешние средства
для информационного обмена. Основы кодирования информации были давно заложены азбукой Морзе, кодами сигнальщиков и тайнописью.
Затем уже появилась письменность и средства механической передачи записанной информации - почта. Намного позже, уже в наши дни, на смену гонцам и обычной почте пришли современные средства телекоммуникаций - от мобильного телефона и факса до спутниковой связи и всемирной компьютерной сети Интернета.
Информация и живая природа
Информация, как материя и энергия, является краеугольным камнем мира и окружающей природы, прежде всего живой. Характерным признаком живых организмов стала возможность восприятия ими информации об окружающей их среде, переработки этой информации и способности делать из нее выводы, важные для дальнейшего их поведения.Открытие генов – единиц наследственной информации - произвело подлинную сенсацию и выдвинуло информационные процессы на роль первичных в развитии жизни. Открыто множество генов, которые как бы программируют рост, вес и окраску живых существ, предрасположенность их к тем или иным заболеваниям и т.д. Создание генной инженерии сделало возможным клонирование, т.е. размножение идентичных особей животных и даже людей.
Информационная модель человека
Информационная модель человека (рис.1.6) содержит все элементы, реализующие основные функции работы с информацией, а именно: прием, передачу, обработку и хранение информации. Ее рассмотрение позволяет выявить слабые и сильные стороны технических средств получения, обработки и представления информации.
Рис. 1.6. Информационная модель человека
Устройство ввода информации УВв представлено органами чувств, обработка информации происходит в устройстве обработки информации УОИ, ее запоминание - в запоминающем устройстве ЗУ, состоящем из кратковременной КП и долговременной ДП памяти, вывод информации реализует устройство вывода УВыв, а координацию всех информационных процессов осуществляет устройство управления УУ.
Поскольку человек является весьма сложной системой, практически очень трудно четко разделить функции отдельных элементов информационной модели. Однако можно отметить, что обработку информации, ее запоминание и координацию информационных процессов осуществляют мозг и центральная нервная система, они участвуют также в большей или меньшей степени в процессах обмена информацией с окружающей средой.
Органы чувств УВв отличаются физической природой принимаемого сигнала, способом его кодирования и неравноценны в информационном отношении. Большую часть информации человек получает по зрительному (примерно 90%) и слуховому (примерно 9%) каналам, и только 1% принимаемой информации приходится на остальные органы чувств (осязание, обоняние, вкус), поэтому основное внимание при рассмотрении каналов приема информации будет уделено первым двум.
Возможности человека в части вывода информации зависят от того, кому передается информация. При передаче информации другому человеку используются языковые (речь и письмо) и графические (изобразительное искусство, техническая графика и т.п.) средства. Если информация передается техническому устройству, например при управлении, то используются органы управления, представляющие собой обычно тактильные устройства, например клавиатуры.
Память человека хранит все его знания и характеризуется психофизиологическими процессами запоминания, сохранения и воспроизведения информации. Кратковременная память КП характеризуется небольшим временем хранения и объемом хранимой информации. В долговременной памяти ДП информация сохраняется длительное время и предполагает способность человека вспомнить (перенести из долговременной в кратковременную память) хранящуюся там информацию с целью ее использования.
Объем запоминаемой информации зависит от способа кодирования, т.е. канала ее приема (зрение, слух, другие органы чувств). Более эффективным с точки зрения количества запоминаемой информации является зрительный анализатор, позволяющий сохранить до 25%, затем следует слуховой - до 15% воспринимаемой информации. Приведенные данные весьма приблизительны, так как сложные психофизиологические процессы, происходящие в памяти, определяются потребностью и готовностью к приему информации (восприятию) и характеризуются уровнем знаний, установкой, уровнем внимания, эмоциональным состоянием человека.
Однако максимальное количество принимаемой информации воспринимается человеком при одновременном (комбинированном) воздействии на его органы чувств, так в случае одновременного воздействия на зрение и слух воспринимается до 65% переданной информации. На это обратил внимание К. Д. Ушинский: «Педагог, желающий что-нибудь прочно запечатлеть в детской памяти, должен заботиться о том, чтобы как можно больше органов чувств - глаз, ухо, чувства мускульных движений и даже, если это возможно, обоняние и вкус, приняли участие в акте запоминания. Чем больше органов наших чувств принимает участие в восприятии какого-либо впечатления или группы впечатлений, тем прочнее ложатся эти впечатления в нашу механическую нервную память, вернее сохраняются ею и легче потом вспоминаются».
Способность человеческой памяти хранить огромные объемы информации объясняется особой организацией ее хранения, которая не может быть сведена к механическому запоминанию получаемой извне информации.
Эта информация, будучи информацией первого (низшего) уровня, служит материалом для формирования в результате сложных мыслительных процессов связей (отношений) между явлениями и предметами, т.е. классификации; формирования образов, понятий, создания структурированной информации второго (высшего) уровня, т.е. знаний. Именно на этом уровне хранится информация в памяти человека, именно этим объясняется ее большой объем и эффективность ее использования при весьма скромных возможностях в части объема памяти и ее быстродействия.
Обработка человеком получаемой информации является функцией мозга и лежит в основе процессов мышления.
Рассмотрим подробнее, что именно представляется в виде данных и результатов их обработки человеком.
Первой функцией УОИ представляется формирование на основе получаемой извне информации знаний, т.е. усвоение некоторой кодирующей системы, позволяющей рационально хранить и эффективно использовать информацию. Вторая функция УОИ относится к использованию знаний, обработке на основе имеющихся знаний получаемой извне информации.
В заключение рассмотрения информационной модели человека приведем ее основные характеристики:
· скорость передачи информации по каналам ввода – вывода - 30 бит/сек;
· максимальное количество информации, накапливаемое к 50 годам, - 10 Мбит;
· число мысленных сравнений в 1 сек в процессе интеллектуальной деятельности - 18;
· число адресов, которые можно одновременно хранить в краткосрочной памяти, - 7;
· время доступа к адресуемому фрагменту информации в краткосрочной памяти - 2 сек;
· скорость передачи данных из долговременной памяти в кратковременную для последовательности двоичных символов фрагмента - 3 эл./сек;
· количество воспринимаемых глазом цветовых оттенков - около 10 миллионов.
Характеристики человеческого мозга, особенно в части скорости обработки информации, значительно уступают возможностям современных ЭВМ, но мыслительные процессы основаны на иных принципах, которые мы называем творческими, позволяющих более эффективно, чем ЭВМ, решать задачи творческого характера, несмотря на малое быстродействие и небольшой объем памяти.
Информационная модель процесса обучения

Сущность интеллектуальной деятельности человека заключается в приобретении и использовании знаний. Знания, умения и навыки формируются в процессе обучения, который может быть представлен в виде информационной модели (рис. 1.7), учитывающей двустороннее информационное взаимодействие учащихся, преподавателя и информационной среды обучения (ИСО) и позволяющей рассмотреть учебно-познавательную деятельность учащихся и обучающую деятельность преподавателя.
Рис. 1.7. Информационная модель обучения
Учебно-организаторская деятельность преподавателя реализуется в информационных потоках ИП1, а его контролирующая деятельность - в потоках ИП2. Эти же потоки составляют основу учебно-познавательной деятельности учащихся. Непосредственное информационное взаимодействие преподавателя и учащихся представляет собой исторически первую и наиболее эффективную на сегодня модель процесса обучения.
С появлением письменности и грамотности появились первые представители ИСО - учебники, существенно изменившие характер учебного процесса, а появление и совершенствование различных видов технических средств обучения, формирующих ИСО, все более усиливает их роль в учебном процессе.
ИП3
обеспечивают передачу информации от ИСО к учащимся и реализуют функции управления процессом обучения, возложенного на ИСО.
ИП4
осуществляют обратную связь, заключающуюся в автоматизированном или автоматическом контроле знаний учащихся.
С появлением первых элементов ИСО возникла проблема их эффективного применения, т.е. рационального сочетания информационных потоков, связывающих учителя и учеников и ИСО. Естественно, что по мере развития и совершенствования ИСО актуальность этой проблемы только усиливается.
ИП5 отражают взаимодействие преподавателя с ИСО, обеспечивая выбор преподавателем элементов информационной среды, подбор требуемого дидактического материала (на этапе подготовки урока) и обеспечения функции управления элементами информационной среды (на занятиях).
ИП6
осуществляет обратную связь в системе «преподаватель - ИСО».
По этому каналу преподаватель получает справочную информацию о возможностях ИСО (на этапе подготовки урока) и информацию о ходе и результатах (индивидуальных и обобщенных) обучения.
В процессе обучения используются все указанные на рис. 1.7 информационные потоки или любая их комбинация. Организаторская сторона деятельности преподавателя как раз и заключается в рациональном выборе используемых для решения конкретной учебной задачи информационных потоков и конфигурации ИСО.
ИСО содержит весь арсенал ТСО, включая средства вычислительной техники, и только хорошо знакомый с возможностями и особенностями каждого вида ТСО и их комплексов преподаватель может в полной мере реализовать их возможности.
Функции современной ИСО не ограничиваются хранением информации и организацией ее потоков. По мере развития и совершенствования ИСО, а особенно благодаря появлению в ее составе средств вычислительной техники, ИСО принимает на себя функцию управления процессом обучения, свойственную ранее только учителю. Это управление может осуществляться на основе модели обучения каждого ученика, формируемой ЭВМ и отражающей уровень знаний ученика и психологические особенности его личности.
Весьма интересным представляется вопрос о соотношении информационных потоков информационной модели. Очевидно, что по мере совершенствования и развития ИСО информационные потоки, связывающие ИСО и учеников, будут усиливаться, значительную часть работы по управлению учебным процессом и организации информационных потоков будет выполнять ИСО, освобождая учителя, от рутинной части его работы. В этих условиях существенно изменяется и становится более ответственной роль учителя, который должен принимать решения на более высоком уровне, он будет иметь больше времени для воспитания, управления воспитанием и обучением учеников, для индивидуальной работы с ними.
Информационная модель (рис. 1.7) учитывает самые существенные в обучении информационные связи, однако она не может отразить всего множества информационных воздействий, в различной степени влияющих на формирование комплекса знаний ученика и его личности.
Среди этих информационных воздействий нужно выделить средства массовой информации и информационные связи между учениками.
Средства массовой информации, представленные печатной продукцией (газеты и журналы), телевидением и радио, часто сообщают об интересных фактах и событиях, являясь, таким образом, источником новых знаний; их воспитательную роль также трудно переоценить.
Информационные связи между учениками служат основой организации коллективных форм обучения, развивая у учеников навыки общения и коллективного творчества. Здесь нельзя не отметить важную роль мобильных телефонов, роль которых в обучении пока намного меньше их роли в общественной и личной жизни.
Информационные революции
Обычно информация накапливается довольно медленно. Однако в некоторые периоды истории, часто связанные с крупными открытиями и техническими достижениями, объем информации начинает лавинообразно нарастать. При этом информация оказывает на жизнь людей столь большое значение, что происходит информационная революция – коренное изменение в значимости и технологии использования информации, оказывающих большое влияние на жизнь общества и экономику мира. Считается, что человеческое общество пережило четыре информационные революции:1. Появление письменности как средства представления и долговременного хранения информации.
2. Появление книгоиздания в середине XIV века, позволившего в массовых масштабах тиражировать информацию и знания.
3. Применение электричества и радиоволн в конце XIX века для передачи информации на дальние расстояния, что привело к появлению средств телекоммуникаций, таких, как телеграф, телефон, радио и телевидение.
4. Создание микропроцессоров и разработка персональных компьютеров, открывших возможности эффективной работы с информацией, представленной в цифровой форме, в том числе в Интернете.
Были революции и масштабом поменьше, например, связанные с изобретением фотографии и кинематографа. Но они повлияли на нашу жизнь все же не столь кардинальным образом, как указанные выше информационные революции.
Информационный взрыв
Для создания крупных заводов или технических объектов (например, морских судов, самолетов, космических кораблей, военных средств и т.д.) требовались огромные объемы знаний. Это привело к невиданному ранее расцвету науки и техники. Ученые подметили характерную для этого времени (примерно два последних столетия) зависимость – за некоторый промежуток времени объем информации возрос в некоторое число раз. При этом этот промежуток время от времени сокращался.К примеру, к 1900 году объем знаний удваивался за 50 лет, к 1950 году за 10 лет, к 1970 году за 5 лет, к 1990 году - уже за каждый год, а в наше время еще быстрее. Такой лавинообразный процесс характерен и для химической реакции – взрыва. Потому и стали говорить об информационном взрыве.
Постепенно все большее число членов общества (людей) из сферы материального производства и распределения товаров и услуг стало переходить в сферу накопления, обработки и анализа информации. Основным устройством накопления, хранения и быстрой обработки информации стали компьютеры. Казалось бы, совсем недавно – в конце 40-х годов двадцатого века - появились первые электронные вычислительные машины (ЭВМ). А персональные компьютеры (ПК) появились совсем недавно – в начале 80-х годов. Но уже в апреле 2002 года число компьютеров во всем мире превысило магический рубеж в 1 миллиард! Это значит, что уже многие миллиарды людей имеют дело с ними.
Мир покрылся сетью проводных, радио- и световолоконных линий связи. Сотовые телефоны позволили людям носить их с собой и пользоваться в любом месте, куда проникают радиоволны. Появились переносные компьютеры (ноутбуки) и даже карманные персональные компьютеры (КПК), по вычислительной мощности намного превосходящие 30-тонную громадину «ЭНИАК» и весящие меньше 200 граммов. Вместо десятков киловатт электроэнергии они потребляет от автономного аккумулятора доли Ватта. Таковы зримые достижения новых информационных технологий.
Информатизация и этапы развития общества
Многие века общество было аграрным. Главное развитие в нем получило сельское хозяйство, направленное на удовлетворение людей в обычной пище и одежде. Но уже тогда люди стремились освоить приемы вычислений, порой достаточно сложных. Получила развитие, например, геометрия и стереометрия – эти области математики требовались для раздела земельных участков, учета их площади и т. д., нередко с учетом шарообразности Земли. Бурное развитие получила астрономия, поскольку законы движения Земли вели к смене климата, влияли на урожайность сельскохозяйственных культур.Затем наступил этап индустриализации, характеризующийся бурным развитием техники и созданием крупной промышленной индустрии. Благодаря этому резко возросла производительность людей в сфере производства товаров массового потребления – той же еды, одежды, технических товаров и т.д. Потребовались знания во многих разделах математики, стало развиваться, например, математическое моделирование, возникла необходимость существенного расширения знаний в области математической физики, механики, электро- и радиотехники, биологии и космоса
Триумфом этого этапа развития общества стало освоение атомной и термоядерной энергии и покорение космоса. Навеки в историю вошли такие замечательные достижения, как полет первого человека в космос (СССР) и высадка людей на Луну (США).
Постепенно экономика стала распределительной, поскольку требовалось решать огромные по масштабам задачи распределения материальных и прочих ценностей, производимых на локальных объектах (заводах, фабриках и прочих предприятиях) по всему миру. Это породило необходимость в специальных знаниях по планированию объемов продукции (линейное программирование), по планированию оптимальных маршрутов для потоков товаров (теория оптимизации и теория графов) и т.д. и т.п.
Интегральные микросхемы
Набор активных и пассивных компонентов образует электронное устройство. Это может быть усилитель электрических сигналов, ключ, логическое устройство, триггер, ячейка памяти и т.д. Соединения между элементами описываются электрической или принципиальной схемой. Однако уже давно смысл слова «схема» изменился – им уже называют реальное устройство.Вскоре после изобретения транзистора появились миниатюрные интегральные схемы (микросхемы), в которых на одной пластине (подложке или чипе) стали размещаться вначале несколько десятков, а затем сотен, тысяч и даже миллионов транзисторов, вместе с другими сопутствующими компонентами электронных схем, такими, как диоды, резисторы, конденсаторы и т.д.
Основные элементы схем единовременно формируются путем диффузии различных примесей в глубь поверхности полупроводника – чистейшего кремния и операций напыления проводящих слоев. Число слоев в этаком «пироге» может достигать десятков. Групповая технология изготовления различных элементов и высочайшая культура производства позволяют получить высокую надежность интегральных микросхем.
Важным геометрическим параметром БИС является их разрешающая способность. Она означает минимальный геометрический размер элементов микросхемы на ее поверхности. Размеры по глубине могут быть намного меньше. Так, если мы говорим о технологии 0,13 мкм, это означает, что минимальная ширина проводника или какой-либо области транзисторов составляет 0,13 мкм. Это в сотни раз меньше толщины человеческого волоса!
Число операций при изготовлении микропроцессоров фирмы Intel превышает 300. Сама схема имеет микроскопические размеры компонентов и потому и называется микросхемой. Диаметр диска с множеством микросхем доходит до 300 мм (рис. 1.13).Рис. 1.13. Вид кремниевого диска с будущими микросхемами на нем (одна выделена)
Далее все определяет искусство создания электронных схем. Ныне даже простенький микропроцессор для стиральных машин или холодильников содержит сотни тысяч таких транзисторов, объединенных в некоторую очень сложную схему. Их число в одной БИС достигает уже десятков миллионов. Потому такую интегральную схему называют большой (БИС) или даже сверхбольшой (СБИС).
Полученные микросхемы подвергаются тщательному тестированию и неисправные микросхемы помечаются. Затем диск разрезается, неисправные микросхемы выбрасываются, а исправные помещаются в корпуса самого разного вида (рис. 1.14) и снова тестируются.Рис. 1.14. Корпуса некоторых СБИС - микропроцессоров
Корпус современных БИС и СБИС - это очень сложное устройство: число выводов у микропроцессоров составляет несколько сотен и корпус должен предусматривать легкий доступ к ним, например припайку соединительных проводов или размещение микросхем в специальных колодках.
Интерфейсы дисковых накопителей
Для подключения накопителей используются дисковые интерфейсы- совокупность аппаратных и программных средств, обеспечивающих общение накопителей с прочими узлами ПК и пользователем. В ПК умеренной стоимости используются следующие типы интерфейсов:
· IDE (Integrated Drive Electronics) – устаревший интерфейс жестких дисков фирмы Western Digital с последовательной (бит за битом) передачей данных, позволяющий подключать 2 жестких диска с емкостью до 528 Мбайт каждый.
· ESDI (Enhanced Small Device System) - улучшенный интерфейс для малых систем.
· ATA (AT Attrachment) - 16-разрядный интерфейс IDE для ПК класса AT, предложенный фирмами CDC, Compaq, Western Digital и др.
· Fast ATA - современный быстрый интерфейс, поддерживающий логический блочный доступ (Logical Block Address - LBA) без ограничения в 528 Мбайт. Предложен фирмой Seagate.
· EIDE (Enhanced IDE) – как и Fast ATA поддерживает до 4 устройств с емкостью более 528 Мбайт, моды 0 – 4 и режим LBA. Предложен фирмой Western Gigital. Самый распространенный интерфейс современных домашних и офисных ПК.
Профессиональные интерфейсы SCSI, SCSI-2 и SCSI-3 применяются в относительно дорогих и мощных ПК, таких, как серверы локальных сетей. Мы их не рассматриваем.
Интернет-экономика и цифровая вселенная
Ныне глобальная мировая компьютерная сеть Интернета стала доступной практически в любой точке земли. Она смела государственные и национальные барьеры в распространении информации и обеспечила людям доступ к огромному океану информации. Трудно переоценить роль Интернета в общении людей в самых разных странах мира. Сейчас в Интернет можно выйти не только из дому с помощью настольного ПК, но и из почти любого места с помощью карманного персонального компьютера с беспроводным каналом связи или с помощью сотового телефона.Оформление документов, работа (особенно в высокоинтеллектуальных сферах, таких, как журналистика, художественная графика, писательское дело и т.д.) и просто получение знаний все чаще и чаще выполняется с помощью Интернета. Стали говорить о вступлении мира в этап Интернет-экономики. Объем трансакций (проводок денежных средств) уже достигает ежегодно многих миллиардов долларов и постоянно растет.
А развитие цифровых методов обработки информации позволило вести речь о «цифровом мире» и даже о «цифровой Вселенной». Последний термин был введен крупнейшей микроэлектронной корпорацией мира Intel. Цифровая вселенная означает применение цифровых методов хранения и обработки информации во всех сферах человеческой деятельности.
История микропроцессоров Intel от до ItaniumÄ
Чтобы понять многие особенности современных микропроцессоров и компьютеров, нужно рассмотреть историю создания микропроцессоров. Это связано с тем, что новейшие процессоры должны поддерживать все возможности старых процессоров, т. е. должна обеспечиваться аппаратная и программная совместимость сверху вниз. История создания микропроцессоров очень поучительна.1971 год: микропроцессор 4004
До появления микропроцессора 4004 все микросхемы имели конкретное и довольно узкое назначение, например, логические элементы, переключатели или устройства памяти. Первый микропроцессор корпорации Intel 4004 стал поистине революционным изобретением: он представлял собой устройство, функциональные возможности которого могли меняться программным путем в широчайших пределах. Поэтому один микропроцессор мог заменить множество различных микросхем.
Новая микросхема была 4-разрядной и содержала 2200 транзисторов. На ее кристалле в хороший оптический микроскоп можно было рассмотреть отдельные детали – проводники, некоторые диоды и транзисторы. Процессор 4004 имел простейшее арифметико-логическое устройство (АЛУ), регистры и порты ввода/вывода, зачатки блока управления памятью. Он мог выполнять только целочисленные операции и работал на частоте всего 108 КГц.
1972 год: микропроцессор 8008
Вычислительная мощь процессора 8008, по сравнению с его предшественником, возросла вдвое - частота 200 КГц. Дон Ланкастер применил процессор 8008 в разработке прототипа персонального компьютера — устройства, которое служило терминалом ввода-вывода.
1974 год: микропроцессор 8080
Этот процессор с частотой 2 МГц стал основой первого компьютера «Альтаир», напоминающего отдаленно персональный компьютер. Десятки тысяч экземпляров комплекта для самостоятельной сборки «Альтаира» разошлись за несколько месяцев.
1978 год: микропроцессоры 8086
16-разрядный микропроцессор 8086 объединял в себе три важнейших устройства ЭВМ:
· арифметико-логическое устройство (АЛУ), выполняющее арифметические и логические операции,
· блок управления, осуществляющий согласованное управление различными узлами микро-ЭВМ, построенной на базе микропроцессора,
· блок ввода/вывода, осуществляющий управление портами ввода/вывода.
8086 мог прямо адресоваться всего к 216=65536 ячейкам памяти, что было явно недостаточно. Тогда конструкторы процессора предложили оригинальный ход: задавать адрес двумя 16-разрядными числами. Специальная комбинация их позволяла с помощью 20-разрядной шины адресов задавать 65536 сегментов памяти и относительный сдвиг адреса для выбранного сегмента. В результате стала возможной адресация до 1 048 576 ячеек памяти (или 1 Мбайта). На деле из мегабайта адресуемой памяти можно было использовать только 640 Кбайт – это была основная память ПК. Но этот несовершенный механизм адресации памяти пришлось сохранять в последующих микропроцессорах.
Процессор 8086 мог работать с частотами 5, 8 и 10 МГц. С целбю ускорения математических расчетов для этого процессора был создан математический сопроцессор 8087, резко повысивший скорость математических расчетов.
1979 год: микропроцессоры 8088
Возможности микропроцессора 8086 оказались избыточными для применений конца семидесятых годов. Так, подавляющее большинство периферийных устройств тех времен были 8-разрядными. Поэтому в 1979 году фирма Intel разработала и выпустила новый микропроцессор 8088, ставший упрощенным вариантом 8086 с восьмиразрядной шиной данных.
Именно микропроцессоры 8088 выбрала IBM для своих массовых ПК IBM PC XT. Они оказались самыми подходящими для ПК начала 80-х годов и поставлялись фирмой Advanced Micro Devices (AMD), вначале тесно сотрудничавшей с Intel. Частоты процессора составляли 5 и 8 МГц.
1982 год: процессоры 80186 и 80188
В 1982 году фирма Intel выпустила усовершенствованные микропроцессоры 80186 и 80188. Они сохранили архитектуру микропроцессоров 8086 и 8088, но имели ряд усовершенствований.
Из них основные - это встроенный контроллер прямого доступа к памяти (DMA) и счетчик/таймер. Эти процессоры широко применялись в контроллерах периферийных устройств и в некоторых ПК.
1982 год: микропроцессор 286
В процессоре 286 (80286) к устройствам ввода/вывода, АЛУ и блоку управления добавилось новое устройство - блок управления памятью с объемом до 16 Мбайт. Этот микропроцессор мог работать в двух различных режимах работы - реальном и защищенном. В реальном режиме он имитировал работу микропроцессора 8086. При этом доступный для адресации объем памяти составлял, как и прежде, всего 640 Кбайт. В защищенном режиме 286-ой понимал команды доступа к памяти с объемом до 16 Мбайт. Но память при этом по-прежнему делилась на сегменты (страницы) с размером 64 Кбайта.
Частота работы микропроцессора 286 была повышена до 10 МГц, а в его последующих модификациях – даже до 20-25 МГц. Этот микропроцессор был избран фирмой IBM для ее очередной удачной модели IBM PC AT. Для микропроцессора 286 был создан математический сопроцессор 287.
1985 год: микропроцессор Intel 386™
Микропроцессор Intel 386™ насчитывал уже 275 000 транзисторов. Это был 32-разрядный процессор с возможностью одновременного выполнения нескольких программ. Он содержал: АЛУ, блок шинного интерфейса и блок управления памятью, включающий блок сегментации памяти и блок подкачки страниц. Каждая страница памяти могла быть разбита на сегменты по 4 Кбайта. Блок подкачки страниц обеспечивал управление памятью с объемом до 4 Гбайт (1 Гбайт - это 1024 Мбайтов), т.е. барьер в 640 Кбайт был превзойден, причем очень сильно.
Микропроцессор 386 мог работать в многозадачном режиме, при котором компьютер выполнял одновременно несколько задач. Он также мог осуществить работу с так называемой виртуальной (кажущейся) памятью. При ее применении у пользователя создается впечатление, что он работает с памятью большего размера, чем это есть на самом деле. А на деле «лишние» и временно не используемые участки памяти просто записываются на жесткий диск компьютера и, после освобождения ОЗУ, вновь заносятся в него.
Важным нововведением в процессорах 386 стало кэширование памяти. Это означает хранение ожидаемых команд микропроцессора или нужных данных в специальном быстром ОЗУ - кэш-памяти (памяти приоритетов), из которого они в нужный момент быстро извлекаются. Кэширование основано на теории предсказания команд, которые могут использоваться процессором в ближайшее время.
Для микропроцессора 386 был создан математический сопроцессор 80387 фирмы Intel и еще более мощный сопроцессор Weitek 3167. Это резко повысило скорость выполнения математических операций - до уровня, характерного для мини-ЭВМ.
Первыми разработчиками ПК, оценившими достоинства микропроцессора 386, стали специалисты из фирмы Compaq - одного из серьезных конкурентов IBM в области производства массовых ПК. С их ПК началась эра 32-разрядных ПК с микропроцессором 386. Вскоре множество фирм (в том числе и IBM), спохватившись, стали разрабатывать и выпускать ПК на базе микропроцессоров 386. А выпуск ПК с процессорами 8086/8088/286 пошел на убыль.
1989 год: микропроцессор Intel 486™ DX
В 1989 г. Intel выпустила очередную новинку - микропроцессор 486. Микросхема микропроцессора 486 содержала уже около 1,2 миллиона транзисторов! Впервые число транзисторов на кристалле превысило эту непостижимую по тем временам величину. Микропроцессор 486 также имеет 32-разрядную шину данных и позволяет адресоваться к почти фантастическому объему памяти - до 64 000 Мбайтов (или 64 Гбайта)! Впервые математический сопроцессор был встроен в кристалл с процессором.
Другая важная новика - встроенная в микропроцессор сверхбыстрая кэш-память первого уровня – L1 с объемом 8 Кбайта. Эта память занимала почти треть площади кристалла. Поскольку кэш-память расположена на одном кристалле с процессором, резко уменьшается время обмена между ними информацией. Кроме того, обмен идет по внутренней 128-разрядной шине. В результате при прочих равных условиях микропроцессор 486 работал более чем вдвое быстрее, чем лучшие образцы 386.
Микропроцессор 486 заключен в довольно большой керамический корпус со штырьковыми выводами (их 168), расположенными по всем четырем сторонам. Как правило, для охлаждения микропроцессора используется радиатор или миниатюрный вентилятор.
Процессор 486 имел рабочую частоту до 50 МГц. Однако дальнейшее повышение частоты стало ограничиваться еще и пропускной способностью шины данных. Она во время появления этого процессора не превышала 30-35 МГц. Был найден довольно необычный выход из этого положения. Он заключается в умножении частоты работы микропроцессора внутри его кристалла. Такие микропроцессоры были созданы и получили названия вида 486DXN-F, где N – число, задающее кратность частоты F внутри кристалла.
1992 год: процессор Pentium®
Не успел пройти триумф 486-х микропроцессоров, как фирма Intel выдала на рынок очередную новинку – 32-разрядный микропроцессор уже пятого поколения P5 (586). Впрочем, он вскоре получил более звучное название Pentium (пятый). Первые образцы процессора имели частоты 60 и 66 Мгц. Они содержали на кристалле 3,5 миллиона транзисторов. Шина адресов у Pentium 32-разрядная. Процессоры выполнялись по технологии с разрешением 0,8 мкм и при напряжении питания 5 В потребляли мощность около 13 Вт.
Архитектура процессора была вновь улучшена. Теперь работа процессора базируется на конвейерной и суперскалярной архитектуре. Конвейер в процессоре - это блок одновременно выполняемых команд, поступающих в его начало и идущих к концу конвейера. А суперскалярность означает одновременную работу ряда конвейеров. В процессоре был реализован и механизм предсказания переходов в программах.
Pentium содержит два 5-стадийных конвейера, которые могли (с определенными ограничениями) за один такт выполнять две идущие подряд целочисленные команды. Вдвое (до 16 Кбайтов) был увеличен объем кэш-памяти первого уровня - половина ее отведена на данные, другая на программы. Это повышает эффективность кэширования.
Все процессоры Pentium используют умножение частоты в 1,5, 2, 2,5 или в 3 раза, что позволяет применять их со стандартными шинами, которые стали самым узким местом в архитектуре современных ПК.
Рабочая частота наиболее распространенных шин PCI вдвое меньше внешней максимальной тактовой частоты микропроцессоров первого поколения (50, 60 и 66 МГц) и достигает, таким образом, 33 МГц.
К другим важным техническим решениям при создании Pentium относятся:
· частичное применение RISC-технологии,
· разделение кэш-памяти на два блока (для данных и команд), что повышает вероятность предсказания данных и команд,
· использование специального протокола обратной записи MESI, повышающего эффективность работы кэш-памяти.
· увеличение разрядности шины данных с 32-х до 64-х разрядов и конвейерная обработка циклов шины данных,
· контроль за четностью данных и адресов.
Эти и другие технические усовершенствования существенно повысили производительность Pentium. Максимальные скорости выполнения целочисленных операций достигли величин до 320 - 400 млн. операций в секунду. Изящный и довольно прочный металлокерамический корпус процессора Pentium (рис. 2.1) обычно вставлялся в колодку на материнской плате компьютера. Рис. 2.1. Микропроцессор Pentium (слева с открытой крышкой)
Процессор нуждался в принудительном охлаждении, поэтому на него сверху устанавливался небольшой радиатор с миниатюрным вентилятором.
1995 год: процессор Pentium® Pro
Фирма Intel в 1995 году выпустила свой новый процессор шестого поколения P6 или Pentium Pro. Новый процессор оказался почти вдвое производительней Pentium при той же технологии и при той же тактовой частоте, что было достигнуто за счет улучшения архитектурных решений.
Pentium Pro - первый микропроцессор, у которого в одном корпусе установлено два кристалла (чипа): один собственно микропроцессор, а второй - быстрая статическая кэш-память (рис. 2.2). Процессор имеет два уровня кэш памяти.
Первый уровень - сверхскоростная кэш-память с объемом в 16 Кбайт. Она встроена в кристалл самого процессора и разделена на две области - данных и команд. Это сокращает время быстрого доступа к тем и другим.
Рис. 2.2. Микропроцессор Pentium Pro
На дополнительном кристалле находится кэш второго уровня на 256 или даже 512 Кбайт. Такое двойное кэширование существенно ускоряет скорость работы микропроцессора, но заметно усложняет его конструкцию и повышает стоимость. Достаточно отметить, что число транзисторов на кристалле кэш-памяти составляло 15,5 и 31 миллион, что намного превышало число транзисторов собственно микропроцессора – 5,5 миллиона. Чип процессора занимает площадь 306 кв. мм, а чип кэш-памяти - 202 кв. мм.
В Pentium Pro использован один 12-стадийный конвейер, уменьшивший время нахождения команд в работе в среднем на 33%. За один цикл Pentium Pro выполняет уже от трех до пяти команд. В процессоре используются новые эффективные методы предвидения будущего поведения команд. При этом традиционная фаза выполнения команды заменяется на две фазы - «диспетчерирование/ выполнение» и «откат». В P6 обеспечено улучшенное предсказание переходов (почти всегда правильно определяется предстоящая последовательность команд), введен анализ потоков данных. Процессор способен выполнять некоторые команды до завершения выполнения предшествующих команд. Эта новая возможность называется опережающим выполнением команд.
В целом работа Pentium Pro реализует новую технологию динамического выполнения команд. Предприняты меры по улучшению эффективности работы окружения микропроцессора, и прежде всего ускорения доступа к памяти. Указанные меры позволили увеличить производительность Pentium Pro даже более чем вдвое. Переход на новую технологию (с разрешением 0,35 мкм) позволил повысить частоты работы Pentium Pro до 200 Мгц, а затем и до еще более высоких. Практически первые Pentium Pro 200 были на 58% производительнее, чем Pentium 200.
1995 год: процессоры Pentium MMX
Начало 90- х годов характеризовалось бурным развитием мультимедиа. Этот термин произошел от слова multimedia, что в переводе означает «множественная среда». С применением мультимедиа компьютеры стали использоваться в качестве музыкальных синтезаторов, цифровых магнитофонов, проигрывателей оптических дисков и даже видеодисков с видеофильмами. Для реализации мультимедиа Intel с рядом компаний создала новую технологию MultiMedia eXtension (сокращенно MMX).
Затем она ввела ее в новое поколение микропроцессоров - класса Pentium MMX (P55C). Начинающему дряхлеть Pentium вмиг продлили жизнь. Кратко отметим, какие конкретно новинки введены в микропроцессоры Pentium MMX:
· 57 новых команд, оптимизированных для наиболее характерных для мультимедиа вычислений,
· увеличенная до 32 Кбайт емкость кэш-памяти первого уровня,
· возможность обработки за одну инструкция разом 8 байт данных (SIMD),
· четыре новых типа данных (упакованные байты, слова и двойные слова, а также четверное слово),
· восемь 64-разрядных регистров MMX- от MM0 до MM7, совмещенных с регистрами для выполнения операций с плавающей запятой,
· повышенная скорость выполнения коротких и часто повторяющихся циклов,
· увеличенное число операций умножения,
· оптимизация всех алгоритмов, требующих интенсивных вычислений,
· увеличение числа транзисторов с 3,3 до 4,5 миллионов.
Самой важной особенностью MMX-процессоров является возможность с помощью одной инструкции работать сразу с несколькими (до 8) данными нового типа - упакованными байтом, словом, двойным и четверным словами. Эти данные могут размещаться в любом из восьми MMX-регистров, с длиной 64 бита.
Данная возможность обеспечивает групповую ( иначе говорят, параллельную) быструю обработку данных Single Instruction, Multiple Data (SIMD) - одна инструкция, много данных. MMX регистры были совмещены с теми регистрами, которые в прежних Pentium служили для реализации арифметики с плавающей запятой - FPU.
1997 год: процессор Pentium® II
В 1997 г. Intel выпустила процессор Klamath, названный в дальнейшем Pentium II. Его Высочество Pentium II был представлен свету в мае 1997 года. Фактически это Pentium PRO, но с технологией MMX. Новый процессор содержит 7,5 миллиона транзисторов. Частоты процессора - 233, 266 и 300 МГц. В процессоре использована архитектура двойной независимой шины (Dual
Independent Bus).
Вторая шина процессора для связи с кэш-памятью второго уровня работает на частоте 150 МГц, против 66 МГц у процессоров Pentium c общей шиной, и поддерживает групповой обмен данными. В результате производительность Pentium II несколько выше, чем у Pentium Pro. Предусмотрено параллельное выполнение двух MMX-команд и резко ускорено переключение процессора с работы с мультимедиа-командами на операции с плавающей запятой.
Pentium II поставляется в специальном довольно большом корпусе-картридже SEC (Single Edge Contact cartridge) с односторонним расположением выводов (рис. 2.3). Увы, и на этот процессор была нужна установка большого радиатора с вентилятором.Рис. 2.3. Установка процессора Pentium II на материнскую плату компьютера
Из недостатков Pentium II можно отметить снижение скорости общения с внешней кэш-памятью второго уровня. Но более серьезен второй недостаток - ограничение предельной емкости ОЗУ. Из-за ориентации на чипсет 440FX доступный объем памяти не мог превышать 500 Мбайт. Современные профессиональные ПК и ноутбуки уже сейчас имеют близкий к этой цифре объем ОЗУ и потому применение в них Pentium II неперспективно.
1999 год: Процессор Pentium® II Xeon™
Этот процессор предназначался для мощных серверов.
Он имел кэш второго уровня с размером в 512 KБ, 1 МБ и 2 МБ и мог работать с памятью до 64 Гбайт. Пожалуй, главное отличие этого процессора от других – возможность работы в многопроцессорных системах, насчитывающих до 4 микропроцессоров.
1999 год: Процессор Intel® Celeron®
Процессором Celeron Dixon Intel открыла себе дорогу на рынок дешевых ПК. Тактовая частота процессора поначалу составляла от 300 до 500 МГц. Следующий вариант Celeron имел уже более чем серьезные характеристики:
· количество транзисторов: 19 млн (0,25-мкм процесс);
· корпус с односторонним контактом (SEPP), 242 вывода;
· корпус Plastic Pin Grid Array (PPGA), 370 выводов;
· частота шины: 66 МГц;
· разрядность шины: 64-битная системная шина;
· адресуемая память: 4 Гбайт;
· применение: недорогие ПК.
Первые образцы процессора имели только кэш первого уровня L1 с емкостью 32 Кбайт. Но затем был введен и кэш второго уровня L2 с емкостью 128 Кбайт. Дешевизне процессора способствовал его упрощенный корпус с защитой кристалла лаком. Ныне Celeron - это обобщающее название для целой серии удешевленных вариантов процессоров класса Pentium.
1999 год: Процессор Pentium® III
Продолжая совершенствовать процессоры шестого поколения, Intel выпустила в 1999 г. весьма мощный по тем временам процессор Pentium III (кстати, его фирменное обозначение – Pentium !!!). Он имел следующие характеристики:
· количество транзисторов: 9,5 млн (0,25-мкм процесс);
· кэш L2: 512 KБ (расположен в корпусе процессора, но не на его кристалле);
· тип корпуса: картридж SECC 2;
· частота системной шины: 100 MГц;
· разрядность шины: 64 бит;
· адресуемая память: 64 Гбайт;
· применение: бизнес- и потребительские ПК, одно- и двухпроцессорные серверы и рабочие станции.
Корпус процессоров Pentium II и Pentium III типа SECC 2 позволил создать достаточно дешевые процессоры. Однако «кирпич» микропроцессора напрочь исключал его применение в портативных компьютерах. Поэтому в дальнейшем были созданы микропроцессоры Pentium III в корпус Plastic Pin Grid Array (PPGA) малого размера.
В мобильных Pentium III значительное внимание уделено обеспечению нормального теплового режима работы. Так, встроенный диодный датчик температуры измеряет температуру кристалла для управления тепловым режимом. Усовершенствованная технология Intel® SpeedStep™ обеспечивает автоматическое переключение процессора на большую или меньшую тактовую частоту ядра в зависимости от загрузки процессора. Технология QuickStart продлевает время работы от батарей, снижая энергозатраты в периоды бездействия пользователя. Спящий режим Deeper Sleep включается, когда компьютер не используется, снижая среднее энергопотребление и увеличивая время автономной работы
Выпускаются варианты процессора с пониженным и сверхнизким напряжением питания. Повышается производительность и увеличивается время автономной работы для тонких и легких ноутбуков. Применяются корпуса типа micro- FCPGA и micro- FCBGA. Специальные миниатюрные корпуса открывают возможность создания самых тонких и легких ноутбуков.
1999 год: Процессор Pentium® III Xeon™
В том же 1999 году Intel выпускает процессор для серверов и профессиональных ПК Pentium III Xeon. Он имеет 9,5 млн и 0,25-мкм процесс. Размер кэша L2 512 KB. Процессор предназначен для работы в многопроцессорных системах (до 8 и более процессоров).
2000 год: процессор Pentium® 4
Начало третьего тысячелетия Intel отметила разработкой и производством нового мощного процессора для настольных ПК с расширенными аудио- и видео-возможностями и поддержкой высокоскоростных телекоммуникаций. Им стал микропроцессор Pentium 4 (рис. 2.4).
Он имел 42 млн транзисторов и частоту системной шины 400 MГц. Поначалу выполнялся по технологии 0,18 микрон.

Рис. 2.4. Внешний вид микропроцессора Intel Pentium 4
Новые процессоры выполнены по технологии 0,13 мкм в 423-контактном корпусе типа Plastic Pin Grid Array (PPGA). Intel отказалась от применения громоздкого картриджа, использованного в процессорах типа Pentium II и первых Pentium III, и перешла к миниатюрному корпусу.
Для Pentium 4 использовалась торговая марка Pentium, в продвижение которой Intel вложила огромные средства. Логотип нового процессора имеет вид, представленный на рис. 2.5.

Рис. 2.5. Логотип нового микропроцессора Pentium 4
В новом процессоре рекордно большое число транзисторов – 42 миллиона (есть варианты и с 55 миллионами). Это позволило реализовать ряд новых идей в микроархитектуре микропроцессоров. Все они (конвейер удвоенной длины, скоростная системная шина, новые команды поддержки Интернета и др.) направлены на увеличение производительности нового процессора. Переход к технологии 0,13 мкм позволил увеличить частоту работы процессора до 3,05 ГГц к концу 2002 года.
Новый процессор имеет микроархитектуру с названием NetBurst. В ней используется гиперконвейерная Hyper Pipelined технология. Число этапов конвейера удвоено и теперь достигает 20. Это существенно повышает производительность процессора Intel Pentium 4 и обеспечивает резервы роста его тактовой частоты. Увы, но пока есть немного программ, которые способны реально использовать такой многостадийный конвейер.
Другое достижение - это ядро быстрого выполнения. Rapid Execution Engine. Его блоки арифметической логики работают на удвоенной, по сравнению с ядром процессора, тактовой частоте.
Это позволяет процессору выполнять некоторые инструкции за половину такта. Целочисленные операции выполняются с удвоенной скоростью. До 400-МГц (втрое) повышена частота системной шины. Cкорость передачи данных между процессором Pentium 4 (первые варианты) и контроллером памяти достигает 3,2 Гбит/c.
В процессоре реализована сверхскоростная кэш-память первого уровня L1 с отслеживанием выполнения - Execution Trace Cache. В этой кэш-памяти первого уровня сохраняются декодированные команды (примерно 12 000 микрокоманд). Благодаря этому в цикле исполнения команд устраняются задержки, связанные с декодированием. Данная технология в значительной мере повышает быстродействие кэш-памяти команд и повышает эффективность использования кэша. Емкость кэша первого уровня в Pentium 4 равна 8 Кбайт, т. е. уменьшена вдвое по сравнению с процессором Pentium III. Однако время доступа сокращено более чем вдвое - до 1,41 нс.
Кэш-память процессора организована в виде 128-байтных линий с 64-байтным доступом (процессоры предыдущих поколений имели 32-байтные линии). Общая емкость кэш-памяти второго уровня L2 Advanced Transfer Cache объемом 256 КБ обеспечивает передачу данных со скоростью 48 Гбит/с, которая увеличивается пропорционально тактовой частоте ядра.
Усовершенствование системы динамического исполнения (Advanced Dynamic Execution) обеспечивает совершенный блок спекулятивных вычислений, который дает быструю загрузку вычислительных блоков. Процессор содержит также улучшенные схемы предсказания ветвлений, позволяющие ему выполнять программы в нужной последовательности и снижающие потери времени, связанные с ошибочным выбором последовательности вычислений. Роль подобных потерь оказывается более значительной при увеличении длины конвейера.
Потоковые SIMD- 2 расширения (SSE2) дополняют ранее реализованные технологии MMX™ и SSE 144 новыми инструкциями. В их числе 128-разрядные целочисленные инструкции и 128-разрядные инструкции для вычислений с плавающей точкой.
Эти новые SIMD- инструкции позволяют существенно ускорить работу самых различных приложений.
В среднем процессор Pentium 4 обеспечивает более высокую производительность, чем процессоры предшествующего поколения, на 59% для кодирования видеопотоков, 38% для визуализации трехмерных поверхностей и фигур, 30% для исполнения программных модулей на языке Java, широко применяемом в Интернете.
На представлении процессора Pentium 4 была показана синтезированная компьютером девушка Ева, поведение и привлекательность которой зависели от отношения к ней пользователя. В другом видеофильме моделировалось поведение множества объектов в виртуальной комнате. Объекты вели себя в соответствии с законами оптики, механики и земного тяготения. Например, при снятии имитации земного тяготения все объекты начинали плавать в воздухе, как это имеет место в кабине космического корабля, и падали вниз при включении имитации тяготения.
2001 год : Процессор Intel® Itanium™
Процессор Intel® Itanium™ - это новый мощный 64-разрядный процессор Intel. В его основе лежит новая архитектура EPIC (Explicitly Parallel Instruction Computing - параллельная обработка команд с явным параллелизмом). Этот процессор рассчитан на применение в мощных профессиональных компьютерах и серверах с высокой производительностью.
2002 год: Мобильный процессор Pentium 4M
Первые Pentium 4 потребляли мощность до 50 Вт и не имели особых перспектив применения в мобильных ПК – ноутбуках. Но 4 марта 2002 года корпорация Intel объявила о выпуске микропроцессора Intel® Pentium® 4M для мобильных ПК. Заодно было выпущено новое семейство чипсетов для них Intel® 845.
Новый процессор имеет развитые средства управления энергопотреблением, продлевающие время работы компьютера от батарей. Среди них;
· технология Enhanced Intel® SpeedStepTM, обеспечивающая автоматическое переключение между режимом максимальной производительности и режимом экономии энергии в зависимости от интенсивности загрузки процессора;
· режим ожидания Deeper Sleep, в котором процессор работает при напряжении всего 1 В, а потребляемая мощность падает до 0,2 Вт и ниже (при этом данные приложений сохраняются);
· усовершенствованная технология Intel Mobile Voltage Positioning (IMVP).
IMVP III - это технология регулирования напряжения, динамически изменяющая напряжение питания процессора в зависимости от его загрузки, снижая тем самым расчетную интенсивность тепловыделения.
2002 г.: Новые процессоры Celeron
Следующий тип мобильного процессора Celeron – Coppermine 128 K - создавался уже на основе нового микропроцессора Pentium III (Coppermine). Этот процессор в дополнение к командам мультимедиа расширения MMX поддерживал уже и серию команд SSE. Частота системной шины была повышена до 100 МГц. Типичная емкость кэш-памяти в 128 Кбайт у некоторых моделей возросла до 256 МГц.
Были выпущены микропроцессоры Celeron пониженным напряжением питания на частоты 733, 650 МГц (0,13 микрон), 600, 500 МГц и даже со сверхнизким напряжением питания на частоты 667, 650 МГц (0,13 микрон), 600 и 500 МГц. Процессоры могут работать с наборами микросхем (чипсетами) Intel®: 440ZX, 440MX, 815EM , 830MP, 830M и 830MG.Они имеют технологию QuickStart, которая продлевает работу от батарей.
В сентябре 2002 г. Intel объявила о выпуске нового поколения процессоров Celeron с рабочей частотой 2 ГГц. Частота системной шины повышена до 400 МГц. Процессоры изготавливаются по технологии 0,13 мкм и стоят около 100 $.
2002 г.: Микропроцессоры Pentium 4 с технологией Hyper-Threading и частотой 3,06 ГГц
Гонка за повышением производительности процессоров класса Pentium 4 привела к появлению в конце 2002 года новейших Pentium 4 с частотой 3,06 ГГц и с очередной новинкой из области технологий - Hyper-Threading. Суть ее заключается в «прогонке» нескольких потоков команд, программ и приложений через один процессор одновременно – пока, правда, применена «прогонка» только двух разных программ.
Эту технологию поддерживает новейшая операционная система Windows XP.
2003 г.: Технология Intel Centrino
12 марта 2003 г. Intel объявляет о новой революционной технологии для создания мобильных ПК - Centrino. В нее входит новейший экономичный процессор Pentium M, чипсет 855 и сетевая продукция Intel Pro для беспроводной связи стандарта Wi-Fi 802.11. Процессор Pentium M содержит 77 миллионов транзисторов, работает с напряжениями 0,85-1,5 В и имеет частоты от 0,9 до 1,6 ГГц, объем кэш-памяти второго уровня - 2 Мбайт. Процессор создан «с нуля» и имеет множество оригинальных архитектурных решений. В их числе совершенная система динамического управления потребляемой мощностью, усовершенствованные методы прогноза команд, метод наслоения (одновременного выполнения) микроопераций и др. Средняя потребляемая мощность процессора снижена до 1 Вт при сохранении высокой производительности. Эта технология ориентирована на создание сверхтонких и легких мобильных компьютеров - ноутбуков.
Яблоки выросли в гараже Стивена Джобса
Считается, что зарождение индустрии ПК в США связано с именами ныне знаменитых Стивена Джобса и Стива Уозняка - рис. 3.1. В 1976 году они создали свою фирму Apple Computers. Эмблемой фирмы было надкушенное яблоко - явный намек на первородную роль и чуть ли не библейскую роль в деле зарождения индустрии ПК.Рис. 3.1. Юные создатели первого массового персонального компьютера Стивен Джобс и Стив Уозняк - основатели фирмы Apple
Первое время в гараже Джобса они собирали «на коленках» и выпускали в продажу комплекты узлов для сбора простейших компьютеров в домашних условиях. Эти «компьютеры» (рис. 3.2) были выполнены на процессоре 6502 фирмы MOS Technology c рекордно низкой ценой - 20 $.

Рис. 3.2. Первый компьютер Apple был собран в деревянном ящике
Было собрано и продано около 200 таких наборов. 50 заказал и реализовал магазин популярного и поныне журнала «Бит». Эта деятельность дала молодой фирме приличный доход и позволила разработать и начать производство первого законченного ПК Apple-II. Он имел вид ПК с системным блоком, дисплеем и клавиатурой. Объем памяти у Apple II достигал 64-128 Кбайт.
К 1986 г. было выпущено свыше 2,5 млн. компьютеров Apple II, а оборот фирмы достиг 335 млн. долларов. Увы, попытки создания ряда других компьютеров Apple-III, Next и Lisa были менее удачными. Отчасти из-за дороговизны, а отчасти из-за конкуренции со стороны могучей корпорации IBM. Она в то время по обороту финансовых средств обходила Apple почти в 130 раз! И в 1982 г. началась эра IBM-совместимых персональных компьютеров (ПК).
Apple тем не менее удалось утвердиться на частично потерянном рынке с помощью своих знаменитых «Маков» (Macintosh) – необычных ПК в прозрачных корпусах, которые по сей день славятся своей дружественностью по отношению к пользователям, неприхотливостью и обширными возможностями. Особенно широко они используются в образовании (рис. 3.3) и в издательском деле. Macintosh был удешевленным и тщательно оптимизированным вариантом дорогого ПК Lisa.

Рис. 3.3. Класс с компьютерами Macintosh корпорации Apple в Иллинойском университете (США)
В США «Маки» по сей день пользуются популярностью и большим спросом. У нас в России их продает компания «МакЦентр».
Экранно-звуковые средства обучения
Теле- и видеотехника, как и кинотехника, относится к классу экранно- звуковых средств обучения и воспитания в соответствии с ранее рассмотренной классификацией. Кроме того, что эти средства являются комбинированными, они позволяют увидеть движение, т.е. рассмотреть процесс, а не состояние, в отличие от экранных средств обучения и воспитания, которые являются статическими.Элементная база информационных устройств
Современные информационные устройства строятся на основе различных компонентов. Прежде всего, это электронные компоненты. Они применяются в радиоприемниках и телевизорах, в сотовых телефонах и в компьютерах. Для гуманитариев стоит познакомиться хотя бы с основными электронными компонентами.ЭВМ четвертого и пятого поколений на СБИС
ЭВМ четвертого поколения выполняются на сверхбольших (СБИС) интегральных микросхемах. Это существенно уменьшило габариты, массу и электропотребление даже больших ЭВМ. На десятке - другом микросхем, размещенных на небольшой печатной плате, именуемой системной, или материнской, уже можно было выполнить миниатюрный компьютер, вполне эквивалентный мини-ЭВМ третьего поколения и даже превосходящий их. Такие компьютеры получили название одноплатных микро-ЭВМ.Из больших ЭВМ этого поколения можно отметить IBM 370, которая пришла на смену знаменитой IBM 360. Эта ЭВМ имела скорость 15 миллионов операций в секунду. Из отечественных машин такого рода наиболее известны ЭВМ «Эльбрус». Универсальные ЭВМ четвертого поколения нередко выполняются в типовых стойках (каркасах) и называются мэйнфремами (от английского слова mainframe – главный каркас).
Наиболее мощные их ЭВМ четвертого поколения принято называть супер-ЭВМ или супер-компьютерами. Для увеличения производительности такие ЭВМ нередко делались многопроцессорными – число процессоров от 2-6 до сотен и тысяч. Наиболее известными такими ЭВМ являются ILLIAC-4 (50 миллионов операций в секунду), GRAY-1 (130 миллионов операций в секунду), GRAY-MP (64 процессора, 50 миллионов в секунду), ASCI White (12,4 миллиарда операций в секунду). В Японии создана пока опытная супер-ЭВМ с 5120 процессорами и скоростью до 30 триллионов операций в секунду.
С появлением ЭВМ четвертого поколения наметилось их развитие по двум разным направлениям. Первое – это уже рассмотренные большие ЭВМ и супер-ЭВМ. Это очень дорогие и редкие ЭВМ, используемые при самых серьезных применениях государственного масштаба – прогноз погоды, моделирование ядерных и термоядерных процессов, крупные исследовательские проекты.
А вот второе направление было ориентировано на создание персональных ЭВМ, ориентированных на индивидуальную работу, но тем не менее обладающих основными показателями (производительность, объем памяти и др.) на уровне, выше показателей ЭВМ предшествующих поколений. Эти ЭВМ, именуемые также персональными компьютерами (ПК), мы рассмотрим детально в главе 3.
Пятое поколение ЭВМ также основано на СБИС. Предполагалось, что эти машины будут основаны на логическом программировании, при котором машина сможет по заданной задаче сама конструировать программу для ее решения. Однако пока явно зримых успехов на этом направлении мало. Так что говорить о пятом поколении как состоявшимся пока, видимо, преждевременно.
ЭВМ третьего поколения на интегральных микросхемах
В 1959 году корпорации Fairchild и Texas Instruments первыми выпустили на рынок интегральные микросхемы – чипы (chips). Благодаря революционным достижениям микроэлектроники габариты третьего поколения ЭВМ уменьшились настолько, что так называемые «малые» ЭВМ (мини-ЭВМ) стали размещаться на письменном столе. Одновременно возрастала их производительность. Она намного обогнала производительность первых послевоенных ламповых «динозавров».
Пожалуй, высшим достижением нашей отечественной компьютерной индустрии тех лет в области создания ЭВМ третьего поколения стала разработка и производство машин серии EC ЭВМ - аналогов серии машин 360 фирмы IBM. Эти мощные для своего времени машины, тем не менее, требовали для своего размещения целые залы и были машинами коллективного пользования (рис. 1.17).Рис. 1.17. Советская ЭВМ ЕС-1020 третьего поколения
ЭВМ этого поколения стали делать в виде крупных серий программно-совместимых машин. Например, наши машины серии ЕС-ЭВМ выпускались в двух десятках модификаций. При этом они могли использовать одно и то же программное обеспечение.
В СССР появились даже инженерные ЭВМ настольных габаритов, например «Наири». А разработка научной школы академика Глушкова – инженерная ЭВМ «Мир» стала первой машиной с встроенной системой символьной компьютерной математики, способной решать математические задачи не только в численном, но и в символьном (аналитическом) виде.
Калькуляторы и электронные записные книжки
Предвестником появления компьютеров четвертого поколения стали микрокалькуляторы– миниатюрные ЭВМ для разных расчетов. Вслед за обычными калькуляторами появились программируемые - в том числе для сложнейших научных, статистических и экономических расчетов (рис. 3.26). По существу, это полноценные компьютеры для сложных математических вычислений.
Рис. 3.26. Графический калькулятор TI-92 Plus со встроенной системой символьной (аналитической) математикиУвы, такие калькуляторы в Россию не поступают. Зато простые калькуляторы буквально наводнили прилавки ларьков и магазинов, торгующих канцелярскими принадлежностями. Они раз и навсегда покончили со счетами, арифмометрами, логарифмическими линейками и электромеханическими счетными машинками, отправив их с полок магазинов на полки технических музеев.
На калькуляторы очень похожи всевозможные электронные записные книжки и органайзеры. Только клавиатура у них более полная – алфавитно-цифровая. Эти изделия привлекают своей дешевизной. Несомненно, что они будут вытеснены более мощными и универсальными карманными персональными компьютерами.
Карманные компьютеры для людей гуманитарного профиля
Многие пользователи ПК, особенно люди гуманитарного профиля, мечтали о замене громоздких настольных ПК и даже ноутбуков сверхпортативными компьютерами, которые могли бы размещаться в кармане и которые можно было бы всегда иметь при себе. Ныне такие карманные персональные компьютеры (КПК) появились! Вес КПК - менее 200 г.Теперь писатели и журналисты в лице КПК имеют весьма удобное средство для создания набросков своих книг и статей, а также для записи на лету возникших мыслей. Эта машинка позволяет творить свое дело – писать в любой обстановке вне дома. И не только произведения эпистолярного жанра!
С появлением КПК сбывается мечта многих людей иметь при себе огромную библиотеку. В наше время пара оптических дисков CD-ROM может содержать запись в сжатом виде нескольких тысяч книг, именуемых электронными книгами. Десятки и сотни их можно хранить в памяти КПК и читать их в любом месте. При этом возможен быстрый поиск нужных слов и фраз, организация закладок, выделение отдельных фрагментов материала книг, снабжение их замечаниями и аннотациями. Заметим, что это можно делать, в отличие от обычных книг, сохраняя оригиналы в первозданном виде.
Есть уже и звуковые электронные книги – нечто вроде радиопостановок. Их зачитывают дикторы, а книги пишутся в формате звуковых файлов MP3. Электронные книги можно считывать из Интернета.
Для поэтов КПК тоже подлинная находка. Можно пребывать где угодно, например, на берегу Лазурного моря или на борту теплохода, в приятной компании или с любимой девушкой и всегда, как только к вам приходит творческое озарение, можно вынуть из кармана КПК и тут же зафиксировать родившиеся в вашей голове рифмы и строки.
Не менее привлекательны КПК и для художников. Например, любители карикатур найдут привлекательными графические редакторы, которые с помощью заостренной палочки – стило позволяют тут же на экране КПК изображать наброски рисунков. Компьютерная графика уже дает хлеб многим техническим художникам и дизайнерам.
И графика КПК – один из ее разделов.
Для преподавателей любых наук КПК - огромное подспорье на лекциях – ведь далеко не всегда возьмешь с собой настольный компьютер и даже ноутбук. А уж студенты наверняка оценят КПК как самую современную шпаргалку, хранящую в своей памяти конспекты и тексты лекций по любым дисциплинам, изучаемым в университетах, вузах, техникумах и даже в школах. Ну, а как воспользоваться ею под бдительным оком преподавателя – этому учить студентов не надо.
КПК по достоинству оценят коллекционеры. Это идеальное средство для создания баз данных по книгам и журнальным статьям, по кинофильмам и художественным произведениям и многим другим продуктам нашей деятельности. С помощью миниатюрных карт памяти можно сохранять огромные по размерам базы данных, копировать их и производить обмен.
Между тем возможности КПК развиваются невиданно быстрыми темпами, намного обгоняющими впечатляющие темпы развития настольных ПК. За каких-то пять лет КПК из расширенных записных книжек и органайзеров превратились в мощные мультимедийные центры карманных размеров. Теперь любители музыки могут использовать КПК для прослушивания любимых музыкальных произведений и ведения их архивов. Всех впечатляет возможность хранения в памяти КПК тысяч цветных электронных фотографий и их просмотра в любых условиях. Уже стал реальностью просмотр на КПК даже видеофильмов.
КПК незаменимы и для любителей путешествий, географов, биологов и зоологов – для всех, кто проводит много времени в путешествиях. КПК тут полезны как переводчики с одного языка на другой, базы данных, средства учета редких растений, животных и месторождений полезных ископаемых. С помощью приемника системы глобального позиционирования GPS КПК превращается в удобную миниатюрную систему ориентации на местности, дающую координаты положения с точностью до 5-10 метров. Недавно КПК была оснащена наша милиция. В ее КПК была записана база данных на 400 000 разыскиваемых милицией лиц.
Кэш-память первого уровня
Кэш - это сверхбыстрая память, хранящая наиболее часто используемые в ближайшее время команды микропроцессора. Если процессор повторно должен выполнить какую-то цепочку команд, то он берет их уже из быстрого кэша, а не из медленной памяти. Это обеспечивает повышение скорости работы микропроцессора.В компьютере кэш-память имеет ряд уровней (Levels). Пока мы говорим о кэш-памяти первого уровня - L1. Важно, что она расположена на том же кристалле, что и сам процессор, а потому работает на частоте процессора (иногда на половинной частоте). Это очень быстрая память. Но она занимает много места на кристалле процессора, поэтому ее объем ограничен – обычно 16, 32 или 64 Кбайта. Лишь процессоры AMD Athlon имеют кэш-уровень L1 на 128 Кбайт.
В дальнейшем мы продолжим рассмотрение работы микропроцессоров, но уже в составе ПК (см. следующую главу).
Клайв Синклер получает почетный титул сэра
Разработкой и производством домашних вычислительных машин во всем мире занимались многие люди и фирмы. Некоторые добились выдающихся успехов. Например, англичанин Клайв Синклер получил от своей королевы почетное дворянское звание сэра за организацию производства дешевых и массовых домашних ПК класса ZX-Spectum на процессорах Z80. В итоге на какое-то время Великобритания обогнала США по числу домашних ПК на душу населения.Схлынув на Западе, волна дешевых ZX-Spectrum в начале 90-х годов буквально захлестнула восточную Европу и СССР. Во многом она способствовала приобщению наших народных масс к компьютерным достижениям Запада и зарождению ностальгии по ZX-Spectrum.
Классификация ТСО по применению
Рассмотрим теперь классификацию ИСО с точки зрения решаемых ею учебных задач (рис. 5.1). Эта классификация достаточно условна, потому что невозможно четко очертить границы между различными применениями ТСО, однако общее представление о составе решаемых ими задач она дает.
Рис. 5.1. Классификация ТСО
К группе ИСО общего применения относятся такие ТСО, применение которых напрямую не обусловлено изучаемым предметом. Так, магнитофон или диапроектор, например, относящиеся к этой группе, могут быть использованы на уроках математики, литературы, истории и др.
ИСО группы специального применения более направлены, они больше ориентированы на приобретение учащимися умений и навыков, чем знаний.
Элементы ИСО общего применения включают в себя следующие группы:
· информационные, т.е. предназначенные для передачи информации и ее отображения;
· контролирующие, которые используются для организации контроля знаний учащихся;
· комбинированные, т.е. осуществляющие эти обе функции.
К элементам ИСО специального применения относятся:
· объект изучения,
· модель объекта изучения,
· тренажер, т.е. такое устройство, которое помогает выработать и закрепить умения и навыки, задавая последовательность учебных ситуаций в определенной области знаний и оценивая адекватность действий обучаемых в этих ситуациях.
Средства вычислительной техники (СВТ), безусловно, являются базовыми в этой схеме. Действительно, ЭВМ может выполнять все функции ТСО как общего, так и специального применения. Будучи по своей сути устройствами информационными, ЭВМ успешно решают задачи передачи информации; ЭВМ эффективно используются при контроле знаний учащихся, освобождая учителя от этой работы. Следовательно, СВТ можно с полным основанием отнести к комбинированным ТСО общего применения.
СВТ в последнее время являются объектом изучения в школе и в вузе. Моделирование с использованием ЭВМ (электронное моделирование) открывает широкие возможности при изучении различных процессов, происходящих в природе и обществе. Имеются два одинаково эффективных направления использования ЭВМ в качестве тренажера: использование специальных программ тренажеров и управление с помощью ЭВМ тренажером. Все сказанное позволяет считать, что ЭВМ решает задачи и ТСО специального применения.
Рынок аппаратуры ТСО насыщен самыми разнообразными устройствами, имеющими различные технические характеристики и цену. Далее мы будем описывать аппаратуру, отвечающую требованиям оптимального значения критерия качество\цена.
Кластерные системыÄ
Когда были созданы персональные компьютеры, то казалось, что они смогут решать только относительно простые задачи (в сравнении с суперкомпьютерами). Но это далеко не так. Объединение множества (порою миллионов) ПК в единую сеть позволяет получить вычислительную мощность, намного превосходящую мощность даже суперкомпьютеров. И такие успешные эксперименты, например, в области разгадки очень сложных кодов уже успешно проведены.Компьютеры, объединенные скоростными (как правило, световолоконными) сетями и имеющие единое программное обеспечение, называют кластерами. Ныне кластеры стали главным конкурентом супер-ЭВМ, обеспечивая наиболее высокое отношение производительность/цена. Таким образом, налицо тенденция замены сверхбольших ЭВМ сетями из малых ЭВМ. В них перспективно применение новейших микропроцессоров корпорации Intel.
Ранее суперкомпьютеры почти исключительно строились на RISC процессорах и имели закрытую архитектуру. Так, в рейтинге TOP 500 суперкомпьютеров в 2000 году из 500 суперкомпьютеров только два были построены на процессорах Intel с открытой архитектурой. Но уже в 2002 году их число возросло до 56, а два суперкомпьютера на процессорах Intel попали в первую десятку рейтинга. Intel «скромно» полагает, что уже через три года кластеры на ее процессорах отвоюют 80% рынка этой могучей техники, и уже в 2005 году объем продаж их достигнет 2,3 миллиардов долларов (уже в 2001 году он составлял 508 миллионов долларов).
Кластеры на процессорах Pentium 4 и Itanium 2 уже достигли производительности в 2 терафлопа (2×1012
операций с плавающей запятой в секунду), и ожидается ее увеличение до 10 терафлоп. Любопытно, что такие компьютеры работают на основе операционной системы Linux, как бы случайно и свободно возникшей в программистских кругах.
Клавиатура
![]() |
Клавиатура (рис. 3.19) является основным и нередко первичным устройством ввода информации в компьютер. Она представляет собой некоторое число клавиш, каждая из которых имеет замыкаемые при нажатии пленочные контакты. С помощью эластичной прокладки имитируется «щелчок» клавиш. Число клавиш обычно составляет 101 или 102, у клавиатуры ноутбуков их меньше.
Рис. 3.19. Стандартная клавиатура компьютера
Основная группа клавиш очень напоминает клавиатуру пишущих машинок, так что виртуозы печати на них легко освоят и клавиатуру компьютеров. Появились специальные эргономичные клавиатуры, например показанная на рис. 3.20 клавиатура с разными блоками клавиш под каждую руку. Они меньше утомляют кисти рук и пальцы, снижая возможности их заболевания.Рис. 3.20. Эргономичная клавиатура
Компьютер периодически, примерно 50 раз в секунду, опрашивает клавиатуру. При этом при нажатии той или иной клавиши клавиатура передает в центральный процессор уникальный код соответствующей клавиши. Для выработки этого кода и предотвращения «дребезга» клавиш из-за плохих контактов, служит специальный клавиатурный микропроцессор и контролер клавиатуры. Программно клавиатура обслуживается специальным драйвером клавиатуры.
Кодирование текстовой информации
Чтобы эффективно накапливать, передавать и использовать информацию, ее надо представить в виде цифровых кодов, т.е. различающихся чисел, каждое из которых имеет значение некоторого «кванта» информации (т. е. ее неделимого значения). Эта операция называется кодированием информации.Рассмотрим кодирование текстовой информации. Как известно, любой текст состоит из отдельных знаков - прежде всего букв и цифр. Совокупность таких знаков образует алфавит языка, а правила применения – синтаксис языка. Для работы с большинством языков (за исключением, возможно, китайского и японского) вполне достаточно двух-трех сотен знаков. Из этих знаков строятся слова, предложения, абзацы и главы текстовых документов.
В цифровых информационных системах и компьютерах каждый знак кодируется некоторым кодом - обычно целым числом от 0 до 255. Таким образом, задается 256 знаков (2 в степени 8). Этого вполне достаточно. 2 в степени 7 даст 128 значений - этого мало, а вот 2 в степени 9 - уже 512 значений. Этого уже много! К тому же число 8 кратно двум, вот почему именно единица памяти байт (28 состояний) стала основной.
Кодоскопы
Особыми аппаратами диапроекции являются кодоскопы (графопроекторы). Носители информации, применяемые в кодоскопах, представляют собой прозрачную пленку (в виде рулона или отдельных транспарантов, называемых также кодограммами), на которую нанесено изображение.Осветительно-проекционная система кодоскопа (рис. 5.28) расположена вертикально, а объект проекции - горизонтально. Световой поток от проекционной лампы отражается рефлектором вертикально вверх, проходит через конденсор (линза Френеля) и предметный столик, на котором расположена кодограмма, попадает в объектив с поворотным зеркалом и формирует на экране увеличенное изображение объекта.

Рис. 5.28. Схема кодопроекции (1- рефлектор, 2- осветительная лампа, 3- теплофильтр, 4- линза Френеля, 5- объектив с зеркалом, 6- экран)
Первые буквы названия кодоскопа представляют собой аббревиатуру – «классная оптическая доска». Это очень хорошо отражает назначение и возможности аппарата, а именно: крупный масштаб изображения на экране, проведение демонстрации без затемнения (лишь бы не было на экране прямого солнечного света), простота использования самим преподавателем, использование разнообразных подготовленных заранее или создаваемых в ходе занятий кодограмм.
Использование кодоскопа позволяет средствами статической проекции показать процесс, а не только состояние, если изготовить последовательность кодограмм, соответствующих стадиям этого процесса, и демонстрировать их, располагая одну за другой.
Изготовить кодограммы можно двумя способами:
1. Текст и рисунки наносятся на прозрачную пленку специальным маркером.
2. Кодограмма подготавливается на компьютере, как правило, в графическом или текстовом редакторе и отпечатывается на принтере на специальной прозрачной пленке.
Второй способ, безусловно, предпочтительнее, так как позволяет получить более качественный дидактический материал с меньшими затратами труда.
Для показа непрозрачных объектов используются эпипроекторы, существуют и комбинированные аппараты, позволяющие показывать как диа-, так и эпиобъекты – эпидиапроекторы. Объектами эпипроекции являются графические материалы (открытки, картинки и т.п.), обычно применяется последовательность тематически подобранных рисунков, наклеенных на бумажную ленту. Однако можно показать и такие плоские объекты, как гербарий, монета и т.д.
Проецирование непрозрачных объектов происходит в отраженном, а не в проходящем, как при диапроекции, свете. Поэтому световой поток, определяющий яркость изображения на экране и зависящий от отражательных свойств эпиобъекта, невелик. И хотя эпипроекторы снабжаются двумя мощными источниками света, при их использовании требуется затемнение помещения, что снижает область их применения.
Конструкция сотового телефона
Конструктивно сотовый телефон выполнен в виде телефона-трубки с клавиатурой. Внутри телефона расположены следующие узлы:· миниатюрные микрофон и динамик;
· приемопередающая антенна;
· радиопередатчик и радиоприемник;
· центральный процессор - микропроцессор;
· микросхема оперативной памяти;
· АЦП, ЦАП и вспомогательная электроника;
· устройство отображения информации - дисплей;
· малоразмерная клавиатура;
· виброзвонок (не у всех моделей);
· SIM-карта модуль персональной идентификации телефона;
· аккумуляторная батарея для автономного питания.
Сейчас выпускаются сотни типов сотовых телефонов. Среди них можно выделить следующие типы конструкции сотовых телефонов:
· телефон с выступающей антенной;
· телефон с встроенной антенной;
· телефон с крышкой, прикрывающей клавиатуру;
· телефон-раскладушка из двух частей с шарниром;
· специальные телефоны.
Телефоны первой группы имеют отличительную деталь - выступающую антенну, прикрытую пластмассовым колпачком (рис. 4.9). Поскольку телефоны работают на очень высоких частотах (самые массовые на 900, 1800 и 1900 МГц), то размеры антенны невелики. Рис. 4.9. Сотовый телефон Philips Fisio 120 с выступающей антенной
Несомненно, что телефоны с встроенной в корпус антенной (рис. 4.10) выглядят более эргономично, чем «классические» аппараты с выступающей антенной.
И большинство современных сотовых телефонов уже утратило эту характерную выступающую деталь.

Рис. 4.10. Сотовые телефоны с антенной, упрятанной в корпус (слева Ericsson T66, справа - Nokia 6310)
В мобильных телефонах стало вполне традиционным расположение основных узлов - динамика в верхней части корпуса, жидкокристаллического индикатора - дисплея, упрощенной клавиатуры и микрофона в нижней части корпуса. Такое расположение диктуется технической целесообразностью и расположением наших органов слуха и речи. Расстояние между ртом и ухом определяет длину трубки. Для уменьшения ее телефоны часто делают из двух половинок, скрепленных шарниром - рис. 4.11. Эти телефоны - самые маленькие и легкие (вес от 60 до 100 г).
Рис. 4.11. Мобильный телефон - раскладушка Motorola V60 в раскрытом состоянииЕсли развернуть обе половинки такого телефона, то он превратится в «трубку» удвоенной длины. Вид такого телефона почти ничем (кроме шарнира) не отличается от обычного «классического» вида. Подобный телефон удобно держать в руке при работе, и его можно сложить по ее окончании.
Конвейер
В современных микропроцессорах предусмотрены структурные методы повышения скорости работы. Один из таких методов – конвейерная обработка информации. Это означает, что процессор имеет устройство – конвейер, в которое поступает сразу ряд команд. Пока в конце конвейера завершается выполнение первой поступившей в конвейер команды, в него поступают новые команды и начинается их обработка. Таким образом, в конвейере идет одновременное (или, как говорят, параллельное) выполнение ряда команд.Корпус и системная (материнская) плата ПК
Современный ПК выполнен в корпусе из металла или пластмассы. Металлический корпус служит экраном, уменьшающим излучение узлов ПК, поэтому он более предпочтителен. Различают корпуса настольных ПК с горизонтальным расположением (desktop – рис. 3.4) и с вертикальным типа башенки (tower - рис. 3.7).Рис. 3.7. Расположение основных узлов системного блока
Основные узлы ПК сосредоточены на его системной (материнской) плате (рис. 3.8). Это многослойная печатная плата из диэлектрика (чаще всего стеклотекстолита) с несколькими слоями соединительных проводников. Рис. 3.8. Материнская плата ПК формата ATX для ПК с процессорами Pentium III или Celeron
В настоящее время корпуса и системные платы выпускаются в основном формата ATX. Вентилятор источника электропитания такого корпуса загоняет воздух внутрь корпуса. Модуль микропроцессора с радиатором располагается прямо у выходного отверстия вентилятора источника питания, что усиливает охлаждение микропроцессора. У плат формата ATX удобно расположены многочисленные разъемы, что уменьшает длину плоских кабелей.
Разумеется, помимо стандартных корпусов есть масса и нестандартных. Некоторые разработчики вернулись к идее «досок», объединив клавиатуру с системным блоком. Другие объединяют системный блок с дисплеем. В архитектуре ПК от этого ничего не меняется - она остается шинной архитектурой.
Ламповые ЭВМ первого поколения
Первые ламповые ЭВМ занимали целые залы, требовали охлаждения и даже кондиционирования воздуха помещений и отличались низкой надежностью. Одна из таких машин - «ЭНИАК» (США) - содержала 18 000 электронных ламп, занимала площадь 170 кв. метров и весила 30 тонн (рис. 1.15). Зато вместо нескольких операций в секунду, что было характерно для механических арифмометров, эта машина могла выполнять до 5000 двоичных операций сложения в секунду и до 300 двоичных операций умножения.Рис. 1.15. Зал с ЭВМ «ЭНИАК»
Ввод информации в «ЭНИАК» производился с помощью массивных переключателей и коммутационного пульта, наподобие коммутационных пультов на старых АТС. Каждый час выходило из строя в среднем до 60 ламп компьютера, так что половина времени работы машины уходила на ее профилактику и ремонт.
ЭВМ Mark-1 могла уже работать с 23-разрядными десятичными цифрами, затрачивая на их сложение 0,3 секунды, а на умножение - до 4 секунд. В этой машине было 750 000 деталей. Первые массовые серийные ЭВМ UNIVAC появились за рубежом лишь в 1951 году.
В СССР первая малая вычислительная машина МЭСМ была создана под руководством советского академика С. А. Лебедева в 1951 году. А наша большая вычислительная машина БЭСМ (Большая Электронная Счетная Машина), созданная годом позже, была крупнейшей в Европе и самой скоростной (10 000 операций в секунду). В последующем были созданы ЭВМ БЭСМ-2, БЭСМ-3 и БЭСМ-4 (последняя имела скорость счета до 1 миллиона операций в секунду). С 1953 года стали выпускаться первые серийные советские ЭВМ «Стрела», М-2 и «Урал».
Линии проводные и кабельные
Из практики мы знаем, что стоит подключить генератор электроэнергии (например, батарейку) к нагрузке (например, лампочке) парой проводов (линией), как можно наблюдать за передачей электрической энергии по линии (лампочка будет светиться). Однако такой простой опыт скрывает от нас многие детали динамики передачи энергии. Хотя главное ясно - линии передачи служат для направленной передачи чего-то (электроэнергии, сигналов, воды, газа и т.д.) от источника к получателю.Из курса физики известно, что провода линии имеют индуктивность L и емкость между собой C. При этом эти параметры распределенные и образуют фильтр, ослабляющий высокие частоты. К тому же провода начинают излучать энергию в виде электромагнитного излучения. В результате передача переменного тока высокой частоты или сигналов в виде таких токов становится проблемой.
Одно из решений этой проблемы - применение так называемых коаксиальных кабелей. Они представляют собой тонкий провод, помещенный в экранирующую трубку, заполненную диэлектриком. Кабели характеризуются погонной индуктивностью L1 и емкостью C1 на единицу длины (чаще всего метр). При передаче сигнал задерживается на величину погонной задержки
. Кроме того, кабель имеет так называемое волновое сопротивление
. Если со стороны источника сигнала и нагрузки кабель нагружен на это сопротивление, то имеет место режим согласования, при котором форма сигнала искажается мало. В противном случае в кабеле возникают так называемые отражения, и форма сигнала сильно искажается. Типичное волновое сопротивление кабелей составляет 50, 75 или 100 Ом.
Довольно часто применяют сети, провода которых образуют витую пару. Ее свойства напоминают свойства коаксиального кабеля, но витая пара куда проще по конструкции и дешевле. Компьютерные сети на витой паре могут передавать цифровые сигналы со скоростью до 100 Мбит/c и выше.
Кабельные сети и сети на витой паре широко применяются для связи между компьютерами, объединенными в небольшие сети, называемые локальными сетями. Например, это могут быть сети для объединения 15-30 компьютеров учебного класса в университете или даже сети крупного предприятия, имеющего сотни и тысячи компьютеров. Для этого компьютеры должны иметь так называемые сетевые карты
и специальное программное (как говорят, сетевое) обеспечение.
Логические устройства и схемы
Задолго до появления электронных приборов была разработана алгебра Буля, описывающая работу логических устройств. Буль показал, что любые логические и вычислительные операции можно выполнить, имея всего три типа логических устройств – инвертор NO (НЕ), устройство логического сложения AND (И) и устройство логического умножения OR (ИЛИ). Более того, это возможно при использовании всего двух комбинированных устройств - AND-NO и OR-NO.Все эти устройства в настоящее время выпускаются в составе БИС и СБИС, так что конкретные электрические схемы их пользователю неизвестны (да и не нужны). Надо учиться воспринимать их как «черные ящики», которые описываются функциональными зависимостями выходных сигналов от входных.
Инвертор просто инвертирует логический сигнал на его единственном входе. Если на входе действует логический 0, то на выходе будет логическая единица, а если на входе будет логическая 1, то на выходе появится логический 0. Соединив два инвертора в кольцо, можно получить двухстабильное устройство – триггер. Попробуйте сделать это мысленно и убедитесь, что оба состояния и впрямь стабильны.
Двухвходовая схема логического сложения работает следующим образом: если сумма входных сигналов отлична от нуля, то на выходе будет сигнал логической единицы, иначе – логического нуля. А двухвходовая схема логического умножения функционирует так – если произведение сигналов на входа отлично от нуля, то на выходе будет логическая 1, иначе – логический 0. Если на выходе этих схем стоит инвертор, то выходные сигналы будут инвертированы.
Удобно описывать работу логических устройств так называемой таблицей истинности:
NO AND AND-NO OR OR-NO
i o i1 i2 o o i1 i2 o o
0 1 0 0 0 1 0 0 0 1
1 0 1 0 1 0 1 0 0 1
0 1 1 0 0 1 0 1
1 1 1 0 1 1 1 0
Она устанавливает связь между логическими значениями сигналов на входах (i – input) логических устройств и сигналом на их выходе (o – output).
Эти схемы составляют основу арифметико-логического устройства (АЛУ) процессоров и микропроцессоров. Будучи выполненными на описанных выше сверхскоростных транзисторах, такие схемы обладают уникально высоким быстродействием.
Математический сопроцессор
Математический сопроцессор – это «машина», мало уступающая самому процессору по сложности схемы и числу компонентов. Он призван устранить главный недостаток микропроцессора – резкое снижение скорости вычислений для данных, представленных числами с плавающей точкой. Такие данные повсеместно встречаются при графических построениях или при работе с мультимедиа.Начиная с процессоров 486 математический сопроцессор включается в состав собственно микропроцессора и берет на себя все функции быстрых вычислений, как только обнаруживается, что данные представлены в форме чисел с плавающей точкой. Кроме того, математический сопроцессор реализует довольно сложные алгоритмы точного (около 20 верных знаков) вычисления различных математических функций, например, квадратного корня, логарифма, синуса, косинуса и т.д. Множество таких команд используется при реализации трехмерной графики.
Мера информации по ШеннонуÄ
Обычно нам приходится работать в условиях неполных знаний об интересующей нас информационной системе. Поступающая к нам информация носит чаще всего статистический характер. Мы можем, скажем, лишь отчасти знать, какой процент населения поддерживает нашего президента или какую часть новорожденных составляют мальчики. Абсолютно точно этого узнать нельзя из-за ошибок в подсчете и постоянного изменения данных (информационного шума).Допустим, что до получения информационного сообщения пользователь информационной системой имел предварительные (априорные) сведения о системе – a. Его неосведомленность о системе определяется энтропией H(a). С получением сообщения b неопределенность сведений о системе становится равной Hb(a). Тогда количество информации в сообщении будет равно
Ib(a) = H(a) - Hb(a).
Следовательно, количество информации определяется уменьшением неопределенности состояния системы. Если конечная неопределенность Hb(a) становится равной 0, то неполное знание о системе H(a) будет заменено полным знанием, что означает Ib(a) = H(a).
Пусть некоторая информационная система имеет N возможных состояний. Один из крупных специалистов в информатике Шеннон показал, что энтропия системы, как мера недостающей информации о ней, определяется выражением:
,где Pi – вероятность нахождения системы в i-ом состоянии. Если все состояния системы равновероятны, то имеем:
.Заметим, что N = mn, где m – основание системы исчисления, n – число разрядов (символов) в сообщении. Коэффициентом или степенью информативности сообщения называют отношение количества информации I
к объему данных в сообщении, т. е. величина
.Эта величина лежит в интервале 0
Место и значение ТСО в учебном процессе
Социальный заказ общества системе образования заключается в повышении качества образования. Это предполагает совершенствование содержания образования, методов и средств обучения.Содержание образования, отвечая на вопрос «чему учить?», представляет собой систему знаний, умений и навыков, которые должны усвоить учащиеся. Оно регламентируется учебными планами и раскрывается в учебниках и учебных пособиях.
Методы обучения, отвечая на вопрос «как учить?», представляют собой способы решения учебно-воспитательных задач.
Средства обучения, отвечая на вопрос «с помощью чего учить?», формируют информационную среду обучения (ИСО), в которой происходит реализация методов обучения. Мы уже рассмотрели ее в Главе 1.
Методы и средства обучения тесно взаимосвязаны. Наряду с объяснительно-иллюстративными, большое внимание уделяется методам, позволяющим раскрыть творческие возможности учащихся, стимулировать и активизировать их самостоятельную работу. Средства обучения, среди которых основное место занимают технические средства обучения (ТСО), должны создать необходимые условия для реализации этих методов.
Но ТСО нельзя рассматривать только как инструмент, используемый при практической реализации методов обучения. Развиваясь на основе достижений научно-технического прогресса в области информатизации общества, ТСО обогащают методы обучения и стимулируют появление новых методов, что позволяет ставить вопрос о новой информационной технологии обучения.
Поэтому под ТСО следует понимать элементы информационной среды обучения (ИСО), позволяющие на качественно новом уровне, с использованием новых информационных технологий (НИТ), реализовать учебно-воспитательный процесс, повысить его эффективность и качество.
Знание возможностей ТСО и умение методически эффективно применять их в своей работе совершенно необходимы и являются одним из показателей профессиональной подготовки будущего учителя, поэтому учебным планом предусмотрено изучение студентами всех специальностей педагогических вузов курса «Технические и аудиовизуальные средства обучения».
Методические указания
Обратите особое внимание на формулировку основных положений, относящихся к информации, сообщениям и сигналам. Приведите дополнительные примеры полезного применения новых информационных технологий. Ответьте на 10 главных вопросов. Подготовьте дополнительные вопросы по материалам этой главы, используя для этого подробное оглавление. Постарайтесь кратко ответить на все эти вопросы.Обратите особое внимание на принципиальные возможности микропроцессоров и эволюцию их развития. Проследите, как менялось общение процессоров с памятью и какие средства вводились для повышения их быстродействия и снижения потребления электроэнергии. Ответьте на 10 главных вопросов. Составьте дополнительные вопросы и кратко ответьте на них.
Обратите внимание на поучительную историю создания ПК и эволюцию его архитектуры. Проследите за улучшением характеристик основных узлов ПК – процессоров, шин, средств доступа к памяти, устройств внешней памяти, устройств ввода/вывода и др. Изучите эволюцию конструкции ПК – от настольных ПК до ноутбуков и КПК. Ответьте на 10 главных вопросов. Подготовьте дополнительные вопросы и ответьте на них.
Разберитесь в особенностях и возможностях проводных, кабельных и световолоконных линий связи. Уясните особенности сетей различного назначения. Оцените возможности сетей сотовой радиотелефонии и Интернета. Ответьте на 10 основных вопросов и подготовьте дополнительные вопросы.
Обратите внимание на рост возможностей средств ТСО, обусловленный переходом от аналоговых средств обработки и представления звуков и изображений к современным цифровым методам. Изучите состав современных средств ТСО и сравните их с теми, которые есть в вашем университете (вузе). Ответьте на 10 главных вопросов. Подготовьте дополнительные вопросы и ответьте на них.
Микрофоны динамические
Микрофон–устройство, преобразующее звуковые колебания в электрические. Наибольшее применение получил электродинамический микрофон, устройство которого схематично показано на рис.5.2. Внешний вид электродинамического микрофона показан на рис. 5.4. Звуковая волна вызывает колебания легкой пластмассовой диафрагмы, на которой закреплена звуковая катушка, находящаяся в магнитном поле постоянного магнита. При колебаниях катушки в ней наводится ЭДС переменного тока (звукового сигнала, которая подается на вход усилителя.

Рис. 5.4. Электродинамический монофонический микрофон Sony Fv 1202 (слева показан разъем микрофона и переходник)
Основными параметрами микрофонов являются номинальный диапазон частот, чувствительность и характеристика направленности. Номинальный диапазон частот – диапазон частот, в котором микрофон обеспечивает параметры, указанные в его паспорте. Диапазон частот обычно находится в пределах от 50-100 Гц до 10-25 КГц. Чувствительность характеризует величину ЭДС, создаваемой микрофоном, в зависимости от величины звукового давления.
Микрофоны электретные
Наряду с электродинамическими микрофонами выпускаются дешевые электретные микрофоны. Эти микрофоны имеют пьезоэлектрическую пластину, с одной стороны наглухо закрепленную, а с другой – прикрепленную к диафрагме. Колебания пластины ведут к появлению на ее обкладках ЭДС - звукового сигнала. Существуют также конденсаторные микрофоны. Они обеспечивают высокое качество преобразования звука, но дороги и применяются в студиях звукозаписи.На рис. 5.5 показан современный электретный микрофон Sony ECM-Z60.



Это остронаправленный микрофон с частотным диапазоном

100-10000 Гц .



Выходное сопротивление микрофона

2.8 кОм ±30%

, выходное напряжение

-36 ±3,5 дБ (0 дБ = 1В/Па) на частоте 1000 Гц. Этот микрофон активный, он имеет встроенный усилитель.



Питание осуществляется от батареи

CR2025, которой хватает на 300 часов работы.



Размер устройства

16´106´22 мм.



Длина шнура

1 м,
в



ес

21 г (со шнуром).
Рис. 5.5. Электретный монофонический микрофон Sony ECM-Z60 (снизу показан разъем микрофона)Для записи стереофонических звуков применяется два отдельных микрофона. Однако созданы и специальные стереофонические микрофоны, в которых два микрофона (для левого и правого каналов) размещены в одном корпусе. Такой стереомикрофон, разработанный фирмой Sony, представлен на рис. 5.6.

Рис. 5.6. Стереофонический микрофон Sony ECMMS 9071 для записи на цифровые носители
Существует также масса конструкций встроенных в различные устройства (сотовые телефоны, магнитофоны, диктофоны и т.д.) миниатюрных микрофонов. Как правило, это простые микрофоны, рассчитанные на запись звуковых сигналов речи. Наивысшее качество записи дают дорогие студийные микрофоны.
Микромеханика на кремниевом кристаллеÄ
Из экзотических достижений современной микроэлектроники стоит отметить электромеханику на кристалле кремния (MEMS). Речь идет о создании механических защелок, поворотных зеркал, разнообразных механических резонаторов и прочих электромеханических устройств, реализованных на кристалле кремния методами современной микроэлектронной технологии.Это сверхминиатюрные механические конструкции на кремнии обладают настолько ничтожным весом, что могут перемещаться, поворачиваться и колебаться с невероятно большими частотами, достигающими многих гигагерц. Тем самым открываются возможности создания принципиально новых устройств функциональной электроники, заменяющих громоздкие катушки индуктивности, кварцевые резонаторы, фильтры и прочие устройства аналоговой техники.
MEMS открывают возможности интеграции СБИС с разнообразным периферийным оборудованием, они могут выполнять функции лазерных проекторов изображений на большой экран, печатающих устройств и т.д. Могут создаваться электромеханические фильтры на основе MEMS, столь необходимые для устройств связи. MEMS могут выполнять функции микрохолодильников, различных датчиков, гироскопов, СВЧ- и оптических коммутаторов и др. устройств.
Микропроцессор Strong ARM SA-Ä
Ввиду особой роли микропроцессора Strong ARM SA-1110 стоит рассмотреть его возможности более подробно. Этот процессор служит для создания различных мультимедиа устройств.Strong ARM SA-1110 - 32-разрядный RISC процессор с тактовой частотой 206 МГц. Процессор поддерживает 100-мегагерцовую шину данных и память SDRAM и SMROM. Встроенная в процессор кэш-память уровня L2 имеет размер 8 Кбайт для данных и 16 Кбайт для инструкций. Имеется также мини-кэш Minicashe уровня L1 с емкостью 512 байт с повышенной скоростью работы. С помощью контроллера памяти Memory&PCMCIA Controller поддерживается работа со многими видами памяти. Реализуются до 28 прерываний (модуль Interrupt Controller) и прямой доступ к памяти (модуль DMA).
Для КПК важна поддержка технологий энергосбережения, осуществляемая модулем Power Manager. Процессор содержит также модули осциллятора, системного таймера, буфера данных и др. Модули периферийного контроля поддерживают жидкокристаллический дисплей, инфракрасный порт IrDA, последовательные порты RS-232 и USB, интерфейс кодеков.
Процессор заключен в 256-контактный миниатюрный BGA корпус. Вычислительная мощность процессора вполне достаточна для быстрого декодирование файлов MP3 музыки и файлов MPEG-4 сжатого видео.
Микропроцессор XscaleÄ
В начале 2002 года состоялся дебют новейшего микропроцессора для КПК - Xscale от Intel. Эти 32-разрядные микропроцессоры являются развитием StrongARM и программно с ними совместимы. Выпускается два варианта новых процессоров – PXA210 и PXA250 (Cotulla и Sabinal соответственно). Обе модели имеют кэш на 64 Кбайт, встроенный контроллер памяти и контроллер ЖК-дисплея. Модель PXA210 работает на тактовых частотах от 200 МГц, а рабочие частоты PXA250 (рис. 2.6) начинаются с 400 МГц. Планируется выпуск вариантов процессора с тактовой частотой 1 ГГц.Рис. 2.6. Микропроцессор Xscale PXA250 корпорации Intel
В этих процессорах ради экономии электрической энергии частота работы сделана плавающей. Она автоматически понижается, если КПК используется не на всю свою мощь, и повышается до номинального значения, если процессор ведет интенсивные вычисления.
С такими процессорами уже выпускаются КПК класса Pocket PC 2002. Первые модели таких КПК уже появились на прилавках магазинов. Любопытно, что реальная скорость их лишь на 10-15% выше скорости работы КПК на процессоре Strong ARM SA-1110. Причина этого кроется в отставании программного обеспечения для новых процессоров, которое включало бы в работу возможности новейших микропроцессоров в полной мере.
Микропроцессоры других фирм
Кроме Intel микропроцессоры для ПК выпускают и другие фирмы. Полезно оценить и их возможности.Микропроцессоры фирм Digital и Cyrix
Разумеется, микропроцессоры выпускаются и рядом других фирм. Из мощных и высокопроизводительных микропроцессоров надо отметить микропроцессоры Alpha фирмы Digital класса RISC. Но эти приборы не предназначены для массовых ПК и широкого распространения в России не получили. В то же время компьютеры на этих процессорах широко используются в киноиндустрии для создания спецэффектов.Совсем иную нишу – дешевых ПК – заняли процессоры фирмы Cyrix – M1, M-II, M-II+, M3 и др. Однако у нас эти процессоры мало известны и применяются очень редко. Их нишу заняли процессоры Celeron корпорации Intel.
Мир накануне появления персональных компьютеров
К концу 70-х годов многие известные западные фирмы (Digital Equipment, Hewlett Packard, Texas Instument и др.) стали производить настольные ЭВМ, внешне напоминающие современные персональные компьютеры (ПК). Но они делались для собственных нужд, были безумно дороги и мало известны. Пальма первенства в создании персональных компьютеров (ПК) досталась другим.Небольшая компания Scelbi Computer сумела первой создать и продать около 200 наборов для любительской сборки компьютера на 8-разрядном микропроцессоре Intel 8008 с ценой около 500 $.
Еще более доступным (цена 360 $) оказался следующий процессор фирмы Intel - 8080. Фирма MITS применила его для выпуска радиолюбительского набора Altair 8800. Хотя в набор входил уже с десяток микросхем, его стоимость не превышала 400 $, поскольку глава фирмы Эдвард Робертс сумел получить приличные скидки на приобретение процессоров для своей новой продукции, неплохо и популярно рекламирующей их возможности.
Пожалуй, в Altair был впервые предусмотрен современный модульный принцип построения ПК. Для этого в набор была включена плата с процессором, имеющая четыре разъема - слота для расширения компьютера. Емкость ОЗУ этого компьютера составляла всего 256 байт с возможностью увеличения до 16 Кбайт с помощью платы памяти. Компьютер имел стандартный последовательный интерфейс RS-232. А для программирования компьютера использовались машинные коды и интерпретатор языка высокого уровня - Бейсика. Его написал глава будущей империи программных средств (фирмы Microsoft) сам Билл Гейтс.
Пользователей Altair в то время не смущал ввод команд прямо в машинных кодах с помощью множества переключателей и загрузка Бейсика с телетайпа в течение целых 40 минут. Еще несколько минут требовалось для безупречно точного ввода кодов Бейсика. В случае малейшей ошибки ввод приходилось повторять с самого начала.
Мобильные компьютеры - ноутбуки
Мобильные компьютеры блокнотного размера - ноутбуки (notebboks) ныне нередко полноценно заменяют настольные ПК, хотя весят раз в десять меньше их – рис. 3.27. Ноутбуки имеют плоский дисплей приличного размера, почти полноразмерную клавиатуру и жесткий диск большой емкости. Питаются они от литий-ионных аккумуляторов, дающих время автономной работы от 2-3 до 10 часов. Вместо мыши ноутбуки используют встроенный графический манипулятор – тоучпад. Рис. 3.27. Ноутбук фирмы Gericom на микропроцессоре Pentium 4
Ноутбуки типа «все в одном» среднего класса стоят порядка 1000 $. В ноутбуках третьй категории, второй категории применяют самые миниатюрные компоненты, а они более дороги, чем обычные компоненты. Такие ноутбуки - прекрасная находка для менеджера, находящегося в постоянных разъездах, или для журналиста.
Многие фирмы выпускают ноутбуки этого класса. Как пример, стоит отметить миниатюрные ноутбуки компании Fujitsu серий 1000 и 2000 – рис. 3.28. Ширина этих малюток ограничена шириной лотка встроенного (это здорово!) CD-ROM-драйва. А почти вся площадь верхней панели отведена на изящную клавиатуру. Это достигнуто благодаря применению миниатюрного тоучпада.

Рис. 3.28. Ноутбуки серий 1000 и 2000 компании Fujitsu
Но особенно приятно отметить, что эти малютки имеют мощнейшее вооружение. Чего только стоит сенсорный экран (дигитайзер) и ручка для работы с ним. Вообще такой экран в ноутбуках применяется довольно редко. Он обязательная принадлежность иного класса ПК – карманных компьютеров.
Еще более малогабаритные ноутбуки выпускает корпорация Sony. Эта фирма выпускает ноутбуки весом от 1 кг и ниже, как на процессорах класса Intel, так и на процессорах TM5600. Так, ноутбук Transmeta Crusoe (рис. 3.29) с процессором TM5600 667 МГц имеет ОЗУ 64Mбайт (максимально до 192 Mбайт), жесткий диск 9 Гбайт, TFT экран на 8,9 дюйма с разрешением 1024´480 пикселей, видеоадаптер с видеопамятью 8 Mбайт VRAM/ 3D с поддержкой MPEG1 и встроенной видеокамерой. Рис. 3.29. Ноутбук Transmeta Crusoe фирмы Sony – карлик среди карликов
Габариты этого чуда техники 249´152´27 мм, а вес - 1 кг. Литий-ионная батарея обеспечивает время работы от 1.5 до 5 часов. Гибкий диск поставляется опционально с USB интерфейсом. Цена малютки не маленькая - от 1534 до 2835 $, но не запредельная!
На базе этих ноутбуков Sony создала новый вид ноутбуков – Picture Book. Они предназначены для просмотра электронных книг, получаемых по локальной сети или из Интернета и хранящихся на жестком диске. Их размеры - 249´152´25 мм и вес - 1 кг.
Множество миниатюрных машин данного класса выпускает корпорация Toshiba. Некоторые из них имеют вес около 1 кг и меньше. Фирма Casio также выпускает ноутбуки с весом менее 1 кг.
Есть еще один класс ноутбуков – специальные. Это промышленные ноутбуки и модели для тяжелых климатических условий – например, для работы на морозе и под дождем. К сожалению, это очень дорогие устройства – их цена нередко выше 5000 $.
Мобильные телефоны с расширенными возможностями
Мобильные телефоны интенсивно развиваются, и в них включаются все новые и новые средства. Так, новое поколение мобильных телефонов имеет ряд новых средств:· средства голосового вызова и управления телефоном;
· инфракрасный порт для беспроводной связи двух расположенных рядом устройств;
· Bluetooth - модуль беспроводной связи различных устройств друг с другом, на расстоянии 10 м, путем образования микросети;
· беспроводный модем, дающий прямой выход в Интернет;
· средства для получения и отсылки коротких текстовых сообщений SMS;
· средства, использующие службу WAP (Wireless Application Protocol) для низкоскоростного доступа в Интернет;
· средства новой службы пакетной радиопередачи данных GPRS (General Packet Radio Service) с умеренной скоростью доступа в Интернет;
· средства электронной почты Email;
· средства, превращающие телефон в цифровой диктофон;
· проигрыватель музыкальных MP3-файлов.
Наряду с работой самого телефона в Интернете его беспроводный модем может использоваться компьютером, связанным с телефоном через инфракрасный порт или кабель. К сожалению, типовая скорость обмена информацией при использовании службы WAP составляет 9,6 Кбит/c, тогда как обычный проводной Интернет может работать со скоростью до 33-56 Кбит/c.
Помимо службы WAP выход в Интернет дает еще одна, сравнительно новая служба - GPRS (General Packet Radio Service). Она обеспечивает максимальную скорость передачи данных до 144 Кбит/c (на практике до 40-45 Кбит/c). В телефонах поколения G3 она достигнет 2 Мбайт/c, что достаточно для осуществления видеотелефонии.
И первые мобильные видеотелефоны уже появились.
Существуют мобильные телефоны с приемником системы глобального позиционирования на местности (Global Positions System или GPS). Это достаточно редкие и дорогие аппараты. Обычно они относятся к профессиональным и продаются редко.
Следует отметить, что специальные возможности сотовых телефонов требуют специальной настройки, которая обычно не под силу обычным пользователям и производится в сервисных центрах. Кроме того, как правило, такие возможности требуют подписки на них и дополнительной оплаты.
В последнее время появились аппараты, которые объединяют в себе возможности карманных компьютеров и мобильных телефонов. Некоторые содержат даже встроенные видеокамеры (рис. 4.13). Такие аппараты называются коммуникаторами, или смартфонами. Рис. 4.13. Современный коммуникатор компании Samsung с встроенной видеокамерой
Это дорогие и пока редко покупаемые устройства. Но им, несомненно, принадлежит будущее, поскольку как КПК, так и мобильные телефоны содержат много общих компонентов (микропроцессор, память, клавиатура, дисплей и т.д.). Их интеграция стала велением времени.
Мобильные вычисления и мобильные компьютеры
С появлением БИС исполнилась мечта многих людей – стали возможными мобильные вычисления, а точнее говоря - полноценная работа на миниатюрных компьютерах с автономным электропитанием. Их можно применять повсюду – дома и в офисе, при переездах на железнодорожном и автомобильном транспорте, при перелетах на самолетах, во время отдыха на даче или даже на пляже. Рассмотрим основные средства мобильных вычислений.Накопители на гибких дисках (встроенные и внешние)
Для обмена файлами между компьютерами и при поставке простых программных продуктов до сих пор широко используются дешевые гибкие магнитные диски. Структура записи информации на них та же, что и на жестких дисках.
Диски диаметром 5.25 дюйма заключены в конверт, имеют емкость 1.2 Мбайта. Из-за низкой механической прочности и больших размеров такие диски считаются устаревшими. Диски диаметром 3.5 дюйма с типовой емкостью 1.44 Мбайта миниатюрны и заключены в прочный пластмассовый несгибаемый конверт (рис. 3.13). Они хорошо защищены от пыли и удобны в работе. Рис. 3.13. Внешний вид гибкого диска с диаметром 3.5 дюйма
Диск в защитном конверте вставляется в щель накопителя (рис. 3.14) и фиксируется в нем (это обычно сопровождается характерным щелчком). После использования гибкий диск можно вынуть, нажав кнопку на передней панели накопителя. Диск частично выйдет из щели, и его можно будет вынуть рукой.
Следует помнить, что диск перед использованием должен быть отформатирован. Сейчас диски часто продаются уже отформатированными и годными к работе.
Рис.3.14. Установка гибкого диска в накопительНакопители на жестких дисках
Жесткий диск – это кружок из немагнитного материала, на одну или обе поверхности которого нанесен тонкий магнитный слой. Материал диска должен мало деформироваться при изменении температуры и не разрушаться при большой скорости вращения дисков - до 10000 оборотов в минуту.На диске имеется система неделимых сегментов информации – кластеров, входящих в магнитную дорожку – окружность. Совокупность таких дорожек с одним диаметром окружности на нескольких дисках образует цилиндр. Блок головок записи/считывания может достаточно быстро устанавливаться на нужный цилиндр, а переключением головок можно быстро выбрать нужную дорожку.
Накопитель (рис. 3.11) может содержать один или несколько скрепленных вместе дисков, постоянно вращающихся с помощью электродвигателя. На специальной стреле или радиально перемещающемся блоке установлены магнитные головки записи/считывания, с помощью которых можно записывать и считывать информацию. Для перемещения блока головок используют соленоиды - электромагниты. Они, как и прочие компоненты накопителя, управляются электроникой накопителя, выполненной на его печатной плате.Рис. 3.11. Вид электромеханики накопителя на жестком диске
Благодаря уплотнению воздуха под головкой она не касается диска, а как бы плывет над ним. Чем меньше прослойка воздуха, тем выше плотность записи на магнитных дисках.
Внешне накопитель на жестких дисках выглядит как закрытый прямоугольный корпус (рис. 3.12). С задней стороны его имеются разъемы для подключения интерфейсного кабеля и кабеля электропитания. Иногда есть и переключатели режимов работы накопителя. Рис. 3.12. Внешний вид нескольких накопителей на жестких дисках
Нанотехнологии в микроэлектронике
Интегральная электроника устремлена в будущее. Недаром эмблемой фирмы Intel были и люди в космических скафандрах (на самом деле они нужны были для защиты микросхем от банальной пыли и перхоти) и забавные марсиане, символизирующие «космические» достижения Intel в развитии микроэлектроники. Заметим, что только в 2002 году затраты Intel на проведение научных исследований составили более 4 миллиардов долларов.Чтобы микропроцессоры с сотнями миллионов транзисторов не превратились попутно в микроволновые печи (а такая перспектива при работе процессоров на частотах в единицы ГГц, увы, есть), Intel ведет исследования в области нанотехнологий (1 нм = 10-9 м). Уже пал барьер геометрического разрешения в 0,1 мкм. Опытные образцы создаются уже по технологии 90 мкм. А с помощью установок фотолитографии с жесткими ультрафиолетовыми лучами (EUV) удалось получить разрешение менее 50 мкм.
Толщина диэлектрика полевых транзисторов ныне составляет менее 1,2 нм, что достигается созданием самоформирующихся слоев диэлектрика с толщиной в 3-5 атомных слоев! Уже нынешний уровень развития нанотехнологии позволяет создавать пластины и трубки толщиной в атомный слой, так что возможности этого направления почти безграничны.
Непрерывные (аналоговые) сигналы
Для быстрой передачи сообщений используются сигналы, которые представляют собой наложение сообщений на тот или иной носитель информации, способный быстро перемещать сигналы. Физическая природа сигналов может быть самой различной – ток в проводах, звуковые и электромагнитные волны или свет.Сигналы могут быть аналоговыми (непрерывными) и дискретными, т. е. представляемыми дискретными уровнями. Аналоговые сигналы характеризуется плавным и непрерывным изменением их параметров, например величины электрического тока или напряжения для электрических сигналов. Примером такого сигнала является синусоидальный электрический сигнал (рис. 1.2)
u(t) = Uм ×sin(w×t+j),
где Uм – амплитуда синусоидального сигнала, w - круговая частота и
j
- фаза.

Рис. 1.2. Синусоидальный (a), амплитудно-модулированный (б) и частотно-модулированный (с) сигналы
Круговая частота связана с обычной частотой выражением
w = 2×p×f = 2×p/T.
Частота f - это число периодов T синусоидального сигнала в единицу времени (секунду или с). Она измеряется в герцах (Гц). Один Герц это один период колебаний в секунду (единица названа в честь Герца, теоретически обосновавшего существование электромагнитных волн, распространяющихся в пространстве).
Фундаментальное значение синусоидального сигнала состоит в том, что этот сигнал является стационарным. Это значит, что его параметры Uм , w и j являются постоянными величинами. Этот сигнал определен во времени в пределах от –¥ до +¥. Он периодический u(t)= u(t+T) и симметричный u(t)=- u(-t).
Можно сказать, что синусоида описывает простейшее (а потому названное гармоническим) движение, параметры которого неизменны. Однако основные параметры этого сигнала могут непрерывно и плавно меняться во времени. Такое изменение называется модуляцией
сигнала. Например, амплитудная модуляция (рис. 1.3,б) описывается выражением:
u(t) = Uм(t)×sin(w×t +j),
где Uм(t) – зависимость амплитуды от времени. Сигнал такого вида называется амплитудно-модулированным. Строго говоря, он является уже нестационарным и даже не синусоидальным.
Если Uм(t) несет некоторую информацию, то говорят о наложении этой информации на синусоидальный сигнал. И если такой сигнал имеет высокую частоту f=1/T, то сигнал может распространяться в свободном пространстве как электромагнитная волна со скоростью света (300 000 км/c). На этом и основана радиосвязь. Расстояние, которое проходит волна за один период, называется длиной волны. Отсюда пошло деление волн на короткие и ультракороткие, средние и длинные волны.
Заметим, что синусоидальный сигнал может моделироваться еще и по частоте, и по фазе. Этому соответствует частотная модуляция
(рис. 1.2,в) и фазовая модуляция, которые (как и их комбинации) широко используются на практике в радиотехнических системах.
Аналоговые сигналы одного вида легко преобразуются в аналоговые сигналы другого вида. Например, микрофон преобразует звуковые колебания в электрические звуковые сигналы. Если звуковой сигнал синусоидальный, то сигнал на выходе микрофона будет синусоидальным напряжением с примесью некоторого шума e(t):
u(t) = Кп× A(t) × sin(w×t +j) + e(t) = Uм(t) × sin(w×t +j) + e(t),
где Kп – коэффициент преобразования силы звука в электрическое напряжение. Если Kп = const и не зависит от уровня сигнала, то преобразование считается линейным. В ином случае оно будет нелинейным. При линейных преобразованиях форма синусоидального сигнала не меняется, хотя может возникнуть его сдвиг по фазе.
Самым неприятным моментом в использовании аналоговой информации является ее засоренность шумами самой различной природы. Все электронные компоненты имеют шумы, и они неизбежно усиливаются в ходе усиления и преобразования сигналов. Это принципиально препятствует точному копированию аналоговой информации.Об этом хорошо знают владельцы аналоговых магнитофонов и видеомагнитофонов – при копировании записей их качество ухудшается от записи к записи.
На практике используется великое множество и несинусоидальных сигналов, например импульсные сигналы пилообразной, прямоугольной и иной формы. Математик Фурье строго доказал, что такие периодические сигналы могут быть представлены суммой синусоидальных сигналов с кратной их частоте повторения частотой k× f1, где k = 1,2,… - целое число и f1 – частота повторения сигнала. Эти сигналы называют гармониками, а значение k – номерами гармоник. Синусоидальный сигнал с частотой f1
есть первая гармоника, а сигналы с более высокими частотами называют высшими гармониками. Линейные преобразования сигналов не меняют состав гармоник, называемый спектром, а нелинейные приводят к его изменению, т. е. появлению новых гармоник.
Оперативное запоминающее устройство - ОЗУ
Для реальной работы с ПК, помимо прикладных программ, нужны еще программы, задающие выполнение компьютером хотя бы минимально необходимых рабочих операций общего характера. У современных ПК набор таких программ образует так называемую операционную систему – ОС (или OS). Если она хранится на магнитных дисках, то ее называют дисковой операционной системой– ДОС (или DOS).
После загрузки операционной системы прикладные программы и данные нужно хранить в оперативном запоминающем устройстве (ОЗУ) ПК. Программы, загружаемые в ОЗУ извне, принято называть Software (мягкое программное обеспечение).
ОЗУ выполнено на микросхемах. Информацию в произвольные их ячейки памяти можно многократно записывать и затем считывать. При отключении напряжения питания от микросхем ОЗУ эта информация теряется. На английском языке память произвольного доступа называется Random Access Memory (RAM). Данные в такой памяти в любой момент времени можно стереть и заменить новыми данными.
Микросхемы ОЗУ (RAM) бывают двух типов - статические и динамические. Статическое ОЗУ – SRAM – это просто набор триггеров с двумя устойчивыми состояниями. Объем памяти у такого устройства равен 2M, где M - число двоичных ячеек памяти. Статическое ОЗУ хранит информацию сколь угодно долго - пока включено напряжение питания. Но при его выключении ОЗУ теряет информацию.
Есть еще одно совсем простое устройство, которое тоже имеет два состояния, - это конденсатор. Если он разряжен - имеем логический 0, заряжен - логическую 1. Конденсатор с довольно простой схемой определения его заряда образует элементарную ячейку динамического ОЗУ - DRAM.
Конденсаторные ячейки памяти хранят информацию временно, и ее время от времени (т.е. в динамике) надо регенерировать. На это уходит 5-10 % времени работы ПК. Тем не менее такие ячейки получаются простыми, поэтому ОЗУ большой емкости в ПК обычно динамического типа.
У старых ПК класса IBM PC XT и AT объем памяти ОЗУ не превышал 1 Мбайта и микросхемы памяти устанавливались прямо на материнской плате, занимая порой до трети ее поверхности.
Затем стали применяться небольшие платки, называемые модулями SIMM (Single In-Line Memory Module – модуль памяти с односторонним расположением выводов).
У современных ПК применяются сдвоенные модули DIMM (Double In-Line Memmory Module), подобные показанным на рис. 3.9. Это позволяет еще больше повысить компактность расположения микросхем памяти, уменьшить длину проводов и повысить скорость доступа к ячейкам памяти. Модули памяти объединены в банки. Желательно применение в банках однотипных модулей.Рис. 3.9. Модуль памяти DIMM современного ПК
Микросхемы ОЗУ имеют страничную организацию ячеек. Это значит, что место ячейки (ее адрес) раскладывается на два компонента - адрес строки (row) и адрес столбца (column). Последние задаются двумя сигналами выборки - RAS (Row Address Strobe) и CAS (Column Address Strobe). Обычно вначале подается сигнал RAS, а затем с задержкой - сигнал CAS.
Для воспроизведения видеофильмов и компьютерных игр в последнее время были созданы усовершенствованные видеосредства – прежде всего видеоадаптеры и оптические диски. В них использованы средства стандарта MPEG, предложенного авторитетной группой экспертов в области движущихся изображений (Motion Picture Expert Group или сокращенно MPEG).
Изучение смежных телевизионных кадров реальных изображений показало, что на них меняются только небольшие фрагменты изображений, а в остальном эти кадры похожи друг на друга как две капли воды. Отсюда и появилась идея использовать для передачи кадров редкие опорные кадры, сжатые по методу JPEG (популярный стандарт сжатия отдельных рисунков), а в большую часть времени передавать только изменения в кадрах.
Было предложено два варианта метода. Первый MPEG-1 при воспроизведении дает качество изображения, характерное для аналоговых видеомагнитофонов стандарта VHS и обычных портативных видеокамер. При этом возможна программная декомпрессия изображений. Другой стандарт MPEG-2 ориентирован на получение студийного качества изображения с аппаратной декомпрессией.
Попутно была решена проблема эффективного сжатия звуковых сигналов – были созданы диски формата MP3, вмещающие полтора-два десятка альбомов музыкальных произведений. Первое время покупатели аудиодисков и CD-ROM даже не поняли, что в продаже появился новый тип оптических дисков - Video-CD. Просто на прилавках магазинов рядом с CD-ROM стали появляться диски с названиями популярных фильмов и видеоклипов популярных поп-звезд. Время воспроизведения у таких дисков невелико – до 74 минут.
Особое значение в последние годы приобрели компакт-диски нового поколения – формата MP4. Он позволяет довести время воспроизведения видеофильмов с высококачественным звуковым сопровождением до примерно 3 часов. При этом обеспечивается качество воспроизведения, вплотную приближающееся к качеству дисков DVD, но при намного меньшей стоимости дисков (у нас 2-3 $).
Организация и перспективы сотовой связи
Сотовый радиотелефон в наши дни стал одним из самых массовых устройств радиоэлектроники. Первое поколение 1G сотовой телефонии было представлено аналоговыми сотовыми сетями и телефонами. Ныне число пользователей аналоговыми сетями постепенно падает, а цифровыми - быстро растет.Второе поколение 2G – это цифровые сети и телефоны с низкоскоростным доступом в Интернет. Третье поколение 3G – это телефоны и видеотелефоны со скоростным доступом в Интернет. Пока оно внедряется лишь в Японии. Европа и США ныне внедряют промежуточное поколение 2,5G систем сотовой связи.
В июне 2001 года группа ARC Group опубликовала следующие данные о числе мобильных телефонов в мире (в миллионах штук):
Год 1999 2004 (прогноз)
Голосовые телефоны 444 1400
Телефоны с Интернетом 5 560
Одновременно ожидается, что число карманных компьютеров и интеллектуальных телефонов увеличится с 40 миллионов в 2001 году до 526 миллионов в 2005 году. Таким образом, общее число миниатюрных устройств с беспроводным подключением к Интернету достигнет к концу 2005 года более 1 миллиарда единиц. Это означает качественно новый этап в развитии как всех услуг мобильной телефонии, так и Интернета. Мир Интернета становится доступным людям в любое время и в любом месте.
Современный сотовый телефон обеспечивает беспроводную радиосвязь между абонентами, как заданной сети сотовой связи, так и абонентами обычной телефонной сети. При этом правила разговора по сотовому телефону и принципы его применения пользователями мало отличаются от общепринятых в обычной телефонии, что делает его освоение достаточно простым. Однако организация радиосвязи гораздо сложнее организации телефонной связи. Сотовая связь обеспечивает обширный набор услуг, заметно превышающий набор услуг как обычного телефона, так и телефона с цифровым набором, работающего с цифровой автоматической телефонной станцией (АТС).
Все сотовые телефоны общаются с базовой станцией, антенны которой обслуживают перекрывающиеся ячейки - соты. Общение сотовых телефонов напрямую друг с другом не предусмотрено. Передатчик сотового телефона посылает вызов на базовую станцию ближайшей ячейки (соты), которая соединяет телефон с другим аппаратом и посылает вызов на его систему приема вызова. Она подает сигнал вызова - обычно в виде мелодии или того или иного сигнала. Между телефонами осуществляется двухсторонняя (дуплексная) связь, позволяющая вести разговоры обычным способом.
При реализации сотовой связи используется метод множественного доступа и повторного использования частот (в удаленных сотах могут использоваться одни и те же частоты, что позволяет уложиться в «прокрустово ложе» частотных ограничений - рис. 4.7). Переключение между сотами происходит автоматически. Более того, возможен так называемый роуминг - переход от одной сети сотовой связи к другой (например, при переезде из одного города в другой).Рис. 4.7. Иллюстрация принципа повторного использования частот в сотах сетей сотовой связи
Существует несколько стандартов сотовой связи. Они относятся к аналоговым и цифровым сетям. Ныне аналоговые сети все еще кое-где применяются, но наблюдается их массовая замена цифровыми сетями. Из них наиболее массовыми являются сети стандарт GSM (Global System for Mobile Communication), который считается глобальным и в России принят в качестве федерального стандарта. Ниже речь идет о сотовых телефонах именно этого стандарта.
Наиболее известными поставщиками услуг сотовой связи в России являются компании «МТС» и «Би Лайн». Они имеют огромную сеть магазинов, торгующих сотовыми телефонами, аксессуарами для них и карточками для оплаты услуг сотовой связи.
Рисунок 4.8 иллюстрирует структуру организации сотовой связи. В центре каждой соты находится базовая приемопередающая станция. Она и общается с ближайшими пользователями. Управляет работами таких станций Центр коммуникации. Он и осуществляет автоматическое переключение пользователей при перемещении от одной соты к другой и выбор той соты, для которой условия связи наиболее благоприятные.

Рис. 4.8. Организация сотовой телефонной сети
Организация компьютерных сетей
Из истории создания компьютеров известно, что первые компьютеры были большими ЭВМ. Для предоставления доступа к таким ЭВМ многих пользователей стали широко использоваться локальные сети. Они нередко содержали крупную обслуживающую ЭВМ – сервер, к которой подключались упрощенные компьютеры – терминалы, или рабочие станции РС. В настоящее время они в основном заменены персональными компьютерами. Подобная звездообразная структура сети показана на рис. 4.4 сверху.
Рис. 4.4. Сосредоточенные компьютерные локальные сети
Такая структура сети имеет очевидный недостаток - выход сервера из строя вел к выходу из строя всей сети. Затем была предложена шинная архитектура сетей (рис. 4.4, снизу). При ней имелась общая для всех компьютеров шина, и они подключались к ней своими отрезками кабелей. Возможна также кольцевая структура сети (рис. 4.5).Рис. 4.5. Кольцевая структура сосредоточенной сети
Широкое распространение получили одноранговые сети, у которых все компьютеры равноценны по своим возможностям. Впрочем, роль сервера в такой сети может выполнять любой компьютер. Одноранговые сети поддерживаются операционными системами Windows 95/98/NT/2000/XP.
Для подключения ПК к сети используются сетевые карты. Из них самые распространенные карты типа Ethernet. К 2002 году в мире было выпущено более 250 миллионов таких карт со скоростью передачи данных 10 и 100 Мбит/с. На них построено множество локальных сетей во всем мире. Ныне Intel внедряет технологию городских сетей 10 Gigabit Ethernet с очень большой скоростью в 10 Гбит/c. Специально для сетевых применений созданы сетевые процессоры с архитектурой Intel Internet Exchange Architecture (Intel IXA).
Сети, структуры которых показаны на рис. 4.4 и 4.5, могут комбинироваться в различных вариантах. Сложные структуры сетей иногда называют распределенными. В них нередко имеется множество серверов и рабочих станций.
Особенности конструкции и применения современных КПК
Современные КПК имеют карманные габариты и вес, как правило, менее 200 г. Они питаются от литий-ионных или литий-полимерных аккумуляторных батарей и могут автономно работать от них от нескольких часов до 12-15 часов и выше (от батарей повышенной емкости). Все КПК имеют встроенный плоский ЖКИ экран – обычно цветной. Применяют экраны как с задней, так и с передней подсветкой, дающие хорошее изображение как в темноте, так и на ярком солнечном цвете.Функцию жесткого диска в КПК выполняет встроенная электрически перепрограммируемая флэш-память. Исполняемые программы загружаются в ОЗУ с емкостью от 2 до 64 Мбайт. У многих КПК есть слоты для внешней флэш-памяти (рис. 3.32), объем которой может достигать 1 Гбайта. Есть разные варианты карточек такой флэш-памяти. В их формате выпускаются также модемы, сетевые карты, микроминиатюрные диски (IBM Microdrive), цифровые фотоаппараты и даже видеокамеры.

Рис. 3.32. Карта дополнительной флэш-памяти для КПК формата Compact Flash I
Наиболее характерная черта почти всех КПК – применение сенсорного (чувствительного к прикосновению) экрана и палочки, называемой пером или стило. Касаясь ею экрана можно управлять окнами и меню и даже рисовать рисунки и писать рукописные тексты. По возможностям систем ввода КПК намного обогнали другие типы компьютеров. Они уже сейчас имеют с десяток систем ввода, начиная от миниатюрных клавиатур и кончая виртуальной клавиатурой (рис. 3.33).Рис. 3.33. Виртуальная клавиатура КПК класса Pocket PC 2002
Весьма оригинален рукописный ввод и распознавание символов и слов. Для него были созданы специальные системы ввода Grafitti, Recognizer, PenReader и др. Для быстрого ввода используется начальная точка и росчерк стило от нее. Два комплекта росчерков для системы PenReader представлены на рис. 3.34. Эта система допускает ввод на многих языках, включая русский язык.

Рис. 3.34. Росчерки стило при рукописном вводе по системе PenReader
Современные КПК обладают полноценными мультимедийными возможностями – от присущих цифровому магнитофону возможностей записи речи до воспроизведения музыкальных MP3 файлов и просмотра видеофильмов в слегка модифицированном формате MP4. С помощью модема или через мобильный телефон КПК могут работать в Интернете и использовать возможности электронной почты.
Многие КПК ныне оснащены самыми современными средствами беспроводной связи, например Bluetooth. Наблюдается явная тенденция к интеграции КПК с мобильными средствами связи. Уже появились устройства – коммуникаторы, объединяющие в себе сотовый телефон и карманный компьютер. Таким образом, налицо полноценные возможности применения этих новых средств во всех сферах жизни современного человека.
Особенности выбора процессоров для карманных компьютеров
До появления платформы карманных компьютеров Pocket PC в выборе микропроцессоров для КПК царил полный произвол. Нередко основным критерием является вовсе на производительность процессора, а его малое потребление электроэнергии. По этому параметру RISC процессоры обычно более предпочтительны.В КПК класса Palm использовались довольно медленные, но экономичные процессоры, такие, как DragonBall с системой команд микропроцессоров Motorola 68000, на которых были построены хорошо зарекомендовавшие себя ПК «Маки» (Apple Macintosh). Наибольшее применение поначалу имел процессор MC68EZ328 (DragonBall EZ). Это 32- разрядный процессор с тактовой частотой 16,58 или 20 МГц, но c 16- разрядной шиной данных.
Сейчас фирма Motorola производит новый процессор семейства DragonBall – MC68VZ328 (DragonBall VZ), созданный на основе Motorola DragonBall EZ (MC68EZ328). Этот процессор имеет повышенную тактовую частоту – 33 МГц и расширенную поддержку внешних устройств.
С появлением КПК на основе операционной системы Windows CE в КПК стали использоваться более мощные процессоры SH3 корпорации Hitachi с частотой 133 МГц и VR122 корпорации NEC с частотой 150 МГц. Но с приходом платформы Pocket PC 2002 выбор процессоров сузился до одного процессора - Intel Strong ARM SA-1110 c частотой 206 МГц.
Для КПК с новой операционной системы Windows CE.net может применяться широкий круг микропроцессоров:
Класс процессора Поддерживаемые типы процессоров
ARM ARM720T, AEM920T, ARM 1020T, Strong
ARM, Xscale
MIPS MIPS II/32, MIPS 16, MIPS IV/64
SHx SH-3, SH-3 DSP, SH-4
X86 486, 586, Geode, Pentium, Pentium II/III/4
От IBM PC к IBM PC XT
Вскоре IBM PC был модернизирован. Вместо кассетного магнитофона в новую модель IBM PC XT (Personal Computer eXTended version) был добавлен второй накопитель на гибком диске. IBM оснастила ПК неслыханным по тем временам для владельцев домашних компьютеров и удобным средством из арсенала больших ЭВМ - накопителем на жестком диске с емкостью от 10 до 30 Мбайт. ПК приобрел вполне современный вид (рис. 3.4).
Рис. 3.4. Один из первых персональных компьютеров IBM PC XTВ сущности, в составе ПК XT не было ничего нового. Использовалась фон Неймановская архитектура. Применялся массовый микропроцессор фирмы Intel 8088 (1979 год разработки), накопители на гибких дисках фирмы Tandon, готовые мониторы и стандартные микросхемы.
Полностью открытая архитектура ПК IBM PC XT позволяла пользователю не только узнать о нем буквально все, но и наращивать компьютер добавлением в него все новых и новых блоков и узлов. Впервые пользователь получил полный доступ к своему ПК, стал его творцом, мог модернизировать и улучшать ПК в соответствии с быстрым развитием техники и своими запросами.
К разработке узлов для IBM PC XT тут же приступили десятки, сотни, а затем и многие тысячи фирм. В результате прогресс в техническом усовершенствовании ПК класса IBM PC приобрел взрывной характер и на многие годы вперед сделал компьютеры этого клона самыми массовыми и популярными.
Для создания минимально необходимого программного обеспечения, оживляющего ПК (его именуют операционной системой), фирма IBM заключила союз с фирмой Microsoft. Та на базе одной из операционных систем для мини-ЭВМ создала в короткий срок операционную систему MS-DOS 1.0 (первая версия), которой и оснащались ПК фирмы IBM.
Вслед за IBM PC XT появилась новая модель - IBM PC AT (Advanced Technology - с усовершенствованной технологией). Объем оперативной памяти вырос до 640 Кбайт - 1 Мбайта, емкость жесткого диска увеличилась до 40 Мбайт. Благодаря применению более нового микропроцессора 286 (разработка фирмы Intel 1982 года) в несколько раз возросла скорость выполнения операций.
ПК IBM PC AT быстро стал промышленным стандартом. Его технические решения оказались настолько удачными, что и сейчас многие фирмы выпускают машины, подчеркивая их принадлежность к клону «АйТишек». Добавлений к базовой конфигурации (кэш-память и локальная шина) оказалось на удивление мало. В мире зародилась крупномасштабная индустрия ПК.
Впрочем, не все у IBM было гладко. Неудачей оказалась разработка ПК PS/2 с закрытой архитектурой первых портативных компьютеров. Дал трещину альянс с Microsoft по созданию операционной системы OS2 – Microsoft предпочла развивать свою Windows. Не удался один из первых портативных мобильных компьютеров.
Тем не менее корпорация IBM продолжила разработку и выпуск ПК. В более новых ПК появился графический манипулятор «мышь», и к ПК стали подключать микрофон и стереофоническую акустическую систему. Компьютеры стал мультимедийными (рис. 3.5). Было также освоено производство мобильных ПК – ноутбуков. Но о них речь пойдет дальше.Рис. 3.5. Мультимедийный компьютер корпорации IBM
В наши дни компьютеры IBM, как и других ведущих фирм, относятся к классу ПК «белой» сборки и именуются как brandname – продукция фирм с известным именем. Это красивые, надежные и высокопроизводительные ПК. И уже не очень дорогие.
Параллельная и последовательная передача информации
В компьютерных и вообще коммуникационных сетях обычно передается цифровая информация - данные. Они представляют собой числа или коды, передаваемые в определенные моменты времени электрическими сигналами - импульсами. При параллельном методе передачи информации каждое число преобразуется в многоразрядный двоичный код, который передается одновременно по нескольким проводам (один из проводов может быть общим или «нулевым»). Каждый провод (кроме нулевого) передает сигналы одного двоичного разряда. Например, если передаютcя три двоичных числа 1001, 1110 и 0011, то сигналы на проводах в моменты передачи этих сигналов t1, t3 и t3 будут следующие:Время: t1 t2 t3
Линия 1 1 1 0
Линия 2 0 1 0
Линия 3 0 1 1
Линия 4 1 0 1
При последовательном методе передачи информации после каждого момента начала передачи отдельного разряда данных выделяются небольшие отрезки времени, в которых сигнал задается равным 0 или 1:
Время t1 t2 t3
Линия s1001 s1100 s0011
Различают синхронную и асинхронную последовательную передачу данных. При синхронной передаче данных моменты времени на передающем и приемном конце линии передачи строго фиксируются и распределены, как правило, равномерно. В сетях используются специальные устройства - синхронизаторы для обеспечения синхронной работы сетевых устройств.
При асинхронной передаче данных эти моменты могут (но не обязательно) быть распределены произвольно. Перед каждой кодовой посылкой посылается специальный синхронизирующий импульс – в нашем примере он условно обозначен s. Для выделения он обычно имеет какой-то признак, например отличную от сигнальных импульсов длительность.
Параллельная передача обеспечивает высокую скорость передачи данных, которая задается в битах в секунду (или байтах/c). Однако шина передачи при этом сложна, так как содержит большое число проводов – оно соответствует разрядности двоичных чисел (4 в нашем примере).
При последовательном способе передачи достаточно иметь только один сигнальный провод (надо помнить и об общем проводе). На практике высокая скорость передачи достигается в последовательном способе даже проще, чем в параллельном, за счет применения высокоскоростных одиночных линий на основе коаксиальных кабелей или световолокна (в световолокне луч света распространяется за счет многократных отражений от стенок).
Параметры накопителей на жестких дисках
Жесткие диски имеют ряд параметров. Прежде всего это форм-фактор - диаметр дисков в дюймах (5,25, 3,5, 2,5, 1,8 и т.д. дюйма). Далее важны число цилиндров (кругов магнитных дорожек) и число головок - общее число головок для всех дисков (на одном диске возможна работа с двумя головками - для двух сторон диска). Количество секторов характеризует число отдельных порций байт, которые размещаются на диске при одном его обороте. Главным параметром является полная емкость диска. В 1995 г. большинство дисков для ПК имели емкость порядка 300-400 Мбайт, сейчас типовая емкость жестких дисков достигла 10 - 20 Гбайт.Время доступа составляет 8-15 мс. В современных накопителях с собственной кэш-памятью время доступа уменьшено до 0.3 - 0.5 мс, а скорость передачи информации достигает 25-50 Мбайт/с и выше. Накопители могут работать в различных режимах - модах. Так, мода 0 – низкоскоростная. Мода 3 поддерживает программируемый ввод/вывод (PIO) c максимальной скоростью передачи данных до 16 Мбайт/с, а мода 4 даже до 22 Мбайт/с в режиме захвата шины. «Многословные» (multiword) моды 1 и 2 с прямым доступом к памяти (DMA) также используются с высокоскоростными накопителями и обеспечивают максимальные скорости передачи информации соответственно 13.3 и 16.6 Мбайт/с.
Пассивные и активные компоненты
К пассивным компонентам относятся резисторы R, конденсаторы C, катушки индуктивности L, трансформаторы, кварцевые резонаторы и др. Они описаны в электротехнической и радиотехнической литературе. Пассивные компоненты не способны усиливать сигналы, но они могут преобразовывать их. Например, RC- и RL-цепи могут дифференцировать и интегрировать сигналы, отделять их постоянную составляющую от переменной и т.д.Для построения большинства электронных схем (в том числе логических для ЭВМ, триггеров и т.д.) нужны активные электронные компоненты, способные усиливать электрические сигналы, генерировать и переключать их. К активным компонентам ныне относятся транзисторы и иные многочисленные приборы, а также интегральные схемы.
Многие помнят из школьного курса физики, что первые транзисторы были биполярными. Они представляли собой в разрезе как бы трехслойный пирог в виде структуры p-n-p или n-p-n (p и n это области соответственно с дырочной и электронной проводимостями). Средний слой именовался базой, а крайние были, соответственно, эмиттером и коллектором. Ток базы позволял управлять более сильным током в цепи эмиттер-коллектор.
Биполярные транзисторы и сейчас широко используются в усилительных и импульсных устройствах, в источниках электропитания и в других устройствах. Однако в микросхемах для компьютеров ныне они практически полностью вытеснены полевыми транзисторами.
Конструкция интегрального полевого транзистора представлена на рис. 1.9. В полупроводниковой пластине из чистейшего кремния (Silicon) создаются области истока (Source) и стока (Drain) с повышенной концентрацией донорной примеси. Из стока истекают носители электрического заряда, а в сток они втекают, создавая ток стока. Между ними образуется канал. Поверх его расположен слой тончайшего диэлектрика и на нем «толстый» слой металла или иного проводящего материала – затвор (Gate). Рис. 1.9. Структура полевого транзистора интегральной схемы (источник Intel)
Нормально носителей в канале нет, и он почти не проводит ток.
Точнее, через него течет малый ток утечки. Но если на затвор подать положительное напряжение, то в силу явления электростатической индукции в канале появятся электроны – частицы с отрицательной полярностью заряда. Двигаясь от истока к стоку, они создают ток в цепи сток-исток.
Нетрудно понять, что чем больше напряжение на затворе, тем больше будет ток в цепи сток-исток. Однако существует некоторое пороговое напряжение на затворе, ниже которого канал теряет проводимость, то есть прибор закрывается. Входной ток полевого транзистора ничтожно мал, поскольку затвор отделен от остальной структуры транзистора слоем подзатворного диэлектрика.
Таким образом, полевой транзистор, кстати, как и биполярный, может выполнять как функции регулятора тока и усилительного элемента, так и просто ключа – устройства, пропускающего или не пропускающего ток в зависимости от напряжения на входе (затворе). Входное сопротивление полевого транзистора очень велико, но он имеет междуэлектродные емкости, ограничивающие скорость его переключения.
Канал, кстати, может быть индуцированным (т.е. нормально не проводящим ток, как в приведенном выше случае) или встроенным (нормально проводящим ток). К тому же он может быть как n- так p-типа (сейчас в основном применяются n-канальные полевые транзисторы). Такое разнообразие приборов позволяет использовать их для создания схем с различной полярностью питающего напряжения, активных элементов усилителей или просто резисторов, но с очень малыми размерами.
Печатающие устройства - принтеры
Принтеры – самые распространенные из периферийных устройств вывода информации после дисплея. Они предназначены для получения так называемых «твердых копий» документов и программ– распечаток их на бумаге. Традиционно принтеры подключаются к компьютеру через параллельный PRN порт или (намного реже) через последовательный COM порт.Принтеры выпускаются разного типа:
· матричные игольчатые, печатающие текст ударами иголок по красящей ленте;
· термографические, печатающие с помощью местного нагрева бумаги или красящей ленты;
· струйные, разбрызгивающие чернила при печати;
· лазерные – использующие лазерную печать, подобную применяемой в светокопировальных аппаратах.
Струйные принтеры дешевы и позволяют печать в цвете, есть даже принтеры с фотореалистическим качеством печати – рис. 3.25. Благодаря печати в цвете струйный принтер - лучшее приобретение для мультимедиа-ПК. Недостатками таких принтеров является дороговизна их чернильниц – картриджей и необходимость применения высококачественной бумаги для печати.
Рис. 3.25. Широкоформатный цветной струйный принтер Epson STYLUS Photo 1290 Цветного картриджа хватает обычно всего на 200-300 страниц, черно-белого на 500-600 (редко на 1000). Стоимость картриджа почти на порядок выше, чем у ударных матричных принтеров. Некоторые принтеры имеют сразу два картриджа (монохромный и цветной), в других монохромный картридж можно заменить на цветной.
Лазерные принтеры создают лазерным лучом изображение на светочувствительном барабане в виде распределения электрического поля. Затем барабан покрывается мелкозернистым порошком - тонером обычно черного цвета (бывает и иного). Его частицы, притягиваясь с разной густотой к барабану, создают «съемную» копию части изображения. Она и остается на бумаге, проходящей по барабану. После этого барабан очищается.
Кратковременный (импульсный) нагрев закрепляет частицы тонера на бумаге, прочно впекая их в нее. Изображение на бумаге не только не выцветает на свету, но и не расплывается при намокании. Качество печати лазерного принтера выше всяких похвал! Да и скорость печати (от 4-12 страниц в минуту даже у сравнительно дешевых принтеров) вполне приличная.
У светодиодных принтеров изображение формируется линейкой из многих сотен светодиодов, что упрощает конструкцию принтера. Однако получить у них высокое разрешение при печати трудно, так что такие принтеры постепенно теряют свои позиции на рынке.
Самое высокое качество цветной печати дают сублимационные принтеры. Но они очень дороги и используются только в профессиональной практике – например, для печати цветных картинок на обложках дорогих журналов.
Передача информации и сообщения
Важным свойством информации является возможность ее передачи. Для этого используются сообщения– материально реализованные представления информации, нередко определенным образом закодированной. Пример сообщения - обычное письмо на бумаге.
Почта – один из древнейших способов передачи сообщений в виде сообщений на бумаге. В некоторых странах, например в США, в ограниченных масштабах получила распространение голубиная и пневматическая почта. Последняя - это труба, в которой под давлением воздуха с той или иной стороны движется цилиндр с обычными бумажными сообщениями и даже небольшими предметами, например бумажными деньгами, монетами или ключами.
Люди научились также очень быстро (порою просто мгновенно) передавать информацию с помощью электрического тока в проводах (проводные линии связи), радиоволн (беспроводные линии радиосвязи) и света (оптические лазерные и световолоконные линии связи). При этом передается информация без такого привычного нам носителя, как бумага. Наступил век безбумажной
обработки информации, хотя, в конечном счете, информационные сообщения всегда можно распечатать печатающим устройством – принтером. Передача сообщений на дальние расстояния привела к возникновению телекоммуникаций. А на смену обычной почте пришла электронная почта, входящая во всемирную компьютерную сеть Интернета. По электронной почте ныне можно передавать не только объемные текстовые материалы, но и звуки, изображения, рисунки и даже видеофильмы.
К сожалению, между объемом информации и реальной ее ценностью
нет прямой взаимосвязи. В итоге телеграмма на одном листке бумаги, содержащая одно-два слова (например, «Люблю!», «Жду!» или «Сегодня приезжаю!»), порою может быть гораздо ценнее пространного опуса о влиянии гравитационных полей на время сна домашних животных.
Также нет и прямой взаимосвязи между информацией самой по себе и носителем, ее несущим, в ходе передачи информации. Одну и ту же информацию можно передать публикацией статьи в газете или журнале, в радиопередаче и в телепередаче, по телеграфу или по телефону, по трансатлантическому кабелю или по световолокну или спутниковому каналу связи.
Перспективы развития беспроводных сетейÄ
В настоящее время на смену проводным сетям пришли дешевые и доступные беспроводные сети. Некоторые из них, например Bluetooth и IEE 802.11, уже вовсю применяются в новых моделях поступивших на рынок карманных компьютеров и ноутбуков. Появились новые услуги 2G и 2.5G в системе сотовой телефонии GSM. А устройства нового стандарта UWB (Ultra Wide Band) обеспечивают беспроводную связь со скоростями более 100 Мбит/c.Решены все технические вопросы предоставления услуг Интернета (в том числе электронной почты) через сотовые телефоны, карманные компьютеры и коммуникаторы. Беспроводная связь между ними (в дополнение к медленной связи по инфракрасному каналу) стала нормой. В 2003 году из почти 1 миллиарда пользователей сотовыми телефонами почти половина будет иметь беспроводный доступ в Интернет.
Появились и принципиально новые распределенные системы – специализированные сенсорные сети. Эти сети могут состоять из множества сенсорных (чувствительных к чему-либо) устройств, объединенных в распределенную сеть беспроводными каналами связи. Например, такая сеть может быть вмонтирована в постель ребенка и пробуждать мать, если ребенок описался или у него поднялась температура. А что вы скажете о сетях, наброшенных на лесные массивы, – это ли не способ обнаружить очаги возникновения лесных пожаров или найти заблудившихся в лесу ребятишек. Биологи и орнитологи могут следить с помощью таких сетей за всякой живностью без присутствия в ее среде человека, нарушающего их нормальную жизнь.
Со временем структура сетей стала усложняться. Некоторые сети по структуре начинают напоминать сети из паутины, сотканные пауками. К числу таких сетей принадлежат сети сотовой беспроводной связи и глобальная сеть Интернета. Мы рассмотрим их более подробно в последующих разделах этой главы.
Плоские дисплеи ноутбуков и настольных ПК
Электронно-лучевая трубка - громоздкое устройство. Поэтому в последнее время получили распространение плоские дисплеи. Они основаны на жидкокристаллических индикаторах ЖКИ (или LCD - Liquil Crystal Display), использующих эффект поляризации света жидкими кристаллами. Грубо говоря, слои жидких кристаллов пропускают или не пропускают свет в зависимости от приложенного к ним электрического поля.У пассивных дисплеев, работающих на просвет, сзади экрана расположен источник света, создающий равномерное освещение. Для этого часто достаточно иметь две люминесцентные лампы и рассеивающую призму. Изображение с помощью цветного фильтра разбивается на триады RGB. Схема управления матрицей ячеек дисплея довольно сложна.
Намного более совершенны дисплеи на основе активной транзисторной матрицы - TFT (Thin Film Transistor). У таких активных дисплеев для управления каждой ячейкой служат тонкопленочные транзисторы. Матрица этих транзисторов создается вместе с матрицами LCD трех цветов изображения. Технология создания таких матриц очень сложна, и их делает небольшое число фирм во всем мире. Зато схема управления упрощается.
Дисплеи с TFT способны дать качество изображения, близкое к стандарту VGA или даже SVGA и XGA с хорошей контрастностью и яркостью. К тому же скорость смены кадров у такого дисплея может достигать 80 кадров в секунду. Однако ЖКИ более инерционны, чем дисплеи на электронных лампах, и все же хуже передают тонкие оттенки цвета. В настоящее время используются плоские дисплеи, они производятся с размером экрана от 8 до 25 дюймов по диагонали (рис. 3.24). Рис. 3.24. Плоский монитор фирмы Philips со встроенными колонками
Такие дисплеи выпускаются как для настольных ПК, так и для мобильных компьютеров – ноутбуков. Интересно отметить, что размеры видимой области таких дисплеев примерно на дюйм больше размеров изображения дисплеев на ЭЛТ.
Поддержка библиотек -графики
Для реализации полноценной графики важное значение имеет применение специальных библиотек трехмерной графики, именуемых также интерфейсами программных приложений – API (Application Programming Interface).Библиотека Direct 3D фирмы Microfoft является частью комплекса DirectX графических утилит, ускоряющих графику за счет осуществления прямого доступа к памяти. Этот API получил самое широкое распространение для создания игр, используемых в среде Windows 95/98, а затем и в последующих версиях операционных систем класса Windows. Ныне в операционной системе Windows XP используется уже восьмая версия Direct X.
Open GL – это API знаменитой фирмы Silicon Graphics, Inc., которая прославилась созданием самых мощных графических рабочих станций для профессионального применения. Open GL рассчитан на самые различные компьютерные платформы и характеризуется рядом несомненных достоинств: стабильностью, переносимостью, масштабируемостью и удобством программирования.
Для использования возможностей Open GL нужны соответствующие аппаратные и программные средства. К аппаратным средствам относятся видеоадаптеры с поддержкой OpenGL. Программные средства представлены драйверами и так называемым портом (файл opengl32.dll в операционных системах Windows 95/98). Ныне стандарт Open GL реализован в большом числе видеоадаптеров для современных ПК.
QuickTime 3D – это разработка фирмы Apple, применяемая в ее компьютерах. Есть ее реализации и на платформе PC-компьютеров. QuickTime 3D поддерживает виртуальную реальность, потоковое видео в сети Интернета и позволяет создавать более 150 видеоэффектов. Однако в части поддержки игр это средство заметно уступает Direct 3D и Open GL.
Появление и развитие ЭВМ
В наше время основным устройством для получения, хранения, переработки и представления информации, несомненно, стали электронные вычислительные машины (ЭВМ). Мы уже не представляем себе существование цивилизованного общества без электронных вычислительных машин. Выход из строя крупной ЭВМ или сети ЭВМ в промышленно развитых странах по его последствиям можно приравнять к стихийному бедствию. Рассмотрим, как появились ЭВМ и как они развивались.Появлению компьютерных лазерных
Рис. 3.15. Оптический компакт-диск в лотке CD-ROM-драйва
Диск получается штамповкой с помощью специально изготовленной металлической матрицы. Информация хранится в виде углублений - питов на внешней поверхности диска сверху (рис. 3.16). Она покрыта тончайшим слоем метала для отражения света и слоем защитного лака с надписью или рисунком – титулом диска. Рис. 3.16. Устройство диска CD-ROM и CD-ROM -драйва
В считывателе компакт-дисков информация считывается лазерным лучом, который создает полупроводниковый лазер. Диаметр пятна на нерабочей поверхности диска составляет около 1 мм, поэтому пылинки, частички грязи и даже мелкие царапины не сказываются на считывании. Оно осуществляется специальной считывающей головкой с линзой и электронной системой слежения.
Отражательные способности питов и промежутков между ними сильно различны, поэтому лазерный луч модулируется по интенсивности. Часть его через поляризационную систему отводится на фотодиод, который преобразует модулированный световой луч в электрические сигналы, усиливаемые усилителем. При считывании лазерный луч фокусируется в пятно размером около 1 мкм.
Длина питов от 0,8 до 3,2 мкм, а ширина - 0,4 мкм. Питы имеет глубину 0,12 мкм. Питы расположены по спирали - дорожке с шагом 1,6 мкм. На одном дюйме расположено 16000 витков спирали. Объем информации на диске достигает 1 Гбайта. Этого вполне достаточно для хранения высококачественной стереофонической (двухканальной) записи в течение 90 минут и ее многократного воспроизведения без каких либо потерь качества.
Поколения ЭВМ (компьютеров)
Итак, запросы общества в скоростных вычислительных устройствах неизбежно подталкивали их разработчиков к созданию электронных вычислительных машин, первоначально названных сокращенно ЭВМ. За рубежом в ходу появилось более короткое наименование ЭВМ-компьютеры. Ныне оно прижилось и у нас. Английское слово «computer» в буквальном переводе означает «вычислитель». Далее термины «ЭВМ» и «компьютер» мы будем считать равноценными.Принято рассматривать пять поколений ЭВМ:
1) Ламповые ЭВМ;
2) Транзисторные ЭВМ;
3) ЭВМ на интегральных схемах низкой и средней степени интеграции;
4) ЭВМ на интегральных схемах высокой степени интеграции;
5) ЭВМ с логическим программированием.
Каждое из поколений имеет свои ярко выраженные особенности и заслуживает обзорного описания.
Полупроводниковые излучатели света
В качестве излучателя света используются p-n переходы, конструктивно оформленные как двухэлектродные приборы - диоды из арсенида галлия или другого подходящего полупроводника. Если пропускать через такой диод ток, то происходит накопление электронов в области n (не путайте с показателем преломления n). Часть электронов преодолевает так называемый потенциальный барьер между областями n и p, что при их рекомбинации с дырками и порождает излучение света. Спектр света оказывается довольно широким и лежит в инфракрасной области. Такой свет довольно сильно поглощается световолоконным кабелем.Чтобы свет мало поглощался оптическим кабелем, он должен быть близким к монохромному, т.е. иметь узкий спектр. В качестве источников такого света применяются полупроводниковые лазеры. Это те же диоды, но специальной конструкции (рис. 4.2).

Рис. 4.2. Конструкция полупроводникового лазерного диода: 1 – полированные торцевые поверхности; 2 – p-область; 3 – n-область; 4 – электрические проводники; 5 – молибденовая пластина, покрытая слоем золота; 6 – область p-n перехода
Отличительной чертой лазерного диода является наличие резонатора, образованного торцами p-n-перехода. Резонатор усиливает оптическое излучение и делает его спектр намного (в тысячи раз) более узким. В результате излучение диода становится почти монохромным.
Однако такая конструкция лазерного диода сложна. Да и область, в которой электроны переходят с верхнего энергетического уровня на нижний, получается нечеткой. Гораздо лучше ситуация обстоит в специальных структурах из разнотипного полупроводника. Они называются гетероструктурами. В их создание огромный вклад внес наш академик Жорес Алферов, получивший за это Нобелевскую премию. Структура гетеролазерного диода показана на рис. 5. Здесь активный слой p-GaAs ограничен двумя широкозонными областями
p-GaAlAs и n-GaAlAs.
Рис. 4.3. Лазерный диод с гетероструктурой и двойной гетероструктурой (ДГС)Применение двойной гетероструктуры позволило уменьшить пороговый ток лазерного излучения (до 1000 А/см2), увеличить к.п.д. лазерного диода и обеспечить создание диодов с непрерывной генерацией света (лазерные диоды рис. 5. обычно обеспечивают только импульсное издучение). Лазерное излучение диодов ДГС легко модулировать, просто изменяя ток через диод.
Полупроводниковые приемники света
Простейшим приемником света является опять-такиp-n-переход. Попадая в него, частицы света - фотоны - выбивают электроны из материала p-n-перехода. Возникающие при этом электронно-дырочные пары вызывают появление в p-n-переходе фототока. Диоды, используемые в такой роли, называют фотодиодами. Есть и фототранзисторы, усиливающие фототок в десятки и сотни раз.
Однако эти приборы довольно инерционны. Существуют диоды специальной конструкции (например, на основе гетеро-переходов или использовании явления лавинного умножения носителей приэлектроическом пробое - лавинные фотодиоды). Такие диоды способны воспринимать модулированный световой поток при частотах модуляции до десятков гигагерц. Сигнал фотодиодов усиливается широкополосными усилителями.
Понятие о данных и базах данных
В теоретической и практической информатике, помимо информации, широко используются данные - невостребованная или необработанная информация, представленная в той или иной форме, например в виде множества чисел, слов или документов.Попробуем разобраться в отличиях данных от информации. Например, следующий массив просто чисел представляет данные:
123456 654321 112233 445566 это данные
Эти числа могут быть номерами телефонов, кодами замков или кодами программ, табельными номерами работников предприятий и т.д. Но если оговорить, что это не просто цифры, а номера телефонов конкретных людей, то приведенные ниже данные становятся важной информацией
Телефон: 123456 654321 112233 445566 это уже
Фамилия: Иванов Петров Сидоров Козлов информация
Данные могут храниться в базах данных – специальных устройствах для хранения информации на том или ином материальном носителе. Базами данных часто называют и документы, которые готовятся специальными программами, например системой управления базами данных Microsoft Access. Это одна из программ пакета для офисной работы Microsoft Office. Она обеспечивает быстрый поиск и обработку данных.
Понятие о прерываниях
Адресное пространство ПК начинается с таблицы векторов прерыванийIRQ (InteRrupt reQuest). Прерывания - это особый механизм выявления событий, происходящих при работе компьютера и реакции его на них. Аппаратно он реализован специальной микросхемой - контроллером прерываний.
При работе ПК происходит периодический опрос клавиатуры и других узлов компьютера на предмет выявления событий в среднем 50 раз в секунду. Если событий не происходит, компьютер спокойно продолжает свою работу - считает все, что нужно, по введенной в него прикладной программе. Если событие произошло, то компьютер приостанавливает работу и обращается к таблице векторов прерываний. При этом выполняется программа обработки
соответствующего прерывания.
Таблица прерываний состоит из сдвоенных двухбайтовых ячеек, в которых содержатся сегменты и смещения 16-разрядных адресов подпрограмм BIOS, ведущих обработку прерываний. Эти подпрограммы выполняют действия, адекватные событиям, - например, если не хватило памяти, то работа ПК прекращается и на экран дисплея выводится сообщение об ошибке - нехватке памяти.
Каждое прерывание характеризуется своим номером и адресом подпрограммы обработки прерывания. На таблицу прерываний отведен первый килобайт памяти, так что всего может быть около 250 прерываний. Однако реально пользователю доступны установки лишь 16 прерываний. Номер прерывания определяется порядковым номером пары двухбайтовых ячеек в ОЗУ.
Вряд ли детальное знакомство с прерываниями нужно рядовому пользователю - за него обработкой прерываний управляют прикладные программы. Обычно с их начальным распределением, зависящим от числа и типа подключаемых к ПК периферийных устройств, успешно справляются и средства Plug and Play.
Понятие о сетях
Мы уже давно сталкиваемся с сетями. И не только с теми, которые ткут пауки и рыбаки. Собравшись за «круглым столом», мы можем свободно обмениваться информацией, разговаривая друг с другом. При этом мы образуем беспроводную акустическую информационную сеть. Нечто подобное нам хотелось бы иметь при использовании компьютеров и прочих новых информационных устройств.Всем хорошо известны проводные сети, снабжающие нас электроэнергией, и телефонные сети, с помощью которых мы имеем возможность соединяться друг с другом по телефону. Недостаток таких сетей - низкие частоты переменного тока, который можно передавать по ним. Например, телефонные сети способны передавать сигналы с частотами не выше десятков килогерц, а сети электроэнергии передают переменный ток с частотами 50-60 Гц и довольно редко – с частотой до 400 Гц.
Понятие о теореме КотельниковаÄ
Как часто надо делать равномерные выборки произвольного сигнала (рис. 1.5), чтобы после преобразования в цифровую форму, а затем снова в аналоговую была сохранена форма сигнала? Ответ на этот важный вопрос дает теорема об отсчетах или теорема Котельникова (за рубежом Найквиста): «Если спектр сигнала e(t) ограничен высшей частотой fв, то он без потери информации может быть представлен дискретными отсчетами с числом, равным 2× fв». При этом сигнал восстанавливается по его отсчетам e(k×dt) с помощью фильтра низких частот, реализующего восстановление по формуле:
Популярные сейчас оптические компакт-диски содержат высококачественные записи речи и музыки в цифровой форме. Высшая частота звуковых сигналов 20 кГц. Частота дискретизации их 44,1 кГц. Каждая выборка представляется (квантуется) с числом уровней 216
= 65536 (разрядность квантования 16 бит). Полученный поток цифровых данных и записывается в двоичном виде на оптический диск. В итоге компакт-диск при лазерном считывании информации позволяет воспроизводить сколько угодно раз звуки любимых певцов и оркестров с невиданным ранее качеством.
Порты ввода/вывода PRN, COM и USB компьютеров
В компьютерах для подключения к ним различных устройств имеются так называемые порты ввода/вывода. Порт – это совокупность аппаратных и программных средств для такого подключения. В состав аппаратных средств портов в компьютерах входят разъемы, с помощью которых и соединительных кабелей периферийные устройства компьютера подключаются к нему. К портам могут подключаться клавиатуры, мыши, принтеры, сканеры, цифровые фотокамеры и другое внешнее оборудование.Параллельные принтерные порты (их обозначают PRN) используются обычно для подключения принтеров, сканеров и иных устройств. А последовательные коммутационные порты обозначаются как COM и используются для подключения коммутационных устройств, например модемов, графических манипуляторов – мышей и т.д.
В современных компьютерах широкое распространение получили порты и шины USB (от слов Universal Serial Bus - универсальная последовательная шина). По USB обычно пересылаются данные от компьютера к периферийным устройствам и наоборот. Связь нескольких компьютеров друг с другом через шину USB не предусмотрена.
Нетрудно создать простейшую сеть из двух компьютеров, просто соединив их параллельные или последовательные порты специальным кабелем. Имея соответствующее программное обеспечение, можно после этого осуществить обмен информацией между компьютерами.
Порты ввода/вывода
Для обмена содержимым регистров микропроцессора с внешней памятью и иными периферийными устройствами служат порты ввода/вывода. Это название пришло от морских портов, имеющих маяки, буи, причалы, подъемные краны и прочее оборудование для приема и разгрузки или загрузки судов.Аналогично этому порты микропроцессора - это совокупность аппаратных и программных средств для ввода и вывода данных. Порты обычно адресуются и имеют свои номера. Они могут передавать данные одновременно по нескольким шинам (параллельные порты) или по одной шине в режиме передачи данных с разделением во времени (последовательные порты).
Постоянное запоминающее устройство (ПЗУ)
Постоянное запоминающее устройство ПК (ПЗУ) именуют также ROM (Read Only Memory - память только для чтения). Сейчас в ПЗУ применяются микросхемы, которые легко перепрограммируются прямо на системной плате электрическими импульсами. Их называют Flash EDROM или флэш-памятью.Еще один вид ПЗУ выполняется на особых комплементарных полевых транзисторах (с каналами разного типа проводимости) и реализован в CMOS
микросхемах. Эта память теряет информацию при выключении питания. Но она потребляет настолько ничтожную мощность по цепи питания, что ее годами можно питать от миниатюрной батареи, что обычно и делается в современных ПК. Заодно от этой батареи питают и системные часы ПК – таймер.
ПЗУ хранит комплекс небольших программ начальной загрузки и тестирования компьютера. Одна из таких программ Setup
обеспечивает начальную настройку ПК. Обычно для доступа к ее окну достаточно нажать и придержать клавишу Del в начале загрузки. Для перехода к начальной загрузке можно нажать клавишу Reset на передней панели центрального блока или нажать разом клавиши Ctrl+Alt и Del.
В ПЗУ находится также базовая система ввода/вывода
BIOS (Basic Input/Output System). Она представляет собой набор небольших программ, осуществляющих стандартные операции ввода и вывода – например, ввода знаков с клавиатуры и их вывод на экран дисплея. Все это программное обеспечение относится к категории Hardware
(входящее в аппаратную часть).
BIOS современных ПК реализует особый метод самонастройки ПК на подключаемое к нему оборудование. Этот метод называется Plug and Play – в буквальном переводе «Включил и Работай». Этот метод реализуется сразу после включения ПК.
Применение видеомагнитофонов
Основное применение видеомагнитофона - совместная работа с телевизором. Существуют две основные схемы соединения видеомагнитофона и телевизора: по высокой частоте и по низкой частоте с использованием входных и выходных гнезд видео- и аудиосигналов.
При соединении по высокой частоте антенна присоединяется к антенному (высокочастотному входу) видеомагнитофона, а его высокочастотный выход подается на антенный вход телевизора (рис.5.37). Рис. 5.37. Соединения видеомагнитофона (ВМ) и телевизора (ТВ) по высокой частоте
Видеомагнитофон должен быть настроен на исходный сигнал, как на обычный антенный. Недостатком такого соединения является потеря качества как изображения, так и звука из-за искажений в радиоканале. Однако такое соединение просто и может использоваться с дешевыми телефизорами, не имеющими входов видео- и аудио-сигналов.
![]() |
Если такие входы есть, то целесообразно применять соединения, показанные на рис. 5.38. В современной аппаратуре для низкочастотных соединений применяется стандартный разъем SCART.
Рис. 5.38. Соединения видеомагнитофона (ВМ) и телевизора (ТВ) по низкой частоте
Телевизионный сигнал принимается видеомагнитофоном, а выходные гнезда видеомагнитофона соединяются с входными гнездами телевизора. При работе в таком режиме требуется выбрать режим работы AV (аудио – видео) видеомагнитофона и телевизора.
Соединение высокочастотного выхода видеомагнитофона и антенного входа телевизора обеспечивает работу в режиме «сквозного» канала, т.е. телевизор может принимать передачи напрямую, минуя многочисленные преобразования. Возможно также применение двух видеомагнитофонов и телевизора при копировании видеозаписи с одного магнитофона на другой.
Принципы аналоговой магнитной записи звуков
Магнитный способ записи и воспроизведения звука основан на свойстве ферромагнитных материалов намагничиваться под воздействием магнитного поля и сохранять это состояние. Это довольно сложный процесс, так что мы рассмотрим физические основы магнитной записи несколько упрощенно.Магнитная запись звука обеспечивает высокое качество фонограммы. Сразу после записи звука фонограмма готова к воспроизведению. Запись, сделанную на магнитной ленте, можно стереть, а затем записать на магнитную ленту новую фонограмму. Качество фонограммы мало зависит от числа воспроизведений, но все же постепенно ухудшается из-за присущих магнитной записи шумов как ленты, так и усилительных устройств. Перечисленные достоинства, а главное дешевизна магнитной записи, определяют ее широкое применение в учебном процессе. Особенно широко используются магнитофоны с лентой в кассетах и микрокассетах.
Схематично конструкция трехмоторного катушечного магнитофона показана на рис. 5.12. Магнитная лента сматывается с левой бобины на правую. Для равномерного протягивания ленты служит ведущий вал ВВ, к которому лента прижимается резиновым прижимным роликом ПР. Ведущий вал вращается двигателем со строго постоянной скоростью вращения. Правая бобина установлена на оси двигателя подмотки,левая – на оси двигателя торможения.
Рис. 5.12. Упрощенная конструкция катушечного магнитофона
Лента протягивается мимо трех головок. Каждый участок магнитной ленты сначала проходит мимо стирающей головки СГ, которая размагничивает ленту и удаляет старую запись. На записывающую головку ЗГ подается входной сигнал, который намагничивает ленту. Магнитное поле ленты воспринимается воспроизводящей головкой ВГ, на выходе которой и создается ранее записанный сигнал. Все три головки представляют собой миниатюрные электромагниты с тонким магнитным зазором сердечника.
Катушечные магнитофоны в последнее время вытеснены кассетными магнитофонами, у которых бобины с лентой заключены в специальный кожух - кассету. Имеется множество конструкций механизма кассетных магнитофонов - в том числе одномоторных, двухмоторных и трехмоторных. Лентопротяжный механизм - дорогой и сложный узел магнитофона.
Прямой доступ к памяти (DMA)
Прямой доступ к памяти(DMA - Direct Memory Access) позволяет некоторым периферийным устройствам быстро обращаться к памяти напрямую. Для этого используется специальный контроллер DMA в виде микросхемы. В настольных ПК используют 4 канала DMA с номерами 0, 1, 2 и 3.
Процессоры фирмы Advanced Micro Device
Конкурентами процессорам Pentium стали RISC-микропроцессоры K5 фирмы AMD (Advanced Micro Device). Процессоры рассчитаны под тот же разъем (Socket 7, 321 контакт), что и микропроцессоры Pentium, и на то же напряжение питания. По набору битовых команд они полностью совместимы с Pentium. С 1994 по первый квартал 1997 год фирма AMD выпустила и продала свыше 40 миллионов процессоров AMD-K5, что сделало ее второй по объему выпуска процессоров компанией в мире (первое место устойчиво удерживает Intel).Новейший процессор AMD-K6-MMX увидел свет в конце 1996 года. Он имел следующие особенности:
· производительность, соперничающую с Pentium Pro,
· совместимость с операционными системами Windows 95/NT и другими,
· суперскалярную архитектуру, обеспечивающую выполнение разом до 6 команд,
· 64-Кбайтный кэш - по 32 Кбайта на данные и команды,
· высокопроизводительный математический сопроцессор,
· поддержку технологии MMX,
· установку в самый распространенный разъем Socket 7 (для Pentium),
· керамический корпус с матрицей выводов CPGA,
· 8,8 млн. транзисторов на кристалле, выполнен по технологии с разрешением 0,35 мкм.
Сердцем процессора является централизованный планировщик. Он содержит необходимую логику выполнения команд, изменения последовательности данных, переименования регистров, выдачи или отзыва RISC-инструкций и спекулятивного (с изменением последовательности) выполнения команд. Планировщик может просматривать окно, содержащее до 12 инструкций и за один такт выдавать до шести и отзывать до четырех RISC-инструкций. Процессор имеет 7 исполнительных блоков, ориентированных на быстрое выполнение операций с плавающей точкой и инструкций технологии MMX.
Процессор седьмого поколения корпорации AMD K7 (Athlon) - один из самых мощных процессоров своего времени. Он имеет самый большой кэш с объемом 128 Кбайт (по 64 Кбайта на инструкции и данные). Кэш второго уровня с объемом 512 Кбайт работает на частоте 1/2 или 2/5 от частоты процессора. Системная шина EV-6 имела частоту 200 МГц с перспективой ее удвоения. Был выпущен ряд вариантов этого мощного процессора с частотами от 0,5 до 1 ГГц и даже выше. Внешне процессор напоминал Pentium III, но имел иное расположение контактов.
Процессоры PowerPC
Выдающимся событием в компьютерной индустрии обещал стать альянс трех фирм (Apple, IBM и Motorola) в создании нового поколения микропроцессоров класса PowerPC, которые должны были «врезать по мозгам» явно зарвавшейся фирме Intel. Первым стал 32-разрядный упрощенный процессор PowerPC 601, который и впрямь временно обскакал первые модели Pentium по производительности. Однако повышение тактовых частот Pentium с 60 до 200 МГц быстро свело достоинства этого процессора на нет.Вслед за PowerPC 601, уже нашедшим применение в ПК, были выпущены процессоры 602 и 603 (последний с пониженной потребляемой мощностью). Они за один цикл выполняют две и три команды соответственно. Затем появился PowerPC 604. А в 1995 г. стал доступен новейший 64-разрядный микропроцессор PowerPC 620. Последний имеет кэш-память первого уровня с емкостью 64 Кбайт. Процессор изготовляется по технологии с разрешением 0,5 мкм.
Естественно, что и старшая модель PowerPC 620 совместима с предшествующими моделями по программному обеспечению. Хотя PowerPC 620 превосходит по производительности Pentium Pro, он используется только в довольно дорогих ПК, которые трудно отнести к офисным или домашним ПК. В Intel-совместимых компьютерах класса IBM PC процессоры данного класса не применяются.
Процессоры с малым потреблением электроэнергии
Позиции AMD на рынке ноутбуков заметно окрепли после создания мобильных процессоров Athlon XP и Duron. Процессор Athlon XP с частотой до 1,6 ГГц и оригинальной архитектурой QuantiSpeed™. Выпускается по новейшей 0,13-микронной технологии. Выполнен в корпусе под разъем Soket A и оптимизирован под операционную систему Windows XP. Процессор использует технологию AMD Power Now для обеспечения минимума потребляемой электроэнергии.Мобильный процессор AMD Duron предназначен для дешевых ноутбуков. Тем не менее, имея тактовые частоты 0,95, 1, 1,1 и 1,2 ГГц, он способен реализовать высокую скорость выполнения подавляющего большинства программ.. Он также оптимизирован под операционную систему Windows XP и использует технологию электросбережения AMD Power Now.
Новый 64-разрядный процессор класса x86-64 процессор AMD Opteron™ основан на процессорном ядре AMD 8-го поколения. Он предназначен для запуска существующих 32-разрядных приложений с непревзойденной производительностью и обеспечения клиентам плавного перехода к 64-разрядной технологии.
Около 5% рынка микропроцессоров в настоящее время занимают процессоры молодой компании Transmeta - Crusoe. Эти процессоры имеют минимальные размеры и тепловыделение при полноценной вычислительной мощности. Это достигается благодаря применению гибкой системы энергосбережения, позволяющей не просто «усыплять» процессор при длительных паузах в работе, но и регулировать его мощность в зависимости от выполняемых операций. Они широко применяются в сверхкомпактных ноутбуках. В настоящее время наиболее мощная серийная версия поставляется с частотой 700 МГц, и ожидается ее повышение до 1 ГГц.
Прогнозы на основании закона Мура
Если усреднить представленные данные по числу транзисторов с помощью нелинейной регрессии, то время их удвоения составит 1,67 года. Прогноз по этим усредненным данным на первые десять лет выглядит вполне реалистичным (рис. 2.8 - левый график).
Рис. 2.8. Прогнозы числа транзисторов в микропроцессоре К 2010 году можно ожидать появления микропроцессоров, на кристалле которых будет до 3 миллиардов транзисторов. Это близко к оценкам, о которых говорил Президент корпорации Intel Крейг Барретт в своем выступлении на форуме разработчиков Intel.
Но вот прогноз на следующее десятилетие выглядит скорее фантастическим, чем реальным: судя по нему, к 2020 году число транзисторов на кристалле достигнет примерно 140 миллиардов (рис. 2.8 -правый график)! Но кто знает, может, так и будет? Ведь создатели первых микропроцессоров 4004 вряд ли могли предполагать, что через 30 лет число транзисторов в микропроцессорах увеличится в
34 000 раз, а частота работы их возрастет более чем в 28 000 раз!
Физическим ограничением на рост числа транзисторов может оказаться очередной предел геометрического разрешения в производстве интегральных микросхем. Даже с учетом внедряемой новейшей технологии литографии со сверхжестким ультрафиолетовым излучением (EVU) этот барьер перемещается от 0,1 мкм до 0,03-0,05 мкм. При этом толщина подзатворного диэлектрика микроскопических полевых транзисторов, уже ныне составляющая менее 5 атомных слоев, достигнет предельного значения в один атомный слой.
Наконец, главный козырь к приостановке действия закона Мура - компьютерные системы из дискретных систем, скорее всего, превратятся в распределенные системы. В результате надобность в сверхмощных одиночных процессорах попросту отпадет. И закону Мура придется подчиниться другому, тоже отнюдь не точному в математическом смысле закону о переходе количества в качество.
Программирование на калькуляторах и на Бейсике
В отсутствие доступа к персональным компьютерам миллионы будущих российских программистов в начале 80-годов ухватились, как тонущие за соломинку, за появившиеся в это время программируемые микрокалькуляторы Б3-21, Б3-34, МК-52, МК-56 и др. Калькуляторы позволяли освоить символьно-кодовое программирование, которое широко использовалось и в куда более дорогих настольных ЭВМ, например, «Электроника C-35».Калькуляторы были подлинно индивидуальными и достаточно мощными вычислительными устройствами. Кое-кто ухитрялся даже программировать на них игры. Но в основном калькуляторы были в почете у научных работников, преподавателей вузов и студентов. Трудно переоценить те возможности, которые они дали в изучении численных методов и математических моделей.
В те годы литература по программируемым калькуляторам пользовалась огромным спросом. Так, справочник [21], изданный в крупнейшем научном издательстве СССР «Наука. Физматлит», разошелся тремя изданиями с тиражом более 1 миллиона экз.
Затем пошла мода на программирование на языках высокого уровня. Особую популярность получил Бейсик – книга [22] вышла тиражом в 300 000 экз. Оценили наши работы по Бейсику и за рубежом – книга [23] признана на западе одной из лучших и продается по сей день. Свой вклад внесли языки программирования Алгол, Паскаль, Фортран, Лого, Форт и многие другие.
Проигрыватели дисков DVD
Для проигрывания дисков DVD, наряду со встроенными в компьютерами драйвами, применяются стационарные проигрыватели. Они выпускаются многими фирмами. На рис. 5.48 показан стационарный проигрыватель фирмы Sony DVP-NS700V/S.
Рис. 5.48. Стационарный проигрыватель DVD и втдеодисков фирмы Sony DVP-NS700V/S
Эта модель оснащена самым современным механизмом привода Precision Drive 2, встроенным декодером системы Dolby Digital (см. ниже) и обеспечивает точное воспроизведение дисков любых форматов: DVD Video/ DVD-R/ DVD-RW/ SACD/ CD/ CD-R/ CD-RW.
Проигрыватели MPфайлов с твердотельной памятью
Проигрыватели MP3-файлов с твердотельной памятью – самые миниатюрные из электронных аудиоустройств. Они выпускаются даже в составе электронных часов (например, фирмы Casio) и в виде отдельных проигрывателей. Как правило, в них предусмотрена возможность замены файлов, путем перезаписи их с компьютера, с CD-ROM дисков или даже из Интернета. Пожалуй, главный недостаток таких проигрывателей заключается в необходимости время от времени подключать их к компьютеру. Иначе набор записанных в память вещей быстро вам наскучит. Другой недостаток - небольшой объем встроенной памяти - от 32 до 128 Мбайт. Это вынуждает использовать сильно сжатые MP3-файлы, что несколько снижает качество воспроизведения музыки. Тем не менее, оно выше, чем у аналоговых кассетных магнитофонов.Аудиоплейеры CD-YEPP фирмы Samsung с системой улучшенного воспроизведения басов Super Bass Sound воспроизводят файлы в форматах МР3 и WMA с дисков CD, CD-R/RW. Цифровые МР3-файлы можно записать на CD-R/RW с Web-сайта или переписать с аудио диска с помощью компьютера. Все модели YEPP оснащены системой «антишок» — дополнительным ресурсом памяти, из которой воспроизводится запись во время кратковременных сбоев, вызванных сотрясением плейера. Плееры серии YEPP используют для хранения музыки наиболее распространенные карты памяти SmartMedia Card.
Плеер YP-30S (рис. 5.24) имеет объем встроенной памяти 64 Мбайта. Питания от одной батарейки AAA хватает на время записи в режиме цифрового диктофона до 4,5 ч. Аппаратик поставляется с компакт-диском, на котором имеется программное обеспечение (RealJukebox, телефонная книга и примеры музыкальных MP3-файлов). Плеер имеет эквалайзер на 4 фиксированные настройки. Есть порт USB, к которому поставляется соответствующий кабель USB. Дисплей отображает три строки, предусмотрено отображение даты и времени. Размеры: длина (мм) 65 мм, ширина 44 мм, высота 14,5 мм, вес всего 34 г. Придаются: зажим для ношения на поясе и ремешок для ношения на руке.

Рис. 5.24. Проигрыватель MP3-файлов Yepp YP-30S
Два других плеера YP-20S и YP-20T (рис. 5.25) отличаются «космическим» дизай
ном. Они имеют теже характеристики, но если у YP-20S объем встроенной памяти составляет 32 Мбайта, то у YP-20T - 64 Мбайта. У них чуть меньше вес (32 г) и габариты (70´42´22).Рис. 5.25. Проигрыватель MP3-файлов Yepp YP-20S и YP-20T
Проигрыватели видео-CD
В последние годы резко возросли требования к качеству воспроизведения видеофильмов - как профессиональных, так и учебных и любительских. Этому способствовало появление целого ряда видеокамер, обеспечивающих четкость изображения порядка 450-500 линий по горизонтали и выше. Аналоговые средства записи изображений такое качество изображения не обеспечивают, а цифровые камеры слишком дороги. Надежды на внедрение высококачественного видео связаны с появлением видеодисков и DVD-дисков.Официально видеодиски родились в сентябре 1993 года, когда группа крупных фирм (Matsushita, JVC, Philips и Sony) предложила единый стандарт для видеодисков с MPEG-с кодированием информации. Он был изложен в виде белой книги (White book) и специалистам известен как стандарт «Video CD v1.1 technical standart». Стандарт базируется на положениях, взятых за основу создания дисков караоке.
Летом 1994 года была предложена вторая версия стандарта Video CD v.2, в которой были заданы интерактивное управление дисками, получение стопкадра и управление процессом воспроизведения. При этом обеспечивается два режима воспроизведения:
1. Нормальный – с разрешением 352 линии по горизонтали и 288 по вертикали.
2. С повышенным разрешением - 704 линии по горизонтали и 480 по вертикали.
Благодаря эффективному сжатию информации скорость считывания у Video-CD составляет 1,376 Мбит/c, что практически равноценно скорости считывания информации у обычных аудио-CD и у CD-ROM-драйвов. Тем самым обеспечена возможность просмотра Video-CD на проигрывателях, считывающих CD-ROM и аудио-CD. Правда, при этом время записей на Video-CD остается тем же, что и у аудио-СD, т.е. 74 минуты.
Сейчас в крупных магазинах и на базарах можно встретить десятки и сотни наименований видеодисков типа Video-CD. Стоимость видеодисков лежит в пределах от нескольких долларов для так называемых «пиратских» копий и до 20-250 $ для фирменных дисков. Учитывая, что в быту такие видеодиски выдвигаются на роль образцовых записей видеофильмов (они и впрямь дают наивысшее качество изображения среди бытовых видеоустройств), то такая цена не кажется высокой.
Лазерные видеодиски и их проигрыватели обладают целым букетов достоинств:
· высокое качество изображение (а у дисков формата MPEG-2 просто превосходное),
· независимость качества воспроизведения от числа проигрываний и времени хранения (записи на видеокассетах теряют качество уже после десятка-двух проигрываний и после нескольких лет хранения),
· высокая стабильность изображения,
· возможность проигрывания целым рядом средств - мультимедиа-ПК, специализированными и многосистемными проигрывателями, приставками для игр и т.д.,
· малыми габаритами и весом,
· легкостью тиражирования.
К сожалению, Video-CD не лишены и недостатков:
· пока Video-CD заметно дороже видеокассет с готовыми записями,
· запись Video-CD требует сложного и дорогого оборудования и пока, даже при наличии записывающих CD-ROM-драйвов, нереальна в бытовых условиях,
· воспроизведение быстро изменяющихся объектов иногда ведет к их распаду на отдельные квадратики,
· время воспроизведения мало (74 минуты), так что большинство полнометражных фильмов записывается на пару дисков в одной упаковке,
· при смене дисков возникает пауза в просмотре (хотя и куда меньшая, чем пресловутые рекламные паузы в передачах нашего телевидения),
· качество изображения все же хуже, чем в форматах S-VHS и Hi8,
· при проигрывании на мультимедиа-ПК HiFi качество звукового сопровождения достигается только при достаточно производительном компьютере - например с микропроцессором, оптимизированным под исполнение мультимедиа-команд (процессоры класса MMX).
Тем не менее, можно сказать, что Video-CD состоялись! Многие их недостатки были устранены применением Video-CD нового поколения (c MPEG-2) и с появлением новых дисков VCD. Многие фирмы мира выпускают проигрыватели видео-CD в основном в виде настольных аппаратов. Как правило, они проигрывают как диски Video-CD, так и VCD.
Особое значение в последние годы приобрели компакт-диски нового поколения – формата MP4. Они являются дальнейшим развитием Video-CD и позволяет довести время воспроизведения видеофильмов с высококачественным звуковым сопровождением (по системе 5+1, принятой в домашних видеотеатрах) примерно до 3 часов. При этом обеспечивается качество воспроизведения, вплотную приближающееся к качеству дисков DVD (см. ниже), но при несравнимо меньшей стоимости дисков (у нас 2-3 $). Однако на момент подготовки этой книги проигрывание дисков формата MP4 было возможно только на компьютерах.
Проигрыватели звуковых оптических компакт-дисков
Проигрыватели звуковых оптических компакт-дисков появились уже давно. Однако это были дорогие стационарные установки. С появлением компьютерных технологий обработки и записи цифровых сигналов, описанных в Главе 3, они были использованы и для новых разработок устройств, как для проигрывания, так и для записи звуковых компакт-дисков. В результате сейчас такие устройства стали вполне обыденными.
Наряду со стационарными проигрывателями (в том числе на 3-10 дисков) выпускаются миниатюрные проигрыватели с батарейным питанием, по площади корпуса чуть большей площади самого диска, но с толщиной в 1,5-3 см. На рис. 5.19 показан такой проигрыватель фирмы Aiwa.Рис. 5.19. CD-проигрыватель XP-R123 фирмы Aiwa
Такие проигрыватели обычно имеют стандартные органы управления в виде кнопок или клавиш со следующими обозначениями:
^ OPEN - открытие крышки диска;
¦ - остановка проигрывания;
>¦ ¦ - пуск и остановка проигрывания;
>>¦ - переход к следующей записи;
¦<< - переход к предшествующей записи.
Разумеется, у каждой модели проигрывателя могут быть и другие органы управления.
Особое место занимают проигрыватели аудио-CD, позволяющие проигрывать еще и диски с файлами формата MP3. Такие диски содержат число записей в 5-15 раз большее, чем обычные аудио-CD. Для проигрывания MP3-файлов нужны специальные аппаратные и программные средства, которые входят в проигрыватели этого класса, что несколько их удорожает. На рис. 5.20 представлен такой проигрыватель корпорации Sony.
Рис. 5.20. Проигрыватель аудио-CD и дисков с MP3-файлами Sony DCI-001EEОсобое место среди проигрывателей MP3-файлов занимают проигрыватели, в которых такие файлы хранятся на миниатюрном жестком диске с емкостью около 6 Гбайт. Этого хватает на запись 100-150 часов музыки. К сожалению, такие проигрыватели пока дороги и применяются редко. Они как бы образуют переход от проигрывателей с механизмом проигрывания к полностью твердотельным проигрывателям, у которых вообще нет механизмов вращения дисков и магнитных или оптических головок.
Работа с сотовым телефоном
Перед вводом телефона в эксплуатацию надо установить в телефон так называемую SIM-карту и аккумулятор и зарядить последний. SIM-карта (Subscriber Identity Module) — это идентификационный модуль пользователя, то есть устройство, открывающее доступ к услугам сети какого-либо оператора. Телефон стандарта GSM без SIM-карты способен только на звонки по экстренному номеру (112). В памяти микросхемы SIM-карты хранится персональная информация об абоненте, его идентификационный номер и телефонная книжка.
Для проведения телефонного обмена включите телефон (рис. 4.12) кнопкой включения. Задержите кнопку нажатой, пока телефон не включится и на экране не появится название сети, к которой вы приписаны, например BEE LINE или МТС, и время разговора. Время вхождения в сеть может составить несколько секунд, но иногда доходит до 10-15 с. На экране дисплея может появиться и иная информация, например, индикатор контроля уровня радиосигнала и изображение батареи с указанием степени ее заряда. Сверху аппарата начнет мигать зеленым цветом светодиодный индикатор.Рис. 4.12. Внешний вид и назначение органов управления мобильного телефона Ericsson R520m
Теперь наберите номер, по которому вы собираетесь звонить. Учтите, что это должен быть, скорее всего, полный номер с указанием кода вашего региона (города, области и т.д.). Номер набирается нажатием нужных цифровых клавиш с индикацией номера на экране дисплея. Если вы ошиблись в наборе какой-то цифры (смотрите на дисплей), то удалите ее клавишей C и продолжайте набор.
Завершите набор нажатием клавиши YES, и телефон начнет выполнять соединение с вашим абонентом. Это будет подтверждено сообщением на экране дисплея, а из динамика послышатся известные всем звуки - гудки. После ответа абонента начните разговор с ним в самом обычном порядке. По завершении разговора нажмите кнопку NO. Телефон перейдет в режим «спячки» или ожидания. При этом вам могут звонить другие абоненты - если вы дали им номер своего мобильного телефона.
Нажмите клавишу YES и начните разговор с вызвавшим вас абонентом. По завершении разговора нажмите клавишу NO. Если вы не хотите вести разговор, то зачастую можно послать вызывающему сигнал «Занято». Например, используя аппарат Ericsson R520m для этого достаточно дважды быстро сдвинуть рычажок регулятора громкости вверх.
Очень удобным средством вызова является телефонная книга. Эта книга вызывается из меню. Телефонная книга – это просто список абонентов с их телефонами (обычными, мобильными и факсами). Список отсортирован в алфавитном порядке. Вы можете вызвать любого абонента из этой книги и начать говорить с ним.
Иногда мобильный телефон надо отключить от сотовой сети. Для этого нажмите кнопку NO и удерживайте ее несколько секунд - пока телефон не выключится (перестанет гореть светодиодный индикатор и очистится экран дисплея). В этом случае звонить на ваш номер нельзя и оператор сети будет сообщать, что ваш телефон отключен или находится вне пределов сети.
Для управления телефоном обычно служит меню. Меню у каждого телефона свое. Например, у телефона Ericsson R520m оно представлено семью окнами:
1. Phone book - телефонная книга.
2. Messages - сообщения.
3. On going call или Call info - информация о вызовах.
4. Settings - установки.
5. Extras - внешние устройства.
6. WAP services - сервис WAP для работы в Интернете.
7. My shortcuts - клавиши пользователя.
В каждой позиции меню, представленной окном-вкладкой, имеется ряд команд. Для вызова первого или последнего окна меню используются клавиши графического манипулятора «Вправо» и «Влево». Они же используются для переключения окон перемещением выделения вкладок, список пиктограмм которых представлен сверху каждого окна. Клавиши графического манипулятора «Вверх» и «Вниз» применяются для выделения (инверсией цвета надписи и фона) соответствующих позиций меню (команд) с перемещением выделения по кольцу.
Для фиксации и отмены ввода используются клавиши с надписью YES и NO. Оставшиеся две клавиши управляют вводом опций и отменой последней операции.
Некоторые возможности сотового телефона требуют ввода текстов. В отличие от компьютеров, сотовые телефоны имеют заметно упрощенную клавиатуру. Помимо указанных на рис. 5.7 управляющих клавиш большинство сотовых телефонов имеет всего 12 клавиш из которых 10 - цифровые, а 2 служат для переключения регистров и ввода специальных символов. Их приходится использовать и для ввода текстовых символов. При этом каждая клавиша используется многократно. Например, на средней клавише верхнего ряда есть обозначение
2
ABC
Оно означает, что при цифровом вводе клавиша вводит цифру 2, а при текстовом вводе - одну из букв A, B или C. Для ввода буквы A достаточно быстро нажать клавишу один раз, для ввода B - два раза и для ввода C - три раза. Клавиша C позволяет удалять последний введенный символ. Клавиша переключения регистра (самая левая снизу) позволят задавать ввод букв строчных или прописных. Таким образом, особых проблем с вводом англоязычных текстов нет - за исключением отнюдь не удобного ввода большинства символов нажатием нужной клавиши два и более раз.
Оценивая в целом средства ввода текстов можно сказать, что у мобильных телефонов они находятся в зачаточном состоянии. Эти средства не предназначены для серьезной работы с текстами. Но она и не является характерной для сотовых телефонов. Все, что нужно при работе с ними, - это вводить короткие текстовые сообщения и заполнять телефонную книгу.
Размножение и накопление информации
Другим важным свойством информации является возможность ее размноженияи накопления. Книгоиздание – один из самых известных примеров реализации этих возможностей. С появлением книг и печатного станка (его изобрел Иоганн Гутенберг еще в середине XV века) человек приобрел возможности тиражирования информации и ее накопления. В наши дни широкое распространение получили светокопировальные устройства, позволяющие в секунды получить копию листа с текстом и с рисунками.
В то же время надо учитывать, что информация постепенно утрачивается. Это связано как с прямой ее потерей, так и старением информации. В ходе старения информация теряет свою актуальность, а нередко просто забывается и теряется.
Регистры микропроцессора
Для выполнения большинства операций нужно где-то хранить входные данные, промежуточные и итоговые результаты вычислений. Для этого процессор имеет свои быстродействующие устройства памяти, называемые регистрами. Числа в них раскладываются как бы по полочкам – разрядам так называемых регистров. Регистры имеют порты ввода и вывода данных. Микропроцессор имеет множество регистровых операций, например, очистки регистров, перемещения чисел из одного регистра в другой и т.д.Имеются также регистры, в которых создаются и хранятся адреса ячеек ОЗУ с программами и данными – регистры адресации. Детали организации регистров и их специальные названия едва ли нужны большинству пользователей, но программисты должны их знать. Так же, как и язык программирования микропроцессоров Ассемблер, который переводит символические команды программ в машинные коды.
Вид дисплея на электронно-лучевой трубке
ЭЛТ цветных дисплеев имеют три электронных луча и специальные устройства сведения их в трехцветные области экрана (триады – рис. 3.23). Меняя интенсивность этих лучей, можно получить практически любой цвет пятна. Для направления каждого луча на нужную область триад (красную, зеленную или синюю) служит специальная металлическая маска - либо теневая с отверстиями, либо с апертурной решеткой в виде вертикальных полос.
Рис. 3.23. Схематичное устройство цветного кинескопа
Дисплеи имеют генераторы кадровой и строчной развертки, вырабатывающие сигналы для построчного перемещения луча. Они подаются на катушки магнитной системы отклонения луча. Кроме того, дисплеи имеют электронику управления и стабилизации изображения и источник питания (см. более подробное описание в Главе 5).
Стандартные VGA и SVGA дисплеи имеют размер по диагонали 14 дюймов (36 см). Он оптимален для многих применений в MS-DOS. Для операционных систем класса Windows, окна которых наполнены мелкими объектами - пиктограммами, желателен больший размер экрана. Для бытовых условий это 15 дюймов (39 см). Дорогие дисплеи с большим размеров экрана нужны при профессиональном применении ПК, например, для верстки газетных и журнальных страниц, работе с графическими САПР и т.д. Диаметр светового пятна современных дисплеев от 0.2 до 0.39 мм.
Современные дисплеи зеленой линии (Green Line) используют энергосберегающий режим работы. По сигналу от ПК во время его бездействия они снижают потребляемую мощность с 70-90 Вт до 10 Вт и менее. По степени защиты пользователя от радиации дисплеи делятся на обычные (без защиты) и класса LR (Low Radiation - низкая радиация). Многие дисплеи имеют антибликовое покрытие экрана.
Роль магнитной памяти
Оперативная память сразу теряет информацию при выключении питания. Да и не так она велика, чтобы хранить множество программных продуктов, с которыми работает современный ПК с многозадачной операционной системой, и данных для них. Поэтому возникает необходимость во внешней памяти.Внешняя память реализована в основном на магнитных дисках. Для работы с ними служат дисковые накопители различных типов. Самыми распространенными являются накопители на несъемных жестких дисках и на съемных гибких дисках, а в последнее время и накопители на оптических и других специальных дисках.
Рождение IBM PC
В наше время только в США установлены десятки тысяч больших ЭВМ, вроде IBM 360/370, называемых сейчас мэйнфреймами (mainframe –компьютер в стойке). Но в конце 70-х годов IBM столкнулась с новым и крайне неприятным для нее фактором - серьезной конкуренцией со стороны мини-ЭВМ, а затем и микро-ЭВМ. Их куда охотнее покупали многие малые компании, чем знаменитые большие IBM 360, популярные в те годы.Специалисты свободного творчества (писатели, художники, научные работники) тоже были не прочь иметь компьютер у себя дома. Разумеется, занимающие целые залы дорогие ЭВМ 360 и 370 для этой цели были абсолютно непригодны. Не годились для них и радиолюбительские наборы для сборки компьютеров: известно, что многие представители этой творческой братии не знают, как держать в руках даже отвертку. А дать им в руки паяльник просто опасно!
Стал расти спрос на малые компьютеры фирмы Apple II. Огромное количество их явно перерастало в новое качество - все большая часть экономических и научно-технических приложений ЭВМ стала отходить от больших ЭВМ к микро-ЭВМ. Большим потребителем таких машин стала сфера образования – мудрая Apple направила бесплатно в школы США 100 000 своих компьютеров и навсегда сделала их желанными в школах и университетах.
Ответом IBM на это стал проект разработки массового персонального компьютера - IBM PC. Группа, которой была поручена разработка ПК, пользовалась неслыханными льготами. Ей было разрешено даже использовать любые разработки других фирм. В итоге был создан вполне полноценный офисный и домашний компьютер, оснащенный качественным устройством отображения информации (дисплеем) и современным дисковым накопителем.
Для выброса IBM PC на рынок фирма IBM выбрала очень подходящий момент. После первого успеха с Apple-II фирма Apple сорвала разработку вначале Apple-III, а затем и мощной, но дорогой ЭВМ «Lisa» (прообраза куда более удачного ПК Macintosh). Ее цена достигла 10000 $, что исключало применение такого компьютера в качестве персонального.
В этом момент (август 1981 года) IBM и осуществила массированное выдвижение на рынок США своих ПК -IBM PC. Компьютеры были названы «PC», откуда и появился термин «персональные компьютеры», или «писишки». По зарождающемуся рынку простых и дешевых малых компьютеров был нанесен сокрушительный удар!
Первые ПК IBM PC имели один накопитель на гибком диске и использовали кассетный магнитофон в качестве другого накопителя. В ПЗУ ПК был встроен язык программирования Бейсик. Емкость ОЗУ ПК составляла всего 64 Кбайта. Дисплей ПК был алфавитно-цифровой, но давал прекрасное качество отображения букв и цифр.
Семантическая и прагматическая меры информации
Для измерения смыслового (семантического) количества информации используется тезаурус – совокупность сведений, которыми располагает пользователь или система распознавания информации. Пусть S – смысловое содержание информации, а Su – тезаурус пользователя. Если Su = 0, то поступающая информация для пользователя (или системы) бесполезна, ибо пользователь не знает, как ее интерпретировать. А если Su ® ¥, то пользователь уже все знает и поступающая информация для него также бесполезна. Таким образом, можно утверждать, что зависимость количества получаемой семантической информации Is = f(Su) имеет максимум и спадающие участки по обе стороны от него.Отношение количества семантической информации Is к объему данных Vd принято называть относительной мерой количества семантической информации С = Ic/Vd.
Прагматическая мера информации определяет ее ценность для конкретного пользователя. Например, информация может быть ценной из-за того, что она относится к конкретному лицу или устройству, которое интересует пользователя. Она может быть ценной из-за того, что может размещаться на доступных пользователю накопителях информации и т.д.
Семейство роботов-собак AIBO
Недавно мир был потрясен созданием в Японии роботов-собак семейства AIBO, которые уже поступили в продажу и имели большой спрос ввиду своей умеренной цены (от одной до трех тысяч долларов) и необычных возможностей.
Новейшая модель собаки-робота ERS-220A (рис. 5.51) имеет футуристический дизайн, разработанный известным японским аниматором Масахару Кавамори (Masaharu Kawamori). Собака-робот оснащена большим количеством светодиодных индикаторов, выражающих разнообразные эмоции, а также дополнительными сенсорами на хвостовой части туловища. Эта модель ориентирована в первую очередь на любителей технических новинок, для которых необычный внешний вид и сложность изделия куда важнее схожести с реальным живым существом.Рис. 5.51. Собака-робот ERS-220A
Инженеры Sony научили робот вполне реалистичному передвижению, способности видеть, чувствовать и имитировать все повадки собак. Для этого робот наделен искусственным интеллектом. Она учится, наблюдая за происходящими вокруг событиями и даже выражает свое настроение - радуется, если с ней часто играют и, наоборот, может проигнорировать очередную вашу команду, если ей уделяли мало времени.
AIBO доставит немало радости и детям и взрослым! Но главное, он позволяет на самом современном уровне изучать применение таких сложных искусственных объектов, как роботы. Для полного использования возможностей робота нужно приобрести одну из программ: AIBO Explorer или AIBO Life-2.
Интересно отметить технические характеристики робота, представленные как характеристики собаки:
· Порода: ERS-220.
· Окрас: серебристый.
· Интеллект: 64-разрядный RISC-процессор, 32 МБ оперативной памяти.
· Движения: 16 степеней свободы, обеспечивающих удивительную естественность движений робота.
· Зрение: цифровая видеокамера и инфракрасный сенсор расстояния.
· Слух: два стереомикрофона.
· Осязание: датчики прикосновения на голове, спине, хвосте, лапах.
· Словарный запас: понимает 75 голосовых команд, поданных на английском языке, от «сидеть» до «спой песенку».
Такие роботы, применяемые как средства ТСО, весьма перспективны. Они позволяют не только осваивать основы робототехники, теории и практики управления сложными объектами, но и решать задачи реального применения систем искусственного интеллекта и нечеткой логики.
Шины и разрядность микропроцессора
Микропроцессор подключается к системной шине, как и прочие блоки компьютера. Для выделения каждого устройства оно наделяется уникальным адресом – как квартиры, дома и улицы в большом городе. Недаром современные ПК имеют так называемую шинную архитектуру, которая позволяет в неограниченном количестве наращивать ПК все новым и новым периферийным оборудованием.Шина на материнской плате компьютера – это множество плоских проводников. К шинам подключены специальные буферные микросхемы.Удобства ради принято делить системную шину на три шины.
Шина данных – двунаправленная шина, по которой данные от различных периферийных устройств подаются в процессор или, напротив, посылаются от процессора в эти устройства.
Шина адресов – однонаправленная шина, по которой от процессора посылаются сигналы, указывающие на адрес того или иного периферийного устройства.
Управляющая шина – двунаправленная шина, по которой передаются управляющие сигналы, обеспечивающие заданную последовательность работы микропроцессора и различных периферийных устройств компьютера.
По проводам шин данных и адресов идут двоичные электрические сигналы. Число проводов задает разрядность шин. В общем случае она различна для данных и адресов. Чем выше разрядность шины данных, тем больше информации передается за раз по ней. Разрядность шины адресов определяет максимальный адрес адресуемой ячейки памяти. Рабочие частоты шин современных микропроцессоров лежат в пределах от 66 до 800 МГц.
Помимо внешних шин, микропроцессор обычно имеет свои встроенные шины, которые формируются на его чипе. Размеры чипа (кристалла микропроцессора) малы, а потому такие шины могут иметь более высокие частоты работы.
Шины ПК и разъемы расширения
На материнской плате ПК шина - это внешне незаметная группа печатных проводов. Применяются следующие типы шин:ISA (Industry Standard Architecture) – устаревшая шина ПК IBM PC XT, имеющая разрядность данных 8 бит и адресов 20 бит (у ПК AT она была увеличена до 16 и 24 бит соответственно). Разъемы расширения шины имели 62 контакта (плюс 36 для AT). Вариант EISA (Extended ISA) имел уже 32-разрядную шину данных (рис. 3.7);
MCA (MicroChanel Architecture) – шина компьютеров IBM PS/2 с закрытой архитектурой. Эта шина также уже не применяется;
PCI (Peripheral Computer Interconnect) – основная в наши дни шина для подключения периферийных устройств к ПК (рис. 3.7). Это надежная синхронная 32/64-разрядная шина. Частота ее работы была увеличена с 33 до 150 МГц и выше. Поддерживает подключение до четырех устройств, но с помощью мостов (PCI Bridges) их число можно увеличить. Слоты шины уменьшенного (по сравнению с ISA) размера имеют 94 контакта.
Со временем для ускорения работы видеоадаптера и жесткого диска были введены так называемые локальные шины (local
bus):
· VLB (VESA Local Bus) – локальная ускоренная 32-разрядная шина, введенная после создания процессоров Intel 486. В настоящее время устарела и в новых ПК не применяется;
· AGP (Accelerated Graphic Port) – новая ускоренная шина (графический порт) для подключения видеоадаптера, имеющая 66 контактов. Тактовая частота порта 66,66 МГц. Появились порты с ускорением в два раза AGP´2 и даже в четыре раза – AGP´4.
Широкое применение получила высокоскоростная универсальная последовательная шина – USB. Она хорошо дополняет традиционные порты ПК – последовательный порт RS-232 (COM) и параллельный (LPT).
Синтаксическая мера информации – бит и байт
Синтаксическая форма адекватности информации характеризуется объемом данных и количеством информации. Объем данных чаще всего измеряется числом символов (разрядов) Vd в передаваемом сообщении. В двоичной системе один разряд - это бит (или байт = 8 бит), в десятичной системе - это число, представленное одной арабской цифрой (от 0 до 9).Единицей двоичной информации является бит. Он имеет всего два значения - логический 0 и 1 (или утверждения «Да» и «Нет» или «True» (Истина) или «False» (Фальшь или неправда). Бит может быть простейшим электрическим сигналом - есть напряжение на проводе, это логическая единица, нет - логический ноль. Точная величина напряжения принципиального значения не имеет.
Двоичные числа могут иметь много разрядов. К примеру, для передачи 16 значений десятичных чисел от 0 до 15 придется использовать минимум четыре разряда двоичного числа (24
= 16). Число 0, к примеру, мы можем записать как двоичное 0000, число 15 как 1111, а число 10 как 1010. В последнем случае имеем 10=1´8 + 0´4 + 1´2 + 0´1, где 8, 4, 2 и 1 - это веса разрядов двоичного числа.
По мере роста объема передаваемой информации пришлось перейти к более крупным единицам ее измерения. Оказалось, что для кодирования текстов самым приемлемым пакетом двоичных единиц информации стали байты - они содержат восемь двоичных единиц и, соответственно, имеют два в восьмой степени состояний (всего 28 = 256 со значениями от 0 до 255). Итак, информацию можно оценивать ее объемом - байтами, килобайтами (1 Кбайт = 1024 байта), мегабайтами (1 Мбайт = 1024 Кбайт) и т.д.
С идеи двоичного кодирования началось развитие цифровых вычислительных машин. Этому способствовало и то, что были созданы простые электронные схемы с двумя устойчивыми состояниями равновесия - например, электронные триггеры и запоминающие ячейки на основе заряжаемого и разряжаемого конденсатора. Простота этих схем содействовала надежности их работы и возможности миниатюризации.
Сканеры
Неоценимую пользу в подготовке графических файлов может принести сканер – устройство ввода, сканирующее по строкам любой рисунок или текст и передающее информацию о нем в персональный компьютер. Большинство настольных планшетных сканеров выглядят просто как прямоугольный ящик с крышкой. Под нее на стекло кладется сканируемые тексты или рисунки (вниз сканируемой поверхностью). Крышка закрывается и начинается процесс сканирования. Крышка сканера часто делается съемной для сканирования страниц толстых книг. У некоторых сканеров предусмотрена возможность сканирования слайдов.Для работы со сканерами нужно проинсталлировать их драйверы и использовать программы, имеющие возможности для такой работы. Обычно они поставляются в комплекте со сканерами. Но есть много программ, например PhotoShop, PhotoPaint и др., которые обеспечивают многофункциональную работу со сканерами. Стандартным считается набор драйверов с названием TWAIN.
Отсканированное изображение записывается в виде файлов с обычными графическими форматами TIF, PCX, JPEG и др. Довольно часто сканеры используются для сканирования текстов и преобразования их в текстовые файлы. Для этого используется программа Fine Reader и другие подобные программы.
Состав информационной среды обучения
ИСО включает в себя две взаимосвязанные и взаимодействующие составляющие, которые вместе обеспечивают ее эффективное функционирование: носители информации, хранящие дидактические материалы (дидактическое обеспечение), и аппаратуру для воспроизведения хранящейся на носителях информации (аппаратное обеспечение) (рис. 1.8).В зависимости от того, на какие органы чувств воздействует тот или иной элемент ИСО, можно выделить следующие их группы:
· звуковые средства обучения и воспитания (ЗСОВ);
· экранные средства обучения и воспитания (ЭСОВ);
· экранно-звуковые средства обучения и воспитания (ЭЗСОВ);
· средства вычислительной техники (СВТ).
ЗСОВ включают радиопередачи и звукозаписи. Для того чтобы использовать в учебно-воспитательной работе учебные радиопередачи, требуется радиоузел.
Согласно физическим принципам, положенным в основу записи, хранения и воспроизведения информации, к носителям звуковой информации относятся: магнитная лента и компакт-диск и соответствующая им аппаратура - магнитофон и проигрыватель компакт-дисков. Часто магнитофон и проигрыватель компакт-дисков и радиоприемник конструктивно объединяются в одном устройстве, называемо магнитолой.

Рис. 1.8. Состав информационной среды обучения
К носителям ЭСОВ относятся диапозитивы, диафильмы, эпиобъекты и транспаранты.
Диапозитивы и диафильмы представляют собой фотографические позитивные изображения (цветные и черно-белые) и демонстрируются на просвет (диа - сквозь), а эпиобъекты - это непрозрачные плоские графические изображения (открытки, иллюстрации, схемы и т.п.), которые демонстрируются в отраженном свете. Транспаранты - это особый вид диаобъектов, представляющие собой графические изображения, выполненные на прозрачной пленке и имеющие значительные по сравнению с диапозитивами размеры, что позволяет учителю изготовить их самостоятельно.
Аппаратура ЭСОВ - это диапроекторы, эпипроекторы, эпидиапроекторы ( комбинированные аппараты, позволяющие демонстрировать эпи- и диаобъекты) и кодоскопы (графопроекторы).
Следующий класс ИСО - это ЭЗСОВ, которые воздействуют одновременно на зрение и слух, кроме того, они являются динамическими, так как позволяют демонстрировать подвижные изображения, т.е. показать процесс, тогда как ЭСОВ, будучи статическими, позволяют показать только неподвижные изображения, т.е. состояние.
К носителям ЭЗСОВ относятся кинофильмы, телепередачи и видеозаписи, а соответствующая им аппаратура - это киноустановка, телевизионный приемник, видеомагнитофон и видеопроектор.
Современные средства вычислительной техники СВТ представляют собой новый и мощный класс, занимающий особое место в ИСО. Статические и динамические изображения объектов на экране дисплея и звуковые возможности компьютера позволяют апеллировать к зрению и слуху учащихся, и в этом отношении СВТ обладают всеми возможностями ЭЗСОВ.
Реализация диалогового взаимодействия с учащимися качественно изменяет характер «общения» и существенно расширяет область использования СВТ в различных учебных ситуациях.
Носителем информации этого класса ИСО является программное обеспечение (ПрО). Следует отметить, что физическим носителем информации в СВТ служат магнитные и оптические носители, однако именно ПрО делает компьютер каждый раз как бы новым устройством, решающим совершенно другую задачу, и это обстоятельство позволяет нам считать носителем информации именно ПрО.
Аппаратурой этого вида ИСО являются ЭВМ, объединенные, как правило, в информационную сеть (компьютерный класс). В будущем можно полагать, что в ИСО будут широко применяться новейшие информационные технические средства, такие, как мобильные (в том числе карманные) компьютеры и телефоны, объемные экраны и иные новинки, которые могут появиться уже в самое ближайшее время.
Состав ИСО показывает, какими мощными и разнообразными техническими средствами располагает современный учитель.Они образуют область, именуемую техническими средствами обучения - ТСО. Нельзя указать наиболее эффективный вид ТСО, в зависимости от конкретной задачи и учебной ситуации возможно применение любого вида ТСО или их комплекса.
Развитие ИСО происходит в направлении совершенствования технических характеристик ее составляющих и создания комплексов ТСО на базе средств вычислительной техники, осуществляющей управление этими комплексами.
Современные магнитофоны
Магнитофоны делятся на две группы: катушечные и кассетные, однако для учебных целей применяются исключительно кассетные магнитофоны, которые мы и будем рассматривать. Кассетные магнитофоны используют скорость движения ленты 4,7 или 2,3 см/с. Важным преимуществом кассетных магнитофонов является удобство их эксплуатации.Большинство магнитофонов являются стереофоническими. В этом случае на каждую сторону магнитной ленты записывается одновременно сигнал левого и правого каналов. Стереофонический магнитофон содержит два комплекта узлов электрической схемы, представленных на рис. 5.13.
Некоторые магнитофоны не имеют оконечного усилителя и громкоговорителей. Такие магнитофоны называются магнитофонами-приставками, или деками. Деки часто делают с двумя лентопротяжными механизмами для перезаписи программ из одного механизма на другой.
Аналоговой магнитной записи присущи шумы, особенно заметные в паузах. Для их снижения применяются специальные шумоподавители системы Долби. Используется также динамическое подмагничивание, при котором уровень высокочастотного сигнала, подаваемого на головку записи зависит от уровня сигнала - он уменьшается при малых сигналах. Это повышает отдачу, особенно на высоких частотах и заметно снижает уровень шумов магнитофона (до -60 дБ).
Есть миниатюрные магнитофоны - проигрыватели (рис. 5.14). Они обычно рассчитаны на прослушивание музыкальных записей с помощью головных телефонов. Питаются такие проигрыватели от батареи гальванических элементов или аккумуляторов и весят порядка 150-200 г. Они легко помещаются в кармане.Рис.5.14. Миниатюрный магнитофон-проигрыватель HS-PS 301 фирмы Aiwa
Есть и специальные миниатюрные магнитофоны для записи речи - диктофоны (рис. 5.15). Они оснащены средствами быстрого включения и выключения при начале речи и ее окончании. Диктофоны обычно имеют небольшой динамик, позволяющий прослушать сделанную запись. Они очень удобны для протоколирования заседаний и проведения интервью журналистами.

Рис.5.15.
Миниатюрный магнитофон-диктофон VS-615 фирмы Aiwa
Для диктофонов были созданы специальные микрокассеты, размер которых почти вдвое меньше, чем у обычной кассеты. Выпускается множество диктофонов на таких микрокассетах. На рис. 5.16 показан один из таких диктофонов фирмы Sony. Этот диктофон имеет высокое качество записи и речевое управление записью. Рис. 5.16. Диктофон на микрокассете Sony M-550V
Важнейшими параметрами магнитофона являются:
· номинальный диапазон воспроизводимых частот;
· коэффициент нелинейных искажений;
· уровень помех и коэффициент детонации.
Коэффициент детонации характеризует равномерность движения магнитной ленты в магнитофоне. Если магнитная лента при записи и (или) воспроизведении движется неравномерно, то возникают характерные искажения звука - детонации.
Эти искажения наиболее заметны при воспроизведении фортепьянной музыки и проявляются в виде «плавания» звука. Для высококачественного магнитофона коэффициент детонации не должен превышать 0,05...0,1 %. Уровень помех характеризует соотношение между величиной полезного сигнала и величиной сигнала помех, возникающих в магнитофоне. В хорошем магнитофоне уровень помех составляет -50...-60 дБ.
Магнитные ленты делают на основе полимерного материала, на который нанесен рабочий слой. Рабочий слой состоит из порошка ферромагнитного материала, распределенного в связующем веществе. Магнитные ленты различаются шириной, материалом и толщиной основы, а также типом ферромагнитного материала рабочего слоя. Более тонкие магнитные ленты позволяют увеличить длину ленты на кассете и повысить время звучания. Выпускаются магнитные ленты толщиной 55, 37, 27 и 19 мкм.
Наибольшее применение находят магнитные ленты с рабочим слоем из порошка оксида железа (тип I). Для кассетных магнитофонов выпускаются также ленты с рабочим слоем из диоксида хрома (тип II) и др.Необходимо помнить, что использование магнитной ленты, не предусмотренной изготовителем, может привести к ускоренному износу магнитных головок. Тип магнитной ленты указан на кассете.
Магнитную ленту при эксплуатации следует оберегать от воздействия влаги, пыли и др. Нельзя ее размещать вблизи источников магнитного поля (электродвигатели, трансформаторы и т.д.), источников тепла, подвергать ее действию прямых солнечных лучей. При длительном хранении фонограмм необходимо один раз в полгода перематывать ленту для снятия внутренних напряжений. Необходимо эксплуатировать магнитную ленту на исправной аппаратуре. Неисправный лентопротяжный механизм вызывает вытягивание и коробление ленты, что приводит к порче фонограммы.
Современные модули оперативной памятиÄ
С 1997 г. произошел массовый переход на память, реализуемую микросхемами SDRAM в модулях DIMM. Они давали время доступа 50 нс при использовании чипсета 440BX. Затем появилась модули SDRAM PC100 (частота 100 МГц) с временем выборки 8 нс. Они широко используются с процессорами Celeron.Совершенствование этих модулей привело к созданию DDR SDRAM (SDRAM II) и ESDRAM со стандартным разъемом на 168 контактов (рис. 3.9) и частотой до 125 и позже 133 МГц. Пропускная способность ESDRAM достигла 1.6-3,2 Гбайта/c. Эти модули памяти используются в ПК с Pentium II, Pentium III и Pentium 4.
Новый процессор Pentium 4 оказался подлинным «полиглотом» в части применения памяти самого разного вида. Он поддерживает работу даже с модулями PC133, обеспечивая если и не рекордное, то вполне приемлемое ускорение скорости работы офисных программ. Это открыло возможность применения Pentium 4 с такой памятью для построения дешевых ПК.
Еще лучше результаты получаются при использовании DDR266/333, что дает выигрыш по скорости работы до 2-2,3 раз. Однако в целом применение этих модулей оказалось не очень оправданным – в ПК низшей категории можно применять старую и хорошо отработанную память на модулях PC133. Но новые модули вполне разумно применять для компьютеров на процессорах Athlon XP фирмы AMD. Перспективным видом памяти для ПК с Pentium 4 становится сверхскоростная память RDRAM фирмы Rambus, реализованная в модулях PC800 с рабочей частотой 800 МГц с разъемом RIMM (Rambus In-Line Memory Module).
Если для вполне удовлетворительной работы операционной системы Windows 98 хватало 64 Мбайт памяти, то новая Windows XP требует хотя бы 128 Мбайт. А для хорошей работы ее работы потребуется 256 Мбайт.
Создание корпорации Intel
Лидер микроэлектронной индустрии – корпорация Intel была основана тремя специалистами: Бобом Нейсом, Гордоном Муром и Энди Гроувом - в конце 60-х годов прошлого века. Название фирмы происходит от слов INTegral ELectronic (интегральная электроника). Начальную финансовую поддержку фирме в объеме 2,5 миллиона долларов оказал финансист Артур Рок. Поначалу Intel выпускала ходовой в те годы товар - микросхемы памяти.В 1969 году некая малоизвестная японская фирма Busicom заказала Intel разработку дюжины микросхем для своего нового микрокалькулятора. Ее поручили трем сотрудникам фирмы Intel - Теду Хоффу, Федерико Феджину и Стэну Мэйзору. Эта разработка и стала тем золотым яичком, которое снесла Intel и за которое они были занесены в список лауреатов Национального зала славы изобретателей США. Славная троица вместо десятка микросхем придумала одну, но такую, функции которой задавались программным путем.
Новую микросхему назвали 4004, а вскоре за ней утвердилось название «микропроцессор», поскольку ее функции напоминали функции центрального процессора ЭВМ. Создатели первых микропроцессоров считали их особенно перспективными в устройствах промышленной электроники и бытовой техники. Разработкой и производством микропроцессоров занялось множество фирм. Но бессменным лидером микропроцессорной индустрии остается корпорация Intel.
Специальные виды кодирования и криптография
Рассмотренное выше кодирование информации является самым простым. Существует множество и других систем кодирования:· кодирование с целью сокращения объема информации путем удаления из нее избыточной информации;
· кодирование для оперативной шифровки информации;
· помехоустойчивое кодирование для устранения влияния помех и случайных сбоев в каналах связи;
· кодирование для устранения несанкционированного доступа к информации или к информационным устройствам.
Более актуальным является кодирование для запрета несанкционированного доступа к данным или просто к информационным устройствам – программам, компьютерам, сотовым телефонам, средствам Интернета и т.д. Разработкой методов такого кодирования занимается специальная наука – криптография.
Имеется много вполне очевидных способов кодирования сообщения. В детстве все мы кодировали слова, произнося их задом наперед. Например, слово «привет» при этом звучало как «тевирп». Юрий Цезарь еще до нашей эры немного превзошел детей. В его письмах каждая буква с начала алфавита заменялась такой же по порядку, но с конца алфавита.
Применение компьютеров позволяет использовать в ходе кодирования хитроумные коды, получаемые в результате сложных математических расчетов и вводимые с помощью особых правил - ключей. При этом для расшифровки надо использовать другие ключи. Часто такие ухищрения применяются для защиты от копирования программ или обеспечения защиты от несанкционированного доступа к компьютеру или сотовому телефону.
Любопытно, что расшифровка кодов, например, простейшим методом их перебора, может быть возложена на сам компьютер. Однако при кодах высокой разрядности и специальных приемах шифрования (например, разложением чисел на простые множители) для разгадки кодов требуется так много операций, что такая разгадка становится сложной даже для супер-ЭВМ, превосходящих по производительности ПК во много тысяч раз.
Сравнение новых микропроцессоров класса Pentium
О данных трех последних поколений микропроцессоров Intel позволяет судить приведенная ниже таблица.| Характеристика | Pentium II | Pentium III | Pentium 4/4 M | ||||
| Число транзисторов | 7,5 млн. | 9,5 млн. | 42 - 75 млн. | ||||
| Тактовая частота | 0,45 ГГц | 1 ГГц | 1,4-3,06 ГГц и выше | ||||
| Тип исполнения | Динамический | Динамический | NetBurst, Hyper-Threading | ||||
| Кэш L2 | Отдельный | Отдельный | На кристалле | ||||
| Системная шина | 100 МГц | 133 МГц | 400 – 533 МГц | ||||
| Технология MMX | Есть | Есть | Есть | ||||
| Потоковые SIMD- Расширения | Нет | Есть | Есть | ||||
| Потоковые SIMD- Расширения – 2 | Нет | Нет | Нет |
Это сравнение позволяет еще раз сделать вывод о том, что процессор Pentium II стал бесперспективным. Его выпуск уже прекращен, тогда как выпуск Pentium III продолжается. Нишу Pentium II заняли более мощные и вполне современные микропроцессоры Celeron новых поколений.
Стереофоническое воспроизведение звука
Звуковые волны, достигающие правого и левого уха, несколько отличаются друг от друга. Если источник звука расположен сбоку от слушателя, то к одному уху звуковая волна приходит непосредственно, а к другому- обогнув голову. Мозг улавливает разницу в звуковых колебаниях, воспринимаемых левым и правым ухом. В результате человек может определить местонахождение в пространстве источника звука. Способность слуха определять направление на источник звука называется бинауральным эффектом.Слушатель, прослушивающий звуковую программу через один громкоговоритель, теряет часть информации, которую содержит звуковая волна. Для него звуки всех инструментов оркестра кажутся исходящими из одной точки. Теряется объемность звука. Такой способ звукопередачи называется монофоническим.
В стереофонических системах применяются два одинаковых канала звукопередачи. Каждый канал имеет функциональную схему, представленную на рис. 5.2. На рис. 5.3 показан современный стереофонический музыкальный центр футуристического дизайна, содержащий два усилителя с проигрывателем оптических дисков и минидисков (в центре) и две акустические колонки высокого класса.Рис. 5.3. Музыкальный стереофонический центр Sony CYBER CMT-5
Слушатель, находящийся в зоне стереоэффекта, ощущает объемность звука. Возникает возможность определить направление на источник звука. Качество звучания улучшается, повышается его естественность. При стереофоническом звуковоспроизведении менее заметны на слух частотные и нелинейные искажения. Качество звучания в целом существенно повышается.
Двухканальная стереофония нашла широкое применение в радиовещании и магнитной записи звука. Иногда применяются более сложные системы, например квадрофоническая четырехканальная система. При ней громкоговорители располагаются в углах комнаты. В так называемых домашних видеотеатрах применяются шестиканальные системы (5+1). Они имеют две пары акустических колонок спереди слушателя и сзади, отдельную колонку в центре (над или под телевизором) и низкочастотную колонку - сабфувер. Такие системы обеспечивают натуральное объемное звучание, например, при звуковом сопровождении видеофильмов, записанных на так называемые диски DVD, которые мы рассмотрим чуть ниже. Они обеспечивают высочайшее качество воспроизведения как видеофильмов, так и звука.
Световолокно и структура световолоконной линии
Свет имеет самую высокую скорость распространения из всех известных носителей информации. Мы часто видим вспышку молнии, и лишь через некоторое время до нас доходит звук грозового разряда. Ток в проводах распространяется намного быстрее звука, но и заметно медленнее, чем свет. Поэтому в последние годы широко применяются световолоконные линии связи.Отдельное световолкно такой линии представляет собой пруток из стекла с коэффициентом преломления n1 в центре и плавным переходом к оболочке, имеющей коэффициент преломления n2 - см. рис. 4.1. Воздушная среда имеет коэффициент преломления n0. Для подачи светового луча в световолокно и вывода его используются специальные оптические разъемы. Они похожи на электрические разъемы, но сложнее их и дороже.

Рис. 4.1. Конструкция волокна современного световолоконного кабеля
Если пустить вовнутрь трубки световой луч под малым углом ja, то он будет испытывать многократные внутренние отражения от стенок трубки и будет передаваться от начала трубки к ее концу. Если коэффициент преломления n внутри волокна меняется плавно, то и отражения будут носить плавный характер - как на рис. 4.1.
Поразительно, но в стекловолокне свет может передаваться на многие километры без сильных потерь, и при этом его можно модулировать с частотами примерно до 10 ГГц. Таким образом, через световолокно можно передавать гигантские объемы информации со скоростью, близкой к скорости света. При этом потери энергии света гораздо меньше потерь электрической энергии в проводных линиях связи.
Структура простейшей световолоконной сети следующая (eвх(t) и eвых(t) - временные зависимости напряжения входного и выходного сигналов):
eвх(t) ® излучающий диод ® световолокно ® фотодиод ® eвых(t).
Каждое преобразование ведет к потере энергии сигнала. Но это оправдывается возможностью передачи по световолокну огромных объемов информации. Кроме того такие потери информации компенсируются применением электронных усилителей, например после фотодиода. Нередко линии строятся с применением промежуточных ретрансляторов, которые имеют описанную структуру и дополняются усилителями.
Связь с применением инфракрасного порта
Инфракрасный порт, или ИК-порт,одно из наиболее часто используемых устройств для беспроводного обмена данными между мобильными устройствами: сотовыми телефонами, карманными компьютерами и ноутбуками. Есть даже внешние (периферийные) устройства с инфракрасными портами, например принтеры, сканеры, цифровые фотоаппараты и т.д.
ИК-порт представляет собой приемопередатчик, состоящий из свето- и фотодиодов, работающих в инфракрасном диапазоне (длина волны — от 850 до 880 нанометров). Цифровой сигнал после усиления направляется на светодиод одного устройства и посылается в виде инфракрасного излучения на фотодиод другого устройства. Сигнал фотодиода усиливается и восстанавливается по форме. Аналогично работает канал связи в обратном направлении. Таким образом, у обоих устройств должна быть пара светодиод-фотодиод.
Внешним признаком наличия ИК-порта является окошечко из темной (или темно-красной) прозрачной пластмассы, за которым находится пара светодиод-фотодиод. Скорость передачи информации с помощью ИК-связи колеблется в диапазоне от 2400 бит/с до 115 кбит/с, а в случае с компьютерными ИК-портами может достичь 4 Мб/с. Для ИК-связи существует свой стандарт совместимости — IrDA, позволяющий устройствам разных производителей понимать друг друга.
Для того чтобы связать два устройства посредством ИК-портов (рис. 4.6), необходимо соблюдать ряд требований. Так, между ИК-портами обоих устройств не должно быть никаких преград, расстояние между ними не должно превышать одного метра, а угол, под которым устройства должны находиться по отношению друг к другу, не должен превышать 60 градусов. Все эти нюансы делают ИК-связь не столь удобной в использовании, как бы того хотелось.

Рис. 4.6. Использование инфракрасного порта для связи между мобильным телефоном и компьютером (слева) и между двумя телефонами (справа)
Инфракрасный порт используется для решения простых задач - например, обмена данными телефонных книг, передачи музыкальных сигналов вызова и цифровых фото, подключения к компьютеру принтера и т.д.
Технические основы Интернета
Глобальная (общемировая) сеть Интернета – это совокупность неопределенного множества самых различных сетей, работающих по согласованным правилам - протоколам. Вначале решающее значение в глобализации Интернета сыграла уже существующая общемировая телефонная сеть. Именно она была способна подключить к «информационному облаку» Интернета практически любого пользователя, вне зависимости от места его проживания.Для связи удаленных компьютеров по телефонным линиям были разработаны специальные устройства для МОдуляции цифровых сигналов и их ДЕМодуляции - модемы. Они позволяли превращать цифровые сигналы компьютеров в аналоговые, передаваемые по телефонной линии связи, и наоборот. В результате появилась возможность обмена информацией между удаленными на огромные расстояния компьютерами через модемы с помощью уже построенных и довольно распространенных телефонных линий.
Применение цифровых методов для обработки информации позволило в реальном масштабе времени использовать хорошо отработанные компьютерные методы сжатия цифровой информации. В итоге через телефонную линию, обычно передающую сигналы с частотой до 2,5 кГц, стало возможным передавать цифровые сигналы со скоростью до 20-33, а сейчас и до 56 Кбит/c и даже 112 Кбит/c. Впрочем, тут надо сразу отметить, что в большинстве случаев скорость передачи информации по обычной сети Интернет для рядовых пользователей редко превышает 28-33,6 Кбит/с. Зато специальные технические решения позволяют довести ее до нескольких Мбит/c.
Специальные линии, например, в виде коаксиальных кабелей, линий с повышенной скоростью передачи цифровой информации ISDN (Integrated Services Digital Network - цифровая сеть интегрированных служб) или световолоконных линий связи, позволили увеличить скорость передачи информации в сотни и даже в тысячи раз. Такие линии сейчас проложены между многими крупными городами мира и между почти всеми странами. Они составляют часть весьма разнообразных технических средств Интернета.
Все эти линии, узлы, серверы, поисковые системы, клиентские ПК и так далее образуют ресурсы Интернета, которые можно рассматривать как самую большую в истории человечества, непрерывно расширяемую и доступную всем базу данных.
Важно отметить, что по Интернету передаются не полные сообщения, а пакеты - части сообщений. Они снабжаются адресами и распространяются по разным направлениям, пока не будут где-то собраны в одно целое. Один и тот же пакет может распространяться по нескольким ветвям сети с непременным дублированием, что гарантирует его доставку даже при обрыве ряда ветвей. Разумеется, пакеты имеют данные, указывающие на то, как их «сшить», чтобы получить исходное сообщение в первоначальном виде.
На первых порах в Интернете особую значимость имела проблема последней мили. Так именуют отрезок телефонной линии, подключающий компьютер пользователя через модем к местной АТС. Именно этот отрезок дает ограничение скорости обмена информацией через Интернет. Однако затем стали появляться решения этой проблемы путем прокладки внутригородских кабельных и световолоконных линий связи, применения спутниковых систем и, наконец, беспроводной связи через радиомодемы, в том числе встроенные в сотовые телефоны.
Технические средства подготовки дидактического материала
Видео- и фотосъемка представляют собой сплав науки и искусства, и при этом их реализация зависит от правильного выбора и использования соответствующих технических средств. Из материала, приведенного ниже, читатель узнает о принципе действия, устройстве и возможностях этой аппаратуры. Приемы же работы ему придется осваивать самому на практике, прибегая к помощи специальной литературы.Телевидение и телевизоры
Телевизионные передачи ведутся в метровом (6.2 – 1.3 м) и дециметровом (64 – 47 см) диапазоне волн. В метровом диапазоне расположено 12 телевизионных каналов (с 1 по 12), в дециметровом диапазоне размещено 40 каналов (с 20 по 60). Для приема телевизионных сигналов применяются телевизионные приемники - телевизоры.Телевизионный приемник должен обеспечивать:
· выбор требуемого канала (передающей телестанции), который осуществляется селектором каналов;
· выделение аудиосигнала,
· выделение видеосигнала, который поступает на блок цветности и яркости;
· выделение сигналов синхронизации, поступающих на блок разверток (строчной и кадровой).
Функциональная схема телевизора представлена на рис. 5.29.
![]() |
Рис.5.29. Блок – схема телевизионного приемника (1- антенный вход, 2- гнездо Video In (видеовход), 3- гнездо видеовыхода Video Out, 4- гнездо аудиовход Audio In, 5-гнездо аудиовыхода Audio Out).
Видео- и аудиосигналы (на рис. 5.29. звуковой канал изображен пунктиром) поступают на электронный коммутатор, с которого видеосигнал передается на блок цветности и яркости, а аудиосигнал поступает на усилитель звуковой частоты и затем - на громкоговоритель.
Электронный коммутатор снабжен штекерными гнездами и\или специальным разъемом, что позволяет при соответствующем выборе режима работы телевизора использовать полученные сигналы. Входные сигналы (гнезда Video In, Audio In) используются при воспроизведении видеозаписей, а выходные сигналы (гнезда Video Out, Audio Out) –для работы с видеомагнитофоном в режиме записи. Особенности соединений телевизора и видеомагнитофона будут рассмотрены позже.
Блок цветности и яркости на основе видеосигнала формирует сигналы трех составляющих (R- красный, G- зеленый, B- синий) цвета изображения. С выхода этого блока сигналы поступают на три электронных прожектора электронно-лучевой трубки (см.
рис. 3.23), соответствующие этим цветам. На рис. 5.30 показана современная электронно-лучевая трубка с магнитным отклонением (кинескоп) и со щелевой маской (Trinitron).
Рис. 5.30. Современный кинескоп в разрезеЕсли сложить все три основных цвета с максимальной интенсивностью, то получится чисто белый цвет; если просуммировать три цвета нулевой интенсивности, то получится чисто черный цвет. Сложение основных цветов с одинаковой интенсивностью в общем случае дает серый цвет. Если светятся синие и зеленые точки люминофора, то зрительно экран будет казаться голубым; если светятся красные и синие точки, то экран будет пурпурным и т.п. Таким образом, изображение на экране состоит из большого количества (примерно 1,5 млн.) светящихся различным цветом точек, т.е. представляет собой дискретный сигнал.
Подобную технику используют художники, правда, с гораздо меньшим количеством точек, чем на экране. Это направление в изобразительном искусстве называется пуантилизмом, а его самым известным представителем является французский художник Жорж Сера.
Построение изображения на экране электронно-лучевой трубки происходит по элементам, и этот процесс называется разверткой изображения. Для этого служит блок разверток. Сигналы с выхода блока разверток поступают на магнитную отклоняющую систему электронно-лучевой трубки, осуществляющей отклонение (развертку) электронного луча по горизонтали и по вертикали.
Развертка изображения на экране осуществляется электронным лучом, который перемещается равномерно по горизонтали, образуя строку, при одновременном смещении в вертикальном направлении (рис.5.31). Все строки, располагаясь одна под другой, образуют растр (кадр).Рис.5.31. Формирование кадра телевизионного изображения
Движение луча по горизонтали называется строчной разверткой, а движение по вертикали - кадровой разверткой. Движение луча от начала строки к ее концу- прямой ход развертки (жирные линии на рис.5.31), возвращение луча к началу строки- обратный ход (тонкие линии на рис.5.31).
Для перемещения луча ( одновременно трех лучей) по экрану служат отклоняющие системы: строчная – для перемещения луча по горизонтали и кадровая – для перемещения луча по вертикали. Кадровая развертка, как и строчная, имеет прямой и обратный ход. Во время обратного хода как строчной, так и кадровой развертки электронные лучи «гасятся».
В телевизионных системах частота смены кадров принята 25 Гц и применяется чересстрочный способ, при котором передается кадр, состоящий из двух полукадров, или полей. За время развертки первого поля вычерчиваются нечетные строки, а за время развертки второго поля - четные.
Каждое поле содержит информацию только о половине элементов изображения целого кадра. Однако благодаря инерционности зрения изображение обеих полей воспринимается как слитное изображение, содержащее полное число элементов. Слитному восприятию способствует также тот факт, что при большом числе строк разложения сюжет изображения одной строки мало отличатся от сюжета изображения следующей строки.
Таким образом, мы еще раз отмечаем дискретный характер (триады, строки, поля, кадры) изображения на экране.
Полный телевизионный сигнал в упрощенном виде (рис. 5.32) включает импульсы кадровой и строчной разверток и видеосигнал.

Рис. 5.32 Полный телевизионный сигнал
На рис. 5.32 вверху изображены кадровые (серый цвет) и строчные синхроимпульсы, в нижней части рисунка представлены графики напряжения кадровой (пунктир) и строчной разверток.
Принцип получения подвижного изображения в телевизионной технике такой же, как в кинотехнике, т.е. на экране строится последовательность неподвижных кадров, на каждом из которых зафиксирована определенная фаза движения. Частота смены кадров, принятая в телевизионной технике, – 25 кадров в сек. - очень мало отличается от частоты смены кадров в кинотехнике, – 24 кадра в секунду, что, впрочем, не является принципиальным.
Внешний вид телевизора ныне знаком каждому. Наиболее распространенными являются настольные телевизоры (рис. 5.33).Существуют как миниатюрные (даже карманные на жидкокристаллических дисплеях) телевизоры, так и большие настольные и проекционные телевизоры. Основным параметром телевизоров является размер изображения или экрана трубки по диагонали (в дюймах или сантиметрах). У обычных настольных телевизоров он составляет 47-70 см.Рис. 5.33. Настольный телевизор фирмы Aiwa TV-SE2130 со стереофонической акустикой
Современные телевизоры имеют, как правило, пульт дистанционного управления (на рис. 5.33 он показан слева), а также разъемы для подключения различных внешних устройств - видеомагнитофонов, DVD-проигрывателей, игровых приставок и т.д. Удобно (как на рис. 5.30), когда эти разъемы расположены на передней панели телевизора.
Терагерцовые полевые и биполярные транзисторыÄ
К 30-летию создания первого в мире микропроцессора 4004 подлинную сенсацию вызвало создание в корпорации Intel нового переключающего и поистине сверхминиатюрного транзистора, получивший название терагерцового транзистора(TeraHertz) (рис. 1.10). Приборы способны работать с фантастически высокими частотами переключения – более 1000 ГГц (или выше 1 ТГц).
Рис. 1.10. Терагерцовый сверхминиатюрный полевой транзистор (источник Intel)
Этот прибор способен работать в тысячу раз быстрее, чем обычный полевой транзистор с изолированным затвором (рис. 1.9). Прибор как бы утоплен в металле. Изолятор его затвора (Gate) состоит из нового диэлектрика (New gate dielectric) – ноу-хау Intel. Он имеет намного меньшие токи утечки, что позволяет транзистору работать при очень малых рабочих токах. Область транзистора – островок кремния (Silicon) - ограничена и оксидным слоем (Oxide), истоком (Source) и стоком (Drain) транзистора, что позволяет создавать тысячи транзисторов на месте, где ранее удавалось создать всего один (кстати, тоже очень маленький) транзистор.
Intel утверждает, что новый транзистор позволит создавать микропроцессоры с числом в тысячу раз большим, чем даже у Pentium 4, а в них их больше 40 миллионов. Это значит, что оно достигнет уже под сорок миллиардов, да еще без увеличения потребляемой мощности.
На международном форуме разработчиков Intel в Москве (октябрь 2002 года) было сообщено о разработке самого быстродействующего в мире кремниево-германиевого биполярного транзистора SiGe HBTs, структура которого показана на рис. 1.11. Рис. 1.11. Структура биполярных кремниево-германиевых сверхскоростных транзисторов на основе гетеропереходов
Кремниево-германиевая база этого транзистора имеет уникально малую толщину. Прибор использует так называемые гетеропереходы (слои разных по свойствам материалов), в разработку которых внес большой вклад лауреат Нобелевской премии академик Жорес Алферов (Россия, Санкт-Петербург).
Эти приборы обладают рекордными показателями по скоростям переключения, имеют меньшие шумы и работают при более низких рабочих напряжениях, чем полевые транзисторы со структурой «металл-диэлектрик-полупроводник» - МДП (или MOS). Они используются в коммуникационных и тестовых микросхемах, применяемых для сверхскоростных электронно-оптических устройств.
Типичный пример цифровой системы записи информации
На преобразовании аналоговых сигналов в цифровые и наоборот основана работа многих устройств и систем (рис. 1.5), например.
Рис. 1.5. Система цифровой записи информации на жесткий диск компьютера
Аналоговая информация в системе с помощью АЦП преобразуется в цифровую, представленную в виде двоичных чисел. Через усилитель импульсов она в виде сигналов поступает на головку записи/считывания жесткого диска. Эта головка представляет собой катушку, намотанную на миниатюрном железном или ферритовом сердечнике. На жестком диске информация хранится в виде намагниченных головок и размагниченных участков.
Канал воспроизведения содержит головку считывания (обычно совмещаемую с головкой записи), усилитель импульсов и ЦАП. Магнитное поле поверхности диска создает в катушке головки электрический сигнал, который усиливается усилителем и подается на ЦАП. Последний превращает цифровые сигналы в аналоговые, но с заметными ступеньками. От них избавляются с помощью фильтра.
Коды цифровой информации практически не меняются при многократной перезаписи или копировании информации. Шумы могут повлиять на физические уровни логического нуля и единицы цифрового сигнала. Но они практически не влияют на логические уровни этого сигнала. Например, логический нуль может быть в пределах от 0 до 1 В, а логическая единица от 2,5 до 5 В. В результате, если уровни сигнала не выходят за эти пределы, то появляется возможность многократного тиражирования цифровой информации вне зависимости от числа копий и при сохранении качества записи.
Преобразование аналоговой информации в цифровую позволяет использовать мощные средства компьютерной обработки информации. Например, информация может сжиматься для сокращения ее объема или кодироваться для повышения помехоустойчивости. Возможна цифровая обработка сигналов специальными цифровыми сигнальными процессорами DSP (Digital Signal Processor) для создания различных звуковых эффектов.
Голосовое управление компьютером, сканирование и распознавание печатных текстов стало уже вполне обыденной задачей, как и их звуковое воспроизведение компьютером. К примеру, компьютерный переводчик Magic не только переводит тексты с одного языка на другой (и наоборот), но и произносит их вслух. Выпущено уже множество таких переводчиков в виде миниатюрных аппаратов.
Типы современных КПК
Одними из первых были созданы клавиатурные КПК. Но они постепенно доживают свой век. Ныне в производстве клавиатурных КПК удержались лишь модели могучей корпорации Hewlett Packard – Jornada 690 и 720 (рис. 3.30), использующие ОС Windows CE.
Рис. 3.30. Клавиатурный КПК Hewlett Packard – Jornada 720Огромен вклад в разработку КПК корпорации Palm. Рынок Palm-подобных КПК c надежной Palm
OS (до версии 5.0) самый обширный и представительный. В России вовсю представлены модели Palm III, Palm V, Palm 100/125/ 130/ m500/m515 и многие другие. Достойно представлены и новые модели корпорации Sony. В среднем эти КПК стоят дешевле моделей Pocket PC. Однако в настоящее время КПК класса Palm теряют свои позиции на рынке КПК.
С этими КПК недавно стали конкурировать КПК класcа Pocket PC c ОС Windows CE 2.0/3.0. Но сейчас самым перспективным является рынок КПК класса Pocket PC 2002 с одноименной ОС. На российском рынке уже представлен с десяток моделей таких КПК фирм Hewlett Packard, Compaq (рис. 3.31), Casio и Toshiba и др. Их типовая цена 450-800 $. Почти все эти фирмы пошли на упрощение своих базовых моделей КПК, выпустив более простые и дешевые (стоимостью 300-350 $) варианты КПК с уменьшенной емкостью. Емкость ОЗУ у них 16 или 32 Мбайта вместо типовых 64 Мбайта.
Рис. 3.31. КПК серии iPAQ фирмы Compaq с установленной на нем видеокамеройБольшую популярность получили микрокомпьютеры для просмотра текстов и выполнения функций электронного органайзера типа Pocket Viewer (PV) корпорации Casio. Они уникальны надежностью хранения данных (все во флэш-памяти) и прекрасно выполненной локализацией.
К специальным КПК можно отнести также миниатюрные компьютерные переводчики, например PARTNERÒ. Это говорящий переводчик с базой на миллион слов с транскрипцией, снабженный справочником по грамматике, набором неправильных глаголов, идиом и тестов TOEFL. Он имеет встроенный переводчик (адаптированный Socrat), способный переводить сообщения электронной почты по мере их поступления. С помощью встроенного модема PARTNERÒ может работать с электронной почтой и отправлять факсы. Он может синхронизироваться с настольным КПК, например, для получения электронных книг, которые можно читать на его контрастном экране с подсветкой. Наконец, у этого переводчика есть функции органайзера, синхронизированного с Microsoft Outlook.
Транзисторые ЭВМ второго поколения
С появлением транзисторов они стали перспективной базой для построения ЭВМ второго поколения. Одной из первых транзисторных ЭВМ стала машина RCA-501. К этому поколению принадлежали также IBM-7090 (США), ATLAS (Великобритания), БЭСМ-4/6, М-220, Минск-32 (СССР) и др. Известность получили и советские ЭВМ «Урал-11», «Урал-14» и «Урал-16» (рис. 1.16), созданные в 1964-1971 годах.Рис. 1.16. ЭВМ «Урал-16» - одна из последних советских ЭВМ второго поколения
Уже на этапе развития второго поколения ЭВМ можно было выделить их сердцевину - центральный процессор. Это было весьма сложное устройство, в сущности выполняющее все логические и арифметические операции над данными под управлением программы. Разработчики каждой ЭВМ создавали свой центральный процессор, на что уходило много времени и сил.
Появление транзисторов привело к возможности резкого увеличения объемов памяти и функциональных возможностей ЭВМ. Там, где раньше применялись тысячи ламп, стали применять сотни тысяч транзисторов. Они уходили на расширение памяти и выполнение сложных функций, отводимых процессору и периферийным устройствам. Поэтому габариты и масса ЭВМ оставались большими.
Трехмерные полевые транзисторыÄ
Вслед за недавно предложенными терагерцовыми транзисторами Intel объявила о создании новых трехмерных (и трехзатворных) полевых транзисторов (рис. 1.12). Рис. 1.12. Структура (слева) и микрофотография (справа) трехмерного полевого микроскопического транзистора
Применение такой структуры позволило, не увеличивая общую площадь, занимаемую транзистором в целом, повысить площадь канала и увеличить крутизну транзистора S = DIc/DUз. А это увеличивает скорость переключения прибора.
Усиление звуковых сигналов
К числу наиболее распространенных задач электроакустики относится усиление звуковых сигналов. Схема акустического тракта одноканального (монофонического) усилителя представлена на рис. 5.2. Это типичный пример построения аналоговой системы усиления акустических сигналов.Рис. 5.2. Схема акустического тракта, содержащего микрофон, усилитель и акустическую систему
Подобное устройство, выполненное в одном небольшом корпусе, называется мегафоном. Оно широко применяется для дачи объявлений и команд.
Усилители звуковых частот
Сигнал от микрофона очень мал (обычно тысячные ватта), тогда как подаваемая на громкоговорители мощность составляет десятки и сотни ватт. Таким образом, возникает необходимость в усилении звуковых сигналов. Усилителем называется электронное устройство, предназначенное для увеличения мощности (напряжения или тока) электрических сигналов. Основные активные элементы современных усилительных устройств – биполярные или полевые транзисторы. Ко входу усилителя подключается источник сигнала, например, микрофон, к выходу усилителя подключается нагрузка.Усилители выпускаются как самостоятельные, вполне законченные устройства, так и выполненные в составе различных устройств, например музыкальных центров (см. рис. 5.3 в центре). Усилители имеют выключатель питания и регулятор громкости. Некоторые усилители имеют регуляторы тембра по низким и высоким частотам и даже «графичесские» регуляторы тембра - эквалайзеры.
Важнейшими параметрами усилителя являются выходная мощность, номинальный диапазон частот, линейность характеристики «вход - выход». Рассмотрим эти характеристики и связанные с ними понятия.
Частотные искажения.
Человек слышит звуки в полосе частот примерно от 20 Гц до 20 000 Гц. И если мы хотим услышать из громкоговорителя звук во всем его частотном богатстве, то нужно провести этот звук (точнее, его электрическую копию) от микрофона до громкоговорителя без каких-либо частотных искажений. То есть на всем пути, пролегающем, например, через микрофон, усилители, устройства звукозаписи и считывания, громкоговорители, нужно сохранить изначальное соотношение между всеми частотными компонентами сложнейшего звукового аккорда, между составляющими звука во всей полосе от 20 Гц до 20 кГц. Задача непростая, если решать ее в полном объеме, аппаратура получится сложной, дорогой. Поэтому в аппаратах средней и невысокой стоимости воспроизводят более узкую полосу частот, скажем, 20 Гц — 12 кГц или 200 Гц — 6 кГц, и мирятся с тем, что звучание получается не отличным, а хорошим или даже всего лишь удовлетворительным.
Величину частотных искажений можно оценить, рассматривая частотную характеристику усилителя (рис 5.11). Из ее рассмотрения видно, что коэффициент усиления падает в области высоких и низких частот или, как иногда говорят, усилитель «заваливает» высокие и низкие частоты, а это приведет к частотным искажениям выходного звукового сигнала.Рис.5.11. Амплитудно-частотная характеристика (АЧХ) усилителя
Коэффициент нелинейных искажений. Если подать на вход идеального усилителя синусоидальный сигнал, то сигнал на выходе также будет синусоидальным. Однако если усилитель имеет нелинейность, то сигнал на выходе будет отличен от синусоидального, и на его выходе появятся дополнительные составляющие - гармоники. В результате на выходе всей системы, то есть в громкоговорителе, появляются компоненты звука, которых не было на входе, слышатся посторонние призвуки и хрипы.
Эти искажения оцениваются коэффициентом нелинейных искажений - отношением среднеквадратического значения напряжения (или тока) высших гармоник к напряжению (или току) первой гармоники. Часто эта величина задается в процентах. Считается, что нелинейные искажения в 2—3 процента незаметны на слух, но все же в высококлассной аппаратуре стараются, и не без оснований, сделать их менее одного процента, а порой и гораздо меньше.
Выходная мощность усилителя. Вообще говоря, существует множество определений мощности усилителя - номинальная, максимальная, пиковая и т.д. Ограничимся приведением определения номинальной мощности - эта мощность на выходе усилителя при заданном значении коэффициента нелинейных искажений.
Уровень собственных шумов. Даже когда на входе усилителя отсутствует сигнал, на его выходе существует напряжение шумов, и эти шумы слышны в громкоговорителе. Шумят ламповые и транзисторные усилители из-за ничтожных флюктуаций тока. По той же причине в какой-то мере шумят все элементы электронных схем, даже обычные проводники.
Шумы - вещь неприятная, и не только потому, что слышны в паузах.
Шумы забивают слабый сигнал, приходится искусственно поднимать его уровень и при этом жертвовать реальным динамическим диапазоном - соотношением самого громкого «форте» и самого тихого «пиано».
Уровень шума измеряется отношением напряжения шумов на выходе усилителя Uш к максимальному напряжению Uм сигнала. Это отношение обычно измеряется в децибелах как 20×log(Uш/Uм). В хорошей аппаратуре уровень собственных шумов обычно меньше –60 дБ, т.е. шумы по напряжению в 1000 раз меньше, чем сигнал.
При использовании микрофона в системе звуковоспроизведения возможно самовозбуждение системы, проявляющееся в появлении сильного звука некоторой частоты. Это происходит, если звук от громкоговорителя попадает в микрофон, затем сигнал усиливается, достигает громкоговорителя и т.д. Это явление называют акустической обратной связью. Для устранения самовозбуждения следует располагать микрофон так, чтобы звуковые колебания, излучаемые громкоговорителем, не попадали в микрофон, можно также уменьшить громкость.
Устройство и назначение микропроцессора
Микропроцессор - это миниатюрное устройство для выполнения различных логических и арифметических операций без участия человека по заданной для него программе, которая (как и данные) хранится в памяти – чаще всего оперативной.Можно рассмотреть несколько наиболее важных блоков микропроцессора и уточнить их функции и работу. Все эти блоки располагаются на системной (или материнской) плате компьютера.
В СССР кибернетика объявлена лженаукой
Между тем в период самого бурного расцвета вычислительной техники кибернетика в СССР была объявлена лженаукой и даже гнусным порождением мирового империализма. Научные коллективы кибернетиков разгонялись и шельмовались. Забвению надолго были преданы их немалые достижения.Впрочем, почуяв ядерную угрозу, наши правители быстро опомнились, и разработке больших компьютеров был дан «зеленый свет». Но время ушло, и инициатива была утеряна! Особенно в области создания малых массовых компьютеров, отнесенных у нас к пресловутому ширпотребу.
Первые типы отечественных настольных компьютеров были ненадежны, а по цене доступны лишь крупным предприятиям. Наши в то время именуемые «профессиональными ПК» ДВК-2, ДВК-3М, EC-1840/1841/1842, Искра-1030 и Электроника-60 заметно уступали по всем характеристикам западным моделям ПК того времени.
Начавшаяся перестройка привела к массовому завозу в СССР зарубежных домашних и персональных компьютеров. Выдержать с ними конкуренцию наша продукция такого профиля не могла. Постепенно выпуск практически всех персональных компьютеров нашего производства (за исключением простейших ПК класса ZX-Spectrum) прекратился. Зато возник ряд фирм, производящих на базе западных комплектующих (нередко просто готовых узлов) IBM-совместимые ПК так называемой «красной» сборки.
Видеоадаптеры с аппаратной декомпрессией изображений
Повышение качества и размеров изображения потребовало разработки новых, более совершенных алгоритмов компрессии и декомпрессии изображений. Для этого была создана специальная группа экспертов по подвижным изображениям - Motion Picture Experts Group. Она создала один из наиболее совершенных стандартов - MPEG. Он имеет две реализации: MPEG1 для аппаратной декомпрессии и MPEG2 для декомпрессии программными средствами (пригоден для ПК Pentium 90 и выше). Для компрессии/декомпрессии звуковых сигналов используется стандарт MP3, а для видеофильмов – MP4.Для поддержки этих форматов изображений в видеоадаптеры была введена быстрая аппаратная декомпрессия сжатых изображений. Ныне она реализована в большинстве видеокарт современных ПК, в том числе и в ноутбуках.
Видеоадаптеры с D - ускорителем и графическим процессором
Графические изображения часто состоят от отдельных отрезков прямых, дуг, окружностей, точек и т.д. В некоторые видеоадаптеры были введены специальные акселераторы (ускорители) и графические процессоры для ускорения подобных построений.
Например, если строится окружность обычным способом, то нужно рассчитать координаты сотен ее точек, что сильно загружает центральный процессор. Но в адаптере с 2D графическим процессором от центрального процессора поступает небольшой пакет данных, указывающих координаты центра окружности и ее радиус. Расчет по ним координат всех точек осуществляет уже графический процессор – а основной при этом занят другими вычислениями. Это резко уменьшает время графических построений.
Акселератор отличается от сопроцессора тем, что не программируется и все программы построений находятся в специальном ОЗУ. Акселераторы обычно эффективно работают с определенными классами программ – например, с мощным пакетом AutoCAD для машиностроительных чертежей.
Видеоадаптеры с кадровым буфером
Одним из эффективных решений повышения быстродействия видеоадаптеров стало оснащение их быстрым двухпортовым видео-ОЗУ – кадровым буфером. Такое ОЗУ со специальной организацией одновременно обеспечивает прием видеоинформации от ПК и передачу ее цифро-аналоговому преобразователю (ЦАП или RAMDAC) видеоадаптера, который преобразует цифровую информацию в аналоговый видеосигнал, управляющий интенсивностью электронных лучей ЭЛТ.
Хорошо известно, что содержание видеобуфера от кадра к кадру обычно меняется незначительно. Следовательно, совершенствуя структуру кадрового буфера и вводя специальные приемы обработки больших блоков информации, хранимой в буфере, можно избежать необходимости на каждом кадре передавать всю информацию из ПК в видеоадаптер и лишь перераспределять большую часть информации между ячейками специального буфера. На этом основана работа нового поколения видеоадаптеров с интеллектуальным видеобуфером.
Видеоадаптеры с ускорителями -графики
Наиболее совершенные видеоадаптеры поддерживают быстрое построение трехмерных объектов – 3D-графики. Для этого в них применяются 3D-процессоры. Иногда их именуют Doom-процессорами по имени популярной игры с трехмерной графикой. Такими процессорами поддерживается и технология создания и быстрого перемещения спрайтов - подвижных объектов, составленных из ряда слоев - полупрозрачных и прозрачных. Спрайты давно используются в играх для создания быстро перемещаемых по экрану сложных объектов с изменяющейся формой и видом (например, человечков, облаков, машин, самолетов, ракет и т.д.).Построение 3D-объектов обычно ведется в две стадии. Во время первой – геометрической обработки
изображения - оно разбивается на треугольники или реже на многоугольники, координаты углов которых пересчитываются при необходимости построения 3D-объектов в динамике их перемещения по экрану дисплея.
Вторая стадия заключается в закраске
многоугольников с учетом различных световых эффектов отражения и рассеивания света от внешнего источника света, освещающего объект, наложении текстуры, в раскраске по алгоритму Гуро и т.д. Число таких эффектов доходит до многих десятков, и их математический расчет весьма сложен. Его невозможно возложить на процессор, даже с учетом наличия в нем математического сопроцессора. Поэтому этот этап построения динамических 3D объектов, называемый рендерингом, возлагается на ускоритель трехмерной графики или 3D-процессор.
Видеокамеры
Использование в учебном процессе видеотехники предусматривает применение видеоматериалов на видеокассетах. Это могут быть как учебные видеофильмы, изготавливаемые профессионально и распространяемые централизованно, так и видеосъемки, выполненные учениками, студентами, преподавателями и используемые ими. В последнем случае трудно достигнуть высокого уровня профессионализма, но это зачастую окупается насущностью и актуальностью видеоматериала. Так, зафиксированный на видеопленке фрагмент урока, проведенного студентом на школьной практике, дает ценный и незаменимый материал для обсуждения.Видеокамера, отличаясь малыми габаритами и весом, объединяет функции видеомагнитофона, телевизора, телевизионной передающей камеры и аудиомагнитофона. Современные видеокамеры, представляющие собой сложнейшие устройства, достаточно просты в использовании и вполне могут быть освоены и использованы любым преподавателем и студентом.
Одной из первоочередных задач разработчиков видеокамер является уменьшение их габаритов и веса (уже есть камеры, весящие менее 1 кг).
Применяются следующие форматы кассет для аналоговой видеозаписи:
· VHS - стандартная большая кассета с временем записи на ленту 12,6 мм до 240 мин. с малой четкостью изображения - 240 линий по горизонтали;
· VHS-C - компактная кассета с лентой 12,6 мм.
· S-VHS (Super-VHS) - кассета с улучшенным форматом записи, четкость до 400-420 линий по горизонтали.
· S-VHS-C - малогабаритный вариант кассеты S-VHS.
· Video8 - кассеты с лентой шириной 8 мм, время записи до 120 мин.
· Hi8 - кассеты с более качественной лентой, дающей четкость до 380-420 линий по горизонтали.
Аналоговые видеокамеры хотя и распространены в учебных заведениях, в настоящее время неперспективны и заменяются цифровыми камерами.
Модели mini-DV (Digital Video) – это семейство малогабаритных цифровых камер, использующих очень маленькие кассеты (66´48´12 мм) с узкой лентой (всего 6,35 мм) и четкостью до 500 линий по горизонтали. У них отсутствуют шумы цветности, нет потерь качества изображения при копировании. Возможна прямая передача сигнала на компьютер. Для этого, помимо аналоговых разъемов (S-Video и RCA), mini-DV камера имеет специальное гнездо DV-выхода (часто допускающее и ввод сигнала). Продолжительность записи на одну кассету - 60 минут в режиме стандартной скорости (SP) и до 90 минут в режиме уменьшенной вдвое скорости (LP).
Модели Digital8 характерны следующими возможностями:
· цифровая запись качественного изображения (до 500 линий по горизонтали) и звука (PCM: 16 бит-48 кГц/12 бит-32 кГц);
· использование кассет Hi8 (допустимо - Video8);
· воспроизведение аналоговых записей Hi8 и Video8;
· DV-интерфейс (с возможностью копирования записей на DV-камеры, магнитофоны и ввода в ПК через DV-плату);
· возможность оцифровки аналоговых записей через аналоговые входы.
Время записи у европейских моделей - 2/3 от номинала кассеты (т.е. максимум 80 мин. в SP (или 120 мин. с новейшей кассетой SONY), режим LP не предусмотрен.
Перейдем к описанию конструкции видеокамеры - рис. 5.41. Объектив формирует изображение на светорегистрирующем устройстве - видиконе или приборе с зарядовой связью ПЗС. Именно этот прибор и обеспечивает получение изображения. Матрица ПЗС состоит из большого количества ячеек, называемых пиксели. Чем больше пикселей содержит матрица ПЗС, тем более качественное изображение может быть получено. Рис.5.41. Упрощенное устройство видеокамеры
Обычно видеокамера снабжается высококачественным объективом с переменным фокусным расстоянием, которое может быть изменено как вручную, так и посредством электропривода.
Изменение фокусного расстояния позволяет установить план съемки, а также реализовать приемы «наезд» и «откат». Кратность фокусного расстояния (отношение максимального фокусного расстояния к минимальному), достигаемая оптическими средствами, составляет 10-20, однако применяется и цифровое повышение кратности, измеряемое сотнями.
Матрица ПЗС характеризуется и светочувствительностью, поэтому объектив видеокамеры снабжается диафрагмой, позволяющей регулировать величину светового потока, попадающего на матрицу, в зависимости от освещенности объекта съемки. Затвор позволяет выбрать величину экспозиции (обычно и то и другое происходит автоматически). Обычно при съемке обеспечивается частота смены кадров 25 кадров в сек. Величина экспозиции и частота смены кадров взаимосвязаны, что следует учитывать при ручном выборе экспозиции (при выборе экспозиции больше 1\25 сек. указанная частота смены кадров не может быть обеспечена).
Видеокамеры кроме возможности выбора экспозиции автоматически могут быть снабжены следующими программами установки экспозиции (перечислены далеко не все):
· Auto – эта функция задает полную автоматизацию процесса съемки. Автоматически устанавливается фокусировка, диафрагма, скорость срабатывания затвора (время выдержки), баланс белого и иные функции. Этот режим очень удобен для съемки, но не всегда позволяет добиться наивысшего качества.
· Portrait – портретная съемка (резко «прорисованный» объект на размытом фоне).
· Sport – спортивная съемка при малой выдержке и естественном освещении.
· Sportlight –зрелищная съемка при искусственном освещении.
· Sand&Snow – съемка при ярком фоне.
· High Speed Shutter – сверхскоростная спортивная съемка.
· Twilight – съемка при слабом естественном освещении.
· White Balance – съемка с коррекцией светового баланса.
Звуковой тракт видеокамеры (моно- или стереофонический) принципиально не отличается от звукового тракта аудио - или видеомагнитофона. Видеокамеры имеют встроенный микрофон, некоторые допускают подключение внешних микрофонов. Многие видеокамеры снабжены монохромным или цветным дисплеем, позволяющим выбирать план объекта съемки, а также в режиме видеомагнитофона просматривать отснятый материал. На дисплее отображаются и параметры видеосъемки, такие, как дата и время, степень разряда батареи, выбранные параметры съемки.
Вид видеокамер довольно разнообразен. На рис. 5.42 показана полупрофессиональная цифровая видеокамера стандартного вида - Sony DCR-TRV940E. Она использует формат MiniDV. ПЗС камеры имеет 3´1,07 млн. пикселей. Имеется 150-кратный цифровой и 12-кратный оптический вариообъектив. Возможна запись на карту Memory Stick. Камера имеет 3,5-дюймовый ЖК-экран и сенсорную панель управления. Есть встроенная выдвижная вспышка и оптическая система стабилизации изображения Super SteadyShot. Функция USB streaming обеспечивает передачу видео в ПК.Рис. 5.42. Полупрофессиональная цифровая видеокамера стандартного вида DCR-TRV940E
DCR-IP45E - еще одна оригинальная видеокамера Sony (рис. 5.43). Это очень компактная цифровая видеокамера. Она обеспечивает запись 60 минут великолепного цифрового изображения на кассету размером с почтовую марку microMV. Запись идет в формате MPEG2, что предельно упрощает видеомонтаж. Камера имеет откидывающуюся рукоятку, под которую остроумно приспособлен аккумулятор камеры. Рис. 5.43. Миниатюрная видеокамера Sony DCR-IP45E
Качество отснятого материала определяется наличием объектива Carl Zeiss и мегапиксельной матрицы преобразователя изображения CCD (1 070 000 элементов). Камера имеет 2,5-дюймовый ЖК-экран, цветной видоискатель, режим ночной съемки Super Night Shot, лазерный автофокус и запись фотографий в карту памяти Memory Stick.Камера может быть подсоединена к компьютеру по шине USB, передавая видеоизображение непосредственно на диск ПК или даже в Интернет.
Видеопроекторы
В настоящее время видеопроекторы, которые иногда называют мультимедиа-проекторами, представляются очень перспективным и динамически развивающимся видом оборудования.Мультимедиа-проекторы можно подключить к источнику видеосигнала (телевизионный приемник, видеомагнитофон и т.п.) или к компьютеру вместо монитора. Они являются универсальными, так как, в отличие от аппаратов, снабженных только видеовходами, имеют еще и компьютерные разъемы. Некоторые модели имеют дополнительную возможность записывать дидактический материал на встроенную карту памяти, т.е. могут работать автономно, а кроме того имеют звуковой канал (стерео- или моно-) со встроенными громкоговорителями.
Оптическая схема видеопроектора похожа на схему обычного диапроектора, с той разницей, что световой поток, создаваемый осветительной лампой, направляется не на слайд, а на специальное светорегулирующее микроэлектронное устройство, являющееся основным элементом видеопроектора.
Это устройство в соответствии с видео- или RGB- сигналом для каждого пиксела изображения регулирует величину световых потоков основных цветов – красного, зеленого и синего, направляемых в объектив и далее – на экран. В видеопроекторах применяются различные типы светорегулирующих микроэлектронных устройств, использующие различные технологии изготовления и обладающие примерно одинаковыми возможностями.
В основу технологии LCD (Liquid Crystal Display) заложена многослойная структура дисплеев на жидких кристаллах. Обычно они содержат три панели, выполненные по полисиликоновой технологии, по одной на каждую составляющую оптического сигнала RGB.
Полисиликоновая технология p-Si TFT применяется в активно-матричных дисплеях. В каждом пикселе полисиликоновой матрицы используются три транзистора, каждый из которых соответствует одному из трех основных цветов. Тонкопленочные транзисторы имеют очень маленькие размеры, благодаря чему свет легче проходит через матрицу. Матрица, выполненная по такой технологии, выдерживает высокую температуру, что позволяет применять мощные проекционные лампы.
Основой проекторов, созданных по DLP (Digital Light Processing) технологии, является цифровой микрозеркальный кристалл, иногда называемый чипом. Он состоит из 508 тысяч микрозеркал размерами 16´16 микрон, каждое из которых может изменять свой наклон между двумя крайними положениями (угол +10 градусов для включенного положения; угол –10 градусов – для выключенного). Во включенном положении зеркало направляет поступающий свет в объектив, а затем на экран, в выключенном – отраженный от зеркала свет направляется в световой поглотитель.
В видеопроекторах, как правило, используется объектив с переменным фокусным расстоянием, что позволяет в широких пределах регулировать размер изображения на экране.
Весьма важным параметром видеопроектора является обеспечиваемый им световой поток. От его величины, в частности, зависит возможность использования аппарата в незатемненном помещении. Световой поток – это энергия световых волн, переносимая в единицу времени через единицу площади поверхности и оцениваемая по зрительному ощущению.
Долгое время этот параметр измеряли в люменах, используя при этом метод проекции маленького белого окна на черный фон. Поскольку размеры такого окна у разных производителей имеют оригинальное исполнение, было трудно добиться усредненного показателя. Поэтому была введена единица, характеризующая среднюю величину светового потока -ANSI-Lm. Световой поток измеряют на контрольном экране с диагональю 40 дюймов при минимальном фокусном расстоянии вариообъектива проектора (измерения выполняются в 9 точках экрана и затем усредняются). Для работы в незатемненных помещениях лучше использовать видеопроекторы со световым потоком не менее 400 ANSI-Lm. Конкретно его величину можно оценить, имея в виду, что деление светового потока (в ANSI-Lm) на 300 дает приблизительно площадь экрана в квадратных метрах, яркость которого близка к яркости современного телевизора с большим экраном.
Например, проектор с потоком 450 ANSI-Lm по указанной оценке достаточен для использования в незатемненном помещении экрана площадью 450\300 = 1.5 кв.
м (141´106см), а для экрана размерами 2´1.5 м потребуется проектор со световым потоком 3´300 = 900 ANSI-Lm.
Световой поток создается специальной дуговой лампой. Эти лампы бывают трех типов: металло-галогенные (MH), ртутные сверхвысокого давления (UHP) и ксеноновые (X). В отличие от ламп накаливания эти лампы не перегорают, а лишь со временем уменьшается их полезный световой поток.
Следующий важный показатель качества проектора – это разрешение отображаемого изображения, определяемое количеством пикселов в строке и количеством горизонтальных строк. В настоящее время максимально возможное разрешение достигает 1800´1440 пикселов.
Многие проекторы позволяют подавать на свой вход сигнал с разрешением, не совпадающим с физическим, для чего применяются различные алгоритмы сжатия или расширения. Как и в мониторе компьютера, видеопроектор обеспечивает достаточно высокую частоту кадровой развертки (примерно 50-100 Гц) и строчной развертки (примерно 15-100 кГц).
Практически все типы видеопроекторов обеспечивают коррекцию трапецеидальных искажений, причиной которых является неперпендикулярность оси проекции и плоскости экрана.
Типичным представителем современных видеопроекторов является видеопроектор фирмы TOSHIBA (рис 5.39).
Рис 5.39. Внешний вид видеопроектора TLP-471Приведем технические характеристики этого проектора:
Световой поток -1200 ANSI – Lm.
Светорегулирующее микроэлектронное устройство –три ЖК-панели p-Si размерами 0.9 дюйма с микролинзами.
Стандартное разрешение – 800х600 пикселов.
Источник света – ртутная лампа высокого давления мощностью150 Вт, типа UHP со сроком службы 2000 часов, допускающая замену пользователем.
Объектив – управляемый вручную объектив с переменным фокусным расстоянием кратностью 1:1.5.
Проекционное расстояние – 1.1 – 10 м при размере изображения по диагонали 1.5 – 7.6 м соответственно.
Частота кадровой развертки
- 50 – 85 Гц.
Частота строчной развертки
- 15 – 90 кГц.
Потребляемая от сети мощность
– 220 Вт.
Видеопроектор поддерживает все популярные телевизионные стандарты, снабжен системой цифровой коррекции трапецеидальных искажений, позволяет увеличивать фрагмент изображения и обеспечен звуковым моноканалом со встроенными громкоговорителями мощностью 1х1 Вт.
Он имеет встроенную видеокамеру (документ-камеру) с ручным вариообъективом и подсветкой. С ее помощью можно проецировать на экран различный дидактический материал с бумажных носителей, а также показывать слайды, прозрачные пленки, отображать трехмерные объекты. Если направить видеокамеру в сторону аудитории, то можно проводить видеоконференции.
Управление видеопроектором производится с панели управления или с пульта управления с функциями компьютерной мыши, стоп-кадра и лазерной указки, причем приемники инфракрасного излучения ручного пульта расположены на передней и на задней стенках видеопроектора. Разъемы для подсоединения видеопроектора к различным источникам сигналов расположены на задней стенке видеопроектора.
Варианты установки видеопроектора на столе (рис. 5.40) и на потолке предусматривают возможность использования как отражающего, так и просветного экрана. Расстояние от видеопроектора до экрана L определяется по формулам:
Lmin
= (В – 1.6)/27

Lmax = (В – 1.27)/21.5, где В – размер изображения по диагонали в дюймах, L – расстояние от диапроектора до экрана в метрах.
Рис. 5.40. Расположение видеопроектора на столе, слева - отражающий экран, справа - просветный экран
За пределами нашего описания остались некоторые второстепенные вопросы, однако рассмотренные возможности позволяют считать видеопроектор самым мощным устройством класса ЭЗСОВ, применение которого в практике школ и вузов ограничивается только его высокой ценой, составляющей несколько тысяч долларов.
Видеосистема и видеоадаптер ПК
Для высококачественного представления информации служит видеосистема ПК. Она представлена видеоадаптером внутри системного блока и внешним дисплеем (устройством отображения). Некоторые видеоадаптеры по сложности не уступают материнской плате ПК. В них используется графический процессор с десятками миллионов транзисторов. Такие видеокарты оснащены одним и даже двумя вентиляторами для охлаждения. Профессиональные видеокарты стоят намного дороже самого компьютера.Назначение видеоадаптера заключается в преобразовании цифровых сигналов компьютера в аналоговые видеосигналы (чаще всего RGB), с которыми работает дисплей компьютера. На дисплей они подаются с помощью VGA-разъема. Видеоадаптер в виде платы расширения вставляется в слот-расширения или в слот видеопорта AGP. Нередко видеоадаптер интегрирован с системной платой ПК.
Изображение на экране дисплея состоит из отдельных точек (точнее маленьких квадратиков), называемых пикселями. Чем больше пикселей на экране, тем выше качество изображения. Каждый пиксель характеризуется своими координатами по горизонтали и вертикали и атрибутами, задающими его цвет или иные особые свойства, например, возможность мигания. Совокупность пикселей изображения образует кадр изображения, а смена кадров с достаточно высокой частотой создает то изображение, которое мы наблюдаем на экране дисплея.
За годы развития ПК был разработан ряд видеоадаптеров:
MDA – монохромный видеоадаптер для текстового режима;
CGA – цветной видеоадаптер для текстового и графического режимов;
MGA – монохромный графический адаптер (Hercules);
EGA – улучшенный графический адаптер;
VGA – цветной видеоадаптер (видеографическая матрица);
SVGA – супер-VGA цветной графический видеоадаптер;
XGA – расширенная по возможностям видеографическая матрица.
Эти видеоадаптеры, за исключением SVGA и XGA, сейчас уже не выпускаются. Но их режимы работы поддерживаются новыми видеоадаптерами. Они могут работать в текстовом и графическом режимах как низкого, так и высокого разрешений.
Видеоадаптеры характеризуются рядом основных параметров:
· емкость видео-ОЗУ (кадрового буфера);
· разрядность видеоадаптера,
· разрешающая способность в пикселях по горизонтали и вертикали,
· режимы работы (текстовый, графический),
· максимальное число цветов для заданного разрешения,
· максимальные частоты строчной и кадровой развертки,
· возможность программной загрузки знакогенератора.
Ниже приводятся данные об указанных типах видеоадаптеров:
Тип Разрешение Режимы Число Загрузка
в пикселях работы цветов шрифтов
MGA 720´348 Текстовый 2 Нет
CGA 640´200 Текстовый 16 Нет
320´200 Графический 4 Нет
640´200 Графический 2 Нет
MGA 720´348 Смешанный 2 Есть
EGA 640´350 Смешанный 16 Есть
VGA 640´480 Смешанный 16 Есть
320´200 Смешанный 256 Есть
SVGA 640´480 Смешанный 256 и выше Есть
XGA 1024´768 Смешанный 256 и выше Есть
Современные видеоадаптеры могут иметь число цветов до 16.7 миллионов (True Color) и даже выше. Важными параметрами являются также диапазон частот кадровой развертки (обычно от 45 до 75-150 Гц) и диапазон частот строчной развертки (от 30 до 80 кГц).Высокие (выше 100 Гц) частоты кадровой развертки полностью устраняют мерцание изображения.
Заметное повышение скорости обмена информацией между процессором ПК и видеоадаптером достигается применением рассмотренных ранее локальных шин с повышенной скоростью передачи информации. В настоящее время это шина порта AGP.
Виды информации
Информацию часто классифицируют по ее наиболее характерным признакам:· числовая информация, представленная цифрами и отражающая результаты некоторых вычислений;
· текстовая информация, представленная текстами в виде слов, составленных из символов того или иного языка;
· кодовая информация, представленная кодами (например, машинными или кодами для более компактного или зашифрованного представления информации, кодами азбуки Морзе или азбуки для глухонемых);
· графическая информация, представляющая графические объекты с учетом их геометрических и оптических свойств;
· акустическая информация, представленная звуковыми сигналами, как непосредственно в виде звуков, так и в виде электрических звуковых сигналов;
· телевизионная информация, представляющая изображения, видимые на телевизионном экране в телевизионном формате;
· видеоинформация, представляющая видеофильмы и кинофильмы в специальном формате.
Позже мы не раз коснемся характеристик и особенностей информации различного вида.
Виды памяти ПК
Для хранения данных и программ ПК оснащены подсистемой памяти. Особо надо отметить два важных вида памяти - постоянную ПЗУ и оперативную ОЗУ (см. рис. 3.8). Имеется также быстрая кэш-память разных уровней.Остальные виды памяти на дисковых накопителях, CD-ROM, жестких дисках и т.д. относят к устройствам долговременного хранения информации. Они будут рассмотрены позднее.
Закон Мура с позиций математики
С позиций математики закон Мура представляется простым выражением:
,где N0 – количество транзисторов на кристалле N в некоторый год y (условно считаем его нулевым), N(y) – число транзисторов на кристалле спустя y лет и yy – срок (в годах и долях года), за который число транзисторов возрастает вдвое.
Насколько данные таблицы соответствуют представленной формуле? И возможен ли по ним прогноз? Попробуем ответить по возможности строго на эти вопросы. Для этого, используя программу компьютерной математики Mathcad, нанесем на график в логарифмическом масштабе точки, соответствующие приведенным в таблице данным. Подберем отрезки прямых, которые максимально близко проходят через эти точки (рис. 2.7).

Рис. 2.7. Графическое представление закона Мура в системе Mathcad
Обработка представленных данных дает поразительные результаты. Оказывается, целых 22 года число транзисторов и впрямь увеличивалось вдвое за каждые yy=2 года. При этом исходные точки укладываются почти точно на представляющую их приближенную зависимость.
Однако с появлением процессоров класса Pentium действие даже скорректированного закона Мура стало грубо нарушаться. Попробуем подобрать прямую для хорошего представления реалий роста числа транзисторов после этого периода, задав в качестве отсчета момент появления процессоров Pentium – точку (22, 1200). Оказывается (жирная прямая на рис. 3), время удвоения возросло почти вдвое и составило yy=4 года. Это стало свидетельством предкризисной ситуации в развитии технологии микропроцессоров.
Но затем, при переходе от производства процессора Pentium III к Pentium 4 в 1999 году, кривая роста числа транзисторов во времени резко скакнула вверх начиная с точки (28, 9500). Это, очевидно, связано с вводом новых технологических решений и переходом на технологию 0,13 мкм. Время удвоения при этом уменьшилось до рекордно малой величины в 0,6 года, но его оценка пока математически весьма недостоверна из-за малого объема выборки данных после 1999 года – всего 3 точки.
Закон Мура
Когда-то в далеком 1965 году один из основателей корпорации Intel Гордон Мур довольно неосторожно изрек: «… число транзисторов на чипе и производительность микропроцессоров будут удваиваться каждые два года». Говорят, что он поначалу говорил даже об одном годе. Сам Мур и не претендовал на то, что эта эмпирическая закономерность будет строгим математическим законом. Однако специалисты Intel сделали это высказывание своим знаменем и постарались выдерживать его десятилетиями.Как выглядит закон Мура, применительно к микропроцессорам, показывает приведенная ниже таблица.
| Тип микропроцессора | Тыс. транзисторов | Год разработки | Параметр y | ||||
| 4004 | N0=2,3 | 1971 | 0 | ||||
| 8008 | 3,5 | 1972 | 1 | ||||
| 8080 | 6 | 1974 | 3 | ||||
| 8088 | 29 | 1979 | 8 | ||||
| 286 | 134 | 1982 | 11 | ||||
| 386 | 275 | 1986 | 15 | ||||
| 486 | 1200 | 1989 | 18 | ||||
| Pentium | 3500 | 1993 | 22 | ||||
| Pentium PRO | 5500 | 1995 | 24 | ||||
| Pentium II | 7500 | 1997 | 26 | ||||
| Pentium III | 9500 | 1999 | 28 | ||||
| Pentium 4 | 42000 | 2000 | 29 | ||||
| Pentium 4 M | 75000 | 2001 | 30 |
Законы Меткалфа и фотона
Президент Intel огласил еще два эмпирических закона, которыми Intel руководствуется в планировании своей работы. Второй закон - это закон Меткалфа, названный в честь Боба Меткалфа из Массачусетского технологического института. Он звучит так: ценность компьютерной сети повышается в квадратичной пропорции по отношению к числу узлов в этой сети.Именно поэтому Интернет в наше время является самым важным и ценным коммуникационным средством. Каждый раз, когда количество узлов в Интернете удваивается, ценность этой сети увеличивается в четыре раза. Сегодняшняя эта сеть имеет порядка 400-500 миллионов пользователей. В течение ближайших нескольких лет количество пользователей Интернета увеличится до одного миллиарда, и тогда ценность этой сети как средства доступа к информации, коммуникации и коммерции станет намного выше.
И еще один закон, так называемый закон фотона: пропускную способность волоконно-оптического канала передачи информации можно удваивать примерно каждые 10 месяцев. Уже сегодня между странами и континентами протянуто более 500 миллионов миль волоконной оптики. Полезная пропускная способность этого волокна удваивается почти каждый год.
В целом можно предвидеть, что нынешний «информационный взрыв» касается аппаратных средств не только в области вычислительной техники, но и в области связи и телекоммуникаций. Очевидно, что интеграция этих средств стала знамением нашего времени и что именно она будет определять прогресс в новых информационных технологиях на ближайшие два десятилетия.
Записывающие и перезаписывающие CD-RW - драйвы
В настоящее время созданы различные драйвы как с однократной записью, так и многократной – CD-RW. На рис. 3.17 показан внешний CD-RW-драйв корпорации Hewlett Packard, разработанный для ноутбуков. Он выполнен в изящном корпусе, напоминающем корпуса миниатюрных проигрывателей звуковых CD и имеющем откидывающуюся верхнюю крышку. Под ней виден механизм привода оптического диска и объектив лазерной головки.
Рис. 3.17. Внешний CD-RW-драйв корпорации Hewlett PackardЭтот драйв подключается к ноутбуку через PC-карту с разъемом с помощью специального шнура. Это делает CD-RW-драйв пригодным для подключения к любому ноутбуку, даже с отсутствующим или занятым разъемом USB. Такие драйвы выпускаются и для настольных ПК. По внешнему виду они почти не отличаются от обычных CD-ROM-драйвов. Но требуют специального программного обеспечения для осуществления записи.
Зарождение Интернета
Интернет в современном понимании роли этой сети родился 2 января 1969 года. В этот день в ответ на запуск в СССР искусственного спутника Земли и распространение на космос гонки вооружений в США были начаты работы над проектом ARPANET -сетью Агентства перспективных исследований ARPA(Advances Research Projects Agency). В этом проекте впервые были заложены основополагающие понятия Интернета - система кодирования информации, протоколы работы сети, передача информации в форме пакетов по нескольким каналам одновременно и распределенный характер сети. А уже 2 сентября этого года была осуществлена связь по телефонной линии между двумя компьютерами в разных городах. Этот день и считается официальной датой создания Интернета.Позже национальный научный фонд США (NSF) создал сеть NSFNET. Она оказалась более удачной и заменила ARPANET. Уже в 1987 году было создано ядро этой сети (Backbon) из 13 центров в разных районах США. Подобные сети появились и в других странах. В условиях демократии и свободы распространения информации эти сети стали быстро объединяться, что превратило их в глобальную интернациональную сеть Интернета.
В 1985 году в Интернете было около двух тысяч компьютеров, а сейчас их счет идет на сотни миллионов! Вся хранящаяся на узлах и подключенных к ним компьютерах информация образует ресурсы Интернета. Ныне они столь велики, что становятся для любого пользователя необозримыми без уменьшения его аппетитов в части поиска информации.
Знания
По мере накопления информации о каких-то объектах или явлениях формируются знания о них. Знания - это закономерности, принципы и связи, позволяющие специалистам ставить и решать задачи в своей предметной области. Вся система образования в сущности решает задачу предоставления ценных знаний множеству людей, учит их извлекать нужную информацию из массы получаемой и грамотно использовать ее в своей работе с целью создания новых знаний и новых ценностей – как гуманитарных, так и научно-технических.Издавна знания передавались от человека к человеку, от мастера к ученикам, от профессора к студентам. Нередко эта цепочка прерывалась стихийными событиями, войнами и просто смертью учителя. Знания при этом терялись. Новые информационные технологии позволяют накапливать знания, надежно их хранить и предоставлять любому желающему их получить. Более того, появилась возможность обучения людей на расстоянии - дистанционное образование.
Звук и его параметры
Звуком называется колебательное движение частиц воздуха, воспринимаемое слухом. Вокруг всякого колеблющегося тела возникают колебания частиц воздуха. Их порождают колебания струны, вибрация камертона, движение диффузора громкоговорителя и др. Колебания воздуха от источника звука в виде звуковых волн распространяются со скоростью приблизительно 340 м/с. Звуковой волной называется процесс направленного распространения колебаний воздуха от источника звука.Звуковая волна представляет собой чередование сжатий и разряжений воздуха. В области сжатий давление воздуха превышает атмосферное, в области разряжений - меньше его. Переменная часть атмосферного давления называется звуковым давлением Р.
Звуковое давление составляет очень небольшую часть атмосферного давления. Если излучающее звук тело колеблется по закону синусоиды, то звуковое давление также изменяется по синусоидальному закону. Колебательное движение частиц воздуха в звуковой волне характеризуется рядом параметров. Время, за которое совершается одно полное колебание, называется периодом колебания Т.
Период колебания выражается в секундах (с).
Число полных колебаний, происходящих в 1 с, называется частотой колебаний f. Единицей измерения частоты является герц (Гц) или килогерц (1 кГц =1000 Гц).
Расстояние, на котором укладывается один период колебания (между соседними сжатиями или разряжениями воздуха), называется длиной волны К.
Длина волны выражается в метрах (м). Длина волны и частота колебания связаны соотношением К = c/f, где с
- скорость распространения звука.
Максимальное отклонение колеблющейся величины от среднего положения называется амплитудой колебания, или просто амплитудой.
Звуковые колебания могут быть затухающими и незатухающими. Амплитуда (интенсивность) затухающих колебаний постепенно уменьшается. Примером затухающих колебаний может служить звук, возникающий при однократном возбуждении струны или ударе гонга. Причиной затухания колебаний струны является трение струны о воздух, а также трение между частицами колеблющейся струны.
Незатухающие колебания могут существовать, если потери на трение компенсируются притоком энергии извне. Примером незатухающих колебаний являются колебания чашечки электрического звонка. Пока нажата кнопка включения, в звонке существуют незатухающие колебания. После прекращения подвода энергии к звонку колебания затухают.
Распространение звуковых волн сопровождается уменьшением их интенсивности. Это происходит из-за потерь звуковой энергии на преодоление трения между частицами воздуха. Кроме того, распространяясь во все стороны от источника, волна охватывает все большую область пространства, что приводит к уменьшению количества звуковой энергии на единицу площади. Достигнув барабанной перепонки, которая является чувствительным элементом уха, звуковые волны вызывают ее колебания. Имеющиеся в ухе нервные клетки воспринимают колебания барабанной перепонки, и человек ощущает колебания воздуха в виде звука.
Имеется связь между физическими параметрами звука и соответствующими ощущениями человека:
· звуковое давление -> громкость звука
· частота -> тон звука
· спектральный состав -> тембр звука.
Человеческое ухо способно воспринимать звуковые колебания с частотой приблизительно от 16 до 20000 Гц. Верхняя и нижняя границы частотного диапазона звуков, воспринимаемых человеческим слухом, различны для разных людей. Чем выше частота звуковых колебаний, тем выше тон; низкочастотные колебания воспринимаются как гудение (шмель), а высокочастотные - как писк (комар).
Неслышимые колебания с частотой ниже 16 Гц называются инфразвуковыми, а с частотой выше 20000 Гц - ультразвуковыми. Диапазон записываемых и воспроизводимых звукотехнической аппаратурой частот определяет ее качество и должен соответствовать воспринимаемому человеком диапазону.
Слуховой аппарат человека воспринимает звуковые колебания в определенном диапазоне звуковых давлений, что соответствует ощущению громкости.
Очень слабые звуки не воспринимаются на слух. Можно сказать, что их интенсивность лежит ниже порога слухового восприятия. Звуки очень большой интенсивности воспринимаются как боль в ушах. Такие ощущения могут возникнуть при близком раскате грома, вблизи работающего реактивного двигателя. Звуки, вызывающие ощущение боли, имеют интенсивность, превышающую болевой порог слухового восприятия. Нормальное ощущение звука возможно, если интенсивность звука находится между порогом слышимости и болевым порогом.
Звуки, интенсивность которых приближается к болевому порогу, оказывают вредное воздействие на слух. Ухудшение слуха вызывает систематическое прослушивание музыки при большой громкости, поэтому в звуковоспроизводящей аппаратуре всегда имеется регулятор громкости, который позволяет установить желаемую громкость звука.
Звуки, которые мы слышим (музыка, человеческий голос, шумы и т.п.), не состоят из звуковых колебаний одной частоты, а содержат много частот, поэтому каждый звук имеет свою окраску – тембр.
Звуковое колебание синусоидальной формы называется гармоническим,
или простым. Такое колебание излучает камертон. Другие источники звука, например колеблющаяся струна, излучают сложный звук, состоящий сразу из нескольких синусоидальных составляющих (гармоник). В общем виде любой звуковой сигнал может быть представлен в виде набора синусоидальных составляющих, имеющих различные частоты и амплитуды.
Работа с информацией: Cистемы - Технологии - Рынок
- Анализ информационных систем
- Методы информационных систем
- Интернет как информационная система
- Искусственный интеллект в информационных системах
- Обработка информации информационными системами
- Информационные системы в офисе
- Управление информационными системами
- Технологии информационных систем
- Теория информационных систем
- Почта - информационная система
- Outlook и информационные системы
- Информационный рынок
- Информационный рынок - IT
- Технологии информационного рынка
- Безопасность на информационном рынке




