Методы и средства защиты информации
Основные виды и источники атак на информацию
Атака на информацию ? это умышленное нарушение правил работы с информацией. Атаки на информацию могут принести предприятию огромные убытки. На сегодняшний день примерно 90% всех атак на информацию производят ныне работающие либо уволенные с предприятия сотрудники.
В тех случаях, когда идет речь о безопасности, в отношении информации и информационно-вычислительных систем применяются общепринятые термины о свойствах этих объектов ? категории.
Разработки в области теории защиты информационных объектов велись достаточно давно. Их результатами являются так называемые абстрактные модели защиты данных, в которых исследователи излагают общие идеи по этому вопросу и формируют наборы ограничений, связывающие субъект, объект и прочие категории.
Часто злоумышленники проникают в систему не напрямую, "сражаясь" с системами шифрования или идентификации, а "в обход", используя либо явные промахи создателей, не заметивших какой-либо очень простой метод обойти их систему, либо ошибки в реализации программ защиты. Также злоумышленники широко используют психологические приемы для того, чтобы получить нужную им информацию у рядовых сотрудников фирм.
Абстрактные модели защиты информации
Одной из первых моделей была опубликованная в 1977 модель Биба (Biba). Согласно ей все субъекты и объекты предварительно разделяются по нескольким уровням доступа, а затем на их взаимодействия накладываются следующие ограничения: 1) субъект не может вызывать на исполнение субъекты с более низким уровнем доступа; 2) субъект не может модифицировать объекты с более высоким уровнем доступа. Как видим, эта модель очень напоминает ограничения, введенные в защищенном режиме микропроцессоров Intel 80386+ относительно уровней привилегий.Модель Гогена-Мезигера (Goguen-Meseguer), представленная ими в 1982 году, основана на теории автоматов. Согласно ей система может при каждом действии переходить из одного разрешенного состояния только в несколько других. Субъекты и объекты в данной модели защиты разбиваются на группы ? домены, и переход системы из одного состояния в другое выполняется только в соответствии с так называемой таблицей разрешений, в которой указано какие операции может выполнять субъект, скажем, из домена C над объектом из домена D. В данной модели при переходе системы из одного разрешенного состояния в другое используются транзакции, что обеспечивает общую целостность системы.
Сазерлендская (от англ. Sutherland) модель защиты, опубликованная в 1986 году, делает акцент на взаимодействии субъектов и потоков информации. Так же как и в предыдущей модели, здесь используется машина состояний со множеством разрешенных комбинаций состояний и некоторым набором начальных позиций. В данной модели исследуется поведение множественных композиций функций перехода из одного состояния в другое.
Важную роль в теории защиты информации играет модель защиты Кларка-Вильсона (Clark-Wilson), опубликованная в 1987 году и модифицированная в 1989. Основана данная модель на повсеместном использовании транзакций и тщательном оформлении прав доступа субъектов к объектам. Но в данной модели впервые исследована защищенность третьей стороны в данной проблеме ? стороны, поддерживающей всю систему безопасности. Эту роль в информационных системах обычно играет программа-супервизор. Кроме того, в модели Кларка-Вильсона транзакции впервые были построены по методу верификации, то есть идентификация субъекта производилась не только перед выполнением команды от него, но и повторно после выполнения. Это позволило снять проблему подмены автора в момент между его идентификацией и собственно командой. Модель Кларка-Вильсона считается одной из самых совершенных в отношении поддержания целостности информационных систем.
AES: cтандарт блочных шифров США c 2000 года
Требования к конкурсантам AES, краткая информация о Национальном Институте Стандартизации США. На конкурс было подано 15 заявок, первый этап отбора прошли только 5 претендентов ? финалистов AES.
Разработка корпорации IBM, основанная на классической сети Фейштеля и многочисленных математических операциях.
Модификация широко известного блочного шифра RC5. Использует только основные математические преобразования, битовые сдвиги и, в качестве функции перемешивания, операцию T(X)=X*(X+1).
Шифр использует только операции табличных подстановок, исключающего "ИЛИ" и битовых сдвигов в тщательно подобранной очередности.
Достаточно сложная в реализации разработка компании Counterpane Security Systems, воплотившая много интересных идей из алгоритма предшественника BlowFish.
Блочный шифр, реализованный не по принципу сети Фейштеля, и имеющий надежную математическую базу преобразований. Структура алгоритма позволяет достичь очень высокой степени оптимизации на персональных ЭВМ и серверах, и в то же время не слишком замедляет выполнение на электронных устройствах с ограниченными ресурсами.
Алгоритм Хаффмана
Алгоритм основан на том факте, что некоторые символы из стандартного 256-символьного набора в произвольном тексте могут встречаться чаще среднего периода повтора, а другие, соответственно, ? реже. Следовательно, если для записи распространенных символов использовать короткие последовательности бит, длиной меньше 8, а для записи редких символов ? длинные, то суммарный объем файла уменьшится.Хаффман предложил очень простой алгоритм определения того, какой символ необходимо кодировать каким кодом для получения файла с длиной, очень близкой к его энтропии (то есть информационной насыщенности). Пусть у нас имеется список всех символов, встречающихся в исходном тексте, причем известно количество появлений каждого символа в нем. Выпишем их вертикально в ряд в виде ячеек будущего графа по правому краю листа (рис. 1а). Выберем два символа с наименьшим количеством повторений в тексте (если три или большее число символов имеют одинаковые значения, выбираем любые два из них). Проведем от них линии влево к новой вершине графа и запишем в нее значение, равное сумме частот повторения каждого из объединяемых символов (рис.2б). Отныне не будем принимать во внимание при поиске наименьших частот повторения два объединенных узла (для этого сотрем числа в этих двух вершинах), но будем рассматривать новую вершину как полноценную ячейку с частотой появления, равной сумме частот появления двух соединившихся вершин. Будем повторять операцию объединения вершин до тех пор, пока не придем к одной вершине с числом (рис.2в и 2г). Для проверки: очевидно, что в ней будет записана длина кодируемого файла. Теперь расставим на двух ребрах графа, исходящих из каждой вершины, биты 0 и 1 произвольно ? например, на каждом верхнем ребре 0, а на каждом нижнем ? 1. Теперь для определения кода каждой конкретной буквы необходимо просто пройти от вершины дерева до нее, выписывая нули и единицы по маршруту следования. Для рисунка 4.5 символ "А" получает код "000", символ "Б" ? код "01", символ "К" ? код "001", а символ "О" ? код "1".

Рис.1.
В теории кодирования информации показывается, что код Хаффмана является префиксным, то есть код никакого символа не является началом кода какого-либо другого символа. Проверьте это на нашем примере. А из этого следует, что код Хаффмана однозначно восстановим получателем, даже если не сообщается длина кода каждого переданного символа. Получателю пересылают только дерево Хаффмана в компактном виде, а затем входная последовательность кодов символов декодируется им самостоятельно без какой-либо дополнительной информации. Например, при приеме "0100010100001" им сначала отделяется первый символ "Б" : "01-00010100001", затем снова начиная с вершины дерева ? "А" "01-000-10100001", затем аналогично декодируется вся запись "01-000-1-01-000-01" "БАОБАБ".
Алгоритм Лемпеля-Зива
Классический алгоритм Лемпеля-Зива ? LZ77, названный так по году своего опубликования, предельно прост. Он формулируется следующим образом : "если в прошедшем ранее выходном потоке уже встречалась подобная последовательность байт, причем запись о ее длине и смещении от текущей позиции короче чем сама эта последовательность, то в выходной файл записывается ссылка (смещение, длина), а не сама последовательность". Так фраза "КОЛОКОЛ_ОКОЛО_КОЛОКОЛЬНИ" закодируется как "КОЛО(-4,3)_(-5,4)О_(-14,7)ЬНИ". Распространенный метод сжатия RLE (англ. Run Length Encoding), который заключается в записи вместо последовательности одинаковых символов одного символа и их количества, является подклассом данного алгоритма. Рассмотрим, например, последовательность "ААААААА". С помощью алгоритма RLE она будет закодирована как "(А,7)", в то же время ее можно достаточно хорошо сжать и с помощью алгоритма LZ77 : "А(-1,6)". Действительно, степень сжатия именно такой последовательности им хуже (примерно на 30-40%), но сам по себе алгоритм LZ77 более универсален, и может намного лучше обрабатывать последовательности вообще несжимаемые методом RLE.Алгоритм RSA
Алгоритм RSA стоит у истоков асимметричной криптографии. Он был предложен тремя исседователями-математиками Рональдом Ривестом (R.Rivest) , Ади Шамиром (A.Shamir) и Леонардом Адльманом (L.Adleman) в 1977-78 годах.Первым этапом любого асимметричного алгоритма является создание пары ключей : открытого и закрытого и распространение открытого ключа "по всему миру". Для алгоритма RSA этап создания ключей состоит из следующих операций :
Как же производится собственно шифрование с помощью этих чисел :
прочесть исходные сообщения mi он не может никак, кроме как полным перебором mi.
А вот на приемной стороне процесс дешифрования все же возможен, и поможет нам в этом хранимое в секрете число d.
Достаточно давно была доказана теорема Эйлера, частный случай которой утвержает, что если число n представимо в виде двух простых чисел p и q, то для любого x имеет место равенство (x(p-1)(q-1))mod n = 1. Для дешифрования RSA-сообщений воспользуемся этой формулой. Возведем обе ее части в степень (-y) : (x(-y)(p-1)(q-1))mod n = 1(-y) = 1. Теперь умножим обе ее части на x : (x(-y)(p-1)(q-1)+1)mod n = 1*x = x.
А теперь вспомним как мы создавали открытый и закрытый ключи. Мы подбирали с помощью алгоритма Евклида d такое, что e*d+(p-1)(q-1)*y=1, то есть e*d=(-y)(p-1)(q-1)+1. А следовательно в последнем выражении предыдущего абзаца мы можем заменить показатель степени на число (e*d). Получаем (xe*d)mod n = x. То есть для того чтобы прочесть сообщение ci=((mi)e)mod n достаточно возвести его в степень d по модулю m : ((ci)d)mod n = ((mi)e*d)mod n = mi.
На самом деле операции возведения в степень больших чисел достаточно трудоемки для современных процессоров, даже если они производятся по оптимизированным по времени алгоритмам. Поэтому обычно весь текст сообщения кодируется обычным блочным шифром (намного более быстрым), но с использованием ключа сеанса, а вот сам ключ сеанса шифруется как раз асимметричным алгоритмом с помощью открытого ключа получателя и помещается в начало файла.
Алгоритмы создания цепочек
Первая задача, с которой мы столкнемся при шифровании данных криптоалгоритмом ? это данные с длиной, неравной длине 1 блока криптоалгоритма. Эта ситуация будет иметь место практически всегда.Первый вопрос:
? Что можно сделать, если мы хотим зашифровать 24 байта текста, если используется криптоалгоритм с длиной блока 8 байт?
? Последовательно зашифровать три раза по 8 байт и сложить их в выходной файл так, как они лежали в исходном.
? А если данных много и некоторые блоки по 8 байт повторяются, это значит, что в выходном файле эти же блоки будут зашифрованы одинаково - это очень плохо.
Второй вопрос :
? А что если данных не 24, а 21 байт.
Не шифровать последние 5 байт или чем-то заполнять еще 3 байта, ? а потом при дешифровании их выкидывать.
? Первый вариант вообще никуда не годится, а второй применяется, но чем заполнять ?
Для решения этих проблем и были введены в криптосистемы алгоритмы создания цепочек (англ. chaining modes). Самый простой метод мы уже в принципе описали. Это метод ECB (Electronic Code Book). Шифруемый файл временно разделяется на блоки, равные блокам алгоритма, каждый из них шифруется независимо, а затем из зашифрованных пакетов данных компонуется в той же последовательности файл, который отныне надежно защищен криптоалгоритмом. Название алгоритм получил из-за того, что в силу своей простоты он широко применялся в простых портативных устройствах для шифрования ? электронных шифрокнижках. Схема данного метода приведена на рис.1.

Рис.1.
В том случае, когда длина пересылаемого пакета информации не кратна длине блока криптоалгоритма возможно расширение последнего (неполного) блока байт до требуемой длины либо с помощью генератора псевдослучайных чисел, что не всегда безопасно в отношении криптостойкости, либо с помощью хеш-суммы передаваемого текста. Второй вариант более предпочтителен, так как хеш-сумма обладает лучшими статистическими показателями, а ее априорная известность стороннему лицу равносильна знанию им всего передаваемого текста.
Указанным выше недостатком этой схемы является то, что при повторе в исходном тексте одинаковых символов в течение более, чем 2*N байт (где N ? размер блока криптоалгоритма), в выходном файле будут присутствовать одинаковые зашифрованные блоки. Поэтому, для более "мощной" защиты больших пакетов информации с помощью блочных шифров применяются несколько обратимых схем "создания цепочек". Все они почти равнозначны по криптостойкости, каждая имеет некоторые преимущества и недостатки, зависящие от вида исходного текста.
Все схемы создания цепочек основаны на идее зависимости результирующего зашифровываемого блока от предыдущих, либо от позиции его в исходном файле. Это достигается с помощью блока "памяти" ? пакета информации длины, равной длине блока алгоритма. Блок памяти (к нему применяют термин IV ? англ. Initial Vector) вычисляется по определенному принципу из всех прошедших шифрование блоков, а затем накладывается с помощью какой-либо обратимой функции (обычно XOR) на обрабатываемый текст на одной из стадий шифрования. В процессе раскодирования на приемной стороне операция создания IV повторяется на основе принятого и расшифрованного текста, вследствие чего алгоритмы создания цепочек полностью обратимы.
Два наиболее распространенных алгоритма создания цепочек ? CBC и CFB. Их структура приведена на рис.2 и рис.3. Метод CBC получил название от английской аббревиатуры Cipher Block Chaining ? объединение в цепочку блоков шифра, а метод CFB ? от Cipher FeedBack ? обратная связь по шифроблоку.

Рис.2.

Рис.3.
Еще один метод OFB (англ. Output FeedBack ? обратная связь по выходу) имеет несколько иную структуру (она изображена на рис.4.) : в нем значение накладываемое на шифруемый блок не зависит от предыдущих блоков, а только от позиции шифруемого блока (в этом смысле он полностью соответствует скремблерам), и из-за этого он не распространяет помехи на последующие блоки. Очевидно, что все алгоритмы создания цепочек однозначно восстановимы.
Практические алгоритмы создания и декодирования цепочек будут разработаны на практическом занятии.

Рис.4.
Сравним характеристики методов создания цепочек в виде таблицы.
| ECB | текущего блока | портит весь текущий блок | нет | выход криптоалгоритма |
| CBC | всех предыдущих блоков | портит весь текущий и все последующие блоки | нет | выход криптоалгоритма |
| CFB | всех предыдущих блоков | портит один бит текущего блока и все последующие блоки | да | XOR маска с исходным текстом |
| OFB | позиции блока в файле | портит только один бит текущего блока | да | XOR маска с исходным текстом |
Архивация
Существуют две большие группы алгоритмов архивации : сжатие без потерь биективно перекодирует информацию по другим законам, то есть возможно абсолютно идентичное ее восстановление; сжатие с потерями необратимо удаляет из информации некоторые сведения, оказывающие наименьшее влияние на смысл сообщения.
Алгоритм сжатия ориентирован на неосмысленные последовательности символов какого-либо алфавита. Необходимым условием для сжатия является различная вероятность появления этих символов (и чем различие в вероятности ощутимее, тем больше степень сжатия).
А этот алгоритм сжатия основан наоборот на корреляциях между расположенными рядом символами алфавита (словами, управляющими последовательностями, заголовками файлов фиксированной структуры)
Асимметричные криптоалгоритмы
Каждый пользователь асимметричной криптосистемы предварительно создает по определенному алгоритму пару ключей : закрытый и открытый ? они будут в дальнейшем использоваться для отправки писем именно ему. Для отправки письма другому абоненту сети необходимо будет воспользоваться именно его открытым ключом.
Алгорит RSA является классикой асимметричной криптографии. В нем в качестве необратимого преобразования отправки используется возведение целых чисел в большие степени по модулю.
Асимметричная криптография, как оказалось, позволяет очень красиво решать и задачу аутентификации автора сообщения ? простым изменением порядка использования открытого и закрытого ключей.
Асимметричная криптография сделала еще и достаточно мощный прорыв в технологии первоначального распространения ключей. Если для симметричных криптосистем обязательным был предварительный обмен по закрытому каналу (обычно лично из рук в руки), то теперь появились совершенно новые способы для этого.
Метод Диффи-Хеллмана использует алгоритм, подобный алгоритму RSA, для первоначального обмена ключами в симметричных криптосистемах по открытому каналу, но только такому, в котором невозможна фальсификация сообщений.
Атакуемые сетевые компоненты
Сервера предназначены для хранения информации либо предоставления определенных видов услуг. Вследствие этого, основными классами атак против серверов являются "отказ в сервисе" и попытки раскрытия конфиденциальной информации. Специфичными атаками являются атаки, заключающиеся в фальсификации служебных сервисов.
Основной задачей злоумышленника в отношении рабочих станций является получение информации, хранящейся локально на их жестких дисках, либо получение паролей, вводимых оператором, путем копирования буфера клавиатуры.
Различные среды передачи данных (эфирная, кабельная) требуют от злоумышленника различных затрат для их прослушивания.
Атаки на узлы коммутации преследуют обычно две цели : либо нарушение целостности сети ("отказ в сервисе"), либо перенаправление трафика по неверному пути, каким-либо образом выгодному злоумышленнику.
Блочные шифры
( 19 кб )На сегодняшний день разработано достаточно много стойких блочных шифров. Практически все алгоритмы используют для преобразований определенный набор биективных (обратимых) математических преобразований
Сетью Фейштеля называется метод обратимых преобразований текста, при котором значение, вычисленное от одной из частей текста, накладывается на другие части. Часто структура сети выполняется таким образом, что для шифрования и дешифрования используется один и тот же алгоритм ? различие состоит только в порядке использования материала ключа.
Блочный алгоритм TEA приведен как пример одного из самых простых в реализации стойких криптоалгоритмов.
В 1998 году был объявлен открытый конкурс на криптостандарт США на несколько первых десятилетий XXI века. Победителем конкурса был признан бельгийский блочный шифр Rijndael. Скорее всего он станет стандартом де-факто блочного шифрования во всем мире.
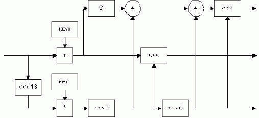
Блочный шифр TEA
Рассмотрим один из самых простых в реализации, но признанно стойких криптоалгоритмов ? TEA (Tiny Encryption Algorithm).Параметры алгоритма :
Размер блока ? 64 бита.
Длина ключа ? 128 бит.
В алгоритме использована сеть Фейштеля с двумя ветвями в 32 бита каждая.
Образующая функция F обратима.
Сеть Фейштеля несимметрична из-за использования в качестве операции наложения не исключающего "ИЛИ", а арифметического сложения.
Ниже приведен код криптоалгоритма на языке программирования PASCAL. type TLong2=array[0.. 1] of longint; TLong2x2=array[0.. 1] of TLong2; const Delta=$9E3779B9; var key:TLong2x2; procedure EnCryptRouting(var data); var y,z,sum:longint; a:byte; begin y:=TLong2(data)[0];z:=TLong2(data)[1];sum:=0; for a:=0 to 31 do begin inc(sum,Delta); inc(y,((z shl 4)+key[0,0]) xor (z+sum) xor ((z shr 5)+key[0,1])); inc(z,((y shl 4)+key[1,0]) xor (y+sum) xor ((y shr 5)+key[1,1])); end; TLong2(data)[0]:=y;TLong2(data)[1]:=z end;
Схема работы алгоритма приведена на рисунке 1.

Рис.1.
Отличительной чертой криптоалгоритма TEA является его размер. Простота операций, отсутствие табличных подстановок и оптимизация под 32-разрядную архитектуру процессоров позволяет реализовать его на языке ASSEMBLER в предельно малом объеме кода. Недостатком алгоритма является некоторая медлительность, вызванная необходимостью повторять цикл Фейштеля 32 раза (это необходимо для тщательного "перемешивания данных" из-за отсутствия табличных подстановок).
ЧФСПбГТУ
Курс лекций разработан А.Беляевым на базе Череповецкого филиала СПбГТУ.Череповецкий филиал
Санкт-Петербургского государственного технического университета
производит обучение по следующим специальностям :
| 220400 "Программное обеспечение ВТ и АС" | Дневное | Вечернее | Заочное |
| 060500 "Бухгалтерский учет, анализ и аудит" | Дневное | Вечернее | Заочное |
| 061100 "Менеджмент" | Дневное | Вечернее | Заочное |
Наш адрес : 162600, г.Череповец Вологодской обл., ул.Металлургов 21б
Телефон : +7(8202) 22-86-75, +7(8202) 23-12-10
E-mail : science@metacom.ru
WWW : http://science.metacom.ru/
|
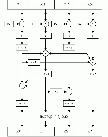
Финалист AES ? шифр MARS
Шифр состоит из трех видов операций, которые повторяются сначала в прямом, а затем в инверсном порядке. На первом шаге идет классическое входное забеливание : ко всем байтам исходного текста добавляются байты из материала ключа.Второй этап : прямое перемешивание, однотипная операция, имеющая структуру сети Фейштеля повторяется 8 раз. Однако, на этом этапе не производится добавление материала ключа. Цель данного преобразования ? тщательная рандомизация данных и повышение стойкости шифра к некоторым видам атак (рис.1).
Третий этап : собственно шифрование. В нем используется сеть Фейштеля треьего типа с 4 ветвями, то есть значения трех функций, вычисленных от одной ветви накладываются соответственно на три других, затем идет перестановка машинных слов. Эта операция также повторяется 8 раз (рис.1). Именно на этом этапе происходит смешивание текста с основной (большей) частью материала ключа. Сами функции, накладываемые на ветви, изображены на рис.2. Как видим, в алгоритме MARS использованы практически все виды операций, применяемых в криптографических преобразованиях : сложение, "исключающее ИЛИ", сдвиг на фиксированное число бит, сдвиг на переменное число бит, умножение и табличные подстановки.
Во второй части операции шифрования повторяются те же операции, но в обратном порядке : сначала шифрование, затем перемешивание, и, наконец, забеливание. При этом во вторые варианты всех операций внесены некоторые изменения таким образом, чтобы криптоалгоритм в целом стал абсолютно симметричным. То есть, в алгоритме MARS для любого X выполняется выражение EnCrypt(EnCrypt(X))=X

Рис.1.

Рис.2.
Алгоритм является продолжением криптоалгоритма RC5, разработанного Рональдом Ривестом (англ. Ron Rivest) ? очень известной личностью в мире криптографии. RC5 был незначительно изменен для того, чтобы соответствовать требованиям AES по длине ключа и размеру блока. При этом алгоритм стал еще быстрее, а его ядро, унаследованное от RC5, имеет солидный запас исследований, проведенных задолго до объявления конкурса AES.
Алгоритм является сетью Фейштеля с 4 ветвями смешанного типа : в нем два четных блока используются для одновременного изменения содержимого двух нечетных блоков. Затем производится обычный для сети Фейштеля сдвиг на одно машинное слово, что меняет четные и нечетные блоки местами. Сам алгоритм предельно прост и изображен на рисунке 1. Разработчики рекомендуют при шифровании использовать 20 раундов сети, хотя в принципе их количество не регламентируется. При 20 повторах операции шифрования алгоритм имеет самую высокую скорость среди 5 финалистов AES.

Рис.1.
Преобразование T(x) очень просто : T(X)=(X*(X+1)) mod 2N. Оно используется в качестве нелинейного преобразования с хорошими показателями перемешивания битового значения входной величины.
Финалист AES ? шифр Serpent
Алгоритм разработан группой ученых из нескольких исследовательских центров мира. Алгоритм представляет собой сетей Фейштеля для четырех ветвей смешанного типа : 2 четные ветви изменяют совместо значения нечетных, затем меняются местами. В качестве криптопреобразований используются только исключающее "ИЛИ", табличные подстановки и битовые сдвиги. Алгоритм состоит из 32 раундов. Сами раунды составлены таким образом, что добавление к ветвями материала ключа на первом и последнем раундах образует входное и выходное забеливание.
Рис.1.
Финалист AES ? шифр TwoFish
Алгоритм разработан команией Counterpain Security Systems, возглавляемой Брюсом Шнайером (англ. Bruce Schneier). Предыдущая программная разработка этой фирмы, называвшаяся BlowFish, являлась и до сих пор является признанным криптостойким алгоритмом. В алгоритме TwoFish разработчики оставили некоторые удачные решения из проекта-предшественника, кроме этого произвели тщательные исследования по перемешиванию данных в сети Фейштеля. Алгоритм представляет собой сеть Фейштеля смешанного типа: первая и вторая ветвь на нечетных раундах производят модификацию третьей и четвертой, на четных раундах ситуация меняется на противоположную. В алгоритме используется криптопреобразование Адамара (англ. Pseudo-Hadamar Transform) ? обратимое арифметическое сложение первого потока со вторым, а затем второго с первым. Единственным нарицанием, поступившим в адрес TwoFish от независимых исследователей, является тот факт, что при расширении материала ключа в алгоритме используется сам же алгоритм. Двойное применение блочного шифра довольно сильно усложняет его анализ на предмет наличия слабых ключей или недокументированных замаскированных связей между входными и выходными данными.
Рис.1.
Функции криптосистем
Все исследования, которые мы проводили на предыдущих лекциях, касались только криптоалгоритмов, то есть методов преобразования небольшого блока данных (от 4 до 32 байт) в закодированный вид в зависимости от заданного двоичного ключа. Криптоалгоритмы несомненно являются "сердцем" криптографических систем, но, как мы сейчас увидим, их непосредственное применение без каких-либо модификаций для кодирования больших объемов данных на самом деле не очень приемлимо.Все недостатки непосредственного применения криптоалгоритмов устраняются в криптосистемах. Криптосистема ? это завершенная комплексная модель, способная производить двусторонние криптопреобразования над данными произвольного объема и подтверждать время отправки сообщения, обладающая механизмом преобразования паролей и ключей и системой транспортного кодирования. Таким образом, криптосистема выполняет три основные функции:
Конкретная программная реализация криптосистемы называется криптопакетом.
Генераторы случайных и псевдослучайных последовательностей
Самая большая проблема всех методов рандомизации сообщений ? это порождение действительно случайной последовательности бит. Дело в том, что генераторы случайных последовательностей, используемые для общих целей, например, в языках программирования, являются на самом деле псевдослучайными генераторами. Дело в том, что в принципе существует конечное, а не бесконечное множество состояний ЭВМ, и, как бы сложно не формировалось в алгоритме число, оно все равно имеет относительно немного бит информационной насыщенности.Давайте рассмотрим проблему создания случайных и псевдослучайных чисел более детально. Наиболее часто в прикладных задачах результат формируют из счетчика тиков ? системных часов. В этом случае данные о текущем часе несут примерно 16 бит информации, значение счетчика тиков ? еще 16 бит. Это дает нам 32 бита информации ? как вы помните, на сегодняшний день границей стойкой криптографии является значение в 40 бит, при реальных длинах ключей в 128 бит. Естественно, подобного метода крайне недостаточно. Идем дальше, к 32 битам можно добавить еще 16 бит из сверхбыстрого таймера, работающего на частоте 1,2 МГц в компьютерах архитектуры IBM PC AT и этого еще недостаточно. Кроме того, даже если мы сможем набрать длину ключа в 128 бит (что очень сомнительно), она будет нести псевдослучайный характер, поскольку основана на состоянии только лишь данной ЭВМ на момент начала шифрования. Источниками по-настоящему случайных величин могут быть только внешние объекты, например, человек.
Два наиболее часто применяемых метода создания случайных последовательностей с помощью человека основаны на вводе с клавиатуры. В обоих случаях пользователя просят, не задумываясь, понабирать на клавиатуре бессмысленные сочетания букв.
По первому методу над самими введенными значениями производятся действия, повышающие случайность выходного потока. Так, например, обязательно удаляются верхние 3 бита введенного ASCII символа, часто удаляются еще один верхний и еще один нижний биты. Затем, объем полученной последовательности уменьшается еще в три раза наложением первого и второго бита на третий операцией XOR.
Это, в принципе, генерирует достаточно случайную последовательность бит.
По второму методу на введенные символы алгоритм не обращает никакого внимания, зато конспектирует интервалы времени, через которые произошли нажатия. Запись моментов производится по отсчетам быстрого системного таймера (частота 1,2 МГц) или внутреннему счетчику процессора, появившемуся в процессорах, начиная с Intel Pentium (частота соответствует частоте процессора). Так как верхние и младшие биты имеют определенную корреляцию между символами (первые из-за физических характеристик человека, вторые из-за особенностей операционной системы), то они отбрасываются (обычно удаляются 0-8 старших бита и 4-10 младших).
Как более редко встречающиеся варианты можно встретить 1) комбинацию обоих клавиатурных методов и 2) метод, основанный на манипуляторе "мышь" - он выделяет случайную информацию из смещений пользователем указателя мыши.
В мощных криптосистемах военного применения используются действительно случайные генераторы чисел, основанные на физических процессах. Они представляют собой платы, либо внешние устройства, подключаемые к ЭВМ через порт ввода-вывода. Два основных источника белого Гауссовского шума ? высокоточное измерение тепловых флуктуаций и запись радиоэфира на частоте, свободной от радиовещания.
Хеширование паролей
От методов, повышающих криптостойкость системы в целом, перейдем к блоку хеширования паролей ? методу, позволяющему пользователям запоминать не 128 байт, то есть 256 шестнадцатиричных цифр ключа, а некоторое осмысленное выражение, слово или последовательность символов, называющуюся паролем. Действительно, при разработке любого криптоалгоритма следует учитывать, что в половине случаев конечным пользователем системы является человек, а не автоматическая система. Это ставит вопрос о том, удобно, и вообще реально ли человеку запомнить 128-битный ключ (32 шестнадцатиричные цифры). На самом деле предел запоминаемости лежит на границе 8-12 подобных символов, а, следовательно, если мы будем заставлять пользователя оперировать именно ключом, тем самым мы практически вынудим его к записи ключа на каком-либо листке бумаги или электронном носителе, например, в текстовом файле. Это, естественно, резко снижает защищенность системы.Для решения этой проблемы были разработаны методы, преобразующие произносимую, осмысленную строку произвольной длины ? пароль, в указанный ключ заранее заданной длины. В подавляющем большинстве случаев для этой операции используются так называемые хеш-функции (от англ. hashing ? мелкая нарезка и перемешивание). Хеш-функцией называется такое математическое или алгоритмическое преобразование заданного блока данных, которое обладает следующими свойствами:
Эти свойства позволяют подавать на вход хеш-функции пароли, то есть текстовые строки произвольной длины на любом национальном языке и, ограничив область значений функции диапазоном 0..2N-1, где N ? длина ключа в битах, получать на выходе достаточно равномерно распределенные по области значения блоки информации ? ключи.
Нетрудно заметить, что требования, подобные 3 и 4 пунктам требований к хеш-функции, выполняют блочные шифры.
Это указывает на один из возможных путей реализации стойких хеш-функций ? проведение блочных криптопреобразований над материалом строки-пароля. Этот метод и используется в различных вариациях практически во всех современных криптосистемах. Материал строки-пароля многократно последовательно используется в качестве ключа для шифрования некоторого заранее известного блока данных ? на выходе получается зашифрованный блок информации, однозначно зависящий только от пароля и при этом имеющий достаточно хорошие статистические характеристики. Такой блок или несколько таких блоков и используются в качестве ключа для дальнейших криптопреобразований.
Характер применения блочного шифра для хеширования определяется отношением размера блока используемого криптоалгоритма и разрядности требуемого хеш-результата.
Если указанные выше величины совпадают, то используется схема одноцепочечного блочного шифрования. Первоначальное значение хеш-результата H0 устанавливается равным 0, вся строка-пароль разбивается на блоки байт, равные по длине ключу используемого для хеширования блочного шифра, затем производятся преобразования по реккурентной формуле:
Hj=Hj-1 XOR EnCrypt(Hj-1,PSWj),
где EnCrypt(X,Key) ? используемый блочный шифр (рис.1).
Последнее значение Hk используется в качестве искомого результата.

Рис.1.
В том случае, когда длина ключа ровно в два раза превосходит длину блока, а подобная зависимость довольно часто встречается в блочных шифрах, используется схема, напоминающая сеть Фейштеля. Характерным недостатком и приведенной выше формулы, и хеш-функции, основанной на сети Фейштеля, является большая ресурсоемкость в отношении пароля. Для проведения только одного преобразования, например, блочным шифром с ключом длиной 128 бит используется 16 байт строки-пароля, а сама длина пароля редко превышает 32 символа. Следовательно, при вычислении хеш-функции над паролем будут произведено максимум 2 "полноценных" криптопреобразования.
Решение этой проблемы можно достичь двумя путями : 1) предварительно "размножить" строку-пароль, например, записав ее многократно последовательно до достижения длины, скажем, в 256 символов; 2) модифицировать схему использования криптоалгоритма так, чтобы материал строки-пароля "медленнее" тратился при вычислении ключа.
По второму пути пошли исследователи Девис и Майер, предложившие алгоритм также на основе блочного шифра, но использующий материал строки-пароля многократно и небольшими порциями. В нем просматриваются элементы обеих приведенных выше схем, но криптостойкость этого алгоритма подтверждена многочисленными реализациями в различных криптосистемах. Алгоритм получил название "Tandem DM" (рис.2):
G0=0; H0=0 ; FOR J = 1 TO N DO BEGIN TMP=EnCrypt(H,[G,PSWj]); H'=H XOR TMP; TMP=EnCrypt(G,[PSWj,TMP]); G'=G XOR TMP; END; Key=[Gk,Hk]
Квадратными скобками (X16=[A8,B8]) здесь обозначено простое объединение (склеивание) двух блоков информации равной величины в один ? удвоенной разрядности. А в качестве процедуры EnCrypt(X,Key) опять может быть выбран любой стойкий блочный шифр. Как видно из формул, данный алгоритм ориентирован на то, что длина ключа двукратно превышает размер блока криптоалгоритма. А характерной особенностью схемы является тот факт, что строка пароля считывается блоками по половине длины ключа, и каждый блок используется в создании хеш-результата дважды. Таким образом, при длине пароля в 20 символов и необходимости создания 128 битного ключа внутренний цикл хеш-функции повторится 3 раза.

Рис.2.
Категории информационной безопасности
Информация с точки зрения информационной безопасности обладает следующими категориями:В отношении информационных систем применяются иные категории :
Классификация информационных объектов
От различных типов данных требуется различная степень безотказности доступа. Тратить большие деньги на системы безотказности для не очень важной информации невыгодно и даже убыточно, но нельзя и неправильно оценивать действительно постоянно требуемую информацию ? ее отсутствие в неподходящий момент также может принести значительные убытки.
Классификация по степени конфиденциальности ? одна из основных и наиболее старых классификаций данных. Она применялась еще задолго до появления вычислительной техники и с тех пор изменилась незначительно.
Различные классы конфиденциальной информации необходимо снабжать различными по уровню безопасности системами технических и административных мер.
Классификация криптоалгоритмов
Сама криптография не является высшей ступенью классификации смежных с ней дисциплин. Наоборот, криптография совместно с криптоанализом (целью которого является противостояние методам криптографии) составляют комплексную науку ? криптологию. Необходимо отметить, что в русскоязычных текстах по данному предмету встречаются различные употребления основных терминов, таких как "криптография", "тайнопись" и некоторых других. Более того, и по классификации криптоалгоритмов можно встретить различные мнения. В связи с этим автор не претендует на то, что его вариант использования подобных терминов является единственно верным.В отношении криптоалгоритмов существует несколько схем классификации, каждая из которых основана на группе характерных признаков. Таким образом, один и тот же алгоритм "проходит" сразу по нескольким схемам, оказываясь в каждой из них в какой-либо из подгрупп.
Основной схемой классификации всех криптоалгоритмов является следующая:
Отправитель и получатель производят над сообщением преобразования, известные только им двоим. Сторонним лицам неизвестен сам алгоритм шифрования. Некоторые специалисты считают, что тайнопись не является криптографией вообще, и автор находит это совершенно справедливым.
Алгоритм воздействия на передаваемые данные известен всем сторонним лицам, но он зависит от некоторого параметра ? "ключа", которым обладают только отправитель и получатель.
Для зашифровки и расшифровки сообщения используется один и тот же блок информации (ключ).
Алгоритм таков, что для зашифровки сообщения используется один ("открытый") ключ, известный всем желающим, а для расшифровки ? другой ("закрытый"), существующий только у получателя.
Весь дальнейший материал будет посвящен криптографии с ключом, так как большинство специалистов именно по отношению к этим криптоалгоритмам используют термин криптография, что вполне оправдано.
Так, например, любой криптоалгоритм с ключом можно превратить в тайнопись, просто "зашив" в исходном коде программы некоторый фиксированный ключ. Обратное же преобразование практически невозможно.
В зависимости от характера воздействий, производимых над данными, алгоритмы подразделяются на:
Блоки информации (байты, биты, более крупные единицы) не изменяются сами по себе, но изменяется их порядок следования, что делает информацию недоступной стороннему наблюдателю.
Сами блоки информации изменяются по законам криптоалгоритма. Подавляющее большинство современных алгоритмов принадлежит этой группе.
Заметьте: любые криптографические преобразования не увеличивают объем информации, а лишь изменяют ее представление. Поэтому, если программа шифрования значительно (более, чем на длину заголовка) увеличивает объем выходного файла, то в ее основе лежит неоптимальный, а возможно и вообще некорректный криптоалгоритм. Уменьшение объема закодированного файла возможно только при наличии встроенного алгоритма архивации в криптосистеме и при условии сжимаемости информации (так, например, архивы, музыкальные файлы формата MP3, видеоизображения формата JPEG сжиматься более чем на 2-4% не будут).
В зависимости от размера блока информации криптоалгоритмы делятся на:
Единицей кодирования является один бит. Результат кодирования не зависит от прошедшего ранее входного потока. Схема применяется в системах передачи потоков информации, то есть в тех случаях, когда передача информации начинается и заканчивается в произвольные моменты времени и может случайно прерываться. Наиболее распространенными предствателями поточных шифров являются скремблеры.
Единицей кодирования является блок из нескольких байтов (в настоящее время 4-32). Результат кодирования зависит от всех исходных байтов этого блока. Схема применяется при пакетной передаче информации и кодировании файлов.
Классификация по требуемой степени безотказности
Безотказность, или надежность доступа к информации, является одной из категорий информационной безопасности. Предлагается следующая схема классификации информации на 4 уровня безотказности.| Максимально возможное непрерывное время отказа | 1 неделя | 1 сутки | 1 час | 1 час |
| В какое время время отказа не может превышать указанное выше ? | в рабочее | в рабочее | в рабочее | 24 часа в сутки |
| Средняя вероятность доступности данных в произвольный момент времени | 80% | 95% | 99.5% | 99.9% |
| Среднее максимальное время отказа | 1 день в неделю | 2 часа в неделю | 20 минут в неделю | 12 минут в месяц |
Классификация по уровню конфиденциальности
Уровень конфиденциальности информации является одной из самых важных категорий, принимаемых в рассмотрение при создании определенной политики безопасности учреждения. Предлагается следующая схема классификации информации на 4 класса по уровню ее конфиденциальности.| 0 | открытая информация | общедоступная информация | информационные брошюры, сведения публикававшиеся в СМИ |
| 1 | внутренняя информация | информация, недоступная в открытом виде, но не несущая никакой опасности при ее раскрытии | финансовые отчеты и тестовая информация за давно прошедшие периоды, отчеты об обычных заседаниях и встречах, внутренний телефонный справочник фирмы |
| 2 | конфиденциальная информация | раскрытие информации ведет к значительным потерям на рынке | реальные финансовые данные, планы, проекты, полный набор сведений о клиентах, информация о бывших и нынешних проектах с нарушениями этических норм |
| 3 | секретная информация | раскрытие информации приведет к финансовой гибели компании | (зависит от ситуации) |
Комплексная система безопасности
Обрабатываемые данные могут классифицироваться согласно различным категориям информационной безопасности : требованиям к их доступности (безотказности служб), целостности, конфиденциальности.
Ролями называются характерные наборы функций и степени отвественности, свойственные теми или иными группами лиц. Четкое определение ролей, классификация их уровней доступа и ответственности, составление списка соответствия персонала тем или иным ролям делает политику безопасности в отношении рабочих и служащих предприятия четкой, ясной и легкой для исполнения и проверки.
Методика создания политики безопасности предприятия состоит из учета основных (наиболее опасных) рисков информационных атак, современной ситуации, факторов непреодолимой силы и генеральной стоимости проекта.
Безотказность сервисов и служб хранения данных достигается с помощью систем самотестирования и внесения избыточности на различных уровнях : аппаратном, программном, информационном.
Комплексный поиск возможных методов доступа
Обратимся к наиболее популярным и очевидным технологиям несанкционированного доступа. Рассмотрением их мы не должны пренебрегать по очень простому правилу: "прочность цепи не выше прочности самого слабого ее звена". Эта аксиома постоянно цитируется, когда речь идет о компьютерной безопасности. Например, как бы ни была прочна система, если пароль на доступ к ней лежит в текстовом файле в центральном каталоге или записан на экране монитора ? это уже не конфиденциальная система. А примеров, в которых разработчики системы защиты забывают или просто не учитывают какие-либо примитивнейшие методы проникновения в систему, можно найти сотни, и мы будем с ними сталкиваться в ходе нашего курса. Например, при работе в сети Internet не существует надежного автоматического подтверждения того, что данный пакет пришел именно от того отправителя (IP-адреса), который заявлен в пакете. А это позволяет даже при применении самого надежного метода идентификации первого пакета подменять все остальные, просто заявляя, что все они пришли тоже с этого же самого IP-адреса.Примерно та же проблема существует в сети Novell NetWare 3.11 ? в ней сервер может поддерживать одновременно до 254 станций, и при этом при наличии мощной системы идентификации аутентификация пакета ведется только по номеру станции. Это позволяло проводить следующую атаку ? в присутствии в сети клиента-супервизора злоумышленнику достаточно послать 254 пакета с командой серверу, которую он хочет исполнить, перебрав в качестве псевдо-отправителя все 254 станции. Один из отправленных пакетов совпадет с номером соединения, на котором сейчас действительно находится клиент-супервизор, и команда будет принята сервером к исполнению, а остальные 253 пакета просто проигнорированы.
А в отношении шифрования ? мощного средства защиты передаваемой информации от прослушивания и изменения ? можно привести следующий метод, неоднократно использованный на практике. Действительно злоумышленник, не зная пароля, которым зашифрованы данные или команды, передаваемые по сети, не может прочесть их или изменить. Но если у него есть возможность наблюдать, что происходит в системе после получения конкретного блока данных (например, стирается определенный файл или выключается какое-либо аппаратное устройство), то он может, не раскодируя информацию, послать ее повторно и добьется результатов, аналогичных команде супервизора. Все это заставляет разработчиков защищенных систем постоянно помнить и о самых простых и очевидных способах проникновения в систему и предупреждать их в комплексе.
Криптография
В зависимости от наличия либо отсутствия ключа кодирующие алгоритмы делятся на тайнопись и криптографию. В зависимости от соответствия ключей шифрования и дешифрования ? на симметричные и асимметричные. В зависимости от типа используемых преобразований ? на подстановочные и перестановочные. В зависимости от размера шифруемого блока ? на потоковые и блочные шифры.
Симметричные криптоалгоритмы выполняют преобразование небольшого (1 бит либо 32-128 бит) блока данных в зависимости от ключа таким образом, что прочесть исходное сообщение можно только зная этот секретный ключ.
Симметричные криптосистемы являются полноценными программами, которые могут на основе симметричных криптоалгоритмов кодировать и декодировать файлы произвольной длины. Криптосистемы устраняют целый класс "потенциальных уязвимостей" систем, использующих симметричные криптоалгоритмы.
В асимметричных криптоалгоритмах для зашифровывания сообщения используется один ключ, а для расшифровки другой. Ключ шифрования известен всем, но выполняемое преобразование необратимо, поэтому зашифрованный текст не может прочесть никто, кроме получателя ? именно он один знает второй (закрытый) ключ.
Поскольку асимметричные криптоалгоритмы очень медленны, в реальных системах используются быстрые надежные симметричные криптоалгоритмы по схеме с ключом сеанса. А вот сам ключ сеанса кодируется асимметричным криптоалгоритмом с помощью открытого ключа получателя. Подобная система обладает всеми свойствами асимметричного криптоалгоритма и очень высоким быстродействием.
Курс "Методы и средства защиты информации"
В современном компьютерном сообществе атаки на информацию стали обыденной практикой. Злоумышленники используют как ошибки в написании и администрировании программ, так и методы социальной психологии для получения желаемой информации.
Криптография ? наука о способах двунаправленного преобразования информации с целью конфиденциальной передачи ее по незащищенному каналу между двумя станциями, разделенными в пространстве и/или времени. Криптография, используя достижения в первую очередь математики, позволяет модифицировать данные таким образом, что никакие самые современные ЭВМ за разумный период времени не могут восстановить исходный текст, известный только отправителю и получателю.
С развитием компьютерных сетей надежной локальной защиты ЭВМ уже недостаточно : существует множество способов удаленного вторжения на ЭВМ с неправильно сконфигурированной системой сетевой безопасности, либо временного выведения компьютера из строя.
Ошибки в программном обеспечении до сих пор составляют одну из самых обширных брешей в системе безопасности ЭВМ.
Основная рекомендация по разработке системы безопасности ? комплексный подход к этой проблеме. Существует множество методик, обеспечивающих выявление самых уязвимых мест в структуре работы с информацией. Комплекс превентивных мер против атак на информацию называется политикой безопасности предприятия.
|
Механизм распространения открытых ключей
Казалось бы, асимметричные криптосистемы лишены одного из самых главных недостатков симметричных алгоритмов ? необходимости предварительного обмена сторонами секретным ключом по защищенной схеме (например, из рук в руки или с помощью поверенного курьера). Вроде бы достаточно "раструбить" по всему свету о своем открытом ключе, и вот готова надежная линия передачи сообщений.Но оказывается не все так просто : предположим я Ваш потенциальный собеседник. Для того чтобы отправить зашифрованное сообщение, я должен узнать Ваш открытый ключ. Если Вы не приносили мне его лично на дискете, значит я его просто взял из информационной сети. А теперь главный вопрос : где доказательство, что данный набор байт является именно Вашим открытым ключом? Ведь злоумышленник может сгенерировать произвольную пару (закрытый ключ, открытый ключ), затем активно распространять или пассивно подменять при запросе Ваш открытый ключ созданным им. В этом случае при отправке сообщения 1) я зашифрую его тем ключом, который думаю, что является Вашим, 2) злоумышленник, перехватив сообщение дешифрует его парным закрытым ключом, прочтет и более того : 3) может переслать дальше, зашифровав действительно уже Вашим открытым ключом. Точно так же, но по инверсной схеме, он может подменить и мою электронную подпись под моим письмом.
Таким образом, если между отправителем и получателем нет конфиденциальной схемы передачи асимметричных ключей, то возникает серьезная опасность появления злоумышленника-посредника. Но асимметричная криптография нашла изящный способ очень значительного снижения риска подобной атаки. Если задуматься, то неправильно говорить, что между Вами и Вашим собеседником нет гарантированной линии связи. Несомненно у Вас найдется трое-четверо надежных знакомых в столице или за рубежом, у них в свою очередь также найдется множество знакомых во многих точках страны и мира. В конце концов, Вы пользуетесь программным обеспечением фирм, если не центры, то хотя бы филиалы которых находятся в той стране или в том городе, куда Вы хотите отправить письмо.
Методы обеспечения безотказности
Методы поддержания безотказности являются смежной областью в схемах комплексной информационной безопасности предприятия. Основным методом в этой сфере является внесение избыточности. Она может реализовываться в системе на трех уровнях : уровне данных (или информации), уровне сервисов (или приложений) и уровне аппаратного обеспечения.Внесение избыточности на уровне данных практикуется достаточно давно : это резервное копирование и помехоустойчивое кодирование. Резервное копирование выполняется обычно при хранении информации на современных запоминающих устройствах (поскольку для них в аварийной ситуации характерен выход из строя больших блоков данных целиком ? трудновосстановимое с помощью помехоустойчивого кодирование повреждение). А вот использование кодов с обнаружением и некоторым потенциалом для исправления ошибок получило широкое применение в средствах телекоммуникации.
Внесение избыточности на уровне приложений используется гораздо реже. Однако, многие, особенно сетевые, службы изначально поддерживают возможность работы с резервным или вообще с неограниченным заранее неизвестным количеством альтернативных служб. Введение такой возможности рекомендуется при разработке программного обеспечения, однако, сам процесс автоматического переключения на альтернативную службу должен подтвержаться криптографическим обменом первоначальной (установочной) информацией. Это необходимо делать для того, чтобы злоумышленник не мог, выведя из строя реальный сервис, навязать Вашей программе свой сервис с фальсифицированной информацией.
Внесение избыточности на аппаратном уровне реализуется обычно в отношении периферийных устройств (накопители на гибких и жестких дисках, сетевые и видео- адаптеры, мониторы, устройства ввода информации от пользователя). Это связано с тем, что дублирование работы основных компонентов ЭВМ (процессора, ОЗУ) гораздо проще выполнить, установив просто полноценную дублирующую ЭВМ с теми же функциями. Для автоматического определения работоспособности ЭВМ в программное обеспечение встраиваются либо 1) проверка контрольных сумм информации, либо 2) тестовые примеры с заведомо известным результатом, запускаемые время от времени, либо 3) монтирование трех и более дублирующих устройств и сверка их выходных результаты по мажоритарному правилу (каких результатов больше ? те и есть правильные, а машины, выдавшие не такие результаты, выведены из строя).
Методы рандомизации сообщений
Две основные методики внесения случайности в процесс шифрования представляют из себя : а) внесение случайных бит в сам шифруемый файл с игнорированием их на дешифрующей стороне, б) шифрование исходного файла случайным ключом.
Генераторы случайных последовательностей играют большую роль в современной криптографии. В том случае, когда генерируемая последовательность основана только на состоянии ЭВМ, она называется псевдослучайной. Действительно случайными являются только некоторые физические процессы и человеческий фактор.
Обмен ключами по алгоритму Диффи-Хеллмана
Данный параграф посвящен еще одному интересному алгоритму, который достаточно трудно классифицировать. Он помогает обмениваться секретным ключом для симметричных криптосистем, но использует метод, очень похожий на асимметричный алгоритм RSA. Алгоритм назван по фамилиям его создателей Диффи (Diffie) и Хеллмана (Hellman).Определим круг его возможностей. Предположим, что двум абонентам необходимо провести конфиденциальную переписку, а в их распоряжении нет первоначально оговоренного секретного ключа. Однако, между ними существует канал, защищенный от модификации, то есть данные, передаваемые по нему, могут быть прослушаны, но не изменены (такие условия имеют место довольно часто). В этом случае две стороны могут создать одинаковый секретный ключ, ни разу не передав его по сети, по следующему алгоритму.
Предположим, что обоим абонентам известны некоторые два числа v и n. Они, впрочем, известны и всем остальным заинтересованным лицам. Например, они могут быть просто фиксированно "зашиты" в программное обеспечение. Для того, чтобы создать неизвестный более никому секретный ключ, оба абонента генерируют случайные или псевдослучайные простые числа : первый абонент ? число x, второй абонент ? число y. Затем первый абонент вычисляет значение (vx) mod n и пересылает его второму, а второй вычисляет (vy) mod n и передает первому. Злоумышленник получает оба этих значения, но модифицировать их (вмешаться в процесс передачи) не может. На втором этапе первый абонент на основе имеющегося у него x и полученного по сети (vy) mod n вычисляет значение (((vy) mod n)x)mod n, а второй абонент на основе имеющегося у него y и полученного по сети (vx) mod n вычисляет значение (((vx) mod n)y)mod n. На самом деле операция возведения в степень переносима через операцию взятия модуля по простому числу (то есть коммутативна в конечном поле), то есть у обоих абонентов получилось одно и то же число : ((vx*y) mod n. Его они и могут использовать в качестве секретного ключа, поскольку здесь злоумышленник снова встретится с проблемой RSA при попытке выяснить по перехваченным (vx) mod n и (vy) mod n сами числа x и y ? это очень и очень ресурсоемкая операция, если числа v,n,x,y выбраны достаточно большими.
Необходимо еще раз отметить, что алгоритм Диффи-Хеллмана работает только на линиях связи, надежно защищенных от модификации. Если бы он был применим на любых открытых каналах, то давно снял бы проблему распространения ключей и, возможно, заменил собой всю асимметричную криптографию. Однако, в тех случаях, когда в канале возможна модификация данных, появляется очевидная возможность вклинивания в процесс генерации ключей "злоумышленника-посредника" по той же самой схеме, что и для асимметричной криптографии.
Общая схема асимметричной криптосистемы
Общая схема асимметричной криптосистемы изображена на рисунке 1. По структуре она практически идентична симметричной криптосистеме с ключом сеанса.
Рис.1.
Общая схема симметричной криптосистемы
Общая схема симметричной криптосистемы с учетом всех рассмотренных пунктов изображена на рисунке 1.
Рис.1.
Общие принципы архивации. Классификация методов
Следующей большой темой является архивация данных. Как Вам известно, подавляющее большинство современных форматов записи данных содержат их в виде, удобном для быстрого манипулирования, для удобного прочтения пользователями. При этом данные занимают объем больший, чем это действительно требуется для их хранения. Алгоритмы, которые устраняют избыточность записи данных, называются алгоритмами сжатия данных, или алгоритмами архивации. В настоящее время существует огромное множество программ для сжатия данных, основанных на нескольких основных способах. Зачем же нужна архивация в криптографии? Дело в том, что в современном криптоанализе, то есть науке о противостоянии криптографии, с очевидностью доказано, что вероятность взлома криптосхемы при наличии корреляции между блоками входной информации значительно выше, чем при отсутствии таковой. А алгоритмы сжатия данных по определению и имеют своей основной задачей устранение избыточности, то есть корреляций между данными во входном тексте.Все алгоритмы сжатия данных качественно делятся на 1) алгоритмы сжатия без потерь, при использовании которых данные на приемной восстанавливаются без малейших изменений, и 2) алгоритмы сжатия с потерями, которые удаляют из потока данных информацию, незначительно влияющую на суть данных, либо вообще невоспринимаемую человеком (такие алгоритмы сейчас разработаны только для аудио- и видео- изображений). В криптосистемах, естественно, используется только первая группа алгоритмов.
Существует два основных метода архивации без потерь:
Практически все популярные программы архивации без потерь (ARJ, RAR, ZIP и т.п.) используют объединение этих двух методов ? алгоритм LZH.
Общие сведения о блочных шифрах
Характерной особенностью блочных криптоалгоритмов является тот факт, что в ходе своей работы они производят преобразование блока входной информации фиксированной длины и получают результирующий блок того же объема, но недоступный для прочтения сторонним лицам, не владеющим ключом. Таким образом, схему работы блочного шифра можно описать функциями Z=EnCrypt(X,Key) и X=DeCrypt(Z,Key)Ключ Key является параметром блочного криптоалгоритма и представляет собой некоторый блок двоичной информации фиксированного размера. Исходный (X) и зашифрованный (Z) блоки данных также имеют фиксированную разрядность, равную между собой, но необязательно равную длине ключа.
Блочные шифры являются основой, на которой реализованы практически все криптосистемы. Методика создания цепочек из зашифрованных блочными алгоритмами байт позволяет шифровать ими пакеты информации неограниченной длины. Такое свойство блочных шифров, как быстрота работы, используется асимметричными криптоалгоритмами, медлительными по своей природе. Отсутствие статистической корреляции между битами выходного потока блочного шифра используется для вычисления контрольных сумм пакетов данных и в хешировании паролей.
Следующие разработки всемирно признаны стойкими алгоритмами и публикаций о универсальных методах их взлома в средствах массовой информации на момент создания материала не встречалось.
| IDEA | Xuejia Lia and James Massey | 64 бита | 128 бит |
| CAST128 | 64 бита | 128 бит | |
| BlowFish | Bruce Schneier | 64 бита | 128 ? 448 бит |
| ГОСТ | НИИ *** | 64 бита | 256 бит |
| TwoFish | Bruce Schneier | 128 бит | 128 ? 256 бит |
| MARS | Корпорация IBM | 128 бит | 128 ? 1048 бит |
Криптоалгоритм именуется идеально стойким, если прочесть зашифрованный блок данных можно только перебрав все возможные ключи, до тех пор, пока сообщение не окажется осмысленным. Так как по теории вероятности искомый ключ будет найден с вероятностью 1/2 после перебора половины всех ключей, то на взлом идеально стойкого криптоалгоритма с ключом длины N потребуется в среднем 2N-1 проверок.
Таким образом, в общем случае стойкость блочного шифра зависит только от длины ключа и возрастает экспоненциально с ее ростом. Даже предположив, что перебор ключей производится на специально созданной многопроцессорной системе, в которой благодаря диагональному параллелизму на проверку 1 ключа уходит только 1 такт, то на взлом 128 битного ключа современной технике потребуется не менее 1021 лет. Естественно, все сказанное относится только к идеально стойким шифрам, которыми, например, с большой долей уверенности являются приведенные в таблице выше алгоритмы.
Кроме этого условия к идеально стойким криптоалгоритмам применяется еще одно очень важное требование, которому они должны обязательно соответствовать. При известных исходном и зашифрованном значениях блока ключ, которым произведено это преобразование, можно узнать также только полным перебором. Ситуации, в которых постороннему наблюдателю известна часть исходного текста встречаются повсеместно. Это могут быть стандартные надписи в электронных бланках, фиксированные заголовки форматов файлов, довольно часто встречающиеся в тексте длинные слова или последовательности байт. В свете этой проблемы описанное выше требование не является ничем чрезмерным и также строго выполняется стойкими криптоалгоритмами, как и первое.
Таким образом, на функцию стойкого блочного шифра Z=EnCrypt(X,Key) накладываются следующие условия:
Давайте рассмотрим методы, с помощью которых разработчики блочных криптоалгоритмов добиваются одновременного выполнения этих трех условий с очень большой долей достоверности.
Все действия, производимые над данными блочным криптоалгоритмом, основаны на том факте, что преобразуемый блок может быть представлен в виде целого неотрицательного числа из диапазона, соответствующего его разрядности.
Так, например, 32- битный блок данных можно интерпретировать как число из диапазона 0..4'294'967'295. Кроме того, блок, разрядность которого обычно является "степенью двойки", можно трактовать как несколько независимых неотрицательных чисел из меньшего диапазона (рассмотренный выше 32-битный блок можно также представить в виде 2 независимых чисел из диапазона 0..65535 или в виде 4 независимых чисел из диапазона 0..255).
Над этими числами блочным криптоалгоритмом и производятся по определенной схеме следующие действия (слева даны условные обозначения этих операций на графических схемах алгоритмов) :
| Биективные математические функции | ||
![]() |
Сложение | X'=X+V |
![]() |
Исключающее ИЛИ | X'=X XOR V |
| Умножение по модулю 2N+1 | X'=(X*V) mod (2N+1) | |
![]() |
Умножение по модулю 2N | X'=(X*V) mod (2N) |
| Битовые сдвиги | ||
![]() |
Арифметический сдвиг влево | X'=X SHL V |
![]() |
Арифметический сдвиг вправо | X'=X SHR V |
![]() |
Циклический сдвиг влево | X'=X ROL V |
![]() |
Циклический сдвиг вправо | X'=X ROR V |
| Табличные подстановки | ||
![]() |
S-box (англ. substitute) | X'=Table[X,V] |
Последний вариант используется в схеме, названной по имени ее создателя сетью Фейштеля (нем. Feistel).
Последовательность выполняемых над блоком операций, комбинации перечисленных выше вариантов V и сами функции F и составляют "ноу-хау" каждого конкретного блочного криптоалгоритма. Размер блоков и длина ключа современных (1999 год) алгоритмов были нами рассмотрены ранее. Один-два раза в год исследовательские центры мира публикуют очередной блочный шифр, который под яростной атакой криптоаналитиков либо приобретает за несколько лет статус стойкого криптоалгоритма, либо (что происходит неизмеримо чаще) бесславно уходит в историю криптографии.
Характерным признаком блочных алгоритмов является многократное и косвенное использование материала ключа.
Это диктуется в первую очередь требованием невозможности обратного декодирования в отношении ключа при известных исходном и зашифрованном текстах. Для решения этой задачи в приведенных выше преобразованиях чаще всего используется не само значение ключа или его части, а некоторая, иногда необратимая (небиективная) функция от материала ключа. Более того, в подобных преобразованиях один и тот же блок или элемент ключа используется многократно. Это позволяет при выполнении условия обратимости функции относительно величины X сделать функцию необратимой относительно ключа Key.
Поскольку операция зашифровки или расшифровки отдельного блока в процессе кодирования пакета информации выполняется многократно (иногда до сотен тысяч раз), а значение ключа и, следовательно, функций Vi(Key) остается неизменным, то иногда становится целесообразно заранее однократно вычислить данные значения и хранить их в оперативной памяти совместно с ключом. Поскольку эти значения зависят только от ключа, то оин в криптографии называются материалом ключа. Необходимо отметить, что данная операция никоим образом не изменяет ни длину ключа, ни криптостойкость алгоритма в целом. Здесь происходит лишь оптимизация скорости вычислений путем кеширования (англ. caching) промежуточных результатов. Описанные действия встречаются практически во многих блочных криптоалгоритмах и носят название расширение ключа (англ. key scheduling)
Общие сведения о конкурсе AES
В 80-х годах в США был принят стандарт симметричного криптоалгоритма для внутреннего применения DES (Data Encryption Standard), который получил достаточно широкое распространение в свое время. Однако на текущий момент этот стандарт полностью неприемлем для использования по двум причинам : 1) основной ? длина его ключа составляет 56 бит, что чрезвычайно мало на современном этапе развития ЭВМ, 2) второстепенной ? при разработке алгоритм был ориентирован на аппаратную реализацию, то есть содержал операции, выполняемые на микропроцессорах за неприемлимо большое время (например, такие как перестановка бит внутри машинного слова по определенной схеме).Все это сподвигло Американский институт стандартизации NIST ? National Institute of Standards & Technology на объявление в 1997 году конкурса на новый стандарт симметричного криптоалгоритма. На сей раз уже были учтены основные промахи шифра-предшественника, а к разработке были подключены самые крупные центры по криптологии со всего мира. Тем самым, победитель этого соревнования, названного AES ? Advanced Encryption Standard, станет де-факто мировым криптостандартом на ближайшие 10-20 лет.
Требования, предъявленные к кандидитам на AES в 1998 году, были предельно просты :
Дополнительно кандидатам рекомендовалось:
На первом этапе в оргкомитет соревнования поступило 15 заявок из совершенно разных уголков мира. В течение 2 лет специалисты комитета, исследуя самостоятельно, и изучая публикации других исследователей, выбрали 5 лучших представителей, прошедших в "финал" соревнования.
| MARS | IBM | US | 8 Мбайт/с |
| RC6 | R.Rivest & Co | US | 12 Мбайт/с |
| Rijndael | V.Rijmen & J.Daemen | BE | 7 Мбайт/с |
| Serpent | Universities | IS, UK, NO | 2 Мбайт/с |
| TwoFish | B.Schneier & Co | US | 11 Мбайт/с |
2 октября 2000 года NIST объявил о своем выборе ? победителем конкурса стал бельгийский алгоритм RIJNDAEL. С этого момента с алгоритма-победителя сняты все патентные ограничения ? его можно будет использовать в любой криптопрограмме без отчисления каких-либо средств создателю.
Ниже мы рассмотрим основные (рабочие) части алгоритмов победителей первого этапа. Объем лекции не позволяет привести для каждого алгоритма методы создания S-box'ов (таблиц для табличных подстановок) и методы расширения материала ключа. Полное описание всех 15 алгоритмов претендентов на AES, включая исследования по их криптостойкости можно найти на сервере института NIST, указанном выше.
Общие сведения об асимметричных криптоалгоритмах
Симметричные криптосистемы, рассмотренные нами в предыдущих главах, несмотря на множество преимуществ, обладают одним серьезным недостатком, о котором Вы, наверное, еще не задумывались. Связан он с ситуацией, когда общение между собой производят не три-четыре человека, а сотни и тысячи людей. В этом случае для каждой пары, переписывающейся между собой, необходимо создавать свой секретный симметричный ключ. Это в итоге приводит к существованию в системе из N пользователей N2/2 ключей. А это уже очень "приличное" число. Кроме того, при нарушении конфиденциальности какой-либо рабочей станции злоумышленник получает доступ ко всем ключам этого пользователя и может отправлять, якобы от его имени, сообщения всем абонентам, с которыми "жертва" вела переписку.Своебразным решением этой проблемы явилось появление асимметричной криптографии. Эта область криптографии очень молода по сравнению с другими представителями. Первая схема, имевшая прикладную значимость, была предложена всего около 20 лет назад. Но за это время асимметричная криптография превратилась в одно из основных направлений криптологии, и используется в современном мире также часто, как и симметричные схемы.
Асимметричная криптография изначально задумана как средство передачи сообщений от одного объекта к другому (а не для конфиденциального хранения информации, которое обеспечивают только симметричные алгоритмы). Поэтому дальнейшее объяснение мы будем вести в терминах "отправитель" ? лицо, шифруюшее, а затем отпраляющее информацию по незащищенному каналу и "получатель" ? лицо, принимающее и восстанавливающее информацию в ее исходном виде. Основная идея асимметричных криптоалгоритмов состоит в том, что для шифрования сообщения используется один ключ, а при дешифровании ? другой.
Кроме того, процедура шифрования выбрана так, что она необратима даже по известному ключу шифрования ? это второе необходимое условие асимметричной криптографии. То есть, зная ключ шифрования и зашифрованный текст, невозможно восстановить исходное сообщение ? прочесть его можно только с помощью второго ключа ? ключа дешифрования.
А раз так, то ключ шифрования для отправки писем какому-либо лицу можно вообще не скрывать ? зная его все равно невозможно прочесть зашифрованное сообщение. Поэтому, ключ шифрования называют в асимметричных системах "открытым ключом", а вот ключ дешифрования получателю сообщений необходимо держать в секрете ? он называется "закрытым ключом". Напрашивается вопрос : "Почему, зная открытый ключ, нельзя вычислить закрытый ключ ?" ? это третье необходимое условие асимметричной криптографии ? алгоритмы шифрования и дешифрования создаются так, чтобы зная открытый ключ, невозможно вычислить закрытый ключ.
В целом система переписки при использовании асимметричного шифрования выглядит следующим образом. Для каждого из N абонентов, ведущих переписку, выбрана своя пара ключей : "открытый" Ej и "закрытый" Dj, где j ? номер абонента. Все открытые ключи известны всем пользователям сети, каждый закрытый ключ, наоборот, хранится только у того абонента, которому он принадлежит. Если абонент, скажем под номером 7, собирается передать информацию абоненту под номером 9, он шифрует данные ключом шифрования E9 и отправляет ее абоненту 9. Несмотря на то, что все пользователи сети знают ключ E9 и, возможно, имеют доступ к каналу, по которому идет зашифрованное послание, они не могут прочесть исходный текст, так как процедура шифрования необратима по открытому ключу. И только абонент №9, получив послание, производит над ним преобразование с помощью известного только ему ключа D9 и восстанавливает текст послания. Заметьте, что если сообщение нужно отправить в противоположном направлении (от абонента 9 к абоненту 7), то нужно будет использовать уже другую пару ключей (для шифрования ключ E7, а для дешифрования ? ключ D7).
Как мы видим, во-первых, в асимметричных системах количество существующих ключей связано с количеством абонентов линейно (в системе из N пользователей используются 2*N ключей), а не квадратично, как в симметричных системах.Во-вторых, при нарушении конфиденциальности k-ой рабочей станции злоумышленник узнает только ключ Dk : это позволяет ему читать все сообщения, приходящие абоненту k, но не позволяет вывадавать себя за него при отправке писем. Кроме этого, асимметричные криптосистемы обладают еще несколькими очень интересными возможностями, которые мы рассмотрим через несколько разделов.
Обзор методик рандомизации сообщений
Следующим усовершенствованием, направленным на повышение стойкости всей системы в целом является создание ключей сеанса. Эта операция необходима в тех случаях, когда производится частое шифрование сходных блоков данных одним и тем же ключом. Например, это имеет место при передаче информации или команд в автоматизированных системах управления, в банковских операциях и многих других случаях передачи информации, имеющей определенный заранее известный формат.В этом случае необходимо введение какой-либо случайной величины в процесс шифрования. Это можно сделать несколькими способами:
Все схемы принципиально не имеют очевидных недостатков, но из-за большей проработанности последнего метода обычно применяется именно он.
Обзор наиболее распространенных методов "взлома"
Злоумышленники исключительно тщательно изучают системы безопасности перед проникновением в нее. Очень часто они находят очевидные и очень простые методы "взлома" системы, которые создатели просто "проглядели", создавая возможно очень хорошую систему идентификации или шифрования.
Терминалы ? это точки входа пользователя в информационную сеть. В том случае, когда к ним имеют доступ несколько человек или вообще любой желающий, при их проектировании и эксплуатации необходимо тщательное соблюдение целого комплекса мер безопасности.
Дальнейшие действия взломшика, получившего доступ к терминальной точке входа, могут развиваться по двум основным направлениям:
а) попытки выяснения пароля прямо или косвенно;
б) попытки входа в систему совершенно без знания пароля, основываясь на ошибках в реализации программного или аппаратного обеспечения.
Иногда злоумышленники вступают и в прямой контакт с лицами, обладающими нужной им информацией, разыгрывая довольно убедительные сцены. "Жертва" обмана, поверившая в реальность рассказанной ей по телефону или в электронном письме ситуации, сама сообщает пароль злоумышленнику.
Обзор современного ПО
Операционные системы являются основной частью программного комплекса ЭВМ и при этом выполняют огромный набор промежуточных операций между прикладными программами и аппаратным обеспечением. Естественно, что ошибки в них интересуют злоумышленников более всего.
Основной проблемой прикладного ПО является разработка его фирмами, которые просто не в состоянии выделить ассигнования на тщательную проверку своего продукта. Средний класс прикладного программного обеспечения является наиболее вероятным месторасположением ошибок в системе безопасности, так как он с одной стороны уже достаточно сложен, чтобы в нем появились эти ошибки, и с другой стороны производится недостаточно развившимися фирмами, чтобы проходить полноценное тестирование по вопросам безопасности.
Операционные системы
Операционная система является важнейшим программным компонентом любой вычислительной машины, поэтому от уровня реализации политики безопасности в каждой конкретной ОС во многом зависит и общая безопасность информационной системы. В данном параграфе будет приведен краткий обзор основных современных операционных систем. В первую очередь нас будут интересовать безопасное разделение оперативной памяти и файлов между процессами и пользователями и устойчивость ОС к сетевым атакам.Операционная система MS-DOS является ОС реального режима микропроцессора Intel, а потому здесь не может идти речи о разделении оперативной памяти между процессами. Все резидентные программы и основная программа используют общее пространство ОЗУ. Защита файлов отсутствует, о сетевой безопасности трудно сказать что-либо определенное, поскольку на том этапе развития ПО драйверы для сетевого взаимодействия разрабатывались не фирмой MicroSoft, а сторонними разработчиками.
Семейство операционных систем Windows 95, 98, Millenium ? это клоны, изначально ориентированные на работу в домашних ЭВМ. Эти операционные системы используют уровни привилегий защищенного режима, но не делают никаких дополнительных проверок и не поддерживают системы дескрипторов безопасности. В результате этого любое приложение может получить доступ ко всему объему доступной оперативной памяти как с правами чтения, так и с правами записи. Меры сетевой безопасности присутствуют, однако, их реализация не на высоте. Более того, в версии Windows 95 была допущена основательная ошибка, позволяющая удаленно буквально за несколько пакетов приводить к "зависанию" ЭВМ, что также значительно подорвало репутацию ОС, в последующих версиях было сделано много шагов по улучшению сетевой безопасности этого клона.
Поколение операционных систем Windows NT, 2000 уже значительно более надежная разработка компании MicroSoft. Они явялются действительно многопользовательскими системами, надежно защищающими файлы различных пользователей на жестком диске (правда, шифрование данных все же не производится и файлы можно без проблем прочитать, загрузившись с диска другой операционной системы ? например, MS-DOS).
Данные ОС активно используют возможности защищенного режима процессоров Intel, и могут надежно защитить данные и код процесса от других программ, если только он сам не захочет предоставлять к ним дополнительного доступа извне процесса.
За долгое время разработки было учтено множество различных сетевых атак и ошибок в системе безопасности. Исправления к ним выходили в виде блоков обновлений (англ. service pack). На сегодняшний день для Windows NT 4.0 самым последним является обновление "Service Pack 6", естественно все исправления, включенные в него были учтены и при разработке Windows 2000. Таким образом две эти операционные системы имеют примерно равную (и очень высокую) систему безопасности.
Другая ветвь клонов растет от операционной системы UNIX. Эта ОС изначально разрабатывалась как сетевая и многопользовательская, а потому сразу же содержала в себе средства информационной безопасности. Практически все широко распространенные клоны UNIX прошли долгий путь разработки и по мере модификации учли все открытые за это время способы атак. Достаточно себя зарекомендовали : LINUX (S.U.S.E.), OpenBSD, FreeBSD, Sun Solaris. Естественно все сказанное относится к последним версиям этих операционных систем. Основные ошибки в этих системах относятся уже не к ядру, которое работает безукоризненно, а к системным и прикладным утилитам. Наличие ошибок в них часто приводит к потере всего запаса прочности системы.
Ошибки, приводящие к возможности атак на информацию
Двумя основными классами ошибок при разработке программного обеспечения, приводящими к потенциальной возможности проведения атак на информацию, являются интерференция данных и нарушение неявных ограничений.Интерференция (то есть непредусмотренное взаимодействие) данных между собой и данных с кодом является менее распространеным, но более опасным синдромом, чем описываемая ниже проблема ограничений по умолчанию. Практически единственным способом вызвать наслоение данных друг на друга либо данных на код программы является попытка дойти при операции записи до границы области памяти, отведенной под данный блок информации, и преодолеть ее ? то есть умышленное переполнение буфера. Естественно, что это возможно только в тех ситуациях, когда программный код не производит проверки длины записываемого значения.
Для целых и дробных чисел, значений времени и тому подобных типов данных запись производится всегда в фиксированном объеме (2 байта, 4 байта, 10 байт). А вот для строк и массивов данных проверки длины перед операциями записи необходимы. Для того, чтобы заставить ЭВМ выполнить код или записать данные туда, куда у него нет прав записи, злоумышленник специально заставляет систему обрабатывать строки очень большой длины, либо помещать в массив количество элементов большее, чем его объем. В случае успеха возможно либо попадание части строки в сегмент кода или стека с последующим исполнением, либо модификация каких-либо служебных данных, что позволит затем злоумышленнику войти в систему в обход системы защиты. Естественно, что содержимое конца строки (оказывающееся после переполнения буфера в ненадлежащей области памяти) подбирается специальным образом. Сами данные или строки можуг быть абсолютно бессмысленными.
Проблема ограничений, которые разработчик программы считает само собо разумеющимися, но которые на самом деле могут не выполняться, встречается гораздо чаще, но реже приводит к каким-либо серьезным последствиям. Чаще всего результатом обработки подобных данных становится прерывание работы программы с сообщением об ошибке или просто "зависание". То есть данный класс атак используется с целью проведения атаки "отказ в сервисе".
Спектр возможных ограничений, не продуманных на этапе разработке ПО, чрезвычайно широк. Это могут быть и отрицательное время или сумма платежа, и текстовое значение на месте ожидаемого числа, и строки, созданные целиком из управляющих символов, и, конечно же, пустые строки. Все это приводит к одному из главных правил разработки ПО : тщательно и полностью проверяйте те входные данные программы, которые поступают в нее от человека, либо передаются по каналу связи, незащищенному от модификации.
Основные положения по разработке ПО
Общие рекомендации по написанию устойчиво работающих алгоритмов (необходимое, но не достаточное условие их информационной безопасности):ПО и информационная безопасность
Современное программное обеспечение, даже выпускаемое гигантами индустрии ПО, грешит появляющимися и исчезающими от версии к версии ошибками и непредусмотренными возможностями, которые злоумышленники используют в своих целях.
Двумя основными категориями ошибок в разработке программного обеспечения являются 1) непрогнозированное взаимодействие смежных программ, процессов, процедур и т.п. и 2) невыполнение набора соглашений, которые разработчик ПО считал "само собой разумеющимися".
Приведены обобщенные за два десятка лет тысячами программистов рекомендации по написанию приложений, в которых вероятность появления ошибок, как общих так и относящихся к информационной безопасности, стремится к нулю.
Победитель AES ? шифр Rijndael
Данный алгоритм разработан двумя специалистами по криптографии из Бельгии. Он является нетрадиционным блочным шифром, поскольку не использует сеть Фейштеля для криптопреобразований. Алгоритм представляет каждый блок кодируемых данных в виде двумерного массива байт размером 4х4, 4х6 или 4х8 в зависимости от установленной длины блока. Далее на соответствующих этапах преобразования производятся либо над независимыми столбцами, либо над независимыми строками, либо вообще над отдельными байтами в таблице. Все преобразования в шифре имеют строгое математическое обоснование. Сама структура и последовательность операций позволяют выполнять данный алгоритм эффективно как на 8-битных так и на 32-битных процессорах. В структуре алгоритма заложена возможность параллельного исполнения некоторых операций, что на многопроцессорных рабочих станциях может еще поднять скорость шифрования в 4 раза. Алгоритм состоит из некоторого количества раундов (от 10 до 14 ? это зависит от размера блока и длины ключа), в которых последовательно выполняются следующие операции :
Рис.1.

Рис.2.

Рис.3.

Рис.4.
В последнем раунде операция перемешивания столбцов отсутствует, что делает всю последовательность операций симметричной.
Политика ролей
Функции каждого человека, так или иначе связанного с конфиденциальной информацией на предприятии, можно классифицировать и в некотором приближении формализовать. Подобное общее описание функций оператора носит название роли. В зависимости от размеров предприятия некоторые из перечисленных ниже ролей могут отсутствовать вообще, а некоторые могут совмещаться одним и тем же физическим лицом.Специалист по информационной безопасности играет основную роль в разработке и поддержании политики безопасности предприятия. Он проводит расчет и перерасчет рисков, отвественен за поиск самой свежей информации об обнаруженных уязвимостях в используемом в фирме программном обеспечении и в целом в стандартных алгоритмах.
Владелец информации ? лицо, непосредственно работающее с данной информацией, (не нужно путать с оператором). Зачастую только он в состоянии реально оценить класс обрабатываемой информации, а иногда и рассказать о нестандартных методах атак на нее (узкоспецифичных для этого вида данных). Владелец информации не должен участвовать в аудите системы безопасности.
Поставщик аппаратного и программного обеспечения. Обычно стороннее лицо, которое несет ответственность перед фирмой за поддержание должного уровня информационной безопасности в поставляемых им продуктов.
Разработчик системы и/или программного обеспечения играет основную роль в уровне безопасности разрабатываемой системы. На этапах планирования и разработки должен активно взаимодействовать со специалистами по информационной безопасности.
Линейный менеджер или менеджер отдела является промежуточным звеном между операторами и специалистами по информационной безопасности. Его задача ? своевременно и качественно инструктировать подчиненный ему персонал обо всех требованиях службы безопасности и следить за ее их выполнением на рабочих местах. Линейные менеджеры должны быть осведомлены о всей политике безопасности предприятия, но доводить до сведения подчиненных только те ее аспекты, которые непосредственно их касаются.
Операторы ? лица, отвественные только за свои поступки. Они не принимают никаких решений и ни за кем не наблюдают. Они должны быть осведомлены о классе конфиденциальности информации, с которой они работают, и о том, какой ущерб будет нанесен фирмы при ее раскрытии.
Аудиторы ? внешние специалисты или фирмы, нанимаемые предприятием для периодической (довольно редкой) проверки организации и функционирования всей системы безопасности.
Получение пароля на основе ошибок в реализации
Следующей по частоте использования является методика получения паролей из самой системы. Однако, здесь уже нет возможности дать какие-либо общие рекомендации, поскольку все методы атаки зависят только от программной и аппаратной реализации конкретной системы. Основными двумя возможностями выяснения пароля являются несанкционированный доступ к носителю, содержащему их, либо использование недокументированных возможностей и ошибок в реализации системы.Первая группа методов основана на том, что любой системе приходится где-либо хранить подлинники паролей всех клиентов для того, чтобы сверять их в момент регистрации. При этом пароли могут храниться как в открытом текстовом виде, как это имеет место во многих клонах UNIX, так и представленные в виде малозначащих контрольных сумм (хеш-значений), как это реализовано в ОС Windows, Novell NetWare и многих других. Проблема в том, что в данном случае для хранения паролей на носителе не может быть использована основная методика защиты ? шифрование. Действительно, если все пароли зашифрованы каким-либо ключом, то этот ключ тоже должен храниться в самой системе для того, чтобы она работала автоматически, не спрашивая каждый раз у администратора разрешение "Пускать или не пускать пользователя Anton, Larisa, Victor и т.д.?". Поэтому, получив доступ к подобной информации, злоумышленник может либо восстановить пароль в читабельном виде (что бывает довольно редко), либо отправлять запросы, подтвержденные данным хеш-значением, не раскодируя его. Все рекомендации по предотвращению хищений паролей состоят в проверке не доступен ли файл с паролями, либо таблица в базе данных, хранящая эти пароли, кому-либо еще кроме администраторов системы, не создается ли системой резервных файлов, в местах доступных другим пользователям и т.п. . В принципе, поскольку кража паролей является самым грубым вторжением в систему, разработчики уделяют ей довольно пристальное внимание, и соблюдения всех рекомендаций по использованию системы обычно достаточно для предотвращения подобных ситуаций.
Получение доступа к паролям благодаря недокументированным возможностям систем встречается в настоящее время крайне редко. Ранее эта методика использовалась разработчиками намного чаще в основном в целях отладки, либо для экстренного восстановления работоспособности системы. Но постепенно с развитием как технологий обратной компиляции, так и информационной связанности мира она постепенно стала исчезать. Любые недокументированные возможности рано или поздно становятся известными, после чего новость об этом с головокружительной быстротой облетает мир и разработчикам приходится рассылать всем пользователям скомпрометированной системы "программные заплатки" либо новые версии программного продукта. Единственной мерой профилактики данного метода является постоянный поиск на серверах, посвященных компьютерной безопасности, объявлений обо всех неприятностях с программным обеспечением, установленным в Вашем учреждении. Для разработчиков же необходимо помнить, что любая подобная встроенная возможность может на порядок снизить общую безопасность системы, как бы хорошо она не была завуалирована в коде программного продукта.
Следующей распространенной технологией получения паролей является копирование буфера клавиатуры в момент набора пароля на терминале. Этот метод используется редко, так для него необходим доступ к терминальной машине с возможностью запуска программ. Но если злоумышленник все-таки получает подобный доступ, действенность данного метода очень высока:
Двумя основными методами борьбы с копированием паролей являются:
а) отключение сменных носителей информации (гибких дисков),
б) специальные драйвера, блокирующие запуск исполнимых файлов без ведома оператора, либо администратора,
в) мониторы, уведомляющие о любых изменениях системных настроек и списка автоматически запускаемых программ,
Сканирование современными антивирусными программами также может помочь в обнаружении "троянских" программ, но только тех из них, которые получили широкое распространение по стране. А следовательно, программы, написанные злоумышленниками специально для атаки на Вашу систему, будут пропущены антивирусными программами без каких-либо сигналов.
Следующий метод получения паролей относится только к сетевому программному обеспечению. Проблема заключается в том, что во многих программах не учитывается возможность перехвата любой информации, идущей по сети ? так называемого сетевого трафика. Первоначально, с внедрением локальных компьютерных сетей так оно и было. Сеть располагалась в пределах 2-3 кабинетов, либо здания с ограниченным физическим доступом к кабелям. Однако, стремительное развитие глобальных сетей затребовало на общий рынок те же версии программного обеспечения без какого-либо промедления для усиления безопасности. Теперь мы пожинаем плоды этой тенденции. Более половины протоколов сети Интернет передают пароли в нешифрованном виде ? открытым текстом. К ним относятся протоколы передачи электронной почты SMTP и POP3, протокол передачи файлов FTP, одна из схем авторизации на WWW-серверах.
Современное аппаратное и программное обеспечение позволяет получать всю информацию, проходящую по сегменту сети, к которому подключен конкретный компьютер, и анализировать ее в реальном масштабе времени. Возможны несколько вариантов прослушивания трафика: 1) это может сделать служащий компании со своего рабочего компьютера, 2) злоумышленник, подключившийся к сегменту с помощью портативной ЭВМ или более мобильного устройства.
Наконец, трафик, идущий от Вас к Вашему партнеру или в другой офис по сети Интернет, технически может прослушиваться со стороны Вашего непосредственного провайдера, со стороны любой организации, предоставляющей транспортные услуги для сети Интернет (переписка внутри страны в среднем идет через 3-4 компании, за пределы страны ? через 5-8). Кроме того, если в должной мере будет реализовываться план СОРМ (система оперативно-розыскных мероприятий в компьютерных сетях), то возможно прослушивание и со стороны силовых ведомств страны.
Для комплексной защиты от подобной возможности кражи паролей необходимо выполнять следующие меры:
Получение пароля на основе ошибок администратора и пользователей
Перебор паролей по словарю являлся некоторое время одной из самых распространенных техник подбора паролей. В настоящее время, как хоть самый малый результат пропаганды информационной безопасности, он стал сдавать свои позиции. Хотя развитие быстродействия вычислительной техники и все более сложные алгоритмы составления слов-паролей не дают "погибнуть" этому методу. Технология перебора паролей родилась в то время, когда самым сложным паролем было скажем слово "brilliant", а в русифицированных ЭВМ оно же, но для "хитрости" набранное в латинском режиме, но глядя на русские буквы (эта тактика к сожалению до сих пор чрезвычайно распространена, хотя и увеличивает информационную насыщенность пароля всего на 1 бит). В то время простенькая программа со словарем в 5000 существительных давала положительный результат в 60% случаев. Огромное число инцидентов со взломами систем заставило пользователей добавлять к словам 1-2 цифры с конца, записывать первую и/или последнюю букву в верхнем регистре, но это увеличило время на перебор вариантов с учетом роста быстродействия ЭВМ всего в несколько раз. Так в 1998 году было официально заявлено, что даже составление двух совершенно не связанных осмысленных слов подряд, не дает сколь либо реальной надежности паролю. К этому же времени получили широкое распространение языки составления паролей, записывающие в абстрактной форме основные принципы составления паролей среднестатистическими пользователями ЭВМ.Следующей модификацией подбора паролей является проверка паролей, устанавливаемых в системах по умолчанию. В некоторых случаях администратор программного обеспечения, проинсталлировав или получив новый продукт от разработчика, не удосуживается проверить, из чего состоит система безопасности. Как следствие, пароль, установленный в фирме разработчике по умолчанию, остается основным паролем в системе. В сети Интернет можно найти огромные списки паролей по умолчанию практически ко всем версиям программного обеспечения, если они устанавливаются на нем производителем.
Основные требования к информационной безопасности, основанные на анализе данного метода, следующие:
Прикладные программы
Ошибки в прикладном программном обеспечении были и остаются основным путем проникновения злоумышленника как на сервера, так и на рабочие станции. Объективная причина этого ? разработка подобного ПО различными группами разработчиков, которые просто не в состоянии уделить должного внимания сетевой и локальной безопасности своего продукта. И если фирмы-разработчики операционных систем тратят огромные суммы на тщательные испытания поведения их программ в нестандартных ситуациях, а также активно учитывают многолетний опыт своих же ошибок, то для небольших фирм это просто не под силу, да и крайне невыгодно экономически.Ошибки активно ищутся группами "хакеров" практически во всем более или менее распространенном ПО, однако, наибольшую известность приобретают, конечно, исследования программ, установленных почти у каждого пользователя. Так, например, в одной из недавних версий MicroSoft Internet Explorer'а была обнаружена ошибка, связанная с переполнением буфера, которая приводила к тому, что часть URL-адреса попадала на "исполнение" и трактовалась как последовательность команд процессора. При этом длины этого участка хватало, например, для того, чтобы загрузить на ЭВМ из сети троянскую программу и передать ей управление. В последующей версии ошибка была исправлена. Программа ICQ ? самый популярный электронный пейджер в сети Интернет ? в очередной своей версии была снабжена своими создателями возможностью поддерживать миниатюрный WWW-сервер. Однако, ошибка в его реализации позволяла при добавлении слева точек в имени первого каталога получать доступ ко всем файлам жесткого диска ? открывался полный (!) сетевой доступ по чтению.
Многие атаки используют не только непосредственные ошибки в реализации ПО, но и непродуманные разработчиками аспекты использования стандартных возможностей программы. Так, пожалуй, самым ярким примером этого являются MACRO-вирусы в документах системы MicroSoft Office. Возможность исполнения макросов была встроена в эту систему из самых благих побуждений, но тот факт, что макросы могут запускаться на определенные события (например, открытие документа) и получать доступ на модификацию к другим документам, сразу же был использован создателями вирусов отнюдь не в благих целях.
К подобным же примерам следует отнести возможность запуска исполнимых DLL-файлов из HLP-файлов. Казалось бы, открывается безобидный текстовый файл справки, а оказывается он может честно инициировать вызов из прилагающейся DLL-библиотеки да еще и безо всякого уведомления об этом пользователя.
Моралью этого параграфа является правило "семь раз отмерь ? один отрежь" на этапе разработки собственного программного обеспечения.
Рабочие станции
Основной целью атаки рабочей станции является, конечно, получение данных, обрабатываемых, либо локально хранимых на ней. А основным средством подобных атак до сих пор остаются "троянские" программы. Эти программы по своей структуре ничем не отличаются от компьютерных вирусов, однако при попадании на ЭВМ стараются вести себя как можно незаметнее. При этом они позволяют любому постороннему лицу, знающему протокол работы с данной троянской программой, производить удаленно с ЭВМ любые действия. То есть основной целью работы подобных программ является разрушение системы сетевой защиты станции изнутри ? пробивание в ней огромной бреши.Для борьбы с троянскими программами используется как обычное антивирусное ПО, так и несколько специфичных методов, ориентированных исключительно на них. В отношении первого метода как и с компьютерными вирусами необходимо помнить, что антивирусное ПО обнаруживает огромное количество вирусов, но только таких, которые широко разошлись по стране и имели многочисленные преценденты заражения. В тех же случаях, когда вирус или троянская программа пишется с целью получения доступа именно к Вашей ЭВМ или корпоративной сети, то она практически с вероятностью 90% не будет обнаружена стандартным антивирусным ПО.
Те троянские программы, которые постоянно обеспечивают доступ к зараженной ЭВМ, а, следовательно, держат на ней открытый порт какого-либо транспортного протокола, можно обнаруживать с помощью утилит контроля за сетевыми портами. Например, для операционных систем клона Microsoft Windows такой утилитой является программа NetStat. Запуск ее с ключом "netstat -a" выведет на экран все активные порты ЭВМ. От оператора в этом случае требуется знать порты стандартных сервисов, которые постоянно открыты на ЭВМ, и тогда, любая новая запись на мониторе должна привлечь его внимание. На сегодняшний день существует уже несколько программных продуктов, производящих подобный контроль автоматически.
В отношении троянских программ, которые не держат постоянно открытых транспортных портов, а просто методически пересылают на сервер злоумышленника какую-либо информацию (например, файлы паролей или полную копию текста, набираемого с клавиатуры), возможен только сетевой мониторинг. Это достаточно сложная задача, требующая либо участия квалифицированного сотрудника, либо громоздкой системы принятия решений.
Поэтому наиболее простой путь, надежно защищающий как от компьютерных вирусов, так и от троянских программ ? это установка на каждой рабочей станции программ контроля за изменениями в системных файлах и служебных областях данных (реестре, загрузочных областях дисков и т.п.) ? так называемых адвизоров (англ. adviser ? уведомитель).
Сервера
Основными компонентами любой информационной сети являются сервера и рабочие станции. Сервера предоставляют информационные или вычислительные ресурсы, на рабочих станциях работает персонал. В принципе любая ЭВМ в сети может быть одновременно и сервером и рабочей станцией ? в этом случае к ней применимы описания атак, посвященные и серверам и рабочим станциям.Основными задачами серверов являются хранение и предоставление доступа к информации и некоторые виды сервисов. Следовательно, и все возможные цели злоумышленников можно классифицировать как
Попытки получения доступа к информации, находящейся на сервере, в принципе ничем не отличаются от подобных попыток для рабочих станций, и мы расмотрим их позднее. Проблема получения несанкционированного доступа к услугам принимает чрезвычайно разнообразные формы и основывается в основном на ошибках или недокументированных возможностях самого программного обеспечения, предоставляющего подобные услуги.
А вот проблема вывода из строя (нарушения нормального функционирования) сервисов довольно актуальна в современном компьютерном мире. Класс подобных атак получил название атака "отказ в сервисе" (англ. deny of service ? DoS ). Атака "отказ в сервисе" может быть реализована на целом диапазоне уровней модели OSI : физическом, канальном, сетевом, сеансовом. Детально схемы реализации данной атаки мы рассмотрим в параграфе, посвященном модели OSI.
Изменение информации или услуг как часть более крупномасштабной атаки является также очень важной проблемой в защите серверов. Если на сервере хранятся пароли пользователей или какие-либо данные, которые могут позволить злоумышленнику, изменив их, войти в систему (например, сертификаты ключей), то естественно, сама атака на систему начнется с атаки на подобный сервер.
В качестве серверов услуг, наиболее часто подвергающимся модификации, следует назвать DNS-сервера.
DNS-служба (англ. Domain Name System ? служба доменных имен) в сетях Intra- и Inter- Net отвечает за сопоставление "произносимых" и легко запоминаемых доменных имен (например, www.intel.com или mail.metacom.ru) к их IP-адресам (например, 165.140.12.200 или 194.186.106.26). Пакеты между станциями всегда передаются только на основании IP-адресов (маршрутизаторы ориентируются только на их значения при выборе направления отправки пакета ? доменное имя вообще не включается в отправляемый пакет), а служба DNS была создана в основном для удобства пользователей сети. Как следствие и во многих сетевых программах имя удаленного компьютера для большей гибкости или для удобства операторов заносится не в виде 4-байтного IP-адреса, а в виде доменного имени. Да, действительно, два указанных преимущества будут достигнуты в этом случае, а вот безопасность пострадает.
Дело в том, что, если злоумышленнику удастся заполучить права доступа к DNS-серверу, обслуживающему данный участок сети, то он вполне может изменить программу DNS-сервиса. Обычно изменение делается таким образом, чтобы по некоторым видам запросов вместо правильного IP-адреса клиенту выдавался IP-адрес какой-либо вспомогательной машины злоумышленника, а все остальные запросы обрабатывались корректно. Это дает возможность изменять путь прохождения трафика, который возможно содержит конфиденциальную информацию, и делать так, что весь поток информации, который в нормальном режиме прошел бы вне досягаемости от прослушивания, теперь поступал сначала прямо в руки злоумышленника (а затем его уже можно переправлять по настоящему IP-адресу второго абонента).
Сеть Фейштеля
Сеть Фейштеля является дальнейшей модификацией описанного выше метода смешивания текущей части шифруемого блока с результатом некоторой функции, вычисленной от другой независимой части того же блока. Эта методика получила широкое распространение, поскольку обеспечивает выполнение требования о многократном использовании ключа и материала исходного блока информации.Классическая сеть Фейштеля имеет следующую структуру:

Рис.1.
Независимые потоки информации, порожденные из исходного блока, называются ветвями сети. В классической схеме их две. Величины Vi именуются параметрами сети, обычно это функции от материала ключа. Функция F называется образующей. Действие, состоящее из однократного вычисления образующей функции и последующего наложения ее результата на другую ветвь с обменом их местами, называется циклом или раундом (англ. round) сети Фейштеля. Оптимальное число раундов K ? от 8 до 32. Важно то, что увеличение количества раундов значительно увеличивает криптоскойстость любого блочного шифра к криптоанализу. Возможно, эта особенность и повлияла на столь активное распространение сети Фейштеля ? ведь при обнаружении, скажем, какого-либо слабого места в алгоритме, почти всегда достаточно увеличить количество раундов на 4-8, не переписывая сам алгоритм. Часто количество раундов не фиксируется разработчиками алгоритма, а лишь указываются разумные пределы (обязательно нижний, и не всегда ? верхний) этого параметра.
Сразу же возникает вопрос, ? является ли данная схема обратимой ? Очевидно, да. Сеть Фейштеля обладает тем свойством, что даже если в качестве образующей функции F будет использовано необратимое преобразование, то и в этом случае вся цепочка будет восстановима. Это происходит вследствие того, что для обратного преобразования сети Фейштеля не нужно вычислять функцию F-1.
Более того, как нетрудно заметить, сеть Фейштеля симметрична. Использование операции XOR, обратимой своим же повтором, и инверсия последнего обмена ветвей делают возможным раскодирование блока той же сетью Фейштеля, но с инверсным порядком параметров Vi.
Заметим, что для обратимости сети Фейштеля не имеет значение является ли число раундов четным или нечетным числом. В большинстве реализаций схемы, в которых оба вышеперечисленные условия (операция XOR и уничтожение последнего обмена) сохранены, прямое и обратное преобразования производятся одной и той же процедурой, которой в качестве параметра передается вектор величин Vi
либо в исходном, либо в инверсном порядке.
С незначительными доработками сеть Фейштеля можно сделать и абсолютно симметричной, то есть выполняющей функции шифрования и дешифрования одним и тем же набором операций. Математическим языком это записывается как "Функция EnCrypt тождественно равна функции DeCrypt". Если мы рассмотрим граф состояний криптоалгоритма, на котором точками отмечены блоки входной и выходной информации, то при каком-то фиксированном ключе для классической сети Фейштеля мы будем иметь картину, изображенную на рис.2а, а во втором случае каждая пара точек получит уникальную связь, как изображено на рис. 2б. Модификация сети Фейштеля, обладающая подобными свойствами приведена на рисунке 3. Как видим, основная ее хитрость в повторном использовании данных ключа в обратном порядке во второй половине цикла. Необходимо заметить, однако, что именно из-за этой недостаточно исследованной специфики такой схемы (то есть потенциальной возможности ослабления зашифрованного текста обратными преобразованиями) ее используют в криптоалгоритмах с большой осторожностью.

Рис.2.

Рис.3.
А вот модификацию сети Фейштеля для большего числа ветвей применяют гораздо чаще. Это в первую очередь связано с тем, что при больших размерах кодируемых блоков (128 и более бит) становится неудобно работать с математическими функциями по модулю 64 и выше. Как известно, основные единицы информации обрабатываемые процессорами на сегодняшний день ? это байт и двойное машинное слово 32 бита. Поэтому все чаще и чаще в блочных криптоалгоритмах встречается сеть Фейштеля с 4-мя ветвями. Самый простой принцип ее модификации изображен на рисунке 4а.
Сетевая безопасность
Классификация сетевых атак по цели, выбираемой злоумышленником для атаки. Рассмотрены сервера, рабочие станции, среда передачи информации и узлы коммутации сетей.
Эталонная модель взаимодействия открытых систем OSI позволяет квалифицировать сетевые атаки по уровню атакуемого протокола.
Симметричные криптоалгоритмы
Скремблерами называются программные или аппаратные реализации алгоритма, позволяющего шифровать побитно непрерывные потоки информации. Сам скремблер представляет из себя набор бит, изменяющихся на каждом шаге по определенному алгоритму. После выполнения каждого очередного шага на его выходе появляется шифрующий бит ? либо 0, либо 1, который накладывается на текущий бит информационного потока операцией XOR.
Блочные шифры шифруют целые блоки информации (от 4 до 32 байт) как единое целое ? это значительно увеличивает стойкость преобразований к атаке полным перебором и позволяет использовать различные математические и алгоритмические преобразования.
Симметричные криптосистемы
Краткое описание того, для чего все же предназначены криптосистемы.
Алгоритмы создания цепочек призваны рандомизировать входной поток криптоалгоритма, а также обеспечивать кратность его размера длине блока криптоалгоритма.
Для того, чтобы одни и те же данные, передаваемые по сети многократно, шифровались каждый раз по-новому, необходимо внесение в процесс шифрования по специальным схемам какой-либо случайной информации.
Архивация (сжатие данных) ? есть процесс представления информации в ином виде (перекодирования) с потенциальным уменьшением объема, требуемого для ее хранения. Существует множество классов различных алгоритмов сжатия данных, каждый из которых ориентирован на свою область применения.
Для того, чтобы не заставлять человека запоминать ключ ? длинную последовательность цифр, были разработаны методы преобразования строки символов любой длины (так называемого пароля) в блок байт заранее заданного размера (ключ). На алгоритмы, используемые в этих методах, накладываются требования, сравнимые с требованиями на сами криптоалгоритмы.
В некоторых системах передачи информации требуется, чтобы поток содержал только определенные символы ASCII кодировки. Однако, выходной поток криптоалгоритма имеет очень высокую рандомизацию и в нем встречаются с равной вероятностью все 256 символов. Для преодоления этой проблемы используется транспортное кодирование.
Схема объединения всех рассмотренных выше методов.
Скремблеры
В последнее время сфера применения скремблирующих алгоритмов значительно сократилась. Это объясняется в первую очередь снижением объемов побитной последовательной передачи информации, для защиты которой были разработаны данные алгоритмы. Практически повсеместно в современных системах применяются сети с коммутацией пакетов, для поддержания конфиденциальности которой используются блочные шифры. А их криптостойкость превосходит, и порой довольно значительно, криптостойкость скремблеров.Суть скремблирования заключается в побитном изменении проходящего через систему потока данных. Практически единственной операцией, используемой в скремблерах является XOR ? "побитное исключающее ИЛИ". Параллельно прохождению информационного потока в скремблере по определенному правилу генерируется поток бит ? кодирующий поток. Как прямое, так и обратное шифрование осуществляется наложением по XOR кодирующей последовательности на исходную.
Генерация кодирующей последовательности бит производится циклически из небольшого начального объема информации ? ключа по следующему алгоритму. Из текущего набора бит выбираются значения определенных разрядов и складываются по XOR между собой. Все разряды сдвигаются на 1 бит, а только что полученное значение ("0" или "1") помещается в освободившийся самый младший разряд. Значение, находившееся в самом старшем разряде до сдвига, добавляется в кодирующую последовательность, становясь очередным ее битом (см. рис.1).

Рис.1.
Из теории передачи данных криптография заимствовала для записи подобных схем двоичную систему записи. По ней изображенный на рисунке скремблер записывается комбинацией "100112" ? единицы соответствуют разрядам, с которых снимаются биты для формирования обратной связи.
Рассмотрим пример кодирования информационной последовательности 0101112 скремблером 1012 с начальным ключом 1102.
скремблер код.бит инф.бит рез-т 1 1 0 _ \ \ \_ 1 1 1 _ \_ \ \ \_ 0 XOR 0 = 0 0 1 1 _ \_ \ \ \_ 1 XOR 1 = 0 1 0 1 \_ \ \ 1 XOR 0 = 1 и т.д.
Как видим, устройство скремблера предельно просто. Его реализация возможна как на электронной, так и на электрической базе, что и обеспечило его широкое применение в полевых условиях. Более того, тот факт, что каждый бит выходной последовательности зависит только от одного входного бита, еще более упрочило положение скремблеров в защите потоковой передачи данных. Это связано с неизбежно возникающими в канале передаче помехами, которые могут исказить в этом случае только те биты, на которые они приходятся, а не связанную с ними группу байт, как это имеет место в блочных шифрах.
Декодирование заскремблированных последовательностей происходит по той же самой схеме, что и кодирование. Именно для этого в алгоритмах применяется результирующее кодирование по "исключающему ИЛИ" ? схема, однозначно восстановимая при раскодировании без каких-либо дополнительных вычислительных затрат. Произведем декодирование полученного фрагмента.
Как Вы можете догадаться, главная проблема шифров на основе скремблеров - синхронизация передающего (кодирующего) и принимающего (декодирующего) устройств. При пропуске или ошибочном вставлении хотя бы одного бита вся передаваемая информация необратимо теряется. Поэтому, в системах шифрования на основе скремблеров очень большое внимание уделяется методам синхронизации. На практике для этих целей обычно применяется комбинация двух методов: а) добавление в поток информации синхронизирующих битов, заранее известных приемной стороне, что позволяет ей при ненахождении такого бита активно начать поиск синхронизации с отправителем, и б) использование высокоточных генераторов временных импульсов, что позволяет в моменты потери синхронизации производить декодирование принимаемых битов информации "по памяти" без синхронизации.
Число бит, охваченных обратной связью, то есть разрядность устройства памяти для порождающих кодирующую последовательность бит называется разрядностью скремблера. Изображенный выше скремблер имеет разрядность 5.
В отношении параметров криптостойкости данная величина полностью идентична длине ключа блочных шифров, который будет проанализирован далее. На данном же этапе важно отметить, что чем больше разрядность скремблера, тем выше криптостойкость системы, основанной на его использовании.
При достаточно долгой работе скремблера неизбежно возникает его зацикливание. По выполнении определенного числа тактов в ячейках скремблера создастся комбинация бит, которая в нем уже однажды оказывалась, и с этого момента кодирующая последовательность начнет циклически повторяться с фиксированным периодом. Данная проблема неустранима по своей природе, так как в N разрядах скремблера не может пребывать более 2N
комбинаций бит, и, следовательно, максимум, через, 2N-1 циклов повтор комбинации обязательно произойдет. Комбинация "все нули" сразу же исключается из цепочки графа состояний скремблера ? она приводит скремблер к такому же положению "все нули". Это указывает еще и на то, что ключ "все нули" неприменим для скремблера. Каждый генерируемый при сдвиге бит зависит только от нескольких бит хранимой в данный момент скремблером комбинации. Поэтому после повторения некоторой ситуации, однажды уже встречавшейся в скремблере, все следующие за ней будут в точности повторять цепочку, уже прошедшую ранее в скремблере.
Возможны различные типы графов состояния скремблера. На рисунке 2 приведены примерные варианты для 3-разрядного скремблера. В случае "А" кроме всегда присутствующего цикла "000">>"000" мы видим еще два цикла ? с 3-мя состояниями и 4-мя. В случае "Б" мы видим цепочку, которая сходится к циклу из 3-х состояний и уже никогда оттуда не выходит. И наконец, в случае "В" все возможные состояния кроме нулевого, объединены в один замкнутый цикл. Очевидно, что именно в этом случае, когда все 2N-1 состояний системы образуют цикл, период повторения выходных комбинаций максимален, а корреляция между длиной цикла и начальным состоянием скремблера (ключом), которая привела бы к появлению более слабых ключей, отсутствует.

Рис.2.
И вот здесь математика преподнесла прикладной науке, каковой является криптография, очередной подарок. Следствием одной из теорем доказывается (в терминах применительно к скремблированию), что для скремблера любой разрядности N всегда существует такой выбор охватываемых обратной связью разрядов, что генерируемая ими последовательность бит будет иметь период, равный 2N-1 битам. Так, например, в 8-битном скремблере, при охвате 0-го, 1-го, 6-го и 7-го разрядов действительно за время генерации 255 бит последовательно проходят все числа от 1 до 255, не повторяясь ни разу.
Схемы с выбранными по данному закону обратными связями называются генераторами последовательностей наибольшей длины (ПНД), и именно они используются в скремблирующей аппаратуре. Из множества генераторов ПНД заданной разрядности во времена, когда они реализовывались на электрической или минимальной электронной базе выбирались те, у которых число разрядов, участвующих в создании очередного бита, было минимальным. Обычно генератора ПНД удавалось достичь за 3 или 4 связи. Сама же разрядность скремблеров превышала 30 бит, что давало возможность передавать до 240 бит = 100 Мбайт информации без опасения начала повторения кодирующей последовательности.
ПНД неразрывно связаны с математической теорией неприводимых полиномов. Оказывается, достаточно чтобы полином степени N не был представим по модулю 2 в виде произведения никаких других полиномов, для того, чтобы скремблер, построенный на его основе, создавал ПНД. Например, единственным неприводимым полиномом степени 3 является x3+x+1, в двоичном виде он записывается как 10112
(единицы соответствуют присутствующим разрядам). Скремблеры на основе неприводимых полиномов образуются отбрасыванием самого старшего разряда (он всегда присутствует, а следовательно, несет информацию только о степени полинома), так на основе указанного полинома, мы можем создать скремблер 0112
с периодом зацикливания 7(=23-1). Естественно, что на практике применяются полиномы значительно более высоких порядков.А таблицы неприводимых полиномов любых порядков можно всегда найти в специализированных математических справочниках.
Существенным недостатком скремблирующих алгоритмов является их нестойкость к фальсификации. Подробнее данная проблема рассмотрена на следующей лекции, применительно к созданию целых криптосистем.
Социальная психология и иные способы получения паролей
Краткий обзор еще нескольких довольно часто встречающихся методов.Звонок администратору ? злоумышленник выбирает из списка сотрудников того, кто не использовал пароль для входа в течение нескольких дней (отпуск, отгулы, командировка) и кого администратор не знает по голосу. Затем следует звонок с объяснением ситуации о забытом пароле, искренние извинения, просьба зачитать пароль, либо сменить его на новый. Больше чем в половине случаев просьба будет удовлетворена, а факт подмены будет замечен либо с первой неудачной попыткой зарегистрироваться истинного сотрудника, либо по произведенному злоумышленником ущербу.
Почти такая же схема, но в обратную сторону может быть разыграна злоумышленником в адрес сотрудника фирмы ? звонок от администратора. В этом случае он представляется уже сотрудником службы информационной безопасности и просит назвать пароль либо из-за произошедшего сбоя в базе данных, либо якобы для подтверждения личности самого сотрудника по какой-либо причине (рассылка особо важных новостей), либо по поводу последнего подключения сотрудника к какому-либо информационному серверу внутри фирмы. Фантазия в этом случае может придумывать самые правдоподобные причины, по которым сотруднику "просто необходимо" вслух назвать пароль. Самое неприятное в этой схеме то, что если причина запроса пароля придумана, что называется "с умом", то сотрудник повторно позвонит в службу информационной безопасности только через неделю, месяц, если вообще это произойдет. Кроме того, данная схема может быть проведена и без телефонного звонка ? по электронной почте, что неоднократно и исполнялось якобы от имени почтовых и Web-серверов в сети Интернет.
Оба данных метода относятся к группе "атака по социальной психологии" и могут принимать самые разные формы. Их профилактикой может быть только тщательное разъяснение всем сотрудникам, в особо важных случаях введение административных мер и особого регламента запроса и смены пароля.
Необходимо тщательно инструктировать сотрудников об опасности оставления рабочих станций, не закрытых паролем.
В первую очередь это, конечно, относится к терминалам, работающим в публичных местах и офисах с более низким уровнем доступа к информации, однако, и при работе в помещениях с равным уровнем доступа не рекомендуется давать возможность сотрудникам работать за другими ЭВМ тем более в отсутствие владельца. В качестве программных профилактических мер используются экранные заставки с паролем, появляющиеся через 5-10 минут отсутствия рабочей активности, автоматическое отключение сервером клиентачерез такой же промежуток времени. От сотрудников должны требоваться разрегистрация как на серверах, так и на рабочих станциях при выключении ЭВМ, либо закрытие их паролем при оставлении без присмотра.
Большое внимание следует уделять любым носителям информации, покидающим пределы фирмы. Наиболее частыми причинами этого бывают ремонт аппаратуры и списание технологически устаревшей техники. Необходимо помнить, что на рабочих поверхностях носителей даже в удаленных областях находится информация, которая может представлять либо непосредственный интерес, либо косвенно послужить причиной вторжения в систему. Так, например, при использовании виртуальной памяти часть содержимого ОЗУ записывается на жесткий диск, что теоретически может привезти даже к сохранению пароля на постоянном носителе (хотя это и маловероятно). Ремонт, производимый сторонними фирмами на месте, должен производится под контролем инженера из службы информационной безопасности. Необходимо помнить, что при нынешнем быстродействии ЭВМ копирование файлов производится со скоростью, превышающей мегабайт в секунду, а установить второй жесткий диск для копирования в момент ремонта без надзора специалиста можно практически незаметно. Все носители информации, покидающие фирму должны надежно чиститься либо уничтожаться механически (в зависимости от дальнейших целей их использования).
Немного слов о защищенности самих носителей информации. На сегодняшний день не существует разумных по критерию "цена/надежность" носителей информации, не доступных к взлому.
Строение файлов, их заголовки и расположение в любой операционной системе может быть прочитано при использовании соответствующего программного обеспечения. Практически невскрываемым может быть только энергонезависимый носитель, автоматически разрушающий информацию при попытке несанкционированного подключения к любым точкам, кроме разрешенных разъемов, желательно саморазрушающийся при разгерметизации, имеющий внутри микропроцессор, анализирующий пароль по схеме без открытой передачи. Однако, все это из области "сумасшедших" цен и военных технологий. Для бизнес-класса и частной переписки данная проблема решается гораздо проще и дешевле ? с помощью криптографии. Любой объем информации от байта до гигабайта, будучи зашифрован с помощью более или менее стойкой криптосистемы, недоступен для прочтения без знания ключа. И уже совершенно не важно, хранится он на жестком диске, на дискете или компакт-диске, не важно под управлением какой операционной системы. Против самых новейших технологий и миллионных расходов здесь стоит математика, и этот барьер до сих пор невозможно преодолеть. Вот почему силовые ведомства практически всех стран, будучи не в состоянии противостоять законам математики, применяют административные меры против так называемой стойкой криптографии". Вот почему ее использование частными и юридическими лицами без лицензии Федерального Агенства по Связи и Информации (ФАПСИ), входящего в структуру одного из силовых ведомств государства, запрещено и у нас в России.
Современная ситуация в области информационной безопасности
Последнее время сообщения об атаках на информацию, о хакерах и компьютерных взломах наполнили все средства массовой информации. Что же такое "атака на информацию"? Дать определение этому действию на самом деле очень сложно, поскольку информация, особенно в электронном виде, представлена сотнями различных видов. Информацией можно считать и отдельный файл, и базу данных, и одну запись в ней, и целиком программный комплекс. И все эти объекты могут подвергнуться и подвергаются атакам со стороны некоторой социальной группы лиц. При хранении, поддержании и предоставлении доступа к любому информационному объекту его владелец, либо уполномоченное им лицо, накладывает явно либо самоочевидно набор правил по работе с ней. Умышленное их нарушение классифицируется как атака на информацию.С массовым внедрением компьютеров во все сферы деятельности человека объем информации, хранимой в электронном виде вырос в тысячи раз. И теперь скопировать за полминуты и унести дискету с файлом, содержащим план выпуска продукции, намного проще, чем копировать или переписывать кипу бумаг. А с появлением компьютерных сетей даже отсутствие физического доступа к компьютеру перестало быть гарантией сохранности информации.
Каковы возможные последствия атак на информацию? В первую очередь, конечно, нас будут интересовать экономические потери:
Естественно, компьютерные атаки могут принести и огромный моральный ущерб. Понятие конфиденциального общения давно уже стало "притчей во языцех". Само собой разумеется, что никакому пользователю компьютерной сети не хочется, чтобы его письма кроме адресата получали еще 5-10 человек, или, например, весь текст, набираемый на клавиатуре ЭВМ, копировался в буфер, а затем при подключении к Интернету отправлялся на определенный сервер. А именно так и происходит в тысячах и десятках тысяч случаев.
Несколько интересных цифр об атаках на информацию. Они были получены исследовательским центром DataPro Research в 1998 году. Основные причины повреждений электронной информации распределились следующим образом: неумышленная ошибка человека ? 52% случаев, умышленные действия человека - 10% случаев, отказ техники ? 10% случаев, повреждения в результате пожара - 15% случаев, повреждения водой ? 10% случаев. Как видим, каждый десятый случай повреждения электронных данных связан с компьютерными атаками.
Кто был исполнителем этих действий: в 81% случаев ? текущий кадровый состав учреждений, только в 13% случаев ? совершенно посторонние люди, и в 6% случаев ? бывшие работники этих же учреждений. Доля атак, производимых сотрудниками фирм и предприятий, просто ошеломляет и заставляет вспомнить не только о технических, но и о психологических методах профилактики подобных действий.
И, наконец, что же именно предпринимают злоумышленники, добравшись до информации: в 44% случаев взлома были произведены непосредственные кражи денег с электронных счетов, в 16% случаев выводилось из строя программное обеспечение, столь же часто ? в 16% случаев ? производилась кража информации с различными последствиями, в 12% случаев информация была cфальсифицирована, в 10% случаев злоумышленники с помощью компьютера воспользовались либо заказали услуги, к которым в принципе не должны были иметь доступа.
Создание политики информационной безопасности
Политика безопасности ? это комплекс превентивных мер по защите конфиденциальных данных и информационных процессов на предприятии. Политика безопасности включает в себя требования в адрес персонала, менеджеров и технических служб. Основные напрвления разработки политики безопасности :Существуют две системы оценки текущей ситуации в области информационной безопасности на предприятии. Они получили образные названия "исследование снизу вверх" и "исследование сверху вниз". Первый метод достаточно прост, требует намного меньших капитальных вложений, но и обладает меньшими возможностями. Он основан на известной схеме : "Вы ? злоумышленник. Ваши действия ?". То есть служба информационной безопасности, основываясь на данных о всех известных видах атак, пытается применить их на практике с целью проверки, а возможно ли такая атака со стороны реального злоумышленника.
Метод "сверху вниз" представляет собой, наоборот, детальный анализ всей существующей схемы хранения и обработки информации. Первым этапом этого метода является, как и всегда, определение, какие информационные объекты и потоки необходимо защищать. Далее следует изучение текущего состояния системы информационной безопасности с целью определения, что из классических методик защиты ифнормации уже реализовано, в каком объеме и на каком уровне. На третьем этап производится классификация всех информационных объектов на классы в соответствии с ее конфиденциальностью, требованиями к доступности и целостности (неизменности).
Далее следует выяснение насколько серьезный ущерб может принести фирме раскрытие или иная атака на каждый конкретный информационный объект. Этот этап носит название "вычисление рисков". В первом приближении риском называется произведение "возможного ущерба от атаки" на "вероятность такой атаки".
Существует множество схем вычисления рисков, остановимся на одной из самых простых.
Ущерб от атаки может быть представлен неотрицательным числом в приблизительном соответствии со следующей таблицей :
| 0 | Раскрытие ифнормации принесет ничтожный моральный и финансовый ущерб фирме |
| 1 | Ущерб от атки есть, но он незначителен, основные финансовые операции и положение фирмы на рынке не затронуты |
| 2 | Финансовые операции не ведутся в течение некоторого времени, за это время фирма терпит убытки, но ее положение на рынке и количество клиентов изменяются минимально |
| 3 | Значительные потери на рынке и в прибыли. От фирмы уходит ощутимая часть клиентов |
| 4 | Потери очень значительны, фирма на период до года теряет положение на рынке. Для восстановления положения требуются крупные финансовые займы. |
| 5 | Фирма прекращает существование |
| 0 | Данный вид атаки отсутствует |
| 1 | реже, чем раз в год |
| 2 | около 1 раза в год |
| 3 | около 1 раза в месяц |
| 4 | около 1 раза в неделю |
| 5 | практически ежедневно |
Следующим этапом составляется таблица рисков предприятия. Она имеет следующий вид :
| Спам (переполнение почтового ящика) | 1 | 4 | 4 |
| Копирование жесткого диска из центрального офиса |
3 | 1 | 3 |
| ... | ... | ... | 2 |
| Итого : | 9 |
Затем производится сравнение удвоенного значения (в нашем случае 7*2=14) с интегральным риском (ячейка "Итого"). Если интегральный риск превышает допустимое значение, значит, в системе набирается множество мелких огрешностей в системе безопасности, которые в сумме не дадут предприятию эффективно работать. В этом случае из строк выбираются те, которые дает самый значительный вклад в значение интегрального риска и производится попытка их уменьшить или устранить полностью.
На самом ответственном этапе производится собственно разработка политики безопасности предприятия, которая обеспечит надлежащие уровни как отдельных рисков, так и интегрального риска. При ее разработке необходимо, однако, учитывать объективные проблемы, которые могут встать на пути реализации политики безопасности. Такими проблемами могут стать законы страны и международного сообщества, внутренние требования корпорации, этические нормы общества.
После описания всех технических и административных мер, планируемых к реализации, производится расчет экономической стоимости данной программы. В том случае, когда финансовые вложения в программу безопасности являются неприемлимыми или просто экономически невыгодными по сравнению с потенциальным ущербом от атак, производится возврат на уровень, где мы задавались максимально допустимым риском 7 и увеличение его на один или два пункта.
Завершается разработка политики безопасности ее утверждением у руководства фирмы и детальным документированием. За этим должна следовать активная реализация всех указанных в плане компонентов. Перерасчет таблицы рисков и, как следствие, модификация политики безопасности фирмы чаще всего производится раз в два года.
Список литературы
1. Дж. Л. Месси. Введение в современную криптологию. // ТИИЭР, т.76, №5, Май 88 ? М, Мир, 1988, с.24-42.2. У. Диффи. Первые десять лет криптографии с открытым ключом. // ТИИЭР, т.76, №5, Май 88 ? М, Мир, 1988, с.54-74.
3. А. В. Спесивцев и др. Защита информации в персональных компьютерах. ? М., Радио и связь. 1992, с.140-149.
4. В. Жельников. Криптография от папируса до компьютера. ? М., ABF, 1996.
5. (!) A.Menezes, P.van Oorshot, S.Vanstone. Handbook of Applied Cryptography ? CRC Press Inc., 1997.
6. Hal Tipton and Micki Krause. Handbook of Information Security Management ? CRC Press LLC, 1998.
Среда передачи информации
Естественно, основным видом атак на среду передачи информации является ее прослушивание. В отношении возможности прослушивания все линии связи делятся на :К первой категории относятся схемы передачи информации, возможность считывания информации с которых ничем не контролируется. Такими схемами, например, являются инфракрасные и радиоволновые сети. Ко второй и третьей категориям относятся уже только проводные линии : чтение информации с них возможно либо всеми станциями, подключенными к данному проводу (широковещательная категория), либо только теми станциями и узлами коммутации через которые идет пакет от пункта отправки до пункта назначения (категория "точка-точка").
К широковещательной категории сетей относятся сеть TokenRing, сеть EtherNet на коаксиальной жиле и на повторителях (хабах ? англ. hub). Целенаправленную (защищенную от прослушивания другими рабочими станциями) передачу данных в сетях EtherNet производят сетевые коммутаторы типа свич (англ. switch) и различного рода маршрутизаторы (роутеры ? англ. router). Сеть, построенная по схеме с защитой трафика от прослушивания смежными рабочими станциями, почти всегда будет стоить дороже, чем широковещательная топология, но за безопасность нужно платить.
В отношении прослушивания сетевого трафика подключаемыми извне устройствами существует следующий список кабельных соединений по возрастанию сложности их прослушивания :
Вывод систем передачи информации из строя (атака "отказ в сервисе") на уровне среды передачи информации возможен, но обычно он расценивается уже как внешнее механическое или электронное (а не программное) воздействие. Возможны физическое разрушение кабелей, постановка шумов в кабеле и в инфра- и радио- трактах.
Технологии цифровых подписей
Как оказалось, теория асимметричного шифрования позволяет очень красиво решать еще одну проблему информационной безопасности ? проверку подлинности автора сообщения. Для решения этой проблемы с помощью симметричной криптографии была разработана очень трудоемкая и сложная схема. В то же время с помощью, например, того же алгоритма RSA создать алгоритм проверки подлинности автора и неизменности сообщения чрезвычайно просто.Предположим, что нам нужно передать какой-либо текст, не обязательно секретный, но важно то, чтобы в него при передаче по незащищенному каналу не были внесены изменения. К таким текстам обычно относятся различные распоряжения, справки, и тому подобная документация, не представляющая секрета. Вычислим от нашего текста какую-либо хеш-функцию ? это будет число, которое более или менее уникально характеризует данный текст.
В принципе, можно найти другой текст, который дает то же самое значение хеш-функции, но изменить в нашем тексте десять-двадцать байт так, чтобы текст остался полностью осмысленным, да еще и изменился в выгодную нам сторону (например, уменьшил сумму к оплате в два раза) ? чрезвычайно сложно. Именно для устранения этой возможности хеш-функции создают такими же сложными как и криптоалгоритмы ? если текст с таким же значением хеш-функции можно будет подобрать только методом полного перебора, а множество значений будет составлять как и для блочных шифров 232?2128 возможных вариантов, то для поиска подобного текста злоумышленнику "потребуются" те же самые миллионы лет.
Таким образом, если мы сможем передать получателю защищенным от изменения методом хеш-сумму от пересылаемого текста, то у него всегда будет возможность самостоятельно вычислить хеш-функцию от текста уже на приемной стороне и сверить ее с присланной нами. Если хотя бы один бит в вычисленной им самостоятельно контрольной сумме текста не совпадет с соответствующим битом в полученном от нас хеш-значении, значит, текст по ходу пересылки подвергся несанкционированному изменению.
Представим теперь готовую к передаче хеш-сумму в виде нескольких k-битных блоков hi, где k ? это размер сообщений по алгоритму RSA в предыдущем параграфе. Вычислим над каждым блоком значение si=((hi)d)mod n, где d ? это тот самый закрытый ключ отправителя. Теперь сообщение, состоящее из блоков si можно "спокойно" передавать по сети. Никакой опасности по известным hi и si найти Ваш секретный ключ нет ? это настолько же сложная задача, как и задача "логарифмирования в конечном поле". А вот любой получатель сообщения может легко прочесть исходное значение hi, выполнив операцию ((si)e)mod n = ((hi)d*e)mod n = hi
? Ваш открытый ключ (e,n) есть у всех, а то, что возведение любого числа в степень (e*d) по модулю n дает исходное число, мы доказали в прошлом параграфе. При этом никто другой, кроме Вас, не зная Вашего закрытого ключа d не может, изменив текст, а следовательно, и хеш-сумму, вычислить такие s'i, чтобы при их возведении в степень e получилась хеш-сумма h'i, совпадающая с хеш-суммой фальсифицированного текста.
Таким образом, манипуляции с хеш-суммой текста представляют из себя "асимметричное шифрование наоборот" : при отправке используется закрытый ключ отправителя, а для проверки сообщения ? открытый ключ отправителя. Подобная технология получила название "электронная подпись". Информацией, которая уникально идентифицирует отправителя (его виртуальной подписью), является закрытый ключ d. Ни один человек, не владеющий этой информацией, не может создать такую пару (текст,si), что описанный выше алгоритм проверки дал бы положительный результат.
Подобный обмен местами открытого и закрытого ключей для создания из процедуры асимметричного шифрования алгоритма электронной подписи возможен только в тех системах, где выполняется свойство коммутативности ключей. Для других асимметричных систем алгоритм электронной подписи либо значительно отличается от базового, либо вообще не реализуем.
Терминалы защищенной информационной системы
Несмотря на самоочевидность, все-таки наиболее распространенным способом входа в систему при атаках на информацию остается вход через официальный log-in запрос системы. Вычислительная техника, которая позволяет произвести вход в систему, называется в теории информационной безопасности терминалом. Терминология восходит ко временам суперЭВМ и тонких "терминальных" клиентов. Если система состоит всего из одного персонального компьютера, то он одновременно считается и терминалом и сервером. Доступ к терминалу может быть физическим, в том случае, когда терминал ? это ЭВМ с клавиатурой и дисплеем, либо удаленным ? чаще всего по телефонной линии (в этом случае терминалом является модем, подключенный либо непосредственно к системе, либо к ее физическому терминалу).При использовании терминалов с физическим доступом необходимо соблюдать следующие требования:
;При использовании удаленных терминалов необходимо соблюдать следующие правила:
Того, что якобы никто не знает шестизначного номера вашего служебного модема, отнюдь не достаточно для конфиденциальности вашей системы. Все дело в том, что при наличии программного обеспечения, которое не составит труда найти в сети Интернет, и тонового набора для одного звонка достаточно 4 секунд. Это означает, что за 1 минуту можно перебрать около 15 номеров телефонной станции с тем, чтобы узнать существует ли на этом телефонном номере модем. За час таким образом можно перебрать 1000 номеров, а за рабочий день с повтором в ночное время (это стандартная методика) ? всю АТС (10.000 номеров). Напомню, что в нашем городе существует только 9 АТС. Таким образом, за 10 дней можно проверить все телефоны такого среднего города, как Череповец. И подобные операции производятся довольно часто, особенно в отношении фирм, связанных с компьютерами и компьютерными сетями, а также в отношении промышленных предприятий. Так, некоторое время назад ходил список из 15 телефонных номеров одного из очень крупных промышленных предприятий нашего города, на которых находились модемы с доступом в его внутреннюю сеть.
Безотносительно от физического или коммутируемого доступа к терминалу, линия, соединяющая терминал (коммутируемый, либо установленный в публичном месте) с зоной ядра информационной системы должна быть защищена от прослушивания, либо же весь обмен информацией должен вестись по конфиденциальной схеме идентификации и надежной схеме аутентификации клиента ? этим занимаются криптосистемы.
Транспортное кодирование
Поскольку системы шифрования данных часто используются для кодирования текстовой информации : переписки, счетов, платежей электронной коммерции, и при этом криптосистема должна быть абсолютно прозрачной для пользователя, то над выходным потоком криптосистемы часто производится транспортное кодирование, то есть дополнительное кодирование (не шифрование !) информации исключительно для обеспечения совместимости с протоколами передачи данных. Все дело в том, что на выходе криптосистемы байт может принимать все 256 возможных значений, независимо от того был ли входной поток текстовой информацией или нет. А при передаче почтовых сообщений многие системы ориентированы на то, что допустимые значения байтов текста лежат в более узком диапазоне : все цифры, знаки препинания, алфавит латиницы плюс, возможно, национального языка. Первые 32 символа набора ASCII служат для специальных целей. Для того, чтобы они и некоторые другие служебные символы никогда не появились в выходном потоке используется транспортное кодирование.Наиболее простой метод состоит в записи каждого байта двумя шестнадцатиричными цифрами-символами. Так байт 252 будет записан двумя символами 'FC'; байт с кодом 26, попадающий на специальный символ CTRL-Z, будет записан двумя допустимыми символами '1A'. Но эта схема очень избыточна : в одном байте передается только 4 бита информации.
На самом деле практически в любой системе коммуникации без проблем можно передавать около 68 символов (латинский алфавит строчный и прописной, цифры и знаки препинания). Из этого следует, что вполне реально создать систему с передачей 6 бит в одном байте (26<68), то есть кодировать 3 байта произвольного содержания 4-мя байтами из исключительно разрешенных (так называемых печатных) символов. Подобная система была разработана и стандартизирована на уровне протоколов сети Интернет ? это система Base64 (стандарт RFC1251).
Процесс кодирования преобразует 4 входных символа в виде 24-битной группы, обрабатывая их слева направо.
Эти группы затем рассматриваются как 4 соединенные 6-битные группы, каждая из которых транслируется в одиночную цифру алфавита base64. При кодировании base64 входной поток байтов должен быть упорядочен старшими битами вперед.
Каждая 6-битная группа используется как индекс для массива 64-х печатных символов. Символ, на который указывает значение индекса, помещается в выходную строку. Эти символы выбраны так, чтобы быть универсально представимыми и исключают символы, имеющие специальное значение (".", CR, LF).
Алфавит Base64 Значение Код Значение Код Значение Код Значение Код 0 A 17 R 34 i 51 z 1 B 18 S 35 j 52 0 2 C 19 T 36 k 53 1 3 D 20 U 37 l 54 2 4 E 21 V 38 m 55 3 5 F 22 W 39 n 56 4 6 G 23 X 40 o 57 5 7 H 24 Y 41 p 58 6 8 I 25 Z 42 q 59 7 9 J 26 a 43 r 60 8 10 K 27 b 44 s 61 9 11 L 28 c 45 t 62 + 12 M 29 d 46 u 63 / 13 N 30 e 47 v заполнитель = 14 O 31 f 48 w 15 P 32 g 49 x 16 Q 33 h 50 y
Выходной поток (закодированные байты) должен иметь длину строк не более 76 символов. Все признаки перевода строки и другие символы, отсутствующие в таблице 1, должны быть проигнорированы декодером base64. Среди данных в Base64 символы, не перечисленные в табл. 1, переводы строки и т.п. должны говорить об ошибке передачи данных, и, соответственно, программа-декодер должна оповестить пользователя о ней.
Если в хвосте потока кодируемых данных осталось меньше, чем 24 бита, справа добавляются нулевые биты до образования целого числа 6-битных групп. А до конца 24-битной группы может оставаться только от 0 до 3-х недостающих 6-битных групп, вместо каждой из которых ставится символ-заполнитель "=". Поскольку весь входной поток представляет собой целое число 8-битных групп (т.е., просто байтных значений), то возможны лишь следующие случаи:
Так как символ "=" является хвостовым заполнителем, его появление в теле письма может означать только то, что конец данных достигнут. Но опираться на поиск символа "=" для обнаружения конца файла неверно, так как, если число переданных битов кратно 24, то в выходном файле не появится ни одного символа "="
Требования по работе с конфиденциальной информацией
При работе с информацией 1-го класса конфиденциальности рекомендуется выполнение следующих требований :При работе с информацией 2-го класса конфиденциальности к перечисленным выше требованиям добавляются следующие :
При работе с информацией 3-го класса конфиденциальности ко всем перечисленным выше требованиям добавляются следующие :
Уровни сетевых атак согласно модели OSI
Эталонная модель взаимодействия открытых систем OSI (англ. Open Systems Interconnection) была разработана институтом стандартизации ISO с целью разграничить функции различных протоколов в процессе передачи информации от одного абонента другому. Подобных классов функций было выделено 7 ? они получили название уровней. Каждый уровень выполняет свои определенные задачи в процессе передачи блока информации, причем соответствующий уровень на приемной стороне производит преобразования, точно обратные тем, которые производил тот же уровень на передающей стороне. В целом прохождение блока данных от отправителя к получателю показано на рис.1. Каждый уровень добавляет к пакету небольшой объем своей служебной информации ? префикс (на рисунке они изображены как P1...P7). Некоторые уровни в конкретной реализации вполне могут отсутствовать.
Рис.1.
Данная модель позволяет провести классификацию сетевых атак согласно уровню их воздействия.
Физический уровень отвечает за преобразование электронных сигналов в сигналы среды передачи информации (импульсы напряжения, радиоволны, инфракрасные сигналы). На этом уровне основным классом атак является "отказ в сервисе". Постановка шумов по всей полосе пропускания канала может привести к "надежному" разрыву связи.
Канальный уровень управляет синхронизацией двух и большего количества сетевых адаптеров, подключенных к единой среде передачи данных. Примером его является протокол EtherNet. Воздействия на этом уровне также заключаются в основном в атаке "отказ в сервисе". Однако, в отличие от предыдущего уровня, здесь производится сбой синхропосылок или самой передачи данных периодической передачей "без разрешения и не в свое время".
Сетевой уровень отвечает за систему уникальных имен и доставку пакетов по этому имени, то есть за маршрутизацию пакетов. Примером такого протокола является протокол Интернета IP. Все атаки, основанные на заведомо неправильной маршрутизации пакетов, мы уже рассмотрели.
Транспортный уровень отвечает за доставку больших сообщений по линиям с коммутацией пакетов. Так как в подобных линиях размер пакета представляет собой обычно небольшое число (от 500 байт до 5 килобайт), то для передачи больших объемов информации их необходимо разбивать на передающей стороне и собирать на приемной. Транспортными протоколами в сети Интернет являются протоколы UDP и TCP. Реализация транспортного протокола ? довольно сложная задача, а если еще учесть, что злоумышленник придумывает самые разные схемы составления неправильных пакетов, то проблема атак транспортного уровня вполне объяснима.
Все дело в том, что пакеты на приемную сторону могут приходить и иногда приходят не в том порядке, в каком они были отправлены. Причина обычно состоит в потере некоторых пакетов из-за ошибок или переполненности каналов, реже ? в использовании для передачи потока двух альтернативных путей в сети. А, следовательно, операционная система должна хранить некоторый буфер пакетов, дожидаясь прихода задержавшихся в пути. А если злоумышленник с умыслом формирует пакеты таким образом, чтобы последовательность была большой и заведомо неполной, то тут можно ожидать как постоянной занятости буфера, так и более опасных ошибок из-за его переполнения.
Сеансовый уровень отвечает за процедуру установления начала сеанса и подтверждение (квитирование) прихода каждого пакета от отправителя получателю. В сети Интернет протоколом сеансого уровня является протокол TCP (он занимает и 4, и 5 уровни модели OSI). В отношении сеансового уровня очень широко распространена специфичная атака класса "отказ в сервисе", основанная на свойствах процедуры установления соединения в протоколе TCP. Она получила название SYN-Flood (зд. flood ? англ. "большой поток").
При попытке клиента подключиться к серверу, работающему по протоколу TCP (а его используют более 80% информационных служб, в том числе HTTP, FTP, SMTP, POP3), он посылает серверу пакет без информации, но с битом SYN, установленным в 1 в служебной области пакета ? запросом на соединение.
По получении такого пакета сервер обязан выслать клиенту подтверждение приема запроса, после чего с третьего пакета начинается собственно диалог между клиентом и сервером. Одновременно сервер может поддерживать в зависимости от типа сервиса от 20 до нескольких тысяч клиентов.
При атаке типа SYN-Flood злоумышленник начинает на своей ЭВМ создавать пакеты, представляющие собой запросы на соединение (то есть SYN-пакеты) от имени произвольных IP-адресов (возможно даже несуществующих) на имя атакуемого сервера по порту сервиса, который он хочет приостановить. Все пакеты будут доставляться получателю, поскольку при доставке анализируется только адрес назначения. Сервер, начиная соединение по каждому из этих запросов, резервирует под него место в своем буфере, отправляет пакет-подтверждение и начинает ожидать третьего пакета клиента в течение некоторого промежутка времени (1-5 секунд). Пакет-подтверждение уйдет по адресу, указанному в качестве ложного отправителя в произвольную точку Интернета и либо не найдет адресата вообще, либо чрезмерно "удивит" операционную систему на этом IP-адресе (поскольку она никаких запросов на данный сервер не посылала) и будет просто проигнорирован. А вот сервер при достаточно небольшом потоке таких запросов будет постоянно держать свой буфер заполненным ненужными ожиданием соединений и даже SYN-запросы от настоящих легальных пользователей не будут помещаться в буфер : сеансовый уровень просто не знает и не может узнать, какие из запросов фальшивые, а какие настоящие и могли бы иметь больший приоритет.
Атака SYN-Flood получила довольно широкое распространение, поскольку для нее не требуется никаких дополнительных подготовительных действий. Ее можно проводить из любой точки Интернета в адрес любого сервера, а для отслеживания злоумышленника потребуются совместные действия всех провайдеров, составляющих цепочку от злоумышленника до атакуемого сервера (к чести сказать, практически все фирмы-провайдеры, если они обладают соответствующим программным обеспечением и квалифицированным персоналом, активно участвуют в отслеживании атакующей ЭВМ по первой же просьбе, в том числе и от зарубежных коллег).
Узлы коммутации сетей
Узлы коммутации сетей представляют для злоумышленников 1) как инструмент маршрутизации сетевого трафика, и 2) как необходимый компонент работоспособности сети.В отношении первой цели получение доступа к таблице маршрутизации позволяет изменить путь потока возможно конфиденциальной информации в интересующую злоумышленника сторону. Дальнейшие его действия могут быть подобны атаке на DNS-сервер. Достичь этого можно либо непосредственным администрированием, если злоумышленник каким-либо получил права администратора (чаще всего узнал пароль администротора или воспользовался несмененным паролем по умолчанию). В этом плане возможность удаленного управления устройствами коммутации не всегда благо : получить физический доступ к устройству, управляемому только через физический порт, гораздо сложнее.
Либо же возможен второй путь атаки с целью изменения таблицы маршрутизации ? он основан на динамической маршрутизации пакетов, включенной на многих узлах коммутации. В таком режиме устройство определяет наиболее выгодный путь отправки конкретного пакета, основываясь на истории прихода определенных служебных пакетов сети ? сообщений маршрутизации (протоколы ARP, RIP и другие). В этом случае при фальсификации по определенным законам нескольких подобных служебных пакетов можно добиться того, что устройство начнет отправлять пакеты по пути, интересующем злоумышленника, думая, что это и есть самый быстрый путь к пункту назначения.
При атаке класса "отказ в сервисе" злоумышленник обычно заставляет узел коммутации либо передавать сообщения по неверному "тупиковому" пути (как этого можно добиться мы рассмотрели выше), либо вообще перестать передавать сообщения. Для достижения второй цели обычно используют ошибки в программном обеспечении, запущенном на самом маршрутизаторе, с целью его "зависания". Так, например, совсем недавно было обнаружено, что целый модельный ряд маршрутизаторов одной известной фирмы при поступлении на его IP-адрес довольно небольшого потока неправильных пакетов протокола TCP либо перестает передавать все остальные пакеты до тех пор, пока атака не прекратиться, либо вообще зацикливается.







