ПРактические схемы высококачественного звуковоспроизведения
Фильтр
Операционный усилитель DA2 включен как суммирующий инвертор. На его инвертирующий вход поступают входное напряжение через резистор R9 и напряжение с выхода полосового фильтра, выполненного на двух ОУ DA1 и DA3. Напряжение на входе полосового фильтра определяется положением движка переменного резистора R10, которым изменяют амплитуду и фазу сигнала, подаваемого на вход фильтра. Если фаза сигнала положительна, то на инверсном входе (на выводе 2) микросхемы DA2 происходит суммирование сигналов, если фаза еигнала отрицательна — ослабление входного сигнала. Резонансную частоту фильтра перестраивают сдвоенным переменным резистором R6.1, R6.2. Полосу пропускания фильтра регулируют сдвоенным переменным резистором R4A и R4.2.
Параметрический эквалайзер смонтирован на унифицированной монтажной. плате методом объемного монтажа. Помимо указанных на схеме микросхем можно также использовать ОУ К153УД1, КД40УД7, К140УД8 и другие общего применения с соответствующими цепями коррекции: переменные резисторы RIO, R25, R6, R21 — СПЗ-23 с линейной зависимостью (типа A), R4, R19 — Q функциональной зависимостью (типа В); остальные резисторы — МЛТ-0,25; конденсаторы — К.М-5, К.50-6.
При правильно выполненном монтаже и исправных компонентах эквалайзер работает практически без настройки и налаживание сводится лишь к проверке его работоспособности. Для питания следует использовать двухполяр-ный стабилизированный источник напряжением ±15 В, обеспечивающий ток а нагрузке не менее 150 мА.

ФИЛЬТРЫ
Частотная характеристика высококачественных усилителей 34 простирается от единиц герц до сотни килогерц, что обеспечивает очень малые линейные искажения. Но это же обстоятельство приводит к усилению таких нежелательных явлений, как прохождение помех от близлежащих радиостанций, усиление гармоник ограниченного сигнала и остаточных напряжений УПЧ приемника, помех от вибраций двигателя электрофона, напряжения фона от сети и т. п. Поэтому необходимо, чтобы звуковой сигнал, проходящий через высококачественный звуковоспроизводящий тракт, был очищен от всех сопутствующих помех.Для этой цели в состав звуковоспроизводящего тракта вводятся специальные фильтры нижних (ФНЧ) и верхних (ФВЧ) частот. Их задача — обеспечить эффективное подавление составляющих фона, шумов и паразитных сигналов в той части диапазона, где отсутствуют составляющие полезного сигнала.
К важнейшим показателям, характеризующим свойства фильтров, как и других функциональных узлов звуковоспроизводящего тракта, относятся: величина, характеризующая способность фильтра усиливать сигнал; степень вносимых фильтром искажений; динамический диапазон; входные и выходные данные.
Фильтры характеризуются параметрами, аналогичными принятым для микрофонных усилителей. И, кроме того, еще двумя специфичными показателями — частотой среза и крутизной спада АЧХ.
Частота среза [Гц] — точка перегиба АЧХ фильтра, в которой коэффициент передачи изменяется на 3 дБ. Для фильтров, построенных на однозвенных RG цепях, частота среза
fср=1/(2пRС).
Крутизна спада АЧХ характеризует скорость спада АЧХ фильтра от точки перегиба. Обычно она измеряется в децибелах на октаву.

Рис. 35. Электрическая схема фильтра низких (а) и высоких (б) частот
Амплитуда на выходе RC фильтра убывает от точки перегиба пропорционально 1/f. Поэтому в пределах одной октавы (соответствует изменению частоты вдвое) она уменьшается вдвое, т. е. RC фильтр обеспечивает крутизну спада АЧХ 6 дБ на октаву.
Если последовательно включить два RC звена, крутизна возрастает до 12 дБ на октаву, если три — до 18 и т. д. Однако это справедливо при условии, когда реактивная составляющая полного, выходного сопротивления каждого RC звена равна нулю, а входного — бесконечности.
Один из способов устранения взаимного влияния каскадов состоит в том, чтобы каждый последующий каскад имел значительно большее полное входное сопротивление, чем предыдущий. Еще эффективнее использовать в качестве межкаскадных буферов активные фильтры на транзисторах или ОУ.
Полосовой фильтр на пассивных элементах. На рис. 35,а показан ФНЧ на основе Г-образного RC полузвена. Напряжение на выходе такого фильтра неизменно от самых нижних частот до частоты среза fcp; f0p = 1/(2пR1C1). При дальнейшем увеличении частоты выходное напряжение уменьшается пропорционально 1/f, т. е. с крутизной около 6 дБ на октаву. Как отмечалось, параметры пассивных RC фильтров весьма критичны к сопротивлению нагрузки Rн и источника сигнала Rг. Расчетные характеристики фильтров достигаются при сопротивлении нагрузки Ra, стремящемся к бесконечности и сопротивлении источника сигнала Rr, стремящемся к нулю. Точный расчет фильтров с учетом конечных значений Ra и 7?г довольно громоздок, но для приближенных расчетов частоты среза можно воспользоваться и приведенной ранее формулой.
Практически достаточно, чтоб выполнялись соотношения:
Rи = (10... 20) R1, Rг = (0,05 ..,0,1) R1.
Если в схеме на рис. 35,а поменять местами резистор и конденсатор, то получается RC ФВЧ (рис. 35,6). В отличие от ФНЧ, ФВЧ пропускает частоты выше частоты среза fcp, ниже этой частоты АЧХ имеет спад с наклоном 6 дБ на октаву. Соединяя каскадно ФВЧ и ФНЧ, можно построить полосовой фильтр.
Практическая схема полосового фильтра показана на рис. 36. Он имеет следующие основные технические характеристики:
Входное напряжение:
номинальное............ 0,2 В
максимальное............ 4В
Выходное напряжение:
номинальное............ 0,16 В
максимальное............ 3,2 В
Коэффициент передачи в полосе пропускания .... 0,8
Перегрузочная способность, не менее...... 26 дБ
Частота среза............ 0,1 и 7 кГц
Крутизна спада АЧХ........... 6 дБ на октаву
Коэффициент гармоник, не более....... 0,08%
Отношение сигнал-шум (невзвешенное)..... 70 дБ
Напряжение питания........... 15 В
Ток потребления............ 3 мА

Рис. 36. Принципиальная схема низкочастотного и высокочастотного фильтров на пассивных элементах
Фильтр нижних частот (его включают кнопкой SB1) с частотой среза около 7 кГц состоит из резистора R1 и конденсатора С1. Для уменьшения влияния входного сопротивления последующих каскадов на параметры фильтра используется эмиттерный повторитель на транзисторе VT1, входное сопротив-, ление которого с учетом делителя R2, R3 образует нагрузку фильтра. Фильтр верхних частот с частотой среза около 100 Гц образован конденсатором С2 и входным сопротивлением каскада на транзисторе VT1. Его включают кнопкой SB2. Конденсаторы СЗ и С4 используются для развязки по постоянному току каскада на транзисторе VT1.
Поскольку сами фильтры состоят из пассивных цепей, то такие параметры, как максимальное входное напряжение, коэффициент гармоник, перегрузочная способность и т. п., определяются целиком последующими каскадами (в данном случае эмиттерным повторителем).
Полосовой фильтр собран на унифицированной монтажной плате. В нем использованы резисторы МЛТ-0,125, конденсаторы КМ-5, К53-1. Желательно, чтобы точность элементов, входящих непосредственно в фильтры (R1, C1, C2), была не хуже 2%. Вместо транзистора КТ3102В можно использовать также транзисторы КТ315, КТ342, КТ203. В качестве переключателей SВ1, SB2 подойдут любые на два положения, например П2К.
Для проверки работы фильтра необходим стабилизированный источник питания напряжением 15 В и током не менее 5 мА. При монтаже без ошибок и «справных элементах фильтр практически работает без настройки.
Чтобы получить точное значение частот среза, поступают следующим образом.
В ФНЧ резистор R1 временно заменяют переменным резистором, параллельно С1 подключают осциллограф или вольтметр переменного тока. На вход фильтра с генератора звуковых частот подается сигнал частотой, равной fcp. Подстраивая переменный резистор, добиваются, чтобы напряжение на С1 стало равным 0,7 Uвх. После этого переменный резистор заменяют на соответствующий постоянный. Настройка ФВЧ производится аналогично подбором конденсатора С2. Напряжение контролируют на выходе фильтра.
Фильтр верхних частот на ОУ К153УД2. Пассивные RC фильтры имеют значительное затухание, малую крутизну спада АЧХ, а сама АЧХ зависит от внутреннего сопротивления источника сигнала и нагрузки в пределах полосы пропускания. Для улучшения параметров RC фильтров к ним присоединяют активные элементы — транзисторы или ОУ, работающие в простейшем случае по схеме повторителя. Так как повторитель не меняет фазы входного сигнала, то пассивное RC звено включают в цепь ПОС. Этим частично компенсируют потери сигнала и повышают крутизну спада АЧХ всего фильтра.
Сопротивление резисторов и емкость конденсаторов в активных фильтрах сравнительно небольшие даже на очень низких частотах, вследствие чего конструкция активных фильтров получается компактной.
Фильтр верхних частот на ОУ К153УД2 имеет следующие основные технические характеристики:
Входное напряжение:
номинальное........... 0,2 В
максимальное.......... 8В
Выходное напряжение:
номинальное........... 0,19 В
максимальное.......... 7,6 В
Коэффициент передачи в полосе пропускания . . 0,95
Перегрузочная способность, не менее . . . . 32 дБ
Частота среза........... 40 и 100 Гц
Крутизна спада АЧХ......... 6 и 12 дБ на октаву
Коэффициент гармоник, не более...... 0,07%
Отношение сигнал-шум (невзвешенное) . . . . 66 дБ
Напряжение питания......... ±15В
Ток потребления . . . . ,..... 10 мА
На рис. 37 приведена схема этого ФВЧ. Он состоит из последовательно соединенных пассивного RC ФВЧ на основе Г-образного звена C2R2 и собственно активного C3C4R3R4DA1 ФВЧ второго порядка.
Такой фильтр ( или фильтр Баттерворта) обладает максимально плоской АЧХ в пределах полосы пропускания.
При нажатии на кнопку SB1 включается пассивный RC фильтр C2R2R4 с частотой среза около 100 Гц, имеющий крутизну спада 6 дБ на октаву. Нажатие на кнопку SB2 приводит к включению активного ФВЧ. Точный расчет такого фильтра сложен, но при некоторых допущениях расчет упрощается. Например, принимая СЗ=С4 = С, R3=R4/2, R4 можно приближенно определить по формуле:
R4 = 0,707/(пfСР С).
В данном случае фильтр имеет частоту среза около 40 Гц. Крутизна спада его АЧХ 12 дБ на октаву. При нажатии на обе кнопки включаются пассивный и активный фильтры, при этом ниже частоты 20 Гц наклон АЧХ увеличивается до 18 дБ на октаву.

Рис. 37. Принципиальная схема высокочастотного фильтра на ОУ К153УД2
Для монтажа фильтра использована унифицированная плата. Переключатели SB1 и SB2 могут быть любого типа на два положения, например П2К Номиналы конденсаторов и резисторов, входящие в фильтр, должны иметь точность 2%. Вместо микросхемы К.153УД2 можно использовать любые ОУ с соответствующими цепями коррекции, например, К153УД1, К140УД7, К140УД8.
Для проверки работы фильтра необходим стабилизированный двухполяр-ный источник питания напряжением ±15 В и током не менее 10 мА. При использовании в фильтре элементов с точностью не хуже 2% настройка не требуется. Если такие детали подобрать не удалось, поступают следующим образом. Вначале, пользуясь рекомендациями по настройке полосового фильтра, настраивают пассивный RC фильтр C2R2R4 (кнопка SB1 нажата). Затем, отключив пассивный RC фильтр, включают активный. Подбирая конденсаторы СЗ и С4, добиваются, чтобы напряжение на выходе фильтра на частоте среза (fcp = 40 Гц) составляло 0,7 Uвх. На этом настройка заканчивается.
Фильтр нижних частот на ОУ К153УД2 (рис. 38). Он имеет следующие основные технические характеристики:
Входное напряжение:
номинальное....... . .... . . 0,2 В
максимальное.......... 8В
Выходное напряжение:
номинальное........... 0,19 В
максимальное.......... 7,6 В
Коэффициент передачи в полосе пропускания . . 0,95
Перегрузочная способность, не менее .... 32 дБ
Частота среза........... 10 и 20 кГц
Крутизна спада АЧХ......... 6 и 12 дБ на октаву
Коэффициент гармоник, не более...... 0,07%
Отношение сигнал-шум (невзвешенное) .... 66 дБ
Напряжение питания......... ±15 В
Ток потребления.......... 10 мА

Рис. 38. Принципиальная схема низкочастотного фильтра на ОУ К153УД2
Если поменять местами резисторы и конденсаторы, то ФВЧ (см. рис. 37) преобразуется в ФНЧ (рис. 38). Элементы R2, С2, С4 образуют пассивный ФНЧ с крутизной спада АЧХ 6 дБ на октаву и частотой среза около 10 кГц, а элементы R3, R4, СЗ, С4, DA1 входят в активный ФНЧ с наклоном спада АЧХ 12 дБ на октаву и частотой среза около 20 кГц. Упрощенный расчет активного фильтра можно-произвести, принимая R3=R4=R и СЗ=2С4; емкость! конденсатора С4 определяют по формуле: C4 = 0,707/(2пfCpR).
Одновременное включение активного и пассивного фильтров обеспечивает на частотах выше 20 кГц крутизну спада АЧХ фильтра 18 дБ на октаву.
Конструкция и детали в ФНЧ такие же, как и в ФВЧ на ОУ К153УД2. Фильтр налаживают в такой же последовательности, что и предыдущий фильтр. Частоты среза устанавливают, подбирая резисторы R2 — R4.
Источник помехи
пускания
поле
нее сопротивление
источника питания
вое сопротивление
шины питания
мы элементов
ИСТОЧНИКИ ПИТАНИЯ
В составе каждого усилительного устройства необходим источник питания, который должен вырабатывать в общем случае одно или несколько значений постоянного напряжения. Являясь самым незаметным узлом в тракте усилителя, источники питания по доставляемым хлопотам занимают одно нэ первых мест.В связи с большим потреблением мощности усилителем 34 необходимое для ere питания постоянное напряжение получают трансформированием и последующим выпрямлением напряжения сети. Полученное таким способом напряжение питания изменяется в зависимости от уровня входного звукового сиг-нала и колебаний сети и, как правило, имеет заметную пульсацию. Поэтому в цепь питания (особенно для питания предварительных каскадов усилителей 34) включают стабилизатор напряжения, который компенсирует эти изменения напряжения. Однако стабилизированные источники питания, обеспечивающие высокую стабильность (0,05%) и малый уровень пульсаций (5... 10 мВ) вы» ходнего напряжения, достаточно дороги, а в некоторых цепях (например, оконечный усилитель мощности) и не обязательны. Для большинства усилителей 34 приемлемое значение нестабильности выходного напряжения составляет ±5% для выходного каскада и ±0,5% для предварительных каскадов усиления.
При выборе режимов работы и отдельных элементов источников питани» необходимо руководствоваться следующими замечаниями.
Мощность трансформатора выбирают выше музыкальной мощности (мощности, которую может обеспечить усилитель с определенным коэффициентом гармоник, например Kг = 5%, при воспроизведении сигнала импульсного характера (речь, музыка), если выходное напряжение источника питания не меняется при наличии или отсутствии входного сигнала) усилителя примерно на 20%. Выбор конденсаторов и диодов проводится не по установившемуся режиму, а по предельным значениям тока, возникающего в момент включения, так как разряженный конденсатор в момент включения выпрямителя эквивалентен короткозамкнутой цепи. Импульсный ток диода в этот момент не должен превышать допустимого значения.
Для ограничения броска тока в мо мент включения достаточно между вторичной обмоткой и выпрямителем включить резистор сопротивлением 0,5 Ом. Этот резистор одновременно ограничивает бросок тока через конденсатор фильтра и защищает сетевой предохранитель от выгорания в момент включения.
Рабочее напряжение конденсатора выбирают на 25% выше, чем выходное напряжение выпрямителя из расчета на наихудший вариант — отсутствие нагрузки при максимальном напряжении сети. Конденсатор фильтра должен сглаживать чрезмерные пульсации тока, иначе из-за рассеивания мощности электролитические конденсаторы нагреваются, и срок их службы сокращается.
Далее рассмотрены источники питания для усилителей 34, в которых учтены перечисленные требования.
Простой нестабилизированный источник питания. Для питания совреыек-ных усилителей мощности в большинстве случаев используют нестабилизированный источник напряжения. При этом питание предварительны! каскадов усилителя производят от этого же источника через маломощные параметрические стабилизаторы и сглаживающие фильтры. С ростом сигнала ток потребления усилителя увеличивается, напряжение в нестабилизированном источнике падает, пульсации становятся больше. Эти отклонения питающего напряжения не оказывают существенного влияния на работу усилителя при правильно выбранных параметрах источника питания и режимах работы функциональных узлов усилителя 34. Практическая схема нестабилизированного двухполярного источника питания приведена на рис. 94. Он имеет следующие основные технические характеристики:
Номинальное выходное нестабилизированное напряжение . . ±24 В
Номинальный ток нагрузки выпрямителя....... 2 А
Номинальное выходное стабилизированное напряжение , . , ±15 В
Номинальный ток нагрузки стабилизатора...... 40 мА
Коэффициент пульсаций выходного напряжения выпрямителя при токе нагрузки 2 А.......... 10%
Коэффициент пульсаций выходного напряжения стабилизатора при токе нагрузки 40 мА........... 1%
Выходное напряжение со вторичной обмотки трансформатора Т1 выпрям« яяется мостовым однофазным двухполупериодным выпрямителем (диоды VD1 — VD4) и сглаживается конденсаторами фильтра С2, СЗ. Для питания предварительных каскадов используют параметрические стабилизаторы на элементах R6, VD5, С4 и R7, VD6, С5. Включение источника питания индицируется све-тодиодом HL1.
Отметим характерные особенности рассматриваемого узла. Так, для подключения источника питания в сеть нужно использовать трехпроводный сетевой провод, где один из проводов служит для заземления кожуха усилителя. Такое включение обеспечивает безопасность работы с усилителем. В этом случае при пробое изоляции трансформатора или случайном контакте одной из шин питания с кожухом прибора сгорит лишь предохранитель FU1, отключив усилитель от сети. В качестве предохранителей FU1 — FU5 применяют медленно действующие плавкие предохранители, так как в момент включения имеют место большие токи переходных процессов (например, при зарядке конденсаторов фильтров). Предохранитель FU1 выбирается из расчета, чтобы ток срабатывания предохранителя был больше, чем значение номинального тока усилителя, по крайней мере, на 50%.

Рис. 94. Принципиальная схема нестабилизированного источника питания (конденсаторы С2, СЗ на напряжение 50 В)
Цепь из последовательно соединенных резистора R1 и конденсатора С1, подключенная параллельно первичной обмотке трансформатора, предупреждает появление больших переходных процессов индуктивного характера, которые могут возникнуть при выключении усилителя. Эти процессы не только создают помехи для других рядом работающих приборов, но также разрушают контакты выключателя. Резисторы R4 и R5, шунтирующие конденсаторы С1 и С2, разряжают эти конденсаторы за несколько секунд в условиях отсутствия нагрузки, что очень важно при отладке усилителя. При их отсутствии конденсаторы С1 и С2 остаются заряженными после выключения усилителя и можно повредить какие-либо элементы, особенно измерительные приборы.
Непосредственно на выходе стабилизаторов установлены высокочастотные конденсаторы С7 и С6 (КМ-6). Они сглаживают переходные процессы и обеспечивают полное выходное сопротивление стабилизаторов на низком уровне на высоких частотах, исключая тем самым возможное самовозбуждение предварительных каскадов.
В качестве силового можно использовать любой трансформатор, имеющий вторичную обмотку с отводом от середины, рассчитанную на напряжение 2Х Х17 В и ток не менее 2 А. Например, при использовании тороидального маг-нитопровода ОЛ50/80-40 из стали Э320 первичная обмотка на напряжение 220 В содержит 1220 витков провода ПЭВ-2 0,31, а вторичная — 2Х10З витка провода ПЭВ-2 0,8. Экранирующая обмотка выполняется проводом ПЭВ-2 0,12 в один слой. В источнике питания использованы конденсаторы К50-18, К50-6, КМ-6, резисторы МЛТ-0,5, МЛТ-0,25, конденсатор С1 — МБГО на 600 В.
При монтаже предохранителя FU1 сетевой провод подводится только к заднему выводу держателя предохранителя, чтобы исключить случайное соприкосновение с силовой линией при смене предохранителя. Также необходимо тщательно производить монтаж выключателя SB1 на передней панели (использовать провода хорошего качества, после пайки сетевых выводов контакты SB1 изолировать). Общий провод и цепи питания каждого функционального узла подсоединяют к стабилизатору отдельными проводами непосредственно к диодам стабилизатора (VD5 и VD6). Общий провод источника подключают к корпусу усилителя в одной точке вблизи наиболее чувствительного функционального узла.
Налаживание узла не потребуется, если монтаж проведен правильно о учетом указанных рекомендаций и с использованием исправных элементов.
Источник питания с устройством задержки подключения громкоговорителей. Он имеет следующие основные технические характеристики:
Номинальное выходное нестабилизированное напряжение . , ±24 В
Номинальный ток нагрузки выпрямителя....... 2 А
Номинальное выходное стабилизированное напряжение . . .
±15 В
Номинальный ток нагрузки стабилизатора...... 40 мА
Время задержки, приблизительно......... 2 с
На рис. 95 приведена схема источника питания с устройством задержки подключения громкоговорителей. Источник питания аналогичен приведенному на рис. 94. Для устранения щелчков при включении усилителя используется устройство задержки подключения громкоговорителей, выполненное на транзисторе VT1. Время задержки подключения определяется временем зарядки конденсатора С5 через резистор R7. В качестве трансформатора Т1 желательно использовать тороидальный трансформатор, обладающий меньшим полем рассеивания по сравнению с обычными.
В данном источнике питания использованы такие же элементы, что и в простом нестабилизированном источнике (рис. 94). Кроме того, применены реле РЭС-47 (паспорт РФО.500.417), конденсаторы К50-24, диод КД102. Помимо указанного на схеме можно применить транзисторы типа К.Т603 или КТ608.
Для монтажа устройства задержки использована унифицированная монтажная плата.

Рис. 95. Принципиальная схема источника питания с устройством задержки подключения громкоговорителей [С2 — С5 на напряжение 50 В)
Как и предыдущий источник питания, данный узел настраивать не требуется. Время задержки при желании можно изменять подбором резистора R7 или конденсатора С5.
Комбинированный источник питания. Он имеет следующие основные технические характеристики:
Номинальное выходное нестабилизированное напряжение . . ±24 В
Номинальный ток нагрузки.........., 2 А
Номинальное выходное стабилизированное напряжение . , . ±15 В
Номинальный ток нагрузки стабилизатора...... 0,1 А
Коэффициент пульсаций выходного напряжения выпрямителя при токе нагрузки 2А............ 10%
Коэффициент пульсации выходного напряжения стабилизатора при токе нагрузки 0,1 А . . . . . . , 0,1%
Для уменьшения влияния усилителя мощности на каскады предварительного усиления по цепям питания желательно напряжение питания предварительных каскадов снимать с отдельной обмотки трансформатора.
При этом для улучшения фильтрации можно использовать более сложный стабилизатор, например, как показано на рис. 96. Нестабилизированный источник питания здесь не отличается от описанных ранее. Питание же на предварительные каскады формируется от напряжения с дополнительной обмотки трансформатора. Выпрямленное диодами VD3, VD4, VD7, VD8 напряжение поступает на входы простых стабилизаторов положительного (транзисторы VT1, VT3) и отрицательного (VT2, VT4) напряжения. На транзисторах VT1 и VT2 собраны источники постоянного тока для стабилитронов VD13 и VD14 соответственно. Транзисторы VT3 и VT4 включены по схеме эмиттерных повторителей.
Трансформатор Т1 аналогичен трансформатору Т1 на рис. 94. Дополнительная обмотка содержит 2Х10З витка провода ПЭВ-2 0,31. Стабилизаторы собраны на унифицированной монтажной плате. Транзисторы VT3 и VT4 необходимо установить на небольшой радиатор, в качестве которого можно использовать уголок размерами 25X25X32 мм из алюминия толщиной 2 мм. В источнике питания использованы детали, аналогичные примененным в предыдущих блоках питания. Налаживание источника питания заключается в про-«ерке правильности монтажа.

Рис. 96. Принципиальная схема комбинированного источника питания (конденсаторы Cl, C2 на напряжение 50 В)
ПРАКТИЧЕСКИЕ СПОСОБЫ ПОДАВЛЕНИЯ ПОМЕХ И ШУМОВ В УСИЛИТЕЛЯХ ЗЧ
ИСТОЧНИКИ ПОМЕХ
Одним из основных качественных показателей усилителя 34 является динамический диапазон. Переменное звуковое напряжение, поступающее на вход усилителя, представляет собой ряд гармонических составляющих сигнала с различными амплитудами, величины которых изменяются в соответствии о изменением громкости и тембра передаваемого звука. Максимальная мощность звуковых колебаний, воспринимаемых человеческим ухом, в 1012 раз больше минимальной мощности, определяемой порогом чувствительности уха на средних звуковых частотах, т. е. динамический диапазон мощности, воспри» нимаемой слушателем, составляет:
Д=10 lg(Рmах/Рmin)=120дБ.
Максимальная передаваемая мощность Рmаx ограничена искажениями, возпикающими в усилителях при больших амплитудах сигнала из-за нелинейноети элементов усилителя. Нижний уровень передаваемого динамического диапазона мощностей Pmin ограничивается в усилителе как его собственными шумами, так и всевозможными помехами внешнего и внутреннего происхождения. В идеале, для высококачественного звуковоспроизведения необходимо полностью сохранить динамический диапазон в 120 дБ. На практике это оказывается весьма сложно и степень приближения динамического диапазона к 120 дБ может служить критерием совершенства усилительного устройства. Если достижение максимальной передаваемой мощности Рmax больше определяется схемотехническими решениями, то в достижении минимального значения Pmin большую роль играют как конструктивные решения, так и выбор специального режима работы и типов радиоэлементов, а также правильная организация системы заземления усилителя.
В усилителях 34 основными источниками помех являются; ближние электрические и магнитные поля (сетевые провода, трансформаторы и т. п.); пульсация источников питания (фон с частотой 50, 100, 150 Гц); внешние источники дальнего электромагнитного поля (мощные радиостанции, рентгеновские установки и т. п.); затухающие колебания или самовозбуждение из-за неоптимальных или паразитных обратных связей [связь через общий источник питания, через полное сопротивление заземления); собственные шумы электронных компонентов (в основном входных резисторов и транзисторов).
Если расстояние L от источника помехи до приемника помехи значительно больше Л/2п=Л/6, то компоненты магнитного и электрического поля внешнего электромагнитного поля воздействуют на него комплексно, в случае же, когда 1<Л/6, компоненты поля учитываются порознь. Воздействие электричесского поля рассматривается в виде емкостной связи источник — устройство, с магнитного — в виде связи через взаимную индуктивность.
Следует указать, что единого метода борьбы с помехами не существует. Но можно предложить комплекс мер, позволяющих во многом устранить вредное действие помех на усилитель 34. К ним относятся:
защита проводов;
заземление;
экранирование узлов;
развязка каскадов по питанию и т. д.
ЭКРАНИРОВАНИЕ
Функциональный узел, имеющий большой коэффициент усиления (например, предусилитель-корректор), целесообразно поместить в металлический экран, чтобы исключить влияние на него внешних магнитных и электрических полей. Подходящим материалом для экрана в диапазоне звуковых частот является сталь. Следует иметь в виду, что низкочастотные магнитные поля помехи труднее поддаются экранированию, чем электрические. Основные потери для магнитных полей составляют потери на поглощение в материале экрана, поэтому здесь применяются магнитные материалы с низким магнитным сопротивлением, имеющие достаточную толщину. Экран с толщиной, равной глубине скинслоя (например, на частоте 50 Гц, в стали глубина его равна 0,74 мм), обеспечивает уменьшение амплитуды внешнего поля помехи ~9 дБ(в е раз). Для электрических полей помех звукового диапазона экранирование обусловлено, главным образом, отражением. Поэтому здесь необходимо использовать экран из хорошего проводника (медь, латунь и т. п.). Применение стальных экранов в аппаратуре, работающей в диапазоне звуковых частот, является компромиссным решением.

Рис. 102.Схема подключения экрана к «земляной» шине
Следует иметь в виду, что при не-правильном подключении экрана к земляной шине, паразитные емкости образуют цепь обратной связи с выхода на вход, и каскад (узел, устройство) может самовозбудиться. Единственно правильное подключение экрана, которое исключает эту нежелательную обратную связь, — подключать экран к общему выводу усилителя, даже если эта точка не имеет потенциала земли (рис. 102).
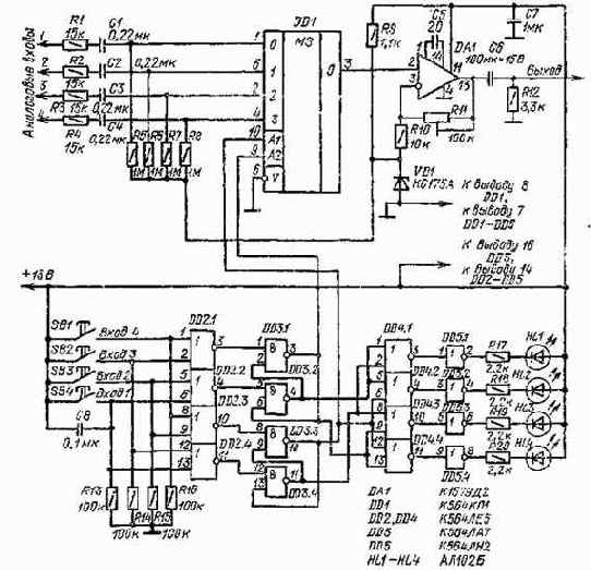
КВАДРАПРЕОБРАЗОВАТЕЛИ
Для усиления действий стереоэффекта, таких как увеличение локализации звуков по глубине, расширение площади действия стереоэффекта, создание точного ощущения «атмосферы зала», создаются четырехканальные квадрафонические системы звуковоспроизведения. В зависимости от числа записанных и воспроизводимых каналов они делятся на три типа:полная или дискретная квадрафоническая система со структурой «4-4-4» — четыре канала записи, четыре канала передачи и четыре канала воспроизведения;
квазиквадрафоническая система со структурой «4-2-4» — четыре канала записи, два канала передачи и четыре канала воспроизведения;
псевдоквадрафоническая система со структурой «2-2-4» — два канала записи, два канала передачи и четыре канала воспроизведения.
Широкому использованию квадрафонических систем препятствуют соображения экономического характера, так как четырехканальные носители первичной звуковой информации вееьма дороги. Что касается усилителей и акустических систем, то здесь принципиальных затруднений в реализации квадрафонии кет. Для широкого применения полной квадрафонии пока не хватает соответствующих источников сигнала, т. е. передач в эфире, записей на грампластинках. Наиболее просто осуществить запись и воспроизведение квадрафонических сигналов при наличии четырехканального магнитофона. Среди полных квадрафонических систем грамзаписи наиболее известной является система CD-4, предложенная фирмой JVC-Victor (Япония). Грамплаетинки, изготовленные по системе CD-4, можно проигрывать на обычных моно- и стереофонических проигрывателях, т. е. эта система является совместимой.
Одной из известных систем квазиквадрафонии является матричная, типичные представители которой строятся на основе метода SQ, предложенного фирмой CBS, и метода QS фирмы Sansui [11]. Эта система дает возможность а помощью существующих стереоприемников и усилителей принимать и воспроизводить квадрафонические передачи. Системы SQ и QS обеспечивают совместимость квадрапластинок с обычными и не требуют, в отличие от системы CD-4, специальных звукоснимателей.
Также известна отечественная система ABC, являющаяся разновидностью квазиквадрафонии [14]. Ее основное отличие от других известных систем со-сюит в расположении громкоговорителей по системе «трапеция» и в значении коэффициентов кодирования и декодирования. Декодер в системе ABC не содержит широкополосных фазовращателей и элементов логики. По качеству звучания она не уступает системам SQ и QS. Система ABC также является совместимой с обычной стереофонией.
В системах псевдоквадрафонии, как правило, используются узлы, позволяющие выделить из сигналов стереоканалов информацию, имитирующую эффект отражения в зрительном зале. Для этих целей используются устройства выделения разностного сигнала левого и правого каналов и широкополосные фазовращатели. Несмотря на свою простоту, псевдоквадрафония обеспечивает за-кетное расширение стереозоны и создает эффект присутствия в зрительном зале. Далее описываются несложные квадрапреобразователи различных систем, позволяющие получить эффект квадрафонического звучания.
Квадрапреобразователь на ОУ К153УД2, у которого используется фазовращатель и суммарно-разностная матрица (рис. 63). Он имеет следующие основные технические характеристики:
Входное напряжение:
номинальное............ 0,8 В
максимальное...........8 В
Номинальный диапазон частот . . . . . . . . 20... 30 000 Гц
Коэффициент гармоник.......... 0,2%
Отношение сигнал-шум (невзвешенное)...... 70 дБ
Входное сопротивление.......... 100 кОм
Напряжение питания........... ±15 В
Ток потребления............ 50 мА
Часто в качестве псевдоквадрафонического преобразователя применяются дисперсионные фазовращатели — устройства, фазовая характеристика которых описывается выражением ф= — arctgwt, (w = 2пf — круговая частота, t=RC — постоянная времени фазового контура), а АЧХ равномерна во всем диапазоне рабочих частот.

Рис. 63. Принципиальная схема квадрапреобразователя на ОУ с фазовращателем в суммарно-разностной матрицей
Принципиальная схема такого квадралреобразователя показана на рие. 63.
Каждый его канал состоит из входного каскада (микросхемы DAI, DA2), дисперсионного фазовращателя (DA3, DA4), резистивной матрицы, обеспечивающей разностные преобразования сигналов (R5, R8, Rll, R12, R15, R16) и выходного-дисперсионного фазовращателя (DA5, DA6). Сигналы для тыловых громкоговорителей формируются из разностных сигналов левого (Л) и правого (П) каналов для обычной стереофонической системы. Эти сигналы, проходя через дисперсионные фазовращатели, приобретают частотно-зависимый фазовый сдвиг, что создает известную задержку сигнала и имитирует реверберацию зала. Обычно такой преобразователь включается между нормирующими усилителями и усилителем мощности.
Квадрапреобразователь смонтирован на унифицированной монтажной плате с использованием резисторов МЛТ-0,25, конденсаторов КМ-6, K53-l. Вместо микросхем К153УД2 можно использовать ОУ типов К.140УД7, К153УД1 и другие с соответствующими цепями коррекции.
Налаживание его заключается в следующем. Параллельно резистору R17 подключают милливольтметр переменного тока. Со звукового генератора подают сигнал с частотой 1 кГц и уровнем 0,8 В сначала на вход П, затем на вход Л. В первом случае напряжение на R17 должно быть около 25 мВ, во втором — около 130 мВ. После этого милливольтметр подключают к выходу Л — П и проделывают аналогичные измерения. При подаче сигнала на вход П выходное напряжение должно быть около 140 мВ, при подаче на вход Л — около 0,8 В. Аналогично проверяют работу другого канала. Разбаланс выходных сигналов более 2 дБ устраняют подбором резистора R15 или R16.
Простой квадрапреобразователь на транзисторах (рис. 64). Он имеет следующие основные технические характеристики:
Входное напряжение:
номинальное............ 0,8 В
максимальное............ 2В
Выходное напряжение:
номинальное............ 0,8 В
максимальное............ 2В
Входное сопротивление . ...... . 20 кОм
Номинальный диапазон частот........ 40... 18000 Гц
Коэффициент гармоник.......... 0,5%
Отношение сигнал-шум (невзвешенное)...... 80 дБ
Напряжение питания........... 24 В
Ток потребления............ 20 мА
Квазиквадрафонические матричные системы SQ, QS, ABC позволяют легко расширить возможности имеющихся сервоусилителей. Для этого между пре-дусилителем и оконечным каскадом необходимо подключить несложный квадрапреобразователь — декодер и ввеети в устройство два дополнительных усилителя мощности.
На рис. 64,а показана несложная схема квадрапреобразозателя для систем SQ и QS, состоящего из входных каскадов фазовращателей (на транзисторах VT1 — VT4), согласующих (VT5 — VT8) и выходных (VT9 — VT12) каскадов. Входные фазовращатели здесь создают необходимые изменения фазы сигнала, поступающего затем на матрицу сопротивлений, устанавливаемую между точками I, II, III, IV, V и А — D. Для системы SQ матрица имеет вид, показанный на рис. 64,6, а для системы QS — на рис. 64,в. Матрица позволяет получить соответствующее смещение сигналов после фазо-вращения. Выходные каскады обеспечивают согласование с нагрузкой.
Монтаж квадрапреобразователя выполняют на унифицированной монтажной плате. Чтобы получить точное смещение и поворот фазы, необходимо использовать элементы с допуском не более 5%. Резисторы для матриц должны иметь точность не хуже 2%. В декодере применены резисторы МЛТ-0,25, конденсаторы КМ-5, К53-1. Вместо указанных на схеме можно использовать транзистора типов КТ342, КТ315. Для работы схемы необходим стабилизированный источник питания напряжением 24 В и током не менее 20 мА.
Настройка квадрапреобразователя заключается в установке режима работы активных элементов по постоянному току (напряжение на коллекторах транзисторов VT1 — VT4, VT9 — VT12 должно быть около 12 В. Этого добиваются подбором соответственно резисторов Rl, R3, R37 — R40.
Квадрапреобразователь системы ABC. Система пространственного звучания ABC построена с учетом особенностей слухового пространственного восприятия ори многоканальном воспроизведении. Полная совместимость системы ABC с обычной стереофонической системой позволяет -использовать декодер ABC для прослушивания обычных стереопластино;к с получением иллюзии пространственного эффекта.
Схема квадрапреобразователя системы ABC показана «а рис. 65. Он имеет следующие технические характеристики.
Входное напряжение:
номинальное ............ 0,8 В
максимальное............ 3,1 В
Входное сопротивление.......... 47 кОм
Номинальный диапазон частот........ 5 ... 30 000 Гц
Коэффициент гармоник.......... 0,2%
Отношение сигнал-шум (невзвешенное)...... 70 дБ
Напряжение питания........... ±15В
Ток потребления......... . . 35 мА

МИКРОФОННЫЕ УСИЛИТЕЛИ
Микрофонные усилители предназначены для усиления слабых сигналов микрофона и согласования его с последующими усилительными каскадами звуковоспроизводящего тракта. Коэффициент усиления микрофонного усилителя выбирают таким образом, чтобы обеспечить на входе основного усилителя номинальный уровень напряжения от 200 до 400 мВ. При необходимости в микрофонный усилитель вводят частотную коррекцию, чтобы компенсировать неравномерность АЧХ используемого микрофона.Особенностями микрофонного усилителя являются: работа при малых уровнях входного сигнала (номинальная ЭДС, развиваемая разными типами микрофонов, составляет 0,1... 0,8 мВ); совместная работа с источником сигнала, имеющим низкое внутреннее сопротивление (500 ... 2000 Ом), которое остается постоянным в широком диапазоне рабочих частот.
Основные сложности при разработке микрофонных усилителей связаны о достижением низкого уровня собственных шумов и минимальных нелинейных искажений. Формирование необходимой АЧХ особых трудностей не представляет.
Собственные (внутренние) шумы применяемых в высококачественной звуке-технике электростатических (конденсаторных) и электродинамических (ленточных) микрофонов незначительны. Так, шумы электродинамических микрофонов очень малы и, как правило, не нормируются. Конденсаторные микрофоны имеют сравнительно более высокий уровень шумов, обычно указываемый в паспорте микрофона. Но даже для конденсаторных микрофонов уровень собственных шумов не превышает нескольких микровольт. Поэтому важно, чтобы собственные шумы микрофонного усилителя были малы.
Как известно, для достижения малого уровня шумов на выходе усилителя необходимо уменьшать собственные шумы первого каскада и увеличивать полезный сигнал на его входе. Поскольку шумовые свойства усилительного каскада зависят от внутреннего сопротивления источника сигнала, при выборе режима работы транзистора в первом каскаде микрофонного усилителя необходимо учитывать внутреннее сопротивление микрофона.
Например, для транзи стора КТ3102 оптимальный коллекторный ток, при котором коэффициент шума минимален, составляет 100... 300 мкА при сопротивлении источника сигнала 1 кОм и 30... 60 мкА при сопротивлении 10... 100 кОм.
По рекомендации Международной Электротехнической Комиссии номинальное входное сопротивление микрофонного усилителя, обеспечивающее наилучшее отношение сигнал-шум на его выходе, равно утроенному сопротивлению микрофона (Rвх = 3Rмк). В описанных далее конструкциях входное сопротивление усилителя 3,3 кОм, что является компромиссным решением для различных типов применяемых микрофонов.
Номинальный диапазон частот микрофонного усилителя с учетом АЧХ используемого микрофона должен быть не хуже 20 Гц... 20 кГц при неравномерности ±2 дБ. Невзвешенное значение отношения сигнал-шум достаточно иметь примерно равным 60 дБ. Запас по перегрузочной способности (относительно номинальной чувствительности) должен быть не менее 30 дБ. Коэффициент гармоник в полосе частот должен составлять не более 0,1...0,2%. Автоматическая регулировка усиления, значительно сужающая динамический диапазон и используемая, как правило, в специальных усилителях (для усиления речи и т. п.), в рассматриваемых далее микрофонных усилителях не применяется.
Микрофонные усилители имеют следующие параметры:
максимальное входное напряжение [мВ] — наибольшее действующее значение синусоидального входного сигнала на частоте 1 кГц, при котором коэффициент гармоник выходного напряжения не превышает 0,5%;
максимальное выходное напряжение [В] — наибольшее действующее значение выходного напряжения на частоте 1 кГц при коэффициенте гармоник не более 0,5%;
перегрузочная способность, Кп [дБ] — отношение максимального входного напряжения к номинальному входному;
коэффициент гармоник [%] — наибольшее значение коэффициента нелинейных искажений выходного сигнала, измеряемое в полосе частот 20... 20 000 Гц при номинальном выходном напряжении;
отношение сигнал-шум (невзвешенное) [дБ] — отношение действующего значения номинального напряжения выходного синусоидального сигнала к действующему значению напряжения шума на выходе усилителя (измеряется без взвешивающих фильтров);
номинальный диапазон [Гц] — диапазон частот, внутри которого нормированная АЧХ усилителя имеет неравномерность не более ±1,5 дБ.
Для всех приводимых далее микрофонных усилителей номинальный уровень входных сигналов равен 1 мВ, выходное сопротивление не превышает 1 кОм, что обеспечивает хорошее их согласование с узлами, описанными далее,
Микрофонный усилитель на микросхеме К548УН1. Наиболее просто требуемые характеристики микрофонного усилителя можно реализовать на основе микросхем. Специально спроектированная для звуковой техники микросхема К548УН1 позволяет легко получить требуемые параметры при небольшом числе внешних элементов. Микрофонный усилитель на этой микросхеме имеет следующие основные технические характеристики:
Входное напряжение:
номинальное............ 1 мВ
максимальное............ 30 мВ
Выходное напряжение:
номинальное............ 200 мВ
максимальное............ 6000 мВ
Перегрузочная способность, не менее ...... 30 дБ
Коэффициент гармоник, не более....... 0,2%
Отношение сигнал-шум (невзвешенное)..... 60 дБ
Номинальный диапазон частот........ 20 ... 20 000 Гц
Напряжение питания........... 24 В
Ток потребления............ 10 мА
Схема одного канала этого усилителя приведена на рис. 31. Микросхема DA1 включена по схеме неинвертирующего усилителя. Отрицательная обратная связь по постоянному току (через резисторы R3, R4) определяет режим работы микросхемы. Усиление по переменному току определяется соотношением резисторов R2 и R4. Для уменьшения уровня шума (примерно в 1,4 раза) используется только один из транзисторов входного дифференциального каскада
микросхемы, база второго (вывод 2 микросхемы DA1) соединена с общим проводом.
Конденсаторы С1 и С4 служат для развязки по постоянному току источника сигнала и нагрузки, С5 устраняет паразитную связь по цепи питания.
Микрофонный усилитель собран на унифицированной мон тажной плате методом объемного монтажа. В устройстве используют резисторы МЛТ-0,125, конденсаторы КМ-4, КМ-б, К50-6. Чертеж унифицированной монтажной платы приведен на рис. 32.

Рис. 31. Принципиальная схема микрофонного усилителя на микросхеме К548УН1

Рис. 32. Чертеж унифицированной монтажной платы
Для проверки усилителя необходим стабилизированный источник питания с выходным напряжением 24 В, обеспечивающий ток в нагрузке не менее 15 мА, Если монтаж выполнен правильно, а детали исправны, усилитель работает практически без настройки.
Микрофонный усилитель на микросхеме К153УД2. При отсутствии специальных микросхем (К548УН1А, К157УЛ1) для микрофонного усилителя вполне можно использовать ОУ на микросхеме К153УД2 общего применения. При этом ухудшится только отношение сигнал-шум, а остальные параметры останутся практически без изменений или даже несколько улучшатся.
Такой микрофонный усилитель имеет следующие основные технические характеристики:
Входное напряжение:
номинальное............ It5 мВ
максимальное............ 3000 мВ
Выходное напряжение:
номинальное............ 220 мВ
максимальное............ 9000 мВ
Перегрузочная способность, не менее...... 66 дБ
Коэффициент гармоник, не более....... О gg%
Отношение сигнал-шум (невзвешенное)...... 55 дБ
Номинальный диапазон частот........ 20... 20 000 Гц
Напряжение питания.......... ± l5 В
Ток потребления............ J2 мА
На рис. 33 показан усилитель, включенный по схеме инвертирующего усилителя. Неинвертирующий вход (вывод 3) микросхемы DA1 подключен к общему проводу, а на инвертирующий (вывод 2} подается ООС, раздельно по постоянному и переменному токам. Отрицательная обратная связь по постоянному току (через резистор R4) стабилизирует рабочую точку усилителя. Регулируемая ООС по переменному току (цепь R3, С2) обеспечивает нормальное функционирование усилителя, предохраняет его от перегрузки по входу.
Если движок резистора R3 находится в крайнем левом по схеме положении, входное напряжение может достигать 3 В и при этом еще не наступает ограничение сигнала на выходе. При максимальном усилении (движок R3 в крайнем правом положении) ограничение выходного напряжения наступает при входном напряжении около 20 мВ.
Конденсаторы С1 и С4 обеспечивают развязку по постоянному току на входе и выходе узла, С5 и С6 устраняют паразитную связь по цепи питания.
Для монтажа микрофонного усилителя использованы унифицированная монтажная плата (см. рис. 32), резисторы МЛТ-0,125, СПЗ-12 или СПЗ-23 {R3), конденсаторы КМ-4, КМ-б, К53-1.

Рис. 33. Принципиальная схема микрофонного усилителя на микросхеме К153УД2
Вместо микросхемы К.153УД2 можно использовать и другие ОУ общего применения с соответствующими цепями коррекции (К153УД1, К.140УД7, К140УД8 и т. п.).
Для работы усилителя необходим стабилизированный двухполярный источник питания с напряжением +15 В, обеспечивающий ток в нагрузке не менее 15 мА. При правильно выполненном монтаже и исправных деталях узел работает без настройки.
Микрофонный усилитель на ОУ с малошумящим транзистором на входе. На ОУ общего применения можно создать микрофонный усилитель, не уступающий по параметрам усилителю, построенному на базе специализированной микросхемы. Однако шумовые свойства такого усилителя получаются невысокими. Для уменьшения уровня шума, как и в случае предусилителя-корректо-ра, на входе микросхемы можно установить малошумящий транзистор.
Микрофонный усилитель, сочетающий усилительные возможности ОУ и шумовые характеристики дискретного транзистора, приведен на рис. 34. Он имеет следующие основные технические характеристики:
Входное напряжение:
номинальное............ 1 мВ
максимальное............ 45 мВ
Выходное напряжение:
номинальное . . . ......... 200 мВ
максимальное............ 9000 мВ
Перегрузочная способность, не менее...... 33 дБ
Коэффициент гармоник, не более ....... 0,06%
Отношение сигнал-шум (невзвешенное)..... 6G дБ
Номинальный диапазон частот........ 20 ... 20 000 Гц
Напряжение питания.......... ±15 В
Ток потребления............ 15 мА
Усилитель может работать как с низкоомным, так и с высокоомным микрофоном. Входной каскад на малошумящем транзисторе VT1 питается от параметрического стабилизатора напряжения (стабилитрон VD1, резистор R10), который одновременно обеспечивает необходимую фильтрацию пульсаций питающего напряжения. Для защиты от помех мощных радиостанций сигнал на базу транзистора VT1 поступает через фильтр нижних частот R4C2 с частотой среза около 3 МГц. Режим работы транзистора стабилизирован глубокой ООС по постоянному току (с выхода микросхемы DA1 через резистор R11 в цепь эмиттера транзистора VT1). Необходимый коэффициент усиления (5... 300) устанавливают подстроечным резистором R7. Благодаря большому запасу усиления и глубокой ООС коэффициент гармоник не превышает сотых долей процента, а АЧХ усилителя линейна во всем звуковом диапазоне.
Монтаж микрофонного усилителя производят на унифицированной монтажной плате методом объемного монтажа (см. рис. 32). Вместо транзистора КТ3102Е можно использовать КТ3102В, К.Т315Б, вместо микросхемы К153УД2 — К153УД1, К140УД7, К140УД8 и другие с соответствующими цепями коррекции. Резисторы — МЛТ-0,125, СПЗ-22(R7), конденсаторы — КМ-4, КМ-6, К53-1.

Рис. 34. Принципиальная схема микрофонного усилителя на ОУ
Налаживание заключается в проверке правильности монтажа и установке подстроечным резистором R7 необходимого усиления. Для этого, подключив стабилизированный источник напряжением ±15 В, обеспечивающий ток в нагрузке не менее 20 мА, на вход узла с генератора звуковой частоты подают сигнал частотой 1 кГц и напряжением 1 мВ. Подстроечным резистором R7 напряжение на выходе микрофонного усилителя устанавливают в пределах 200... 250 мВ.
НОРМИРУЮЩИЕ УСИЛИТЕЛИ
Номинальное выходное напряжение источников звуковых программ, таких как магнитофон или тюнер, составляет около 200 мВ, таким же обычна делают и выходное напряжение микрофонного усилителя и предусилителя — корректора. Проходя через цепи регулировок громкости и баланса оно, какправило, несколько уменьшается. Вместе с тем номинальное входное напряже-ние таких узлов усилителя, как регуляторы тембра, квадрапреобразователи, усилители мощности, обычно выбирают около 800 мВ.
Для согласования источников звуковых программ со входами предвыходных и выходных каскадов усилителя 34 применяют нормирующие усилители. К основным его техническим показателям относятся: входное и выходное сопротивление, коэффициент усиления, перегрузочная способность, линейные и нелинейные искажения, отношение сигнал-шум, динамический диапазон, стабильность показателей. Нормирующий усилитель имеет плоскую АЧХ в диапазоне рабочих частот. Он часто является первым каскадом в тракте усилителя 34, поэтому его шумовые свойства существенно влияют на достижимый динамический диапазон всего усилителя в целом. Поэтому здесь применяют специальные микросхемы или малошумящие транзисторы, используемые в предусилителе-корректоре или микрофонном усилителе. Можно выполнить этот каскад и на малошумящих ОУ.
Нормирующий усилитель на ОУ К153УД2. Он имеет следующие основные технические характеристики:
Входное напряжение:
номинальное............0,1 В
максимальное ............ 1В
Выходное напряжение:
номинальное............0,8 В
максимальное............8 В
Перегрузочная способность, не менее......20 дБ
Коэффициент гармоник, не более.......0,08 %
Отношение сигнал-шум (невзвешенное) . . . . . 70 дБ
Номинальный диапазон частот........10...50000 Гц
Напряжение питания...........±15 В
Ток потребления............10 мА
На рис. 42 показана схема этого нормирующего усилителя с использованием ОУ, включенного по схеме неинвертирующего усилителя переменного тока. Усиление зависит от соотношения сопротивления резисторов R3 и R2. Резистор R1 определяет входное сопротивление узла.
Конденсатор С1, установлен ный на входе, обеспечивает развязку по постоянному току, конденсаторы С5 и С6 устраняют паразитную связь по цепи питания. Конденсаторы СЗ и С4 необходимы для устойчивой работы усилителя в области высоких частот.

Рис. 42. Принципиальная схема нормирующего усилителя на ОУК153УД2
Усилитель собран на унифицированной монтажной плате (см. рис. 32). При монтаже использованы резисторы МЛТ-0,125, конденсаторы КМ-4, КМ-6, К50-6. Вместо микросхемы К153УД2 можно применить любые ОУ общего применения со своими цепями коррекции, например, К140УД7, К140УД8 и др.

Рис. 43. Принципиальная схема нормирующего усилителя на микросхеме К548УН1
Налаживание заключается в получении (подбором резистора R2) необходимого усиления. При проверке нормирующего усилителя потребуется стабилизированный двухполярный источник напряжением ±15 В и током не менее 10 мА.
Нормирующий усилитель на микросхеме К548УН1. Он имеет следующие основные технические характеристики:
Входное напряжение:
номинальное............ 0,1 В
максимальное............ 0,6 В
Выходное напряжение:
номинальное............ 0,8 В
максимальное............ 5 ,В
Перегрузочная способность, не менее...... 15 дБ
Коэффициент гармоник, не более....... 0,1%
Отношение сигнал-шум (невзвешенное)..... 72 дБ
Номинальный диапазон частот........ 10... 50000 Гц
Напряжение питания ........... 24 В
Ток потребления . . . . . ....... 10 мА
Для уменьшения уровня шума нормирующего усилителя, как и других узлов, можно использовать малошумящую микросхему К548УН1 (рис. 43), Здесь она включена по схеме неинвертирующего линейного усилителя. Цепь ООС (резисторы R2, R3) определяет режим работы микросхемы по постоянному току. Коэффициент усиления по переменному току зависит от соотношения сопротивления параллельно соединенных резисторов R1 и R2 и сопротивления R3. Конденсаторы С1 и СЗ обеспечивают развязку по постоянному току на входе и выходе узла.
Монтаж усилителя, как и предыдущего, выполнен на унифицированной монтажной плате (см.
рис. 32). В нем использованы резисторы МЛТ-0,125 и конденсаторы КМ-6, К50-6.
При настройке усилитель необходимо подключить к стабилизированному источнику питания напряжением 24 В и током не менее 15 мА. После этого, подбирая резистор R2, на выводе 6 микросхемы добиваются напряжения 12 В. Затем подбором резистора R1 устанавливают необходимый коэффициент усиления узла.
Нормирующий усилитель на дискретных элементах с большим динамическим диапазоном. Чтобы получить более качественные параметры, когда нет специализированных микросхем, нормирующий усилитель можно выполнить на базе дискретных компонентов, воспользовавшись схемой ОУ на рис. 44. Он имеет следующие основные технические характеристики:
Входное напряжение:
номинальное . ,.......... 0,1 В
максимальное............ 1,8 В
Выходное напряжение:
номинальное . ........... 0,8 В
максимальное............ 14 В
Перегрузочная способность, не менее...... 25 дБ
Коэффициент гармоник, не более....... 0,06%
Отношение сигнал-шум (невзвешенное)...... 75 дБ
Номинальный диапазон частот........ 10... 100000 Гц
Напряжение питания........... ±24 В
Ток потребления............ 12 мА
Приведенный здесь ОУ на дискретных компонентах используется в корректирующем усилителе (см. рис. 27) и в регуляторе тембра (см. рис. 48), где указаны основные особенности его работы. Некоторое отличие данного усилителя состоит в изменении параметров цепи обратной связи RIO, R11, Это связано с получением необходимого коэффициента усиления.

Рис. 44. Принципиальная схема нормирующего усилителя на дискретных элементах с большим динамическим диапазоном
Нормирующий усилитель смонтирован на печатной плате (рис. 28,а) Вместо транзисторов КТ3102Е можно использовать транзисторы КТ342, КТ315: вместо КТ3107Л — КТ361, КТ203. Параметры усилителя при этом несколько ухудшатся. В усилителе использованы резисторы типа МЛТ-0,125, конденсаторы типа КМ-4, К53-1.
Налаживание усилителя заключается в проверке монтажа и подборе сопротивления резистора R10 для получения необходимого коэффициента усиления.Для питания схемы необходим стабилизированный источник напряжения ±24 В и током не менее 15 мА.
ОБЩИЕ СВЕДЕНИЯ
Современные усилители, применяемые для высококачественного звуковоспроизведения, представляют собой сложное радиоэлектронное устройство, состоящее из последовательно включенных функционально завершенных узлов. Структурную схему современного усилителя высококачественного звуковоспроизведения (УВЗ) можно представить в виде совокупности различных модулей, представляющих собой функционально законченные части усилительного устройства (рис. 1). К ним относятся селекторы входных сигналов, предусилите-лн-корректоры, микрофонные усилители, фильтры, регуляторы громкости и баланса, шумоподавители, регуляторы тембра, квадрапреобразователи, усилители мощности, источники питания и различные узлы автоматики. В дальнейшем эти модули условимся называть функциональными узлами (ФУ). Они обеспечивают селекцию сигналов многих первичных источников (микрофонов, электрофонов, магнитофонов, тюнеров и т. п.), корректируют частотные характеристики отдельных источников звуковых сигналов, нормируют уровни сигналов, отделяют полезный сигнал от сопутствующих мешающих составляющих, регулируют уровень и тембр звука, усиливают мощность сигналов, а также выполняют ряд других функций.
Печатная (а) и монтажная (б) платы низкочастотного модуля регулятора тембра
При перемещении движков переменных резисторов R6, R13, R18, R23 а R27 вверх (по схеме) усиление этого каскада на частотах регулирования уменьшается, при перемещении вниз — возрастает. При этом глубина регулирования АЧХ на частотах 40, 200, 1000, 4500 и 16000 Гц составляет примерно ±15 дБ. Для работы регулятора на ОУ DA2 необходим источник сигнала с небольшим выходным сопротивлением (не более 1 кОм). Если источник сигнала высоко-омный, включают каскад на ОУ DA1. Необходимое напряжение на его выход! устанавливают подстроечным резистором R8.
Рис. 53. Принципиальная схема пятиполосного эквалайзера на двух ОУ К153УД2
На печатной плате (рис. 54,а) собирают два канала эквалайзера. Резисторы и конденсаторы, используемые в регуляторе, должны быть подобраны с точностью не хуже ±10%. Больший допуск ухудшит характеристики регулятора, не влияя на стабильность его работы. Микросхемы DA1 и DA2 — любые ОУ общего применения с соответствующими цепями коррекции, например, К153УД1, К153УДЗ, К140УД7, К140УД8. Разводка печатной платы допускает включение микросхем К153УД1, К153УДЗ со своими цепями коррекции.

Рис. 54. Печатная (а) и монтажная (б) платы пятиполосного эквалайзера на двух ОУ КД53УД2
Для питания эквалайзера следует использовать любой стабилизированный двухяолярный источник напряжением ±15 В, обеспечивающий ток в нагрузке не менее 30 мА. При исправных деталях достаточно проверить правильность монтажа. Подстройкой резистора R8 устанавливают необходимое выходное напряжение.
Пятиполосный эквалайзер на базе синтезированного последовательного контура с использованием ОУ К153УД2 (рис. 57). Он имеет следующие основные технические характеристики;
Номинальное входное напряжение...... 0,8 В
Количество частот регулирования....... 5
Частоты регулирования .......... 50, 200, 800,
3200, 12800 Гц
Пределы регулирования АЧХ........ ±12 дБ
Коэффициент гармоник в диапазоне частот 20 ... 20 000 Гц,
не более..............0,1%
Перегрузочная способность, не менее . . . . . . 10 дБ
Отношение сигнал-шум (невзвешенное)...... 70 дБ
Входное сопротивление........., 10 кОм
Выходное сопротивление........ , 1 кОм
Напряжение питания........... ±15 В
Ток потребления............ 100 мА
Часто для построения многополосных эквалайзеров находят применение регуляторы с LCR-элементами (рис. 55), с помощью которых АЧХ изменяют на нескольких участках частотного диапазона. Основная трудность при их реализации заключается в изготовлении индуктивностей без использования громоздких и создающих значительные наводки дросселей. Однако использование ОУ позволяет довольно просто решить эту задачу. На рис. 56,а приведена схема простейшего гиратора — каскада, имеющего индуктивную входную проводимость, Его эквивалентная схема изображена на рис. 56,6,

Рис. 55. Структурная схема регулятора тембра с LCR элементами
Рис. 56. Схема гиратора (а) и его эквивалентная схема (б)
Напряжение сигнала Uc с выхода повторителя на ОУ DA1 через конденсатор С1 поступает на второе плечо — резистор R1. С повышением частоты передаваемое через конденсатор С1 напряжение возрастает, а разность потенциалов на концах резистора R1 падает. Поэтому ток, отбираемый от источника U0 через резистор R1, уменьшается с ростом частоты и отстает по фазе от Uс (ф->п/2 при w->оо). Это условие обеспечивает индуктивный характер входной проводимости. Эквивалентная индуктивность L8 определяется выражением-Lэ = C1 R1 R2.
Полная входная проводимость каскада gвх=1/(R1 + R2+ jwRl R2C1).
Включив последовательно с входом гиратора конденсатор Сх, можно получить последовательный резонансный контур, частота настройки которого регулируется изменением емкостей Сх и С1.
Практическая схема пятиполосного эквалайзера, построенного на базе синтезированного последовательного контура, с использованием ОУ К153УД2 приведена на рис. 57. Входной сигнал поступает на двойной симметричный дифференциальный каскад (на транзисторах VT1, VT2 и ОУ DA6), охваченный гальванической обратной связью, что способствует стабилизации режима каскадов по постоянному току.
Пять активных полосовых фильтров, эквивалентных избирательным последовательным контурам, придают обратной связи частотно-зависимый характер.
Рассмотрим работу одного фильтра. Допустим, что движок переменного резистора R4 находится в нижнем по схеме положении, при котором в цепи обратной связи образуется делитель напряжения, состоящий из R20 и C1, (R1 + 3-R2), L1Э = C2RlR2. На резонансной частоте контура fp=l/(2n\/L1ЭC1) его сопротивление и глубина ООС минимальны, а коэффициент усиления максимален. В верхнем положении движка резистора R4 контур шунтирует входную цепь первого каскада, из-за чего при резонансе АЧХ приобретает провал на частоте fР, а в промежуточном положении потенциометра R4 АЧХ становится плоской. Остальные фильтры действуют аналогично. В данном регуляторе резонансные частоты контуров сдвинуты между собой на четыре октавы и равны 50, 200, 800, 3200 и 12800 Гц, а глубина регулировки достигает ±12 дБ. Для улучшения отношения сигнал — шум входной дифференциальный каскад выполнен на малошумящих транзисторах КТЗ102Д. Цепь R19, С16 устраняет самовозбуждение каскада на высоких частотах.
Конструктивно эквалайзер выполнен на унифицированной монтажной плате методом объемного монтажа (см. рис. 32). Переменные резисторы R4, R7, RIO, R13, R16 могут быть любого типа с функциональной зависимостью типа А. Конденсаторы С1, С2, С4, С5, С7, С8, С10, СП, С13 и С14 составлены из нескольких (для удобства настройки) типа КМ-5 или КМ-6. Помимо указанных на схеме можно применять ОУ К153УД1, К140УД7, К140УД8 и т. л. Взамен транзисторов КТ3102Д подойдут транзисторы типов КТ209, КТЗГ5, КТ342 и т. д. Однако надо стремиться использовать малошумящие транзисторы.
Налаживание собранного из исправных деталей эквалайзера при правильно выполненном монтаже сводится по существу к проверке его работоспособности, Питать эквалайзер можно от любого стабилизированного двухполярного источ» ника напряжением ±15 В, обеспечивающего ток в нагрузке 100 мА.

Рис. 57. Принципиальная схема пятиполосного эквалайзера набазе синтезированного последовательного контура
Октавный одиннадцатиполосный эквалайзер (рис. 58). Он имеет следующие оеновные технические характеристики:
Номинальное входное напряжение.......0,8 В
Количество частот регулирования.......11
Частоты регулирования..........30, 56, 104, 194,
360, 671, 1249, 2325, 4328, 8057, 15000 Гц
Пределы регулирования АЧХ........±12 дБ
Коэффициент гармоник в диапазоне частот 20 ... 20 000 Гц 0,1%
Перегрузочная способность, не менее ...... 10 дБ
Отношение сигнал-шум (невзвешенное)......70 дБ
Входное сопротивление..........1 кОм
Выходное сопротивление..........1 кОм
Напряжение питания........... ±15В
Ток потребления............ 250 мА
Как правило, жилые комнаты имеют ограниченные размеры и, как любой ®амкнутый объем, они имеют резонансы на звуковых частотах. Например, прямоугольная комната размерами 4,2X3,4X2,5 м имеет резонансы на частотах 40, §0 и 70 Гц, ниши и трубы отопления в ней дают резонансы на более высоких частотах. Обычно используемые регуляторы тембра обеспечивают плавное регулирование АЧХ, главным образом, на краях диапазона рабочих частот. Естественно, такая регулировка тембра не позволяет компенсировать комнатные резонансы.
Схема, приведенная на рис. 58, специально разработана для коррекции комнатных резонансов и резонансов акустических систем. Эквалайзер содержит одиннадцать активных полосовых фильтров, что позволяет получить достаточно гибкую АЧХ. Каждый фильтр Z содержит два конденсатора C1, C2, два резистора Rl, R2 и один операционный усилитель DA1. Резонансные частоты фильтров выбраны такими, что отношение частот соседних фильтров приблизительно равно 1,86 (см. далее табл. 3). При этом полосы пропускания фильтров перекрываются так, чтобы обеспечить горизонтальную АЧХ всего регулятора, и нулевой фазовый сдвиг в точках перехода фильтров. Это достигнуто тем, что фазовое опережение одного фильтра компенсируется фазовым запаздыванием другого.Добротность Q фильтров, дающая плоскую АЧХ, равна 1,25. При этом полоса пропускания эквалайзера по уровню — 3 дБ составляет 18 Гц...121 кГц. Добротность Q=l,25 предопределила усиление фильтра, которое в этом случае должно быть равно 3 (R2/2R1).
Выходные сигналы полосовых фильтров объединяются на входе суммирующего усилителя на ОУ DA1. В среднем положении движков резисторов R4 АЧХ эквалайзера горизонтальна, а коэффициент передачи равен единице. Максимальная регулировка АЧХ в полосе каждого фильтра составляет ±12 дБ и определяется резисторами R3 и R4.

ПОКАЗАТЕЛИ КАЧЕСТВА
Усилители высококачественного звуковоспроизведения должны удовлетворять определенным объективным и субъективным требованиям.На сегодняшний день не существует полной объективной количественной системы оценок качества звучания, однозначно совпадающих с субъективным впечатлением. Такие характеристики качества звучания, как прозрачность, чистота звука, эффект присутствия, мягкость и естественность звука, до сих пор не имеют объективных оценок. Однако существующие методы объективной оценки технических параметров позволяют во многом количественно измерить и предсказать достижимое качество звучания при субъективном восприятии. Достаточно полные сведения о технических характеристиках усилителя позволяют без электрических испытаний выяснить степень применимости усилителя для конкретного потребителя, быстро и правильно выбрать и спроектировать весь звуковоспроизводящий комплекс с учетом определенных условий эксплуатации, а также оценить предполагаемое качество звучания.
К основным техническим показателям УВЗ относятся входные и выходные ноказатели, коэффициент усиления, потребляемая мощность и КПД, линейные и нелинейные искажения, уровень собственных помех и шумов, амплитудная характеристика, динамический диапазон, стабильность показателей и др. Мы рассмотрим те из них, которые непосредственно отражаются на субъективном восприятии качества звучания, а именно уровни линейных и нелинейных искажений, собственных помех и шумов и динамический диапазон усилителя.
Для количественной оценки этих показателей важным является выбор фор-мы испытательных сигналов. В большинстве случаев напряжение на входе усилителя изменяется по периодическому закону. Форма кривой сигнала при этом может быть весьма разнообразной; она полностью зависит от характера сигналов усиливаемого напряжения.
Периодическое колебание может быть представлено в виде ряда Фурье:

Согласно этому выражению спектр входного сигнала представляется в виде бесконечного ряда гармоник с кратными частотами от w=2пf до оо.
Реально же при звукоусилении имеют дело с конечным диапазоном частот, что означает, что за пределами некоторой полосы, ограниченной верхней частотой fв, амплитуды гармоник равны нулю, т. е. Uk — 0 при kw>2пfB.
В общем случае форма напряжения звукового сигнала не является периодической функцией времени и ее можно представить с помощью интеграла Фурье, являющегося распространением ряда Фурье на бесконечно большой период повторения функции. Для звуковых сигналов интервал между частотами гармоник стремится к нулю, и прерывистый спектр сигнала превращается в сплошной. А это значит, что напряжение звукового сигнала имеет непрерывный спектр.
На практике при анализе и испытаниях усилителей звуковой частоты (34) в установившемся режиме часто используют в качестве входного сигнала напряжение синусоидальной формы, что является весьма условной и грубой моделью реальных сигналов, оправданной только с точки зрения методической простоты. Такая идеализация дает практически удовлетворительные результаты для грубой оценки качества усилителей 34.
Виды искажений, вносимых усилителем ЗЧ. Основным качественным показателем усилителя ЗЧ является степень неискаженного воспроизведения сигналов на выходе, подведенных ко входу. Под искажением понимается всякое изменение формы сигнала на выходе uвых по сравнению с формой сигнала на входе uвх. В идеальном случае выходное напряжение должно быть точно такой же функцией времени, как и входное, т. е.
uвых(t) = Kвх(t).
где К — постоянный коэффициент, не зависящий от uвх и t.
Обычно при прохождении сигнала через усилитель всегда возможен сдвнв сигнала во времени М, что не является искажением сигнала. Тогда условие неискаженной работы усилителя имеет вид:
uвых(t) = Кuвх(t — Дt).
Для его выполнения необходимо, чтобы в усилителе отсутствовали линейные и нелинейные искажения.
Линейные искажения обусловлены влиянием реактивных элементов усилителя — конденсаторов и катушек, сопротивление которых зависит от частоты.
Эти искажения имеются и в линейном усилителе, например, при усилении очень слабых сигналов, когда нелинейность активных элементов усилителя можно не учитывать.
К линейньим искажениям относятся: частотные, фазовые и переходные искажения. Частотные искажения в усилителях являются следствием неодинаковости коэффициента усиления на различных частотах в пределах заданной полосы пропускания. Из-за них нарушаются реальные соотношения между амплитудами компонент сложного колебания, а это значит, что меняется энергетический спектр сигнала, искажается форма звукового сигнала, что приводит к значительному изменению тембра звука. При больших частотных искажениях звучание различных музыкальных инструментов теряет прозрачность, речь делается неразборчивой. Если коэффициент усиления на верхних частотах звукового диапазона больше чем на нижних, то передача становится ненатуральной: звук теряет свою сочность, тембр получается звенящим, металлическим. При сильном подъеме нижних частот тембр передачи становится глухим, все низкие ноты оказываются ненатурально подчеркнутыми. Для неискаженного воспроизведения колебаний звуковой частоты необходимо равномерно усиливать все частоты в пределах некоторой полосы.
Частотные искажения, вносимые усилителем, оценивают по амплитудно-частотной характеристике (АЧХ). Количественно они определяются нормированным коэффициентом усиления М (его часто называют коэффициентом частотных искажений), равным отношению коэффициента усиления на данной частоте K к коэффициенту усиления на средних частотах Ко:
М = К/К6.
В логарифмических единицах он равен G[дБ]=201gM.
Область АЧХ, в которой G практически не зависит от частоты (на рис. 4 от 200 Гц до 10 кГц), называют областью средних частот. Нижней fa и верхней fB граничными частотами называют такие, на которых G уменьшается до заданного (допустимого) значения GДOП относительно коэффициента усиления на средних частотах. Область частот от fн до fB — рабочий диапазон частот, или полоса пропускания усилителя.
Коэффициенты частотных искажений на низших GH и высших GB частотах:
Gн = 20 lg [К (fн)/Ko], GB = 20 Ig [K (fв)/K0]
В многокаскадном усилителе общий коэффициент частотных искажений на любой частоте равен сумме коэффициентов частотных искажений в отдельных каскадах:
G0БЩ=G1 + G2+... + GN.

Рис. 4. Амплитудно-частотная характеристика усилителя ЗЧ
Их взаимной коррекцией можно добиться, что усилитель в целом будет иметь идеально плоскую АЧХ.
На практике усилители 34, выполненные по большинству схем, имеют некоторый спад усиления в области нижних и верхних частот из-за наличия реактивных элементов и частотных свойств транзисторов. Степень линейных искажений усилителя 34 для отечественной бытовой аппаратуры задается по ГОСТ 24388 — 80. У лучших образцов усилительных узлов неравномерность АЧХ в диапазоне рабочих частот не должна превышать 0,5... 1,5 дБ. Для уменьшения линейных искажений диапазон рабочих частот усилителя выбирают шире диапазона частот, воспроизводимых акустическими системами.
Амплитудно-частотная характеристика усилителей на транзисторах в области верхних частот определяется емкостями эмиттерного и коллекторного переходов, в области нижних частот — емкостью разделительных и блокировочных конденсаторов. Чтобы расширить частотный диапазон в сторону верхних частот, либо уменьшают сопротивления на входе и выходе резистивного каскада» либо выбирают более высокочастотный транзистор. Диапазон усиливаемых частот может простираться до 100 кГц и более, что приводит к исчезающе малым линейным искажениям. Однако без специальных мер это обстоятельство приводит к таким нежелательным явлениям, как усиление низкочастотных помех (20... 100 кГц), создаваемых промышленными установками, генерация на высоких частотах, усиление остаточных напряжений ПЧ с детектора приемника и т. д. Появляются нелинейные искажения, вызываемые интерференцией звуковых и поднесущих частот при работе с тюнером или приемником.
Для борьбы с этими явлениями на входе усилителя включают специальные низкочастотные и высокочастотные фильтры.
Этим обеспечивается эффективное подавление составляющих фона, шумов и паразитных сигналов в той части диапазона, где отсутствуют составляющие полезного сигнала. Оптимальная крутизна спада у таких фильтров — 12 дБ на октаву. Фильтры часто делают переключаемыми, что позволяет выбирать ширину воспроизводимых частот в соответствии с качеством музыкальной программы. Искусственно ограничивать полосы отдельных ФУ, особенно усилителей мощности, нецелесообразно, так как это приведет к увеличению линейных искажений, особенно фазо-частотныя и переходных.
Фазовые искажения являются результатом вносимых усилителем фазовых сдвигов между различными частотными компонентами сложного звукового сигнала, вследствие чего искажается его форма. В качестве примера рассмотрим гармонический сигнал, состоящий из основной и третьей гармоник (рис. 5, а). Если в результате прохождения через усилитель третья гармоника получит сдвиг на 90° по отношению к первой, то, как видно из рис. 5,6, форма сигнала изменится. Если же и первая гармоника будет иметь сдвиг фазы 30° (рио. 5, в), то сигнал только сдвинется во времени, но форма его не изменится.
Фазо-частотные искажения будут отсутствовать, когда усилитель на всех частотах полосы пропускания не вносит фазовых сдвигов и если фазовый сдвиг, вносимый усилителем, пропорционален частоте сигнала.

Рис. 5. Искажения формы сложного сигнала при сдвиге фазы одной из его составляющих
Фазовые искажения в усилителе оценивают по фазо-частотной характеристике (ФЧХ). Эта характеристика представляет собой зависимость фазового сдвига Дф выходного напряжения (тока) относительно входного от частоты при действии на входе усилителя синусоидального сигнала.
Типичная ФЧХ усилителя изображена на рис. 6 непрерывной линией. При ДФ>0 выходное напряжение опережает входное, при Дф<0 — отстает. Не создающая искажений форма сигнала ФЧХ представляет собой линейную зависимость фазового сдвига от частоты:
ДФ(f)= — 2пt3(f — f0),
где ta — групповое время запаздывания.
Групповое время запаздывания представляет собой производную по частоте ФЧХ, т. е. t3=dф>(t)/(2пdf). При линейной ФЧХ все спектральные составляющие входного сигнала запаздывают на одинаковое время ta, что не вызывает искажения формы сигнала. Если ФЧХ нелинейна, то различные спектральные составляющие входного сигнала будут запаздывать на различное время, форма выходного сигнала исказится, верность воспроизведения музыкального произведения нарушится.
Количественной оценкой фазовых искажений служит нелинейность ФЧХ реального усилителя, равная разности между реальной ФЧХ усилителя и аппроксимирующей ее линейной функцией в рабочем диапазоне частот. Аппроксимировать ФЧХ удобнее ломаной линией, образованной прямолинейными отрезками (на рис. 6 отмечены цифрами 1, 2, 3).
Принято считать, что в широком диапазоне звуков человеческое ухо не реагирует на изменение фазовых соотношений между отдельными гармоническими составляющими спектра сигнала. Отчасти это верно при монофоническом воспроизведении. Однако в высококачественных стереофонических и особенно в квадрафонических системах фазо-частотные искажения существенно влияют на верность воспроизведения музыкальной программы, поэтому эти искажения должны быть нормированы. Следует отметить, что в активных псевдоквадрафонических системах эффект объемности звукового образа достигается формированием специальных фазовых характеристик усилителей тыловых каналов.

Рис. 6. Фазо-частотная характеристика усилителя ЗЧ
По абсолютному значению фазовых сдвигов на низшей Дфн и высшей Дфв частотах судят об устойчивости усилителей с глубокой обратной связью. В высококачественных усилителях звуковоспроизведения фазовые искажения бф в рабочем диапазоне частот не должны превышать 4... 5°. Расчеты показывают, чтобы нелинейность фазовой характеристики в пределах рабочего диапазона была меньше 2°, полосу пропускания усилителя нужно расширить в обе стороны в 2,5 раза, т. е. для усилителей высококачественного звуковоспроизведения, имеющих исчезающе малые фазовые искажения, полоса пропускания должна быть 8... 50 000 Гц.
Как отмечалось, реальный звуковой сигнал имеет сложную импульсную форму. В высококачественных усилителях требуется высокая верность сохранения формы входного сигнала. Изменение формы сигнала на выходе усилителя зависит как от амплитудно-частотных, так и фазо-частотных искажений. Ожидаемое изменение формы сигнала может быть легко определено анализом переходных процессов в цепях усилителя, обусловленных наличием реактивных элементов. Поэтому для количественной оценки искажений из-за переходных процессов, приводящих к изменению формы сигнала, удобно проанализировать переходную характеристику (ПХ) усилителя.
Переходная характеристика есть реакция h(t) усилителя на воздействие единичной функции 1 (t) (рис. 7) и представляет собой зависимость мгновенного значения выходного напряжения усилителя uвых(t) от времени при скачкообразном изменении напряжения на входе усилителя. Переходные искажения оцениваются искажениями фронта и плоской вершины импульса. Обычно в усилителях 34 искажения плоской вершины импульса можно не исследовать, так как они связаны с искажениями в низкочастотном участке сигнала, которые легко проанализировать по АЧХ усилителя. Искажения фронта импульса оценивают по его длительности tф и выбросу бф (см. рис. 7). Они приводят к динамическим искажениям, которые проявляются в виде завала фронта резких перепадов уровня реального музыкального сигнала и кратковременного возрастания нелинейных искажений в этот момент из-за запаздывания сигнала отрицательной обратной связи (ООС). Для уменьшения динамических искажений обычно повышают быстродействие усилителя и уменьшают глубину ООС.

Рис. 7. Переходная характеристика усилителя ЗЧ
Быстродействие усилителя можно оценить как по длительности фронта, так и по полосе пропускания или максимальной скорости нарастания выходного сигнала umax. Максимальная скорость нарастания для линейных систем связана с полосой пропускания (ее верхней границей) соотношением:
umаx = 2 п fmаx U0 mах,
где fmaх — максимальная частота, передаваемая усилителем без искажений; Uо mах — максимальная неискаженная амплитуда выходного синусоидального сигнала.
Однако оконечный усилитель очень редко можно считать достаточно близким к линейной системе, особенно на высоких частотах, поэтому ытах для усилителей мощности 34 оценивают по ПХ.
Значение «max определяют по ПХ (см. рис. 7) как максимальную производную h (t), т. е.

Чем больше скорость нарастания выходного напряжения, тем качественнее воспроизводится звуковая панорама. Характерное значение umax для высококачественных усилителей мощности составляет 8... 80 В/мкс. Именно такие усилители получают высокую оценку со стороны экспертов при определении качества звуковоспроизведения [2].
Выброс фронта бф (см. рис. 7) есть относительная разность между максимальным значением выходного напряжения Umax и его установившимся значением Uу:

Наличие выброса в ПХ приводит к «звонам», к «металлическому» звуку. В высококачественных усилителях выброс бф не должен превышать 4... 6%.
Между АЧХ, ФЧХ и ПХ усилителя существует сложная зависимость, связанная с тем, что все три характеристики обусловлены наличием одних и тех же реактивных элементов. Однако существующие графические методы, позволяющие по известным АЧХ и ФЧХ определить ПХ, довольно громоздки и не наглядны. На практике проще получить ПХ на экране осциллографа, при необходимости подкорректировать ее и оценить параметры.
Нелинейные искажения вызваны прохождением сигнала через элементы, имеющие нелинейные характеристики, например, через транзисторы, вследствие чего искажается форма колебания и меняется его спектральный состав. Поскольку усилитель вносит нелинейные искажения, то на его выходе появляются новые компоненты (гармоники), отсутствующие на входе, что вызывает искажение тембра звука. Количественной оценкой нелинейных искажений является коэффициент гармоник Кг:

где Рг — суммарная мощность гармоник; pi — мощность полезного сигнала.
Из всех гармоник наиболее интенсивны вторая и третья. Остальные имеют гораздо меньшую мощность и мало влияют на форму выходного сигнала.
Коэффициент гармоник многокаскадного усилителя обычно близок к сумме коэффициентов гармоник отдельных каскадов. Поэтому если нелинейные искажения в предварительных каскадах соизмеримы с искажениями в оконечном ка-
скаде, то общий коэффициент гармоник тракта звуковоспроизведения можно оценить по формуле:
Kр.общ = Kг1 + Kг2 + ...+ Kгn,
Однако коэффициент Кг дает неполное представление о нелинейных искажениях в усилителе, так как он не учитывает сигналы комбинационных частот, образующиеся в результате интерференции между отдельными составляющими сложного колебания. Наиболее заметны нелинейные искажения из-за комбинационных частот, возникающие при подаче на усилитель двух и большего числа синусоидальных сигналов. Особенно заметны комбинационные частоты вида f1 — f2, f1 — 2f2, 2f1 — f2, так как они, как правило, не содержатся в спектре даже сложного входного сигнала.
Для высококачественных усилителей часто вводят еще один показатель, характеризующий их нелинейность, — коэффициент интермодуляционных искажений Kим.и. При измерении Kим.и на вход усилителя подают два гармонических колебания с частотами: f1=50... 100 Гц и f2=5... 10 кГц при отношении амплитуд UBX(f1)/UBX(f2)=4/l. Коэффициент Kим., равен отношению амплитуды выходного напряжения разностной частоты fz — fi к амплитуде выходного напряжения частоты f1:

Допустимое значение Kим.и<0,1 ... 1%. Исследования авторов показывают, что Kим.и= (3... 5) Кг. Учитывая это и сложность измерения коэффициента интермодуляционных искажений, авторы не измеряли Kим.к в усилителях, схемы которых приведены в книге.
Нелинейные искажения значительно зависят от амплитуды подаваемого на вход сигнала. На рис. 8 показан характер зависимости коэффициента Kг от мощности на выходе усилителя. Эта кривая является основной характеристикой для оценки нелинейных искажений.
Она служит также для определения максимальной полезной мощности усилителя по заданному Kг.
Коэффициент гармоник задается, как правило, для большого уровня входного сигнала. Для транзисторных усилителей мощности характерно увеличение нелинейных искажений при весьма малых уровнях входного сигнала, что вызвано искажениями типа «ступенька» или «центральная отсечка». Поэтому для полной оценки качества усилителя целесообразно контролировать Кг также при малых уровнях входных сигналов. В устройствах, схемы которых даны в книге, коэффициент гармоник измерялся на малых уровнях входного сигнала при выходной мощности 50 мВт.

Рис. 8. Зависимость коэффициента нелинейных искажений от мощности на выходе усилителя ЗЧ
В основном нелинейные искажения возникают в оконечном и предоконечном каскадах. Для оконечных усилителей вносимые нелинейные искажения различны на разных частотах. В области граничных частот полосы пропускания они возрастают (при неизменной амплитуде входного сигнала). Это объясняется реактивным характером сопротивления нагрузки оконечных транзисторов и связанным с этим изменением формы динамической характеристики на крайних частотах полосы пропускания.
Допустимые нелинейные искажения зависят от назначения усилителя. Так, в усилителях 34, используемых в радиовещании и бытовой звуковоспроизводящей аппаратуре, коэффициент гармоник по ГОСТ 11157 — 74 должен составлять 1... 2%. В высококачественной профессиональной аппаратуре Kг<0,05%.
В последние годы резко улучшились параметры высококлассной звуковоспроизводящей аппаратуры. Особенно заметна тенденция к снижению нелинейных искажений. Появились усилители 34, у которых коэффициент Kг< 0,0005%. Достижение чрезвычайно малых нелинейных искажений связано с применением большого количества транзисторов с высоким коэффициентом усиления и установлением глубокой ООС. Последнее обстоятельство приводит к ухудшению динамических (скоростных) характеристик, заключающемуся в том, что резкий скачок напряжения на выходе запаздывает по отношению к вызывающему его скачку на входе.
Это приводит к «жесткому», «транзисторному» звучанию, исчезает мягкость, бархатистость звука при субъективном восприятии музыкальной программы.
Проблема заметности коэффициента гармоник в диапазоне 1... 0,0005% не имеет однозначного толкования. Можно лишь утверждать, что если получены малые нелинейные искажения, и они достигнуты не за счет ухудшения других параметров усилителя, то это говорит о совершенстве усилительного тракта.
Однако следует отметить, что испытание усилителей со сверхмалыми нелинейными искажениями предъявляет весьма высокие требования к нелинейным искажениям источника испытательных сигналов. Лучшие отечественные звуковые генераторы типа ГЗ-102 обеспечивают Кг не менее 0,05%, т. е. имеют тот же порядок, что и нелинейные искажения, вносимые самим усилителем. Разрешающая способность измерителей нелинейных искажений С6-5 также составляет от 0,02 до 0,03%. Поэтому точные измерения сверхмалых нелинейных искажений весьма затруднительны.
Для испытаний сверхлинейных усилителей следует пользоваться прецизионными звуковыми генераторами и анализаторами спектра. Хорошие результаты при оценке сверхмалых нелинейных искажений дает метод компенсации [4].
При испытании описанных в книге усилителей использовался генератор ГЗ-102, предварительно испытанный анализатором спектра и обеспечивающий Кг <0,02%, и измеритель нелинейных искажений С6-5 с разрешающей способностью 0,02%. Если иногда указывается значение Kг, меньшее или равное разрешающей способности измерений, то значит Кт усилителя и входного испытательного сигнала не отличались друг от друга.
При отсутствии сигнала на входе усилителя на его выходе действует некоторое (обычно небольшое) напряжение. Это напряжение обусловлено в оо« новном его собственными помехами, среди которых различают фон, наводки, микрофонный эффект, тепловые шумы резисторов и пассивных элементов в активными потерями, шумы усилительных элементов.
Фон обычно появляется в результате недостаточной фильтрации пульсирующего напряжения источника питания, работающего от сети переменного тока.
Гармонические составляющие фона кратны частоте питающей сети.
Наводки образуются из-за паразитных электрических, магнитных, гальванических или электромагнитных связей цепей усилителя с источниками помех.
Микрофонный эффект представляет собой результат преобразования механических колебаний элементов усилителя в электрические, проходящие на выход усилителя. Спектр этих колебаний занимает диапазон 0,1 — 10000 Гц. Он заметно проявляется у интегральных усилителей с большим коэффициентом усиления, выполненных на одной подложке. Чтобы устранить его, используют рациональную конструкцию элементов усилителя, более надежное их крепление, демпфирование, применяют амортизирующие устройства.
Тепловые шумы обусловлены тепловым беспорядочным (случайным) движением в объеме проводника (или полупроводника) свободных носителей зарядов (например, электронов). В результате на концах проводника, обладающего некоторым сопротивлением, действует случайная, флуктуационная ЭДС, называемая ЭДС шума Еш. Поскольку она периодическая функция времени, то ее спектр является сплошным и практически равномерным в диапазоне частот от нуля до сотен мегагерц. Шум с подобным спектром называют белым.
Фон, наводки и микрофонный эффект в усилителе можно, в принципе, уменьшить до любых заданных значений. Тепловые же шумы и шумы усилительных элементов принципиально неустранимы. Обычно удается лишь минимизировать долю шумов, создаваемых усилительными элементами [5]. Практические способы подавления помех и снижения шумов в усилителях 34 будут описаны далее.
Шумовые свойства высококачественных усилителей оценивают отношением сигнал-шум. Под этой величиной понимают отношение выходного напряжения сигнала при номинальной выходной мощности усилителя РНом к суммарному напряжению шумов на выходе. Обычно его выражают в децибелах. В усилителях высшего класса отношение сигнал-шум достигает 60... 110 дБ.
Динамический диапазон усилителя — это отношение максимального и минимального входного сигнала усилителя при заданном уровне Kг:
Dу = Uвх max/Uвх min.
Для высококачественного усилителя максимальное значение входного сигнала ограничивается нелинейностью амплитудной характеристики и принимается рав-вым номинальному входному напряжению Uвх.ном, обеспечивающему номинала ную выходную мощность усилителя при заданном коэффициенте гармоник, т. е.
Uвх max= Uвх.ном.
Минимальное входное напряжение UВх min должно выбираться таким образом, чтобы собственные помехи и шумы усилителя не маскировали выходной сигнал.
В предельном случае основными помехами в усилителе являются шумы, при этом
Uвх min = Kп UZ ш.вх, где Kn = UBxmin/UZш.вх>1 — коэффициент помехозащищенности.
Отсюда динамический диапазон усилителя
Dу = Uвх.ном/(KпUZ ш.вх).
Видно, что отношение сигнал-шум, равное UВх.ном/UZш-В1, определяет достижимый динамический диапазон усилителя. Динамический диапазон является важным техническим показателем усилителя и обычно задается ГОСТ. Для лучших высококачественных усилителей Dy>110 дБ. Источники звуковых сигналов имеют собственный динамический диапазон, равный отношению максимального Eи max и минимального Ел min ЭДС источника сигнала; DС=ЕИ mах/Eи min и в логарифмических единицах Dc [дБ] = 201gDc.
Динамический диапазон звучания симфонического оркестра может превышать 80 дБ, художественного чтения — 30 дБ.
Для усиления сигнала с допустимыми нелинейными искажениями и помехозащищенностью необходимо, чтобы Dy>Dc.
Для увеличения динамического диапазона усилителя необходимо уменьшать уровень собственных помех, использовать усилительные элементы с более линейной характеристикой (применить высоковольтные мощные выходные транзисторы) и применять ручную или автоматическую регулировку усиления.
В приведенных в книге показателях для динамического диапазона коэффициент помехозащищенности Kп принят равным единице. Поэтому в технических характеристиках описанных функциональных узлов приводятся только значения отношения сигнал-шум.
Принципиальная ехема упращенного варианта усилителя мощности класса В
В данном усилителе используются те же схемотехнические решения, что и в предыдущем (см. рис. 79). Принципиальная схема усилителя приведена на рис= 82. Он состоит из предварительного усилителя (DAI, VT1 — VT4), работающего в режиме А, и выходного каскада (VT5, VT6), работающего в режиме В. Мост образуют детали RIO, Rll, R12, СП, L1. Устройство работает аналогично пре? дыдущему.Печатная плата усилителя приведена на рис, 83. Транзисторы VT3 — VT6 установлены на общем теплоотводе через слюдяные прокладки.
Катушка L1 намотана проводом ПЭВ-2 1,0 на каркасе диаметром 7 мм виток к витку в два слоя и содержит 40 витков.
Налаживание усилителя, правильно смонтированного из исправных элементов, заключается в подстройке моета подбором конденсатора СИ по минимуму нелинейных искажений. Для литания усилителя можно использовать двухпо-лярный источник, обеспечивающий при напряжении ±17 В ток не менее 1 А„ Амплитудно-частотная и фазо-частотная характеристики налаженного усилителя приведены на рис. 84,

Рис. 83. Печатная (а) и монтажная (б) платы упрощенного варианта усилителя мощности класса В

Рис. 84. Амплитудно-частотная и фазо-частотная характеристики упрощенного варианта усилителя мощности класса В
Усилитель мощности, выполненный по мостовой схеме, Он имеет выходную мощность 60 Вт при однополярном источнике питания напряжением +40 В.
Получение большой выходной мощности связано с рядом трудностей, одной из которых является ограничение напряжения источника питания, вызванного тем, что ассортимент высоковольтных мощных транзисторов пока еще довольно невелик. Одним из способов увеличения выходной мощности является последовательно-параллельное включение однотипных транзисторов, но это вызывает усложнение конструкции усилителя и его настройку. Между тем имеется способ увеличения выходной мощности, позволяющий избежать применение трудно-доступных элементов и не увеличивать напряжение источника питания. Этот способ заключается в использовании двух одинаковых усилителей мощности, включенных так, что входной сигнал подается на их входы в противофазе, э нагрузка включена непосредственно между выходами усилителей (мостовая ехека включения усилителей).

Рис. 85. Принципиальная схема усилителя мощности, выполненнвго по мостовой схеме
Усилитель мощности, выполненный по такой мостовой схеме, имеет следующие основные технические характеристики:
Номинальная выходная мощность ....... 60 Вт
Коэффициент гармоник....... 0,5%
Полоса рабочих частот .......... 10... 25000 Гц
Напряжение питания ......... +40 В
Ток покоя....... . 50 мА
Принципиальная схема такого усилителя приведена на рис. 85. Он состоит яз двух однотипных усилителей, аналогичных описанному на рис. 66. Изменение фазы входного сигнала достигается подачей его на инвентирующий вход одного и на иеинвертирующий вход другого усилителей. Нагрузка включена непосредственно между выходами усилителей.
Усилитель смонтирован на печатной плате, показанной на рис. 86. Чтобы обеспечить температурную стабилизацию тока покоя выходных транзисторов, на общий с ними тетлоотвод размещены диоды VD1 — VD4.


Рис. 86. Печатная (а, б) и монтажная (в) платы усилителя мощности, выполненной по мостовой схеме
Перед включением проверяют правильность монтажа и соединений усилителя. После подключения источника питания резистором R14 устанавливают между выходами усилителя напряжение не более 0,5 В. Амплитудно-частотная и фазо-частотная характеристики отрегулированного усилителя приведены на рис. 87.

Рис. 87. Амплитудно-частотная и фазо-частотная характеристики усилителя мощности, выполненной по мостовой схеме
Принципиальная схема цифрового регулятора громкости
Собственно электронный переключатель выполнен на микросхемах DD1, DD2 и DA1. Управляется он цифровой частью на микросхемах DD3 — DD9. Переключатель состоит из двух секций: одной (на микросхеме DD2 и резисторах R13 — R16) на четыре положения с шагом 2 дБ, второй (на микросхеме DD1 и резисторах R3 — R10) на восемь положений с шагом 8 дБ. Между ним» установлен развязывающий усилитель на микросхеме DA1.1 с коэффициентом передачи около 1. Такое построение позволяет создать переключатель на 32 положения, используя всего 12 резисторов делителя. Состояние секций переключателя определяется пятиразрядным кодом, вырабатываемым цифровым узлом управления, собранным на микросхемах DD3 — DD9.Узел управления содержит задающий генератор (на элементах DD 3,3, DD 3.4, DD 5.2), вырабатывающий сигнал с частотой около 4 Гц, и реверсивный счетчик (DD4.1, DD9), вырабатывающий пятиразрядный код управления.
Элементы DD6.2, DD6.3, DD8.1, DD 8.2, DD5.3, DD3.5, DD3.6, DD7.1 — DD 7.3 обеспечивают реверсирование счетчика и ограничение счета снизу и сверху. Элементы DD6.1, DD 3.2, DD5.1, DD 5.2 необходимы, чтобы задающий генератор работал при нажатии любой из кнопок SB1 или SB2. Триггер DD4.2 устраняет дребезг их контактов. С помощью кнопок SB3 — SB6 делают предварительную установку счетчика DD9 и тем самым задают любой начальный уровень громкости. Элемент DD 3.1 совместно с резисторами Rl, R2 и конденсатором С1 формирует импульс установки счетчика в нулевое состояние.
Особенностью регулятора является то, что при разомкнутых контактах кнопок SB1 и SB2 весь электронный переключатель находится в статическом положении и не вносит в усиливаемый аналоговый сигнал дополнительных помех. Это позволяет монтировать аналоговую и цифровую части регулятора на одной плате.
Узел управления общий для двух каналов. Стереобаланса добиваются изменением усиления выходного каскада в селекторе входных сигналов (см, рис. 13). Если сделать цифровое управление раздельным для левого и правого каналов, то баланс устанавливают раздельной регулировкой громкости.
Регулятор смонтирован на унифицированной монтажной плате с применением переходных панелей для микросхем серии К564. В устройстве использованы резисторы МЛТ-0,25 (с точностью 5% в делителе и 10% — остальные) и конденсаторы КМ-4, КМ-5, К53-1. В качестве кнопок SB1, SB2 можно применять переключатели без фиксации любого типа (например МП-3), вместо SB3 — SB6 — переключатели любого типа с фиксацией.
Учитывая сложность устройства, необходимо обратить внимание на правильность монтажа. Для проверки работоспособности регулятора необходим стабилизированный источник питания с напряжением 15 В и током не менее 30 мА. Напряжение 7,5 В берется с селектора входных сигналов (см. рис. 13). Налаживание устройства состоит в попарном подборе резисторов делителя R3 — R10 и R13 — R16.
Принципиальная схема корректора на дискретных элементах по схемотехнике ОУ
При испытаниях усилителя следует использовать двухполярный стабилизированный источник питания с выходным напряжением ±15 В. Если монтаж выполнен правильно и элементы исправны, устройство работает без настройки и обеспечивает приведенные характеристики.
Рис. 28. Печатная (а) и монтажная (б) платы корректора на дискретных элементах по схемотехнике ОУ
Высококачественный корректор на усилителе с параллельной обратной связью. Известно, что применение параллельной обратной связи по напряжению формирует источник напряжения (выходное полное сопротивление которого близко к нулю). Это позволяет строить усилитель с хорошими нагрузочными характеристиками. Следует отметить, что усилитель с параллельной ОС также имеет лучшую, по сравнению с последовательной, переходную характеристику. Корректоры, построенные на базе усилителей с параллельной ОС, при простых схемных решениях позволяют получить довольно высокие технические характеристики.
Высококачественный корректор на усилителе с параллельной обратной связью имеет следующие основные технические характеристики:
Максимальное входное напряжение . ....... 40 мВ
Максимальное выходное напряжение........ 4В
Перегрузочная способность .......... 24 дБ
Коэффициент усиления на частоте 1 кГц....... 100
Отклонение АЧХ от стандартной......... ±0,5 дБ
Отношение сигнал-шум (невзвешенное) . . . . . . . 70 дБ
Коэффициент гармоник, не более ......... 0,01%
Напряжение питания............ ±15 В
Ток потребления.............. 10 мА
На рис. 29 приведена схема этого корректора. Он состоит из входного каскада на транзисторах VT1 — VT3 и двухтактного выходного каскада (транзисторы VT4 — VT7), работающего в режиме А. Входной каскад для получения максимального усиления выполнен по каскодной схеме на транзисторах VT2, VT3, с источником тока на полевом транзисторе VT1 в качестве его нагрузки. Усиление такого каскада на частоте 100 Гц составляет около 50 000, что дает возможность вводить глубокую ООС, уменьшающую искажение сигнала. Для согласования с нагрузкой используется двухтактный выходной каскад (транзисторы VT4, VT6 и VT5, VT7). Выходная мощность каскада оказывается достаточной для непосредственного подключения головных телефонов. В данном случае в качестве нагрузки можно использовать высокоомные головные телефоны, например, ТДС-5. В этом случае уровень громкости регулируют резистором R15. Необходимую частотную характеристику формируют цепи R5C5 и R8C6.

Принципиальная схема корректора с параллельной обратной связью
Печатная плата корректора (рис. 30) рассчитана на монтаж двух корректоров. Резисторы R2 и R11 — СПЗ-22, R15 — СПЗ-12а с экспоненциальной зависимостью сопротивления от угла поворота движка.Первоначально, устанавливая резистором R11 на положительной обкладке конденсатора С8 напряжение +7,5 В, необходимо сбалансировать корректор, Затем резистором R2 нужно добиться, чтобы коллекторный ток выходных транзисторов был равен 10 мА. После этого повторно проверить баланс и, если необходимо, вновь подстроить К.11. На этом налаживание заканчивается. Для питания корректоров во время налаживания следует использовать стабилизированный источник, обеспечивающий при напряжении 15 В ток не менее 100 мА.

Рис. 30. Печатная (а) и монтажная (б) платы усилителя с параллельной обратной связью.
Принципиальная схема квадрапреобразователя на транзисторах
В нее входят делители, составленные из резисторов Rl — R3, которые служат для выравнивания уровня входных сигналов в режиме «Моно», и прецизионный делитель из резисторов R4 — R11, R16, R18, R20, R21, R23 и усилители DA1 — DA4, обеспечивающие точное суммирование и вычитание сигналов.Режимы работы декодера выбирают переключателями SB1 («Стерео») я 5В2 (ABC). При одновременном нажатии кнопок SB1 и SB2 декодер работает в режиме «Объемное стерео». Резисторы R17, R19, R22, R24 защищают ОУ от токовых перегрузок.
Для монтажа декодера используется унифицированная плата. В нем применены кнопочные переключатели П2К с зависимой фиксацией, переменные резисторы СПЗ-12 или СПЗ-4 (R2), постоянные МЛТ-0,25. Вместо указанных на схеме можно использовать любые ОУ Общего применения с соответствующими цепями коррекции.

Рис. 65. Принципиальная схема квадрапреобразователя системы ABC
Налаживание декодера заключается в точном подборе (не хуже 1%) резисторов R4 — Rll, R16, R18, R20, R21, R23 и в проверке правильности монтажа. Узел необходимо питать от стабилизированного двухполярного источника напряжением ±15 В и током не менее 40 мА.
Принципиальная схема одиннадцатиполосного эквалайзера
Для монтажа микросхем DA1 используются переходные печатные платы (рис. 59), которые затем размещают на плате полосовых фильтров (рис. 60). Это позволяет без изменений на основной плате фильтров применять различные типы микросхем со своими цепями коррекции. На каждой переходной плате устанавливают по два ОУ.На отдельной печатной плате (рис. 61) смонтированы регулировочные резисторы R4 (СПЗ-22). Применение этого типа резисторов объясняется тем, что эквалайзер будет находиться внутри корпуса усилителя и, будучи настроенным для конкретных помещения и акустической системы постоянно, не перестраивается. Для изменения тембра звучания предполагается использование обычной регулировки тембра, которая вводится в предварительный усилитель. Низкое выходное сопротивление фильтров позволяет установить обычные движковые или осевые переменные резисторы на некотором расстоянии от платы фильтров без опасения ухудшения работы из-за наводок.
Помимо указанных на схеме микросхем можно использовать любые ОУ общего применения с соответствующими цепями коррекции. Номиналы конденсаторов фильтров приведены в табл. 3. Конденсаторы должны иметь точность не хуже 5%, резисторы — не хуже 2%. Для упрощения настройки часть емкостей фильтров составлена из двух конденсаторов.
Налаживание собранного из исправных деталей узла сводится к проверке его работоспособности. Необходимо тщательно проверить отсутствие самовозбуждения устройства во всех положениях органов регулирования тембра. Эквалайзер питается от стабилизированного двухполярного источника напряжением ±15 В, обеспечивающего ток в нагрузке не менее 250 мА.

Рис. 59. Печатная (а) и монтажная (б) переходные платы одиннадцатиполосного эквалайзера

Рис. 60. Печатная (а) и мотажная (б) платы полосовых фильтров одиннадцатиполосного эквалайзера

Рис. 61. Печатная (а) и монтажная (б) платы регулировочных резисторов одиннадцатиполосного эквалайзера
Параметрический эквалайзер на ОУ К153УД2 (рис. 62).
Он имеет следующие основные технические характеристики:
Номинальное входное напряжение...... 0,8 В
Количество частот регулирования ...... 2
Частоты регулирования......... 40 ... 1200 и
1200... 15000 Гц
Пределы регулирования АЧХ....... ±16 дБ
Пределы регулирования ширины полосы пропускания
фильтров ............. 0,3... 3,6 октавы
Коэффициент гармоник в диапазоне частот 20...
...20000 Гц, не более......... 0,1%
Перегрузочная способность, не менее..... 10 дБ
Отношение сигнал-шум (невзвешенное), не менее . . 70 дБ
Входное сопротивление......... 20 кОм
Выходное сопротивление......... 1 кОм
Напряжение питания.......... ±15 В
Ток потребления.........-. . 120 ±.10 мА
Точность регулирования АЧХ звукового тракта при использовании много-полосного эквалайзера значительно повышается при увеличении числа частотных полос, в которых производится раздельная коррекция. Однако в результате этого он становится довольно сложным и дорогим узлом звуковоспроизводящего тракта.
Принципиальная схема порогового шумоподавителя на микросхемах
Принципиальная схема этого шумоподавителя приведена на рис. 46. Шу-моподавитель состоит из управляемого делителя, выполненного на резисторе КЗ и транзисторе VT1, устройства управления на микросхеме DA1 и согласующего каскада на микросхеме DA2. Шумоподавитель включается кнопкой SB1. При превышении входным сигналом порога, устанавливаемого резистором R4t на конденсаторе С5 появляется напряжение, закрывающее транзистор VTL При этом входной сигнал поступает на выход устройства без ослабления. В паузе или когда уровень сигнала меньше, чем порог срабатывания, напряжение на С5 становится положительным (определяется делителем R8, R9), транзистор VT1 открывается и коэффициент передачи уменьшается. Значение коэффициента передачи определяется соотношением сопротивлений резистора R3 и канала сток — исток VT1.Для монтажа шумоподавителя использована унифицированная плата. В ней применяют резисторы типов МЛТ-0,25, СПЗ-22, конденсаторы КМ-4, КМ-6, Кнопка SB1 — П2К с независимой фиксацией или любой переключатель на два положения. Вместо указанных на схеме ОУ можно использовать и другие ОУ общего применения со своими цепями коррекции, например, К153УД1 К140УД7 КНОУД8.
Налаживание шумоподавителя состоит в проверке правильности монтажа. Для работы устройства необходим стабилизированный двухполярный источник питания напряжением ±15 В и током не менее 15 мА. Порог шумоподавления устанавливают при подаче на вход сигнала частотой 1 кГц и уровнем около 8 мВ ( — 40 дБ относительно 0,8 В). Движок резистора R4 должен находиться в таком положении, чтобы при входном сигнале уровнем — 40 дБ напряжение на выходе было равно нулю, а при увеличении входного сигнала на 3 дБ напряжение на выходе шумоподавителя появлялось.
Регулятор смонтирован на унифицированной монтажной
Регулятор смонтирован на унифицированной монтажной плате методом объемного монтажа. Резисторы R3, R5 могут быть любого типа с линейной зависимостью (типа А), остальные — МЛТ-0,25, конденсаторы — КМб. Кроме микросхемы К153УД2 можно использовать К153УД1, К140УД7, К140УД8 и другие Q соответствующими цепями коррекции.Для питания темброблока можно использовать любой стабилизированный Двухполярный источник напряжения ±15 В, обеспечивающий ток в нагрузке не менее 20 мА. Перед настройкой проверяют правильность монтажа схемы. Затем подбором конденсаторов С5 и С6 устраняют возможное самовозбуждение узла при крайних положениях регуляторов тембра.
Регулятор тембра с использованием переключателя типа П2К. Как уже отмечалось, усилитель, построенный на дискретных компонентах, использующих схемотехнику ОУ, можно с успехом использовать для построения различных уз-лов звукового усилителя. В качестве примера здесь показано применение усилительного модуля в регуляторе тембра.
Регулятор тембра, рис. 48, имеет следующие основные технические характеристики:
Номинальное входное напряжение......... 0,8 В
Коэффициент передачи на частоте 1 кГц....... 1
Пределы регулирования тембра на частоте, Гц:
100................. ±12 дБ
10000................ ±12 дБ
Перегрузочная способность (относительно уровня 12 дБ), не менее 10 дБ
Коэффициент гармоник в диапазоне частот 20...20 000 Гц, не более 0,05%
Отношение сигнал-шум (невзвешенное), не менее .... 70 дБ
Входное сопротивление ............ 47 кОм
Выходное сопротивление........... 1 кОм
Напряжение питания........... . ±15 В
Ток потребления.............. 20 мА
Схема модуля А1 (рис. 49,а) аналогична использованной в корректоре (рис. 27). Транзисторы VT1 и VT4 образуют дифференциальную пару, в эмиттерную цепь которых включен стабилизатор тока на транзисторе VT3. Такое построение позволяет получить хорошую изоляцию входного каскада от источника питания и эксплуатировать транзисторы VT1 и VT4 в их оптимальной малошумящей области.
Применением активной нагрузки (транзистор VT2) достигается боль шое усиление входного каскада. Эмиттерный повторитель (транзистор VT5) согласует входной и выходной каскады. Выходной каскад (транзистор VT6) работает в режиме А на активную нагрузку, являющуюся стабилизатором тока (транзистор VT7). Это обеспечивает максимальное усиление и улучшает линейность выходного каскада. Работа регулятора тембра с использованием этого усилительного модуля поясняется упрощенной схемой, приведенной на рис. 49,6.

Рис. 48. Принципиальная схема регулятора тембра о использованием переключателя типа П2К
Как видно из рисунка, устройство представляет собой усилитель, охваченный параллельной ООС. Одна цепь обратной связи включена между инвертирующим входом С и общим проводом, другая — между выходом В и входом С. Отношение сопротивлений этих участков определяет усиление схемы по переменному току. Поскольку компоненты цепи обратной связи построены на реактивных элементах, то АЧХ усилителя оказывается частотно-зависимой. Изменяя номиналы реактивных элементов, можно легко управлять подъемом или спадом усиления на низких и высоких звуковых частотах. Полная схема регулятора тембра показана на рис. 48. Подсоединяя переключателями SB1 («Низкие») и SB2 («Высокие») различные RC цепи в цепь обратной связи, можно регулировать усиление модуля и тем самым корректировать АЧХ усилителя.
Элементы RC -цепей выбраны таким образом, чтобы шаг регулирования составлял 4 дБ с максимальным пределом регулирования ±12 дБ. Если кнопки SB1 и SB2 отжаты, усиление темброблока определяется номиналами элементов R7, С7, R14, С14 (R1, С1 и R2, С2 на рис. 49,6) и равно примерно 10. При этом АЧХ усилителя равномерна в рабочем диапазоне частот. Регулятор R15 позволяет согласовать выход регулятора тембра (по уровню) с входом усилителя мощности.

Рис. 49. Принципиальная схема усилительного модуля А1 (а) и упрощенная схема регулятора тембра (б)
Два канала регулятора тембра собраны на печатных платах, показанных на рис. 50 — 52.
На рис. 60 приведены печатная плата усилительного модуля. Для стереофонического усилителя необходимо изготовить два таких модуля. При монтаже узла использованы резисторы МЛТ-0,25, конденсаторы КМ-5, КМ-6 и К50-6. В качестве переключателей SB1 и SB2 применены два блока коммутаторов П2К (каждый из шести переключателей) с зависимой фиксацией, установленных с шагом 15 мм.
После распайки всех элементов собирают узел регулировки тембра. Платы с усилительными модулями устанавливают взаимно перпендикулярно на плате (рис. 52) со стороны элементов и соединяют соответствующие точки одножильным проводом ММ или МШВ диаметром 0,8... 1 мм. Платы с кнопками (рис. 51 и рис. 52) располагают параллельно на расстоянии примерно 50... 60 мм (в зависимости от конструкции всего усилителя) и соединяют таким же проводом одноименные точки 1 — 6.
Как правило, при исправных деталях и правильно выполненном монтаже, темброблок работает без настройки. При необходимости резистором R15 можно установить желаемый уровень сигнала на выходе. Для питания узла можно использовать любой стабилизированный двухполярный источник напряжением ±15 B, обеспечивающий ток в нагрузке не менее 20 мА.

Рис. 50. Печатная (а) и монтажная (б) платы усилительного модуля
Простой пятиполосный эквалайзер на двух ОУ К153УД2 с минимальным числом компонентов. Обычные двухполосные регуляторы тембра не позволяют выделить или лодавить узкую полосу частот. Кроме того, обычно точки регулировки высоких и низких частот в таких регуляторах берутея вблизи Г2 кГц и 60 Гц, что не позволяет эффективно влиять иа область частот от 200 Гц до 5 кГц. Значительно большие возможности у многополосных регуляторов тембра или эквалайзеров («выравнивателей» частотной характеристики). Как правило, эквалайзеры строят по принципу разделения всей полосы пропускаемых частот на несколько (от четырех до 30) полос на базе совокупности активных узко-полосных фильтров, сигнал с выхода которых объединяет суммирующий усили-тель. Это обусловливает относительно высокие затраты, так как для качественных фильтров необходимы высокоточные компоненты.

Рис. 51. Печатная (а) и монтажная (б) платы высокочастотного модуля регулятора тембра
На рис. 53 показана схема простого эквалайзера, имеющего при небольшом количестве элементов довольно высокие качественные показатели. Уменьшение количества элементов достигается тем, что в цепь обратной связи обычного двухполосного регулятора тембра на ОУ DA2 включены дополнительно три RC цепи с частотно-избирательными свойствами. Области частот, в которых регулируется АЧХ, определяются параметрами RC цепей, включенных в петлю ООС, охватывающей ОУ DA2.
Он имеет следующие оеновные технические характеристики:
Номинальное входное напряжение....... 0,2 В
Количество частот регулирования....... 5
Частоты регулирования.......... 40, 200, 1000,
4500, 16000 Гц
Пределы регулирования АЧХ........ ±15 дБ
Коэффициент гармоник в диапазоне частот 20 ... 20 000 Гц 0,1%
Перегрузочная способность, не менее ...... 10 дБ
Отношение сигнал-шум (невзвешенное)...... 70 дБ
Входное сопротивление.......... 30 кОм
Выходное сопротивление.......... 1 кОм
Напряжение питания....... .... ±15 В
Ток потребления............ 30 мА

Принципиальная схема селектора с управлением на цифровых микросхемах
Простой селектор с управлением на цифровых микросхемах. На рис. 11 показана схема простого селектора, в которой в качестве аналогового переключателя используются, как наиболее доступные, электромагнитные реле К1 — К4. Узел управления ими выполнен на микросхемах DD1 — DD7 (цифровой переключатель).Собственно цифровой переключатель управляется кнопками SB! — SB4 (например, КМ-1). Если переключатель SB5 находится в левом по схеме положении, то он выполняет функции переключателя с зависимой фиксацией, если в противоположном — то с независимой фиксацией. В первом случае импульс общего сброса, поступающий на вход R триггеров на микросхемах DD5, DD6, формируется одновибратором DD7 при нажатии любой из кнопок SB1 — SB4. Длительность этого импульса значительно меньше времени нажатия на кнопку. Этим достигается то, что вначале все триггеры (DD5, DD6) устанавливаются в нулевое состояние, а затем один из них, соответствующий нажатой кнопке, переводится в единичное. Во втором случае импульс сброса блокируется, и каждый триггер переключается при каждом нажатии связанной с ним кнопки.

Рис. 12. Принципиальная схема цифрового селектора входных сигналов на интегральных аналоговых коммутаторах
Для устранения дребезга контактов SB1 — SB4 используется цепь, состоящая из резистора R6, конденсатора С1 и микросхемы DD7. Светодиоды НЫ — HL4 индицируют, какой из четырех каналов включен. Число каналов при желании может быть увеличено. В качестве исполнительного устройства используются реле РЭС55А (паспорт РС4.569.600-02), подключенные к прямым выходам триггеров через инвертирующий усилитель на микросхемах DD8, DD9. Если его выполнить на дискретных элементах (например, на транзисторе КТ315), то можно будет использовать реле других типов, например РЭС10, РЭС15, РЭС22. Вместо двух микросхем К155ТМ2 можно использовать одну К155ТМ8, содержащую четыре D-триггера.
Для нормальной работы селектора в цепь питания микросхем включены конденсаторы С4 — С7 (КМ-5, К.М-6) емкостью 0,022 ... 0,047 мк (по одному на каждые две из них).

Рис. 13. Принципиальная схема цифрового селектора входных сигналов на муль-типлексерах КМОП структуры
Цифровой селектор входных сигналов на интегральных аналоговых коммутаторах. На базе цифровых микросхем МОП-структуры оказалось возможным изготовить не только узел управления селектором, но и переключатель аналоговых сигналов, например на микросхеме К176КТ1. На рис. 12 приведена схема одного канала селектора входных сигналов на аналоговых коммутаторах. Он имеет следующие основные технические характеристики:
Число положений............ 4
Максимальная амплитуда коммутируемого сигнала . . 4,5 В
Полоса частот . . .......... 20... 30 000 Гц
Коэффициент гармоник в полосе частот 20 Гц... 20 кГц 0,2%
Напряжение питания........... -9В
Микросхема К176КТ1 содержит четыре аналоговых ключа DD2.1 — DD2.4, каждый из которых содержит аналоговый вход А, выход и вход С цифрового управления. Аналоговый сигнал можно подавать в любую сторону, т. е. как с входа на выход, так и с выхода на вход.
Ключ имеет два рабочих положения, зависящих от уровня управляющего напряжения на входе С. При подаче на вход С напряжения низкого уровня (лог. 0) он разомкнут. При этом сопротивление между входным и выходным выводами обычно более 10 МОм, а ток утечки между ними не превышает 2 мкА. Емкость разомкнутых контактов составляет примерно 0,2 пФ. Когда на вход С поступает напряжение высокого уровня :(лог. 1), ключ переходит во включенное состояние. При этом сопротивление замкнутого ключа составляет примерно 300 Ом. Это значение нелинейно изменяется в зависимости от амплитуды входного напряжения. При напряжении сигнала, близком к нулю, она минимальна, а при напряжении сигнала, близком к половине напряжения питания, — максимальна. Нелинейные искажения получаются минимальными, когда диапазон изменений сопротивлений ключа значительно меньше сопротивления нагрузки, которое должно быть не менее 100 кОм. При использовании микросхемы К176КТ1 необходимо, чтобы уровень входного сигнала не превышал напряжения источника питания, иначе резко возрастут нелинейные искажения.
В данном случае при питании от однополярного источника напряжением 9 В нужное смещение на входах создается с помощью стабилитрона VD1. Состояние аналогового переключателя DD2 определяется двумя RS триггерами DD3, которые управляются с помощью кнопочных переключателей SB1 — SB4 через шифратор на элементах DD1.1 — DD1.4. Состояние триггеров дешифрируется микросхемой DD4. В зависимости от нажатой кнопки на одном из выходов DD4 появляется напряжение высокого уровня, которое подается на вход С соответствующего ключа, и он открывается. При подаче напряжения питания конденсатор С1 закорачивает кнопку SB4, и селектор коммутирует вход 4. Подключенный вход индицируется одним из четырех светодиодов HL1 — HL4.
При монтаже микросхем серии КД76 следует обратить внимание, чтобы свободные информационные входы были соединены или с задействованными входами того же элемента или с одной из шин питания согласно логике работы микросхемы. Кроме того, необходимо соблюдать меры предосторожности для исключения случайного пробоя микросхемы статическим электричеством. Напряжение питания в устройстве с использованием микросхем серии К176 должно соответствовать напряжению входного сигнала.
Цифровой селектор входных сигналов на мультиплексерах КМОП структуры. В составе КМОП микросхем ряда серий, например, К564, есть мульти-плексер аналоговых и цифровых сигналов (К564КП1). Применение его в качестве переключателя аналоговых сигналов позволяет заметно улучшить параметры селектора входных сигналов. Схема одного канала селектора приведена на рис. 13. Он имеет следующие основные технические характеристики:
Число положений............ 4
Максимальная амплитуда коммутируемого сигнала . . 7,5 В
Полоса частот............ 20 ... 40 000 Гц
Коэффициент гармоник в полосе частот 20 Гц... 20 кГц 0,1%
Напряжение питания........... 15 В
Как видно из рис. 13, узел цифрового управления аналогичен примененному в предыдущем селекторе (ом. рис. 12).
Двоичный код сигнала, управляющего мультиплексером DD1, снимается с выходов RS триггеров на элементах DD3.1 — DD3.4. В зависимости от кода на входах Al, A2 микросхемы DD1 к ее выходу (вывод 3) подключается один из входов. Чтобы обеспечить нужный режим работы мультиплексера по постоянному току, на входы 0 — 3 через резисторы R5 — R8 подано напряжение со стабилизатора на стабилитроне VD1. Для развязки по постоянному току на входах селектора включены конденсаторы С1 — С4.
Микросхемы серии К564 имеют защиту от статических зарядов. Для дополнительной защиты на входах установлены резисторы Rl — R4. Для лучшего согласования сигнал с выхода мультиплексера на последующие каскады поступает через развязывающий каскад на операционном усилителе DA1. Его усиление в пределах 5 — 10 раз можно регулировать подстроечным резистором R11.
ПРЕДУСИЛИТЕЛИ-КОРРЕКТОРЫ
ДЛЯ МАГНИТНОГО ЗВУКОСНИМАТЕЛЯ
Граммофонные пластинки в настоящее время являются одним из основных носителей высококачественной звуковой информации. Их качество звучания в большой степени зависит от технических показателей предварительного тракта воспроизведения. Одним из основных качественных показателей тракта является АЧХ. В электрофонах высшего класса АЧХ должна быть равномерной в диапазоне частот 20... 20 000 Гц. Амплитудно-частотная характеристика тракта воспроизведения определяется частотными характеристиками головки звукоснимателя, частотной характеристикой канала записи и предусилителя-корректора.
Амплитудно-частотная характеристика головки звукоснимателя представляет собой зависимость напряжения, развиваемого звукоснимателем на номинальной нагрузке, от частоты при воспроизведении гармонических сигналов с неизменной амплитудой колебательной скорости. Частотная характеристика канала записи — это зависимость колебательной скорости резца рекордера от частоты сигнала при условии, что ЭДС входного источника одинакова во всем диапазоне рабочих частот.
Амплитудно-частотная характеристика предусилителя-кор- ректора зависит от типа головки звукоснимателя (пьезоэлектрическая или магнитная) и выбирается таким образом, чтобы с учетом собственной АЧХ обеспечить коррекцию АЧХ канала записи. На рис. 14 штриховой линией показана стандартная АЧХ канала записи в соответствии с ГОСТ 7893 — 72. Ослабление низких час-гот и подъем высоких в стандартной характеристике канала механической записи позволяет сохранить одинаковую ширину записываемой канавки во всем рабочем диапазоне частот, что улучшает отношение сигнал-шум на высоких частотах и снижает нелинейные искажения на низких.

Рис. 14. Стандартная частотная характеристика канала механической записи и пред-усилителя-корректора
Как правило, в высококачественной аппаратуре применяются звукосниматели с магнитными головками. Возникающая в них ЭДС пропорциональна колебательной скорости воспроизводящей иглы. Следовательно, она воспроизводит характеристику канала записи. Поэтому выходное напряжение звукоснимателя должно быть скорректировано. Это делают в предварительном усилителе-корректоре. На рис. 14 сплошной линией изображена стандартная АЧХ преду-силителя-корректора для магнитной головки звукоснимателя.
Большое влияние на качество воспроизведения механической записи оказывают, наряду с параметрами магнитной головки, характеристики предусилите-ля-корректора [6]. Корректор, предназначенный для работы в составе высококачественной аппаратуры, должен иметь хорошие технические характеристики: низкий уровень собственных шумов, незначительный коэффициент гармоник, большой динамический диапазон, АЧХ, обратную АЧХ канала записи по ГОСТ 7893 — 72, входное и выходное сопротивления, обеспечивающие согласование соответственно с магнитной головкой и основным усилителем 34.
Для большинства выпускаемых в настоящее время отечественной и зарубежной промышленностью магнитных головок звукоснимателей унифицирован средний уровень выходного сигнала на частоте l000 Гц при амплитуде колебательной скорости 10 см/с.
Он равен 2,5 мВ. Оптимальное сопротивление на грузки составляет 47 кОм. При таком сопротивлении для большинства головок гярантируется отсутствие заметных электрических резонансов в рабочем диапазоне частот и максимальное отношение сигнал-шум. Искажения и шумы, вносимые головкой звукоснимателя в общий тракт звуковоспроизведения, невелики, поэтому степень искажений и шумов в тракте в основном определяется характеристиками корректора.
Предусилители-корректоры магнитных головок звукоснимателя характеризуются следующими «сновными параметрами:
максимальное входное напряжение [мВ] — наибольшее действующее значение синусоидального входного напряжения на частоте 1 кГц, при котором коэффициент гармоник выходного напряжения не превышает 0,5%;
максимальное выходное напряжение [В] — наибольшее значение выходного напряжения на частоте 1 кГц при коэффициенте гармоник не более 0,5%;
перегрузочная способность [дБ] — отношение максимального входного напряжения к номинальному входному, равному 2,5 мВ;
коэффициент усиления — отношение выходного номинального напряжения к номинальному входному, равному 2,5 мВ, на частоте 1 кГц;
отклонение АЧХ от стандартной [дБ] — максимальное отклонение АЧХ реального корректора от стандартной АЧХ предусилителя-корректора, определяемой ГОСТ 7893 — 72 (RIAA). Нередко для уменьшения помех от вибраций движущегося механизма на низких частотах устанавливают меньший подъем частотной характеристики предусилителя-корректора. В этом случае отклонение АЧХ от стандартной задается в полосе 100... 20000 Гц;
отношение сигнал-шум (невзвешенное) [дБ] — отношение действующего значения номинального выходного напряжения |(при номинальном входном, равном 2,5 мВ) к действующему значению напряжения выходного шума. Измерения проводят без взвешивающих фильтров. Напряжение шумов измеряют при шунтировании входа усилителя-корректора резистором, имеющим сопротивление 2,2 кОм (равном эквивалентному сопротивлению головки звукоснимателя на частоте 1 кГц);
коэффициент гармоник [%] — наибольшее значение коэффициента нелиней ных искажений выходного синусоидального сигнала; его измеряют в полосе частот 20 ... 20 000 Гц при входном напряжении 1 В.
Далее будут описаны схемы предусилителей-корректоров, согласованных по входу с выходом магнитных звукоснимателей, работающих на нагрузку сопротивлением 47 кОм. Для всех корректоров номинальный уровень входных сигналов 2,5 мВ, выходное сопротивление 1 кОм.
Чтобы конструкции обладали приводимыми далее техническими характеристиками, монтаж корректоров следует вести в соответствии с данными чертежами печатной и монтажной плат. Изменение компоновки может привести к ухудшению коэффициента гармоник и отношения сигнал-шум. Для изготовления всех печатных плат авторы использовали односторонний фольгированный стеклотекстолит толщиной 1,5 мм. На каждой плате в основном размещено два идентичных канала корректора для работы со стереофонической головкой звукоснимателя. При соединении корректора с головкой звукоснимателя и с остальным усилителем следует руководствоваться рекомендациями на с. 126.
Простой корректор на двух транзисторах. Он имеет следующие основные технические характеристики:
Максимальное входное напряжение........ 40 мВ
Максимальное выходное напряжение........ 4В
Перегрузочная способность, не менее ........ 24 дБ
Коэффициент усиления на частоте 1 кГц....... 10О
Отклонение АЧХ от стандартной......... ± 1 дБ
Отношение сигнал-шум (невзвешенное)....... 65 дБ
Коэффициент гармоник, не более......... 0,1%
Напряжение питания............ 15В
Ток потребления.............. 1,5 мА

Рис. 15. Принципиальная схема простого корректора на двух транзисторах
Такой корректор является наиболее простым и распространенным. Несмотря на простоту, он обладает достаточно хорошими показателями качества, обеспечивает необходимое усиление, коррекцию АЧХ записи, а также не сложен в изготовлении и настройке.
Принципиальная схема усилителя приведена на рис. 15.
Он состоит из входного (на транзисторе VT1) и выходного (VT2) каскадов, транзисторы в них включены по схеме с общим эмиттером. Гальваническая связь между каскадами улучшает частотную и фазовую характеристики усилителя без ООС. Для стабилизации рабочей точки транзистора VT1 смещение на его базу подается через резистор R5 с эмиттера транзистора VT2. Цепь ООС на элементах R3, С2, R4, СЗ, установленных между коллектором VT2 и эмиттером VT1, обеспечивает необходимую коррекцию частотной характеристики предусилителя-коррек-тора. Чтобы уменьшить влияние пульсаций источника питания используется RC фильтр C6R9C7.

Рис. 16. Печатная (а) и монтажная (б) платы простого корректора на двух тран зисторах
Конструктивно предусилитель-корректор смонтирован на печатной плате, показанной на рис. 16. На ней размещают детали и второго корректора. При работе с магнитным стереофоническим звукоснимателем каждую пару транзисторов, работающих на отдельный корректор, необходимо подобрать по коэффициенту передачи тока. Коэффициент прямой передачи тока транзисторов VT1 в VT2 должен быть не менее 200. Кроме указанных на схеме можно использовать транзисторы КТ315Б и КТ342В. При этом изменять номиналы элементов не нужно. Чтобы АЧХ каждого корректора не отклонялась от стандартной более чем на ±1 дБ, номиналы резисторов и конденсаторов в цепях коррекции (R3, С2, R4, СЗ) не должны отличаться от указанных на схеме более чем на 2%.
Налаживание усилителя заключается в проверке правильности монтажа. При правильно выполненном монтаже и исправных деталях корректоры практически не нуждаются в настройке. На частоте 1 кГц коэффициент гармоник каждого корректора не должен превышать 0,08% при UВыт=1 В. Для питания двух корректоров необходим источник, обеспечивающий при напряжении 15 В ток не менее 3 мА.
Корректор на микросхеме К548УН1. Одним из основных недостатков простых предусилителей-корректоров, состоящих из двух-трех транзисторных усилительных каскадов, является рост нелинейных искажений с понижением частоты входного сигнала.
Это связано с особенностями коррекции АЧХ записи к уменьшением глубины ООС на этих частотах. Один из путей устранения этого недостатка — применение усилителей с большим коэффициентом усиления, охваченных глубокой ООС. В качестве таковых можно использовать операционные усилители (ОУ).
Хорошие результаты дает применение микросхемы К548УН1, которая имеет пониженный уровень собственных шумов, лучшее подавление фона и помех источника питания. Принципиальная схема предусилителя-корректора, выполненного на ней, приведена на рис. 17.
Корректор имеет следующие основные технические характеристики:
Максимальное входное напряжение........ 45 мВ
Максимальное выходное напряжение........ 5,9 В
Перегрузочная способность, не менее........ 25 дБ
Коэффициент усиления на частоте 1 кГц....... 130
Отклонение АЧХ от стандартной......... ±0,6 дБ
Отношение сигнал-шум (невзвешенное)....... 69 дБ
Коэффициент гармоник, не более.........0,2%
Напряжение питания............ 24 В
Ток потребления.............. 10 мА
Микросхема DA1 включена по схеме неинвертирующего усилителя с использованием обоих транзисторов входного дифференциального каскада. Отрицательная обратная связь по постоянному току (через резисторы R2, R4, R6) определяет режим работы микросхемы. Конденсаторы СЗ и С4, входящие в цепь ООС, формируют стандартную АЧХ. Конденсаторы С1 и С5 служат для развязки по постоянному току источника сигнала и нагрузки, конденсатор С6 устраняет паразитную связь по цепи питания.

Рис. 17. Принципиальная схема корректора на микросхеме К548УН1

Рис 18. Печатная (а) и монтажная (б) платы корректора на микросхеме К548УН1
Основная проблема при создании корректора на микросхеме типа К548УН1 сводится к выбору цепи ООС, позволяющей вписаться в стандартную частотную характеристику записи, и к выбору режима работы схемы, при котором достигается большой динамический диапазон входных сигналов при минимальном коэффициенте гармоник.
Конструктивно описываемый корректор размещен на одной печатной плате размерами 50X50 мм.
Расположение токопроводящих дорожек и размещение деталей на плате показано на рис. 18.
В устройстве применены конденсаторы К.М-5, К50-6, резисторы МЛТ-0,125. Резисторы и конденсаторы цепи частотной коррекции должны иметь разброс не более 2%, что позволит сформировать АЧХ усилителя, отличающуюся от стандартной не более чем ±1 дБ. Остальные элементы могут иметь разброс ±10%.
Для питания корректора при налаживании необходим стабилизированный источник, обеспечивающий при напряжении 24 В ток не менее 20 мА. При исправных элементах и правильно выполненном монтаже устройство в настройке не нуждается. На частоте 1 кГц коэффициент гармоник каждого корректора не превышает 0,05 ... 0,06%.
Корректор на ОУ К153УД2. Операционные усилители общего применения могут быть использованы для создания предварительных усилителей 34, в том числе и для построения на их базе корректоров. При этом по сравнению с предыдущей конструкцией ухудшается только отношение сигнал-шум, э остальные параметры могут быть даже улучшены. Корректор на ОУ имеет следующие основные технические характеристики:
Максимальное входное напряжение........ 120 мВ
Максимальное выходное напряжение........ 9,5 В
Перегрузочная способность, не менее........ 33,6 дБ
Коэффициент усиления на частоте 1 кГц....... 80
Отклонение АЧХ от стандартной......... ±0,5 дБ
Отношение сигнал-шум (невзвешенное)....... 61 дБ
Коэффициент гармоник, не более......... 0,06%
Напряжение питания............ ±15 В
Ток потребления.............. 6 мА

Рис. 19. Принципиальная схема корректора на ОУ К153УД2
Принципиальная схема корректора, построенного на ОУ К153УД2, приведена на рис. 19. Микросхема включена по схеме неинвертирующего усилителя с корректирующей цепочкой R3C3R4C4 в цепи ООС. Чтобы облегчить формирование АЧХ, резистор R3 составлен из двух резисторов, включенных последовательно, a R4 — соединенных параллельно. Входное сопротивление усилителя определяется практически резистором R1. Конденсатор С1, через который поступает сигнал на вход микросхемы DA1, вместе с резистором R1 образует фильтр нижних частот, ослабляющий нежелательные сигналы сверхнизкой частоты, создаваемые механическими движущимися частями электрофона.
Резистор R2 определяет коэффициент передачи корректора и позволяет при необходимости устанавливать необходимое усиление узла. При использовании деталей с номиналами, указанными на схеме, усиление корректора на частоте 1000 Гц составляет 80 (38 дБ).
Устройство смонтировано на печатной плате (рис. 20). Конденсаторы фильтра в цепи питания (на схеме не показаны) КА1-5 емкостью 0,1 мкФ установлены непосредственно в точках подключения источника питания.
Кроме ОУ К153УД2 можно применить микросхемы К.140УД7, К140УД8, К140УД6, К153УД1, К153УДЗ и т. п. без переделки печатной платы или с небольшими изменениями (включают соответствующие цепи коррекции).
Перед подключением корректора к источнику питания (двухполярный стабилизированный с выходным напряжением ±15 В) необходимо проверить исправность элементов и правильность монтажа. При этих условиях узел практически не требует настройки. Если необходимо, то, подбирая сопротивление резистора R2, можно регулировать коэффициент передачи усилителя на частоте 1000 Гц. Коэффициент гармоник корректора на частоте 1 кГц не должен превышать 0,03%.

Рис. 20. Печатная (а) и монтажная (б) платы корректора на ОУ К153УД2
Корректор на двух операционных усилителях К140УД7. Такой корректор позволяет уменьшить шумы по сравнению с предыдущим корректором. Основной недостаток корректора, выполненного на ОУ общего применения, по сравнению со специальными микросхемами, — повышенный уровень шума. Один из методов, позволяющих улучшить отношение сигнал-шум на 5... 10 дБ по сравнению с тем, что дает предыдущая конструкция, заключается в том, что сигнал с головки звукоснимателя сначала усиливается с уровня 2,5 примерно до 100 мВ, а уже затем корректируется.
Корректор имеет следующие основные технические характеристики:
Максимальное входное напряжение........ 150 мВ
Максимальное выходное напряжение...... 9,5 В
Перегрузочная способность, не менее .... .... 36 дБ
Коэффициент усиления на частоте 1 кГц....... 60
Отклонение АЧХ от стандартной.........
±1 дБ
Отношение сигнал-шум (невзвешенное) ....... 68 дБ
Коэффициент гармоник, не более......... 0,07%
Напряжение питания............ +24 В
Ток потребления.............. 15 мА

Рис. 21. Принципиальная схема корректора на двух ОУ К140УД7
Практическая реализация корректора представлена на рис. 21. Каждый канал корректора (на схеме показан один) выполнен на двух операционных усилителях DAI, DA2. Требование к шумовым характеристикам ОУ DA2 можег быть менее жестким. Входной каскад на микросхеме DA1 выполнен как линейный усилитель с коэффициентом передачи примерно равным 25. Ограничение усиления этого каскада позволяет сохранить ширину полосы пропускания и способность его к значительным перегрузкам. На микросхеме DA2 собран собственно корректор. Устройство питают от однополярного стабилизированного источника питания с выходным напряжением 24 В. Фильтр R10C3C4 снижает влияние пульсаций источника питания.
Оба канала усилителя смонтированы на печатной плате, приведенной на рис. 22. Вместо ОУ К14ОУД7, приведенного на схеме, можно использовать практически любой ОУ общего применения с соответствующими цепями коррекции, например КНОУДб, К153УД2, К14ОУД8, и т. п. При этом необходимо ввести соответствующие изменения в печатную плату.
Перед монтажом необходимо проверить исправность элементов, а после их установки на печатной плате — правильность монтажа. При использовании элементов (R6, R7, С5, С6), имеющих класс точности не хуже 5%, кривая коррекции будет выдержана с точностью не хуже ±1 дБ. Если монтаж выполнен правильно, узел работает практически без настройки.

Рис. 22. Печатная (а) и монтажная (б) платы корректора на двух ОУ К140УД7
Корректор на одном ОУ К140УД7 с малошумящим транзисторным каскадом на входе. В этом корректоре для уменьшения шума на входе установлен дифференциальный каскад на малошумящих транзисторах, чем достигается сочетание простоты корректора на микросхеме с возможностью получения малого шума за счет использования такого входного каскада.
Корректор имеет следующие основные технические характеристики:
Максимальное входное напряжение ........ 120 мВ
Максимальное выходное напряжение . . . ... ... 9,5 В
Перегрузочная способность, не менее ........ 33 дБ
Коэффициент усиления на частоте 1 кГц....... 80
Отклонение АЧХ от стандартной......... ± 1 дБ
Отношение сигнал-шум (невзвешенное)....... 66 дБ
Коэффициент гармоник, не более . . . ..... 0,08%
Напряжение питания............ ±15 В
Ток потребления............. . 10 мА
Практическая схема такого устройства приведена на рис. 23. Оно состоит из входного дифференциального каскада на транзисторах VT1 и VT2 и выходного каскада на микросхеме DA1. Для получения минимального шума входного каскада коллекторный ток транзисторов VT1 и VT2 установлен минимальным, примерно 50 мкА. Конденсатор С2 обеспечивает стабильность работы корректора. Других особенностей корректор не имеет.

Рис. 23. Принципиальная схема корректора на ОУ КНОУД7 с дифференциальным каскадом на входе
На рис. 24,а показана печатная плата (со стороны токопроводящих дорожек) двух каналов усилителя. Как и в предыдущих случаях, вместо микросхемы К140УД7 можно применить ОУ, например К153УД1, К153УД2, К140УД6, К140УД8 и т. п. с соответствующими цепями коррекции.
Вид платы со стороны деталей изображен на рис. 24,6.
Проверив исправность элементов и правильность монтажа, плату можно подключать к источнику питания (двухполярному стабилизированному с выходным напряжением ±15 В). При желании, подбирая резистор R5, изменяют усиление корректора.

Рис. 24. Печатная (а) и монтажная (б) платы корректора на ОУ К140УД7 с дифференциальным каскадом на входе
Высококачественный корректор на транзисторах. Можно заметно улучшить параметры корректора, несколько видоизменив схему простого корректора на двух транзисторах (см. рис. 15), подключив к его выходу двухтактный эмнт-терный повторитель. Принципиальная схема такого усилителя-корректора приведена на рис. 25. Он имеет следующие основные технические характеристики:
Максимальное входное напряжение........ 200 мВ
Максимальное выходное напряжение........ 8В
Перегрузочная способность, не менее........ 38 дБ
Коэффициент усиления на частоте 1 кГц....... 40
Отклонение АЧХ от стандартной . ......... ± 1 дБ
Отношение сигнал-шум (невзвешенное)....... 66 дБ
Коэффициент гармоник, не более......... 0,02%
Напряжение питания............ 24 В
Ток потребления.............. 5 мА
Входной каскад этого усилителя для уменьшения шума выполнен на транзисторе КТ3107Л, работающем в режиме с малым током коллектора (около 100 мкА). Транзисторы VT1 и VT2 обеспечивают основное усиление; выходной каскад (VT3, VT4) уменьшает выходное сопротивление узла, ослабляя тем самым влияние нагрузки на АЧХ усилителя. Постоянная составляющая тока эмиттера транзистора VT1 используется для стабилизации режима работы выходного каскада.

Рис. 25. Принципиальная схема высококачественного корректора с минимальным числом компонентов
Амплитудно-частотная характеристика корректора формируется цепью ООС R3R8C4C7C8. Конденсатор С5 обеспечивает устойчивость работы устройства. Резистор R16 позволяет установить необходимое выходное напряжение.
Печатная плата для двух каналов изображена на рис. 26. Транзисторы VT1, VT2 должны иметь достаточно высокий коэффициент передачи ток» (150... 200), a VT4 и VT3 — одинаковый. Помимо указанных на схеме можно применять (с некоторым ухудшением характеристик корректора) транзисторы типов КТ315Б, КТ361Б, КТ342В, КТ203, КТ208 и т. п., конденсаторы К50-6, КМ-4, КМ-5, КМ-6, резисторы МЛТ-0,25.
Для питания корректора во время налаживания необходим стабилизированный источник с выходным напряжением 24 В. Исправные элементы и правильный монтаж узла позволяют использовать корректор практически без настройки. При желании установить более точно АЧХ корректора, необходимо подобрать элементы цепи коррекции (R3, R8, С4, С7, С8).

Рис. 26. Печатная (с) и монтажная (б) платы высококачественного корректора с минимальным числом компонентов
Корректор на дискретных элементах с использованием схемотехники ОУ. Из- за своеобразия частотной характеристики корректора для магнитной головки звукоснимателя, для сохранения достаточно высоких его характеристик требуется усилитель с большим коэффициентом усиления при разомкнутой цепи ООС. Применение ОУ в интегральном исполнении дает в целом хорошие результаты, но шумовые характеристики этих корректоров оказываются невысокими. Существуют различные способы решения этой проблемы, некоторые из которых уже были описаны. Наиболее высокие характеристики корректора удается получить при выполнении его на дискретных элементах с использованием схемотехники ОУ. Описанный далее корректор имеет следующие основные технические характеристики:
Максимальное входное напряжение...... . 100 мВ
Максимальное выходное напряжение........ 8В
Перегрузочная способность, не менее ........ 32 дБ
Коэффициент передачи на частоте 1 кГц....... 38 дБ
Отклонение АЧХ от стандартной......... ±1 дБ
Отношение сигнал-шум (невзвешенное)....... 68 дБ
Коэффициент гармоник, не более......... 0,01%
Напряжение питания............ +15 В
Ток потребления.............. 10 мА
Входной каскад корректора (рис. 27) — дифференциальный усилитель на транзисторах VT2, VT4 — построен так же, как и ОУ. Для достижения большого коэффициента усиления эмиттерные и коллекторная цепи питаются от источников тока на транзисторах VT1, VT3. Режимы транзисторов VT2, VT4 выбраны из условия получения минимального шума, для чего коллекторный ток каждого из них установлен примерно равным 100 мкА. Источник тока на транзисторе VT3 улучшает подавление фона и пульсаций источника питания. Для уменьшения нелинейных искажений усиление каскада выбрано максимально возможным, что достигается включением динамической нагрузки на транзисторе VT1 в коллекторную цепь VT2. Чтобы предотвратить перегрузку входного каскада и увеличить его усиление, использован согласующий каскад нг транзисторе VT5. Для получения максимального усиления и увеличения линейности в качестве нагрузки выходного каскада на транзисторе VT6 используется источник тока (VT7).
Цепь коррекции состоит из элементов Rll, R12, С5, Сб. Резистор R13 и конденсатор С4 определяют частотную характеристику усилителя на частотах выше 50 кГц.
Каждый канал корректора смонтирован на отдельной печатной плате (рис. 28), Резистор R9 распаян со стороны токопроводящих дорожек на выводах конденсатора СЗ. Вместо указанных на схеме можно применять транзисторы и других типов, например, КТ315, КТ361, КТ209, КТ203 и т. п. Однако технические характеристики корректора при этом несколько ухудшатся. Точность элементов цепи коррекции должна быть не хуже 5%.

Принципиальная схема усилителя мощности на комплементарных транзисторах
Плечи выходного каскада содержат по три транзистора VT10, VT12, VT15 (VT11, VT13, VT16), охваченных местной ООС через резисторы R25 и R29 (и соответственно R26 и R31). При этом коэффициент усиления по напряжению каждой тройки транзисторов приближается к трем. Местная ООС позволяет также уменьшить разброс в коэффициентах усиления плеч выходного каскада, что снижает требование к .идентичности параметров комплементарных транзисторов. Еще одна особенность выходного каскада состоит в следующем. Напряжение местной ООС, охватывающей тройку транзисторов, снимается с резисторов R34 и R35, напряжение на которых пропорционально любым изменениям тока выходных транзисторов (в том числе и в зависимости от температуры). Это дополнительно стабилизирует ток покоя выходных транзисторов. Напряжение смещения транзисторов VT10 и VT11 зависит от падения напряжения на участке эмиттер — коллектор транзистора VT9, задаваемого делителем на элементах VD4, R20 — R22.Параметрическая ООС через диод VD4, расположенный на общем с выходными транзисторами теплоотводе, осуществляет температурную стабилизацию тока покоя транзисторов VT15, VT16. С увеличением температуры уменьшается падение напряжения и на диоде VD4, при этом уменьшается и напряжение эмиттер — коллектор VT9. Все это позволяет поддерживать ток покоя выходных транзисторов на постоянном уровне при разных уровнях мощности и колебаниях температуры окружающей среды. Весь усилитель охвачен общей ООС, напряжение которой с выхода усилителя через делитель R30, R15, СЗ подается на базы транзисторов VT4, VT5.
Элементы С1, С5, С6, С7, С8, С9, R44, L1 предназначены для коррекции частотной характеристики на высоких частотах. Они же обеспечивают устойчивость усилителя при охвате его общей ООС и при возможных изменениях нагрузки. Транзисторы VT14, VT17 шунтируют при перегрузке эмиттерный переход выходных транзисторов. Питается усилитель от нестабилизированного двух-полярного источника ±40 В.
Усилитель собран на печатной плате, показанной на рис. 73. Диод VD4 размещен на теплоотводе рядом с транзисторами VT15 или VT16. В усилителе использованы резисторы МЛТ, СПЗ-1К (R22), конденсаторы К.50-6, КМ. Катушка Ы намотана на резисторе R45 (МЛТ-2) и содержит 10 витков провода ПЭВ-2 0,8. Для питания усилителя требуется двухтюлярный источник, обеспечивающий при напряжении ±40 В ток не менее 2 А.
Регулировка усилителя, собранного из исправных элементов, заключается в проверке правильности монтажа и установке начального тока коллекторов VT15 и VT16 (50 ... 70 мА) резистором R22.

Рис. 73. Печатная (а) и монтажная (б) платы усилителя мощности на комплементарных транзисторах
Амплитудно-частотная и фазо-частотная характеристики нормально работающего усилителя приведены на рис. 74.

Рис. 74. Амплитудно-частотная и фазо-частотная характеристики усилителя мощности на комплементарных транзисторах
Упрощенный вариант схемы усилителя мощности на комплементарных транзисторах. Он имеет следующие основные технические характеристики (см. также табл. 4):
Номинальная выходная мощность....... 70 Вт
Коэффициент гармоник.......... 0,05%
Полоса рабочих частот.......... 20 ... 80 000 Гц
Отношение сигнал-шум.......... 87 дБ
Напряжение питания........... ±40 В
Ток покоя.............. 100 мА
Усилитель работает в режиме АВ и выполнен с использованием схемотехники предыдущего усилителя (см. рис. 73). Усилитель также обладает полной симметрией для входного синусоидального сигнала (одинаковость входных сопротивлений для положительной и отрицательной полуволн сигнала), что позволяет снизить нелинейные искажения.
Принципиальная схема усилителя приведена на рис. 75. Он содержит дифференциальный каскад на комплементарных транзисторах (VT1 — VT4), каскад усиления напряжения (VT5, VT7). и выходной каскад (VT8 — VT13). Напряжение питания входного каскада стабилизировано (с помощью стабилитронов VD1, VD2). Транзисторы выходного каскада включены по схеме с общим коллектором.
Температурную стабилизацию тока покоя выходных транзисторов обеспечивают диоды VD3 — VD5, установленные на общем с транзисторами VT12, VT13 теплоотводе. Элементы LI, R35, R36, СП, R20, С7 предотвращают самовозбуждение усилителя на высоких частотах.

Рис. 75. Принципиальная схема упрощенного варианта усилителя мощности на комплементарных транзисторах

Рис. 76. Печатная (а) и монтажная (б) платы упрощенного варианта усилителя мощности на комплементарных транзисторах

Рис. 77. Амплитудно-частотная и фазо-частотная характеристики упрощенною варианта усилителя мощности на комплементарных транзисторах
Печатная плата, на которой размещают детали усилителя, показана на рис. 76. Диоды VD3 — VD5 располагают на радиаторе выходных транзисторов. Катушка L1 содержит 10 витков провода ПЭВ-2 0,8, намотанного на резисторе R35 (МЛТ-2).
Как и в предыдущем усилителе, вначале необходимо проверить исправность всех элементов. После монтажа (проверив его (Правильность) усилитель, аналогично предыдущему, подключают к источнику питания. Настройка заключается в установке резистором R29 начального тока выходных транзисторов в пределах 50 ... 70 мА.
Амплитудно- и фазо-частотная характеристики налаженного усилителя приведены на рис. 77.
Усилитель мощности класса В с коррекцией искажений из-за использования прямой связи. Он имеет следующие основные технические характеристики (см. также табл. 4):
Номинальная выходная мощность....... 60 Вт
Коэффициент гармоник.......... 0,04%
Полоса рабочих частот.......... 20... 100000 Гц
Отношение сигнал-шум.......... 90 дБ
Напряжение питания........... ±40 В
Ток покоя........ ....... О мА
Основным недостатком усилителя, работающего в режиме В, является довольно большой уровень нелинейных искажений, особенно при малых уровнях входного сигнала. Однако недостаток можно устранить, даже если использовать в выходном каскаде экономичный режим В. Такой принцип построения усилителей получил название feed forward error correction (коррекция искажений с использованием прямой связи).
Работу усилителя можно рассмотреть на примере рис. 78.

Рис. 78. Схема, поясняющая принцип коррекции искажений в результате применения прямой связи
Усилитель состоит из усилителя A1, выходного каскада (на транзисторах VT1, VT2), работающего в режиме В, и элементов моста Rl, Cl, R2 и L1. Условие компенсации нелинейных искажений в таком устройстве совпадает с условием баланса моста: L1 = R1R2C2. Если исключить резистор R2, то устройство на рис. 78 можно рассматривать как обычный усилитель НЧ, где К1 обеспечивает ООС, С1 корректирует АЧХ, L1 предотвращает высокочастотную генерацию. В таком усилителе требование стабильности вызывает необходимость уменьшения значения ООС с ростом частоты сигнала, что естественно вызывает рост нелинейных искажений выходного тока i1. При подключении резистора R2 появляется компенсирующий ток i2 и происходит эффективная компенсация на средних и высоких частотах сигнала. На низких частотах баланс моста может нарушаться из-за активной составляющей в полном сопротивлении индуктивности L1.
Подобный метод впервые был использован в английском усилителе «Quad 405» и позволил получить коэффициент гармоник на средних частотах около 0,01%.

Рис. 79. Принципиальная схема усилителя мощности класса В с коррекцией искажений в результате использования прямой связи
Принципиальная схема усилителя на отечественной элементной базе, использующего аналогичный метод компенсации нелинейных искажений, приведена на рис. 79. Работа в выходном каскаде в режиме В позволила повысить КПД и решить проблему термостабилизации тока покоя. Усилитель состоит из четы-рехкаскадного предварительного усилителя (на элементах DAI, VT1 — VT4, VT7), работающего в режиме А, выходного каскада (VT8 — VT10), работающего в режиме В, и узла защиты выходного каскада от перегрузок (VT6, VT5). Весь усилитель охвачен глубокой ООС по постоянному току (через резистор R31), поддерживающей на выходе усилителя нулевое напряжение. Нарушение баланса моста на низких частотах компенсируется глубокой ООС, напряжение которой поступает в эмиттерную цепь транзистора VT2 через делитель R12R11. Для предотвращения самовозбуждения усилителя на высоких частотах служат элементы LI, L3, R25, R29, R30, С10.
Печатная плата усилителя . показана на рис. 80. Катушки LI — L3 намотаны проводом ПЭ:В-2 ,1,0 на каркасах диаметром 7 мм виток к витку в два слоя. Катушка L2 — 30 витков, LI, L3 — 46 витков. Транзисторы VT7, VT8, VT9, VT10 установлены на общем теплоотводе через слюдяные прокладки.
Усилитель, правильно смонтированный из исправных элементов, практически не требует настройки. Для получения минимальных нелинейных искажений необходимо подстроить мост подбором конденсатора С8. Амплитудно-частотная, фазо-частотная и переходная характеристики усилителя приведены на рис. 81. Для его питания необходим двухполярный источник, обеспечивающий при напряжении ±40 В ток не менее 2 А.
Упрощенный вариант усилителя мощности класса В. Он имеет следующие основные технические характеристики (см. также табл. 4):
Номинальная выходная мощность....... 15 Вт
Коэффициент гармоник . ... . . .. . . . 0,03%
Полоса рабочих частот .......... 20... 80000 Гц
Отношение сигнал-шум.......... 90 дБ
Напряжение питания ............ ±17 В
Ток покоя.............. 0 мА

Рис. 80. Печатная (а) и монтажная (б) платы усилителя мощности класса В

Рис. 81. Амплитудно-частотная и фазо-частотная характеристики усилителя мощности класса В

РАЗВЯЗКА КАСКАДОВ ПО ПИТАНИЮ
Источники и цепи питания постоянного тока ФУ усилительного устройства являются общими. Поэтому надо обратить самое серьезное внимание-на проектирование системы питания, чтобы исключить связи между ФУ через общий источник питания. Любой сигнал переменного тока, возникающий в ФУ или нагрузке, не должен присутствовать на шинах питания и не создавать падения напряжения на внутреннем сопротивлении источника питания.В идеальном случае источник питания должен быть генератором ЭДС с нулевым внутренним сопротивлением. Однако реальный источник имеет конечное внутреннее сопротивление Ri, следовательно, через это сопротивление источника могут образовываться связи между ФУ. Причем эта нежелательная обратная связь усиливается из-за сопротивления соединительных проводников цепей питания. Одновременно они, как и сигнальные проводники, подвержены воздействию электрических и магнитных помех. И здесь применимы те же методы борьбы, которые рассматривались ранее.
В статическом режиме (в режиме постоянного тока) напряжение UH, передаваемое на нагрузку,
Uн= Uх.х — Iн max (Ri+Rл max),
где Ux.x — выходное напряжение ненагруженного источника (холостого хода); Iн max — максимальный ток нагрузки; Rл max — сопротивление соединительной линии.
Чтобы улучшить работу источника при медленном изменении тока нагрузки, необходимо улучшить стабилизирующие свойства источника (уменьшить Ri) и соединительные провода брать достаточного сечения. При резком изменении тока нагрузки на ДIн (режим усиления звуковых сигналов — динамический режим) возникают напряжения переходных помех, и результирующее-изменение напряжения на нагрузке оказывается функцией волнового сопротивления Z0 линии передачи, Мгновенное напряжение помехи на нагрузке

тде Lл и Сл — соответственно индуктивность и емкость линии передачи питания.
Волновое сопротивление линии передачи может служить хорошим критерием качества для сравнения различных систем разводки питания. Чтобы подучить хорошую развязку в динамическом режиме, волновое сопротивление линий передачи должно составлять не более нескольких Ом.
Для этого необходимо увеличить Сл и уменьшить Lл. Это достигается использованием плоских шин питания, расположенных как можно ближе, между которыми устанавливается изолирующая прокладка с большой диэлектрической постоянной. Например, два провода круглого сечения с тефлоновой изоляцией, разнесенных на 1,5 диаметра, имеют Z0=80 Ом. Однако если два плоских проводника шириной H=10 мм расположить один над другим и разделить тонкой (толщиной h ==100 мкм) полиуретановой пленкой (е = 7), то волновое сопротивление такой шины будет:

На практике сделать шины передачи с малым zq довольно сложно и дорого, что вынуждает подключать к нагрузке между шинами питания и земли развязывающий керамический конденсатор емкостью от 0,1 до 1,0 мкФ [19] для обеспечения малого комплексного сопротивления шин питания. Чтобы исключить динамические помехи через источник и дополнительно сгладить пульсации питающего напряжения, применяют развязывающие фильтры.
Для развязки слаботочных и чувствительных узлов по цепи питания ис-яользуются резистивно-емкостные и реже индуктивно-емкостные фильтры.
Итак, для улучшения характеристик системы питания, цепи разводки необходимо выполнять плоскими шинами; для развязки паразитного сопротивления шины питания, непосредственно на зажимах нагрузки устанавливается керамический конденсатор (с малой собственной индуктивностью) развязки писания; а для развязки отдельных каскадов усилителя устанавливаются RC фильтры.
РЕГУЛЯТОРЫ ГРОМКОСТИ, БАЛАНСА
И РЕЖИМА «ИНТИМ»Регуляторы громкости являются неотъемлемой частью любого звуковоспроизводящего устройства и предназначены для регулирования уровня звучания акустических систем при воспроизведении звуковых сигналов. Для стереофонических систем обязательным является также регулятор стереобаланса, который служит для плавного изменения соотношения уровней звучания правого и левого каналов, позволяя перемещать в пространстве стереозону. Нередко в современных звуковоспроизводящих устройствах также используют режим «Интим» или « — 20 дБ», снижающий уровень сигнала скачком в 10 раз что создает большие эксплуатационные удобства (при разговоре по телефону, контрольном прослушивании, выборе музыкальных программ и т. п.).
Известно, что из-за особенностей органов слуха человека при уменьшении уровня громкости наблюдается ухудшение восприятия низших и высших звуковых частот. Поэтому обычно применяют тонкомпенсированные регуляторы громкости, которые одновременно с уменьшением или увеличением громкости изменяют АЧХ усилительного устройства таким образом, чтобы она соответст-; вовала широко известным кривым равной громкости [8]. Стандартизированные кривые равной громкости приводятся в рекомендациях Международной организации стандартизации (ИСО).
Схемные решения регуляторов громкости и баланса базируются на резне-тивных делителях напряжения, в качестве которых используют переменные или I постоянные резисторы. К переменным резисторам предъявляют следующие тре-: бования: близость к нулю минимального регулируемого сопротивления; плавное, (без скачков) изменение сопротивления при перемещении движка резисторов с функциональной зависимостью, подчиняющейся показательному закону (группа В); отсутствие шумов и щелчков; идентичность изменения сопротивлений при их регулировании (для сдвоенных регуляторов в стереофонических системах). Пределы плавного регулирования громкости определяются диапазоном плавного изменения сопротивления используемых переменных резисторов.
Применяемые в УЗЧ резисторы СПЗ- 12 имеют диапазон плавного изменения до 60 дБ, СПЗ-12а-1 — до 80 дБ. Однако промышленные потенциометры не всегда удовлетворяют перечисленным требованиям. Разбаланс сопротивлений сдвоенных переменных резисторов типов СПЗ-23, СПЗ-12, СПЗ-4, наиболее часто используемых для тонкомпенсированной регулировки громкости, достигает ±3 дБ, а изменение их сопротивления из-за люфта движка или оси ±6 дБ. Это приводит к разбалансу уровней сигналов в каналах стереоусилителя при регулирований громкости и к рассогласованию АЧХ, особенно заметному на малой и средней громкости.
От указанных недостатков свободен сдвоенный ступенчатый тонкомпенсированный регулятор громкости, построенный на дискретных резисторах и многопозиционных переключателях [9]. В последние годы с развитием интегральной технологии и созданием новой элементной базы получают распространение электронные регуляторы громкости и баланса на полевых транзисторах, КМОП коммутаторах, КМОП мультиплексерах, а также специальных микросхемах (например, К174УН12).
Кроме общепринятых характеристик для каскада регулирования специфической является глубина регулирования громкости — отношение номинального выходного напряжения к напряжению на выходе при положении регулятора громкости, соответствующем минимальной громкости в пределах плавной регулировки, выраженное в децибелах.
Рассмотрим варианты схем регулировки громкости и баланса с применением различной элементной базы.
Типовой каскад регулирования громкости и баланса на переменных резисторах групп В и А. В качестве простейшего регулятора громкости может служить обычный переменный резистор, включенный по схеме делителя напряжения. Однако некоторые особенности слухового восприятия звуковых давлений-различных частот требуют усложнения этого каскада в усилителях высокого класса. Чувствительность уха, максимальная на средних частотах, падает нг низших и высших частотах. При увеличении уровня громкости чувствительность уха в области низших частот заметно возрастает.
В области высших ча стот чувствительность также возрастает, но ее рост значительно зависит от индивидуальных особенностей слуха каждого человека (особенно заметна зависимость восприятия высших частот от возраста).
Иначе говоря, изменение уровня звукового давления вызывает изменение спектра сигнала, воспринимаемого человеком. Поэтому, чтобы субъективное восприятие громкости изменялось во всем спектре частот пропорционально, необходимо скорректировать частотную характеристику регулятора громкости (ввести так называемую тонкомпенсацию) таким образом, чтобы с уменьшением уровня звукового давления увеличивался подъем в области низших и высших частот. Кроме того, желательно равномерно изменять относительную громкость при линейном перемещении регулирующего узла. Из экспериментов известно [10], что субъективное ощущение приращения громкости зависит от уровня звукового давления. При малых уровнях сигнала одинаковому приращению звукового давления субъективно соответствует большее приращение громкости, чем при больших уровнях сигнала. Поэтому для получения равномерной субъективной регулировки громкости требуется нелинейное регулирование звукового давления. Этим требованиям отвечают переменные резисторы с показательной зависимостью( группы В), имеющие отводы для тонкомпенсации.
При регулировке стереобаланса, чтобы сохранить постоянство общего звукового давления в обоих каналах, ослабление уровня сигнала в одном канале необходимо компенсировать увеличением уровня сигнала в другом. Для этога можно использовать широко распространенные переменные резисторы с линейной зависимостью (группы А). Применение специально разработанных для регулировка стереобаланса потенциометров с зависимостью (группы Е/И) позволяет уменьшить потери сигнала и субъективно более плавно регулировать стереобаланс.

Рис. 39. Принципиальная схема регуляторов громкости и баланса на потенциометрах типа В и А
На рис. 39 приведена схема регулятора громкости, в которой учтены сделанные замечания.
Он имеет следующие основные технические характеристики:
Номинальное входное напряжение......... 200 мВ
Номинальное выходное напряжение........ 140 мВ
Глубина регулировки громкости......... 40 дБ
Тонкомпенсация (при уровне громкости — 30 дБ) на частоте:
100 Гц................ 6 дБ
10 кГц................ 4 дБ
Регулировка стереобаланса........... ±6 дБ
Резистор R1 и соответствующий ему в другом канале уменьшают взаимное влияние каналов в режиме «Моно». Резистор R2 с зависимостью А обеспечивает регулировку стереобаланса. Последовательно включенный резистор R3 позволяет уменьшить потери сигнала до 3 дБ (при его отсутствии потери возрастают до б дБ). Кнопкой SB2 включают резистивный делитель R4, R5, уменьшающий сигнал в 10 раз. Громкость регулируют переменным резистором R7, к отводу которого (при нажатой кнопке SB3) подключается цепь тонком-пенсации.
Узел регулировок собран на выводах переменных резисторов и переключателей П2К. Монтаж выполнен экранированным проводом МГШВЭ-0,2. Регулятор стереобаланса — СПЗ-12г с зависимостью А; регулятор громкости — СПЗ-12д с зависимостью В; остальные резисторы МЛТ-0,25; конденсаторы КМ-5, КМ-6, переключатели — П2К с независимой фиксацией.
Налаживание узла в основном состоит в проверке правильности монтажа.
Регулятор громкости и баланса на переключателях галетного типа. Как уже указывалось, разбаланс сопротивлений сдвоенных переменных резисторов достигает ±6 дБ, что вызывает разбаланс уровней сигналов в каналах и рассогласование АЧХ при введении тонкомпенсации. Коэффициент усиления каналов можно выравнить регулятором стереобаланса, но сбалансировать АЧХ с помощью обычных органов управления не удается. Кроме того, нередко бывает довольно сложно найти сдвоенный резистор с необходимым номиналом и законом регулирования громкости. От указанных недостатков свободен регулятор громкости на базе галетного переключателя, позволяющий создать необходимый закон регулирования и при попарном подборе резисторов делителя иметь незначительный разбаланс каналов.
Как известно, использование для регулировки стереобаланса переменных резисторов с линейной зависимостью вызывает значительное ослабление сигнала (около 6 дБ). Применение специальных резисторов с зависимостью Е/И не всегда возможно из-за отсутствия необходимых номиналов. Построение регулятора баланса на базе галетного переключателя также позволяет легко получить «переменный резистор» нужного номинала с требуемым законом регулирования.
С учетом сказанного, разработан регулятор громкости и баланса с применением переключателей галетного типа, схема одного канала которого показана на рис. 40. Он имеет следующие основные технические характеристики:
Номинальное входное напряжение......... 200 мВ
Номинальное выходное напряжение........ 200 мВ
Глубина регулировки громкости . . . . . . . . , 60 дБ
Тонкомпенсация (при уровне громкости — 40 дБ) на частоте 100 Гц................ ±8 дБ
Регулировка стереобаланса........... ±8 дБ
Регулятор громкости состоит из делителя на резисторах Rl — R22 и галетного переключателя SA1 на 23 положения. Расчет такого регулятора громкости можно произвести следующим образом. Для любого положения движка переключателя затухания а„ в децибелах определяется как

где R — общее требуемое сопротивление делителя; n — номер положения движка переключателя.
Выбрав значения R (из условия согласования с усилительным каскадом) и затухания ап для каждого положения переключателя, это уравнение можно решить для каждого резистора:

где n=2, 3, ...
При равномерном шаге затухания
ап = аi — (n — 1) Да,
где ai — максимальное затухание делителя регулятора (выбирается из условия необходимой глубины регулирования); Да — шаг затухания; Дa=a1/(N — 1), где N — максимальное число положений движка переключателя.
Рассчитанные сопротивления регулятора громкости при R = 10 кОм, ai = =60 дБ и N=23 приведены в табл. 2. С учетом особенностей слухового восприятия шаг затухания Да первых трех положений переключателя выбран равным 6 дБ, следующих трех — 4 дБ, остальных — 2 дБ.Резистор R23 и соответствующий ему во втором канале служат для уменьшения взаимного влияния каналов и для выравнивания звукового давления в режиме «Моно». Регулятор баланса выполнен на резисторах R24 — R29 и переключателе SA2. Ценя тонкоррекции Cl, C2, R32 подключают кнопкой SB3.

Рис. 40. Принципиальная схема регулятора громкости и баланса на переключателях галетного типа
РЕГУЛЯТОРЫ ТЕМБРА, ЭКВАЛАЙЗЕРЫ
Регулятор тембра является, как правило, обязательным узлом современного высококачественного устройства звуковоспроизведения. Основное его назначение — обеспечить такое регулирование АЧХ усилительного устройства, чтобы компенсировать частотные искажения, вызванные несовершенством акустических систем, или сформировать АЧХ под конкретную фонограмму с учетом акустических свойств помещения и дефектов записи фонограммы и тем самым восстановить естественный тембр звучания. Регулировка тембра звучания основана на изменении АЧХ усилителя в определенной области частот. Коррекция АЧХ усилителя 34 достигается в основном с помощью цепей, содержащих конденсаторы и переменные резисторы и влияющих на АЧХ на краях рабочего диапазона чаетот.В последнее время для регулировки АЧХ усилителя все чаще используют многополосные регуляторы тембра — эквалайзеры с LCR-элементами, которые оозволяют изменить АЧХ на нескольких участках частотного диапазона. Точность коррекции АЧХ усилителя обычно повышается при увеличении числа частотных полос, в которых происходит раздельная коррекция. Однако в результате этого эквалайзер становится одним из громоздких звеньев звуковоспроизводящего тракта, хотя само регулирование производят не более чем в 5 — 12 частотных полосах.
Для повышения плавности и глубины регулирования тембра , все чаще используют активные элементы — транзисторы и ОУ, а также включают регулирующие элементы в цепь ООС. В отличие от пассивных регуляторов (имеющих только цепи формирования АЧХ и согласующие каскады) активные регуляторы обеспечивают большее отношение сигнал — шум и больший диапазон регулировки тембров примерно при том же количестве элементов. Показатели качества регуляторов тембра определяют такие параметры звуковоспроизводящего тракта, как уровень шума, коэффициент гармоник, диапазон регулирования АЧХ, динамический диапазон и т. п.
К основным техническим характеристикам регуляторов тембра относятся следующие:
номинальное входное напряжение [В] — уровень входного синусоидального напряжения, при котором напряжение на выходе равно номинальному (0,8± ±0,05) В. Измерения проводят, когда регуляторы тембра находятся в положении, обеспечивающем горизонтальную АЧХ;
коэффициент передачи на частоте 1 кГц — отношение выходного напряжения регулятора к входному номинальному на частоте 1 кГц при положениях регулирующих элементов, соответствующих горизонтальной АЧХ;
предел регулирования тембра [дБ] — отношение выходного напряжения регулятора на частотах максимального подъема и спада АЧХ (при крайних положениях регулировочных элементов) к выходному напряжению регулятора на частоте 1 кГц при горизонтальной АЧХ каскада;
перегрузочная способность [дБ] — отношение максимального выходного напряжения при коэффициенте гармоник 10% к выходному номинальному напряжению. Измерения проводят на частотах максимального подъема АЧХ;
коэффициент гармоник [%] — коэффициент нелинейных искажений при синусоидальном входном сигнале. Измеряют в диапазоне частот 20... 20 000 Гц при входном напряжении, равном номинальному; регуляторы тембра — -в положении максимального подъема АЧХ;
отношение сигнал — шум [дБ] — отношение выходного напряжения сигнала при номинальном входном к среднеквадратическому значению напряжения шума на выходе при отсутствии сигнала. Измерения проводят без взвешивающего фильтра; регуляторы тембра должны находиться в положении, при которых АЧХ каскада горизонтальна.
Далее описаны схемы регуляторов тембра, согласованных по входу с выходами узлов, о которых речь шла раньше. Эти регуляторы имеют достаточно низкое выходное сопротивление, что позволяет подключить их непосредственно на вход усилителей мощности.
Регулятор тембра на ОУ К153УД2. Он имеет следующие основные техниче» ские характеристики:
Номинальное входное напряжение......... 0,15 В
Коэффициент передачи на частоте 1 кГц....... 15 дБ
Пределы регулирования тембра на частоте, Гц:
100.................
±12 дБ
10000................ ±13 дБ
Перегрузочная способность (относительно уровня 12 дБ), не
менее................. 10 дБ
Коэффициент гармоник в диапазоне частот 20... 20 000 Гц, не
более................. 0,1%
Отношение сигнал-шум (невзвешенное), не менее . . . . 70 дБ
Входное сопротивление............ 100 кОм
Выходное сопротивление........... 1 кОм
Напряжение питания............ ±15 В
Ток потребления............. 10 мА
Такой активный регулятор тембра с RC мостом в цепи ООС (рис. 47), не смотря на простоту, обеспечивает достаточную глубину изменения АЧХ усилителя в области низших и высших частот. Пределы регулировки АЧХ на частотах 50 Гц и 15 кГц составляют около ±16 дБ. Наличие ОУ DA1 позволяет получить коэффициент передачи напряжения регулятора больше единицы. В положении максимального подъема АЧХ в области низших и высших частот (резисторы R5 и R3 в крайнем левом по ехеме положении) АЧХ на частотая 350 Гц и 1,5 кГц имеет подъем на 3 дБ. Для обеспечения приведенных характеристик внутреннее сопротивление источника входного сигнала должно быть не более 1 кОм.

СЕЛЕКТОРЫ ВХОДНЫХ СИГНАЛОВ
На вход современного звуковоспроизводящего комплекса подают сигналы от самых разных источников звуковых программ, таких как электрофон, магнитофон, тюнер, радиоприемник, радиотрансляционная сеть, телевизор, микрофон и др. Каждый из источников подключают к усилителю с помощью отдельного разъема. Как правило, для этого используют унифицированные штепсельные соединители ОНЦ-ВГ-4-5/16-Р ,(прежнее название СГ-5) и ОНЦ-ВГ-4-5/16-В (прежнее название СШ-5). Разводка цепей в них унифицирована и осуществляется в соответствии с ГОСТ 12368 — 68, учитывающим международные нормы.На вход предварительного усилителя звуковой сигнал с входных разъе-ков поступает через селектор входного сигнала, назначение которого — избирательное подключение на вход усилителя 34 выбранного слушателем источника звуковой программы. Часто с помощью селектора коммутируют источники звуковых сигналов, чтобы обеспечить запись на магнитофон, наложение сигналов с микрофона на отдельные звуковые программы и т. д.
В селекторах входного сигнала используются механические или электронные коммутаторы. Механические коммутаторы проще по конструкции, не имеют нелинейных цепей. Однако их громоздкость, расположение органов управления и коммутации вдали от переключаемых малосигнальных цепей, дребезг контактов создают большие проблемы в получении хорошей помехозащищенности и минимума наводок. К тому же они являются источником тресков и щелчков. Для электронных коммутаторов свойственно разделение органов управления и коммутации и разнесение их в пространстве, что предоставляет конструктору большую свободу в компоновке проектируемого аппарата, позволяет приблизить элементы коммутации непосредственно к переключаемым малосигнальным цепям и входам предварительных чувствительных каскадов усилителя, упрощает настройку коммутируемых цепей.
Исполнительные устройства электронных коммутаторов могут быть выполнены как на электромагнитных реле, так и на чисто электронных узлах, построенных на аналоговых переключателях (например, на микросхеме К564КТЗ) или мультиплексерах аналоговых сигналов (например, на К564КШ, К564КП2 и т.п.) или на полевых транзисторах.
В случае применения электромагнитных реле конструкция получается громоздкой и дорогой, а когда используются электронные узлы, возникают проблемы, связанные с прохождением слабых сигналов через нелинейные элементы.
Цепи управления аналоговым переключателем строятся либо на базе механического переключателя, либо на базе цифровых микросхем.
При конструировании селекторов входных сигналов стремятся уменьшить переходные помехи, т. е. просачивание сигнала из одного канала в другой. Для высококачественного звуковоспроизведения достаточно получить затухание переходных помех примерно 50 дБ на частоте 1 кГц. Затухание измеряют как отношение выходного напряжения селектора к напряжению другого, неподключенного канала.
Общим показателем качества селекторов входных сигналов также является число коммутируемых источников сигналов. Кроме того, каждому типу селектора (механическому или электронному) присущи свои технические характеристики. Они приводятся при описании конкретной схемы.
Селектор входных сигналов на переключателе галетного типа. Рассматриваемый селектор позволяет подключать до шести источников звуковых программ (из них два проигрывателя и два магнитофона), вести перезапись с магнитофона на магнитофон или записывать любую из программ на два магнитофона с одновременным ее прослушиванием.
Принципиальная схема одного канала селектора входных сигналов приведена на рис. 9. Сигнал с одного из разъемов XS1 — XS4 поступает на переключатель источников программ SA1. Узел А1 корректирует АЧХ, если усилитель соединяется с электромагнитной головкой звукоснимателя. К разъемам XS5, XS6 подключают два магнитофона как на запись, так и на воспроизведение. При наличии у них сквозного тракта переключатель SA2 позволяет прослушивать через усилитель записываемую программу или уже сделанную запись (так называемый режим «мониторинг»). Переключателем SA3 коммутируют магнитофоны в режиме «Запись». Они либо соединяются с разъемами XS1 — XS4 (и ведется запись любой из программ), либо между собой (при перезаписи).
Переклю чателем SA4 устанавливают режим работы усилителя «Стерео» или «Моно». Резистор R5 уменьшает взаимное влияние каналов при их параллельном включении в режиме «Моно».
В качестве входных разъемов можно использовать пятиконтактные штепсельные соединители ОНЦ-ВГ-4-5/16-Р или ОНЦ-КГ-4-5/16-Р, предназначенные для печатного монтажа. Для переключателей входов и рода работ практически можно использовать любые имеющиеся галетные переключатели, например, типа пгз.
Селектор входных сигналов: на кнопочных переключателях типа П2К. В селекторах входных сигналов широко используются переключатели П2К. В качестве примера на рис. 10 приведена схема одного из них. Этот селектор позволяет подключить четыре источника звуковых программ и вести запись любой программы на магнитофон с одновременным прослушиванием либо самого источника сигнала, либо фонограммы с магнитофона. Предусилитель-корректор для магнитного звукоснимателя А1 включен между входным разъемом XS1 и переключателем SB1.1. Через контакты переключателей SB1.2 и SB1.3 входные сигналы соответственно с разъемов XS2 и XS3 поступают на вход основного усилителя. К разъему XS4 подключают магнитофон как в режиме записи, так к воспроизведения. Переключателем SB2 подают на усилитель любую из звуковых программ, выбранную переключателем SB1 и поступающую одновременно для записи в магнитофон, или с магнитофона в режиме воспроизведения. Переключателем SB3 устанавливают стерео- или монофонический режим работы усилителя.
Резистор R3 служит для развязки каналов при их параллельной работе в режиме «Моно».

Рис. 9. Принципиальная схема селектора входных сигналов на переключателе галетного типа

Рис. 10. Принципиальная схема селектора входных сигналов на кнопочных переключателях типа П2К
В качестве переключателя SB1 используется блок из трех переключателей П2К с зависимой фиксацией. Переключатели SB2 и SB3 — одиночные с независимой фиксацией.

Схема заземления псевдоквадрафонического усилителя ЗЧ
Во всех случаях проводники, выходящие за пределы экрана, необходимо делать как можно короче.На рис. 101 приведена схема заземления псевдоквадрафонического усилвтеля 34. Каждый ФУ выполнен в виде модуля на печатной плате, на которой смонтированы два одинаковых устройства (предусилитель-корректор, фильтр, нормирующий усилитель и т. п.). На каждой из них имеются два изолированных общих провода: 1 — в сигнальной цепи, 2 — в цепи питания,
Наиболее чувствительные участки усилителя — пять входных ФУ — заземлены с использованием двух раздельных общих проводов сигнальных цепей (корректоры и фильтры соединены с одним проводом, а нормирующий усилитель, шумоподавитель и темброблок — с другим). Цепи нитания этия узлов и квадрапреобразователя подключены к отдельному общему проводу. Общие провода сигнальных цепей квадрапреобразователя и четырех усилителей мощности объединены в один. Общий провод .цепи питания каждого усилителя мощности отдельный. Особо следует обратить внимание, чтобы вместе с ними в этот жгут не попали слаботочные провода входных цепей. Общие провода измерителей уровня и блоков защиты, как менее чувствительные, объединены и проложены отдельно от других. «Земля» шасси служит для подключения каркаса и кожуха усилителя к внешней шине. Общие провода сигнальных цепей и цепей питания необходимо присоединить к корпусу только в одной точке — в основном источнике питания, т. е. в сетевом выпрямителе. К этой же точке необходимо присоединить экран силового трансформатора.
ШУМОПОДАВИТЕЛИ
При прослушивании программ нередко при малых уровнях сигнала, и особенно в паузах музыкального произведения, заметен мешающий шум. Для расширения динамического диапазона и уменьшения шумов при воспроизвединии конструкторы создают различные системы шумоподавления. Известные си« стемы шумоподавления можно разделить на два вида. К первому относятся системы с однократным воздействием на сигнал, т, е. работающие только при воспроизведении, к второму — требующие предварительной обработки сигнала ори записи и последующем воздействии при воспроизведении.К шумоподавителям первого вида относятся устройства понижения шума в паузах, так называемые пороговые шумоподавители, и устройства с использованием управляемых фильтров — динамические шумоподавители. Типичными их представителями являются пороговый шумоподавитель NFD фирмы Panasonic и шумоподавитель DNL, предложенный фирмой Philips [10]. К ним же относится также эффективная отечественная система динамического шумопонижения «Маяк» [11]. Основной недостаток этих устройств — частичное подавление полезного сигнала — связан с принципом их работы.
Наиболее эффективными, но и более сложными, являются компаидерные устройства, относящиеся к второму виду систем шумоподавления. Это, применяемые в бытовой звукотехнике, системы Dolby (А, В, С), ANRS High Come и др. [12]. Они позволяют значительно снизить шум без ущерба для исходного сигнала. Но из-за того, что в случае их применения необходима двухкратная обработка сигнала, такие системы, как правило, используют в устройствах магнитной записи.
В усилителях 34 целесообразно применять шумоподавители первого вида — пороговые и динамические. В простейшем же случае для понижения шума ограничивают полосу пропускания ФНЧ (с частотой среза 5 ...7 кГц) и регулятором тембра. Так как шумоподавитель вносит заметный вклад в нелинейные искажения всего усилительного тракта и ухудшает его динамические характеристики, то при воспроизведении звуковых программ с качественных носителей информации шумоподавитель следует исключать из тракта прохождения сигнала.
Для этого в усилителе предусматривают специальный переключатель (S6 на рис. 1).
Далее приводятся описания двух простых шумоподавителей для использования в усилителях 34. Однако применение этого узла в высококачественном усилителе 34 не обязательно.
Динамический шумоподавитель на основе управляемого фильтра. Установлено, что спектр музыкальных сигналов зависит от их громкости таким образом, что с уменьшением громкости относительное содержание высокочастотных составляющих в сигнале уменьшается. Это дает возможность существенно ослабить уровень высокочастотных шумов за счет управляемого ограничения полосы усилителя в паузах и при малых уровнях сигнала. На управляемом изменении частотной характеристики тракта звуковоспроизведения основан принцип работы динамических шумоподавителей (принцип динамической фильтрации).
Основные технические характеристики динамического шумоподавителя:
Номинальное входное напряжение...... 0,8 В
Максимальное входное напряжение...... SB
Перегрузочная способность, не менее..... 20 дБ
Коэффициент передачи на частоте 1 кГц .... 1
Крутизна спада АЧХ в полосе подавления . . . . 10 дБ на октаву
Полоса частот (на уровне — 3 дБ) ...... 20 ... 20 000 Гц
Коэффициент гармоник, не более...... 0,2%
Входное сопротивление......... 100 кОм
Напряжение питания..........±15В
Ток потребления...........10 мА

Рис. 45. Принципиальная схема динамического шумоподавителя на основе управляемого фильтра
Схема этого шумоподавителя приведена на рис. 45. Основным узлом здесь является управляемый ФНЧ, частота среза которого изменяется в широком диапазоне частот от 1 до 20 кГц. Фильтр состоит из элементов R5, R5, С6, С7 и VT1. Управляющее напряжение поступает на затвор транзистора VTI с резистора R10 из выпрямительного каскада на элементах DA2, VD1, VD2. Необходимый коэффициент передачи устройства и согласование с остальными каскадами усилителя обеспечивают элементы DAI, DA3.
Шумоподавитель собран на унифицированной монтажной плате (см.
рис. 32). В нем использованы резисторы МЛТ-0,25, СПЗ-22, конденсаторы КМ-5, КМ-6, К53-1. Вместо указанных на схеме можно использовать другие ОУ, например, К153УД1, К140УД7 со своими цепями коррекции.
При настройке шумоподавителя потребуется стабилизированный двухполяр-ный источник питания напряжением ±15 В и током не менее 25 мА. Ее производят в следующем порядке. К выходу шумоподавителя подключают милливольтметр переменного тока. Движки всех переменных резисторов должны находиться в нижнем по схеме положении. На вход шумоподавителя подают синусоидальный сигнал частотой 5 кГц и уровнем 0,8 В (действующее значение). Резистором R2 устанавливают выходное напряжение около 0,8 В. Подстраивая резистор R8, уменьшают выходной сигнал на 25 дБ (около 45 мВ). Затем резистором R10 увеличивают сигнал на выходе таким образом, чтобы его уровень был на 3 дБ ниже по отношению к 0,8 В (около 0,57 В). На этом налаживание шумоподавителя заканчивается.
Пороговый шумоподавитель на микросхемах. Работа пороговых шумопода-вителей основана на принципе автоматического уменьшения усиления в тракте воспроизведения в паузах, когда шумы проявляются наиболее сильно. Для определения паузы используется различие уровней сигнала и шума. Порог срабатывания обычно устанавливают вручную таким, чтобы уменьшение шума не сопровождалось заметным снижением уровня слабых сигналов.
Основные технические характеристики порогового шумоподавителя, выполненного на микросхемах:
Номинальное входное напряжение....... 0,8 В
Максимальное входное напряжение....... 8В
Перегрузочная способность, не менее ...... 20 дБ
Коэффициент передачи на частоте 1 кГц..... 1
Интервал регулировки порога срабатывания .... — 40... — 20 дБ
Коэффициент гармоник.......... 0,2%
Входное сопротивление .......... 100 кОм
Напряжение питания........... ±15 В
Ток потребления............ 15 мА

СПИСОК ЛИТЕРАТУРЫ
1. Атаев Д. И., Болотников В. А. Унификация в радиолюбительских конструкциях. — Радио, 1983, № 12, с. 32 — 35.2. Пикерсгиль А., Беспалов И. Феномен «транзисторного звучания». — Радио, 1981, № 12, с. 36 — 38.
3. Банк М. У. Параметры бытовой приемно-усилительной аппаратуры и методы их измерения. — М.: Радио и связь, 1982. — 136 с.
4. Лихницкий А. М., Школьников Р. М. Применение метода компенсации для измерения параметров усилителя низкой частоты. — Техника средств связи. Сер. ТРПА, 1981, № 1, с. 25 — 34.
5. Атаев Д. И., Болотников В. А. Подавление помех и шумов в усилителях 34. — Радио, 1984, № 4, с. 43 — 45, № 5, с. 35 — 36.
6. Атаев Д. И., Болотников В. А. Предусилители-корректоры для магнитного звукоснимателя. — Радио, 1982, № 4, с. 38 — 40.
7. Эфруси М. М. Микрофоны и их применение. — М.: Энергия, 1974. — 88 с.
8. Терехов А. О регулировании громкости. — Радио, 1982, № 9, с. 42 — 43.
9. Орлов П., Приходько А. О регулировании громкости в стереофонических усилителях. — Радио, 1980, № 6, с. 44 — 45.
10. Кинг Г. Руководство по звукотехнике: Пер. с англ. — Л.: Энергия 1980 — 384 с.
11. Изаксон И., Николаенко А., Смирнов В. Динамический фильтр «Маяк». — Радио, 1982, № 12, с. 34 — 36.
12. Боздех И. Конструирование дополнительных устройств к магнитофонам: Пер. с чешск./Под ред. Б. Я. Меерзона. — М.: Энергоатомиздат, 1981. — 304 с.
13. Кононович Л. М., Ковалгин Ю. А. Стереофоническое воспроизведение звука. — М.: Радио и связь, 1981. — 184 с.
14. Берендюков Ю., Ковалгин Ю., Синицын А., Егоров А. Квадрафония или система ABC? — Радио, 1982, № 9, с. 44 — 48.
15. ГОСТ 21185 — 75. Измерители уровня квазипиковые. Типы и основные параметры. Методы испытаний.
16. Никонов А. В., Папернов Л. 3. Измерители уровня звуковых сигналов — М.: Радио и связь, 1981. — 112 с.
17. Рачев Д. Вопросы любительского высококачественного звуковоспроизведения: Пер. с болг. — Л.: Энергоатомиздат, 1981. — 184 с.
18. Хоровиц П., Хилл У. Искусство схемотехники: Пер. с англ — Изд 2-е — М.: Мир, 1984. — 598 с.
19. Атаев Д. И., Болотников В. А. Выбор пассивных элементов для тракта 34. — Радио, 1985, № 6, с. 44 — 46, № 7, с, 38 — 39.
Структурная схема усилителя высококачественного звуковоспроизведения
В настоящее время под УВЗ понимают двухканальную стереофоническую или четырехканальную квадрафоническую систему звуковоспроизведения, которая обеспечивает восприятие звуковых колебаний источников сигналов оригинала, расположенных в пространстве, а в случае квадрафонической системы — а сигналов вторичных акустических источников — отражений от стен и других объектов в студии, создавая ощущение «атмосферы зала», т. е. эффект объемного звучания. Это, в свою очередь, заставляет вводить в усилитель новые элементы, такие как регуляторы баланса уровня громкости тыловых акустических систем, квадрапреобразователи.Разделение УВЗ на ряд функциональных узлов позволяет унифицировать связи между ними и тем самым создавать различную по качеству и техническим возможностям звуковоспроизводящую аппаратуру [1].
На рис. 1 приведена структурная схема составленного из ФУ современного стереофонического звуковоспроизводящего тракта, дополненного квадрапреобра-зователем и двумя каналами усилителей мощности для тыловых акустических систем (для псевдоквадрафонического звуковоспроизведения). Этот вид УВЗ сейчас является наиболее распространенным по двум причинам. С одной стороны, он выгоден из экономических соображений (четырехканальные источники звуковых сигналов весьма дороги), а с другой — он создает хорошую иллюзию объемного звучания, оказывающую сильное эмоциональное воздействие на слушателя.
Усилитель высококачественного звуковоспроизведения (см. рис. 1) состоит из девяти автономных ФУ: предусилителей-корректоров сигнала магнитного звукоснимателя 1А1, 2А1 (ФУ1); фильтров верхних и нижних частот 1Z1, 2Z1 и !Z2, 2Z2 (ФУ2); регулятора стереобаланса А1, тонкомпенсированных регуляторов громкости 1А2, 2А2, нормирующих усилителей 1АЗ и 2АЗ (ФУЗ); шумоподави-телей 1А4 и 2А4 )(ФУ4); темброблоков 1А5 и 2А5 (ФУ5); синтезатора псевдоквадрафонического сигнала А2 |(ФУ6); усилителей мощности 1А6, 2А6, ЗА6, 4А6 (ФУ7); индикаторов выходной мощности 1Р1, 2Р1, ЗР1, 4Р1 (ФУ8); устройства защиты усилителей мощности и громкоговорителей 1А7, 2А7, ЗА7, 4А7 (ФУ9); источника питания G1.
Переключателем S1 выбирают источник сигнала, S2 и S3 коммутируют фильтры верхних и нижних частот, S4 переключает тракт из монофонического режима в стереофонический и наоборот, S5, S6, S7 коммутируют соответственно цепи тоюшмпенсации, шумоподавителя и регулятора тембра, S8 устанавливает псевдоквадрафонический режим работы УВЗ. Технические показатели усилителей, определяемые ГОСТом, ОСТом или другими специальными руководящими материалами, обычно касаются сквозных характеристик всего усилительного тракта. Поэтому для оценки качества каждого ФУ установим самостоятельные технические характеристики.
Примерные нормы на технические характеристики основных ФУ усилительного тракта, разработанные авторами с учетом возможностей современной элементной базы, приведены в табл. I. Для каждого ФУ предлагаются три уровня параметров: начальный — для простых массовых конструкций, средний — для относительно недорогих конструкций достаточно высокого качества и высший — для уникальных конструкций, обеспечивающих весьма высокое качество звучания.
Монтаж узла выполнен на выводах
|
n |
ан,ДБ |
Рассчитанное Кп.0м |
Номинал по шкале Е, Ом |
n |
ан, дБ |
Рассчитанное Rn. Ом |
Номинал по шкало Е, Ом |
|
1 |
60 |
10,00 |
10 |
12 |
20 |
205,67 |
200 |
|
2 |
54 |
9,95 |
10 |
13 |
18 |
258,92 |
270 |
|
3 |
48 |
19,86 |
20 |
14 |
16 |
325,97 |
330 |
|
4 |
42 |
39,62 |
39 |
15 |
14 |
410,37 |
430 |
|
5 |
38 |
46,46 |
47 |
16 |
12 |
516,63 |
510 |
|
6 |
34 |
73,64 |
75 |
17 |
10 |
650,38 |
680 |
|
7 |
30 |
116,70 |
120 |
18 |
8 |
818,79 |
820 |
|
8 |
28 |
81,88 |
82 |
19 |
6 |
1030,80 |
1000 |
|
9 |
26 |
103,08 |
100 |
20 |
4 |
1297,70 |
1300 |
|
10 |
24 |
129,77 |
130 |
21 |
2 |
1633,71 |
1600 - |
|
11 |
22 |
163,38 |
160 |
22 |
0 |
2056,72 |
2000 |
Налаживание заключается в попарном подборе резисторов делителя регулятора громкости и баланса.
Цифровой регулятор громкости. Основным недостатком регуляторов на основе переменных резисторов и переключателей является сложность их размещения непосредственно вблизи входов усилителя, что вызвано необходимостью размещения органов управления на передней панели усилителя. Это усложняет борьбу с помехами и наводками. Кроме того, наличие механических контактов ухудшает надежность работы таких регуляторов, увеличивает помехи в виде тресков, шорохов, щелчков. С развитием элементной базы появилась возможность создать электронные регуляторы громкости на базе специальных микросхем или при использовании переключателей аналоговых сигналов КМОП структуры, что позволяет устранить указанные недостатки.
На рис. 41 приведена схема одного канала регулятора громкости на база мультиплексора КМОП структуры. Регулятор используют совместно с селектором входных сигналов (см. рис. 13). Регулятор громкости состоит из электронного переключателя на 32 положения и цифрового узла управления им. Достоинством этого регулятора также является большая точность совпадения каналов, определяемая допуском резисторов делителя.
Цифровой регулятор громкости имеет следующие основные технические характеристики:
Номинальное входное напряжение........ 200 мВ
Номинальное выходное напряжение....... 200 мВ
Максимальное входное напряжение....... 6 В
Глубина регулировки громкости........ 64 дБ
Напряжение питания........... 15 и 7,5 В
Ток потребления............. 30 мА

Техническая характеристика
Выходное сопротивление, кОм
100
1
100
1
100
1
кания
нее
не уже
стот 20...20000 Гц2, %, не более
дБ, не менее 2- в
не менее 4
частоте, Гц:
(на уровне — 3 дБ), Гц, не уже
ходного напряжения, В/мкс, не менее 8
дБ, не менее 5, 6
1 На частоте 1 кГц при коэффициенте гармоник не более 0,5%.
2. При номинальном входном напряжении.
3. При максимальном подъеме АЧХ в коэффициенте гармоник не более 0,5%.
4 При заданном коэффициенте гармоник.
5. При номинальной выходной мощности.
6. По отношению к собственным шумам усилителя.
Сквозные характеристики аппаратуры, построенной из ФУ начального уровня, удовлетворяют минимальным требованиям к системам высококачественного воспроизведения звука по стандарту DIN 45500; параметры ФУ среднего уровня обеспечивают сквозные характеристики, свойственные лучшим образцам современной отечественной и зарубежной аппаратуры класса Hi — Fi; нормы на параметры ФУ высшего уровня установлены исходя из анализа современного состояния и перспектив совершенствования звуковоспроизводящей техники в будущем. Значения параметров выбраны таким образом, чтобы ни один ФУ в пределах своего уровня не ограничивал характеристики тракта в целом. Использование ФУ с разными уровнями параметров в одном устройстве нежелательно, так как это приведет к снижению характеристик усилителя, которые будут определяться параметрами ФУ худшего качества.

Рис. 2. Схема соединения ФУ при объединении их в звуковоспроизводящий тракт
Рис. 3. Схема соединения монтажных плат ФУ при объединении их в звуковоспроизводящий тракт
Схемы соединений ФУ при объединении их в звуковоспроизводящий тракт показаны на рис. 2 и рис. 3 (нумерация выводов ФУ на первом из них соответствует нумерации контактов на торцах монтажных плат на втором). Здесь выход ФУ1 соединен непосредственно с входом ФУ2, выход ФУ2 — с входом ФУЗ и т. д. Питание на каждый ФУ подается с соответствующих шин по отдельным проводам. Чтобы уменьшить помехи (фона и шумов), общие провода сигнальных цепей и питания (средняя точка источника двухполярного питания) разделены. С отдельной шиной (корпусом) соединяют и экраны, в которые помещают чувствительные к наводкам ФУ (см.
с. 130).
В предлагаемом исполнении звуковоспроизводящего тракта некоторые ФУ (например, фильтры, нормирующие усилители, темброблоки и т. п.) можно поменять местами, а также исключить отдельные узлы (в этом случае на их место устанавливают короткозамыкающие перемычки, соединяющие выводы входа и выхода исключаемого узла). Это открывает широкие возможности для исследований и оптимального построения разрабатываемого устройства.
Конструкция, построенная на базе модулей ФУ, оказывается весьма работоспособной: вышедший из строя ФУ можно заменять запасным или заглушкой с короткозамыкающими (вход с выходом) перемычками. При этом некоторые параметры ухудшаются, и теряются отдельные эксплуатационные удобства (например, возможность регулирования тембра при выходе из строя темброблока), однако работоспособность тракта сохраняется. Далее будет приведено описание банка испытанных схем различных ФУ, удовлетворяющих перечисленным требованиям. Все ФУ совместимы информационно, электрически и конструктивно,
Под информационной совместимостью подразумевается совместимость сиг-валов, несущих информацию (например, по номинальному диапазону частот, скорости нарастания выходного сигнала, динамическому диапазону и т. п.), под электрической — совместимость по номинальным уровням входных и выходных сигналов соседних по тракту ФУ и по входным и выходным сопротивлениям, под конструктивной — возможность непосредственного конструктивного объединения ФУ в результате одинаковой прокладки линий связи, применения однотипных разъемов и единого порядка соединения контактов с соответствующими цепями ФУ.
УСИЛИТЕЛИ МОЩНОСТИ ЗВУКОВОЙ ЧАСТОТЫ
Усилители мощности выполняют функции оконечных каскадов усилителей 34 и предназначены для создания необходимой мощности на внешней нагрузке, которой обычно является акустическая система.В комплексах высококачественного звуковоспроизведения усилитель мощности обычно выполняют в виде отдельного блока (или субблока). Он не содержит корректирующих АЧХ элементов и имеет плоскую АЧХ в широком диапазоне частот. В этом блоке не предусматривают никаких регулировок. Устанавливается лишь индикатор уровня выходной мощности. Уровень входного сигнала для этого усилителя нормируется, и обычно он равен 775±50 мВ. Усилитель мощности имеет большую выходную мощность (более 10 Вт), минимальный уровень собственных шумов (ниже — 60 дБ) и коэффициент гармоник меньше 1%. Фазо-частотная характеристика усилителя линейиа в диапазоне частот 20 Гц... 30 кГц.
Значительный запас мощности, которым обладает усилитель, позволяет получить большой динамический диапазон громкостей, что повышает естественность звучания, улучшает стабильность работы при номинальной мощности и обеспечивает незначительные нелинейные искажения. Максимальная выходная мощность, которая может быть передана в нагрузку, определяется максимальными значениями напряжения, действующего на выходе усилителя, и тока, протекающего через усилитель при заданной нагрузке. Эти значения целиком и полностью определяются параметрами выходных транзисторов. Поэтому для усилителей мощности характерным является применение в оконечном каскаде высоковольтных транзисторов повышенной мощности, потребляющих от источников питания большую энергию. В свою очередь, максимальное использование оконечных транзисторов по напряжению и току приводит к росту нелинейных искажений.
Снижение уровня нелинейных искажений достигается в основном введением глубокой ООС. Однако при этом возрастает запаздывание сигнала на выходе и в цепи ООС, что является причиной динамических искажений.
На слух динамические искажения проявляются в виде потери высших частот, в неестественном оттенке звучания, так называемом «транзисторном звуке».
Сте пень динамических искажений оценивается по скорости нарастания выходного напряжения усилителя мощности. Для уменьшения динамических искажений в высококачественных усилителях глубина ООС ограничивается в пределах 20... ... 30 дБ. В качестве оконечных применяют мощные высокочастотные биполярные или полевые транзисторы, которые позволяют расширить диапазон усиливаемых частот и тем самым повысить быстродействие усилителя. Меры, принимаемые для снижения динамических искажений, приводят к возрастанию нелинейных искажений, и условие обеспечения их (динамических и нелинейных искажений) на низком уровне является противоречивым.
Часто для снижения нелинейных искажений для усилителей малой мощности выходной каскад работает в режиме А. Однако это затрудняет термостаби-лизацию большого тока покоя транзисторов выходного каскада и снижает КПД усилителя.
В настоящее время в основном применяют бестрансформаторные выходные каскады, которые реализуют на трех-, четырехэлементных составных транзисторах при нескольких параллельно соединенных выходных транзисторах. Для них обычно предусматривается уетройство защиты при перегрузке сигналом большого уровня и при коротком замыкании на выходе.
Качественные показатели усилителей мощности, их физические размеры в основном определяют качество всего усилительного устройства и поэтому неудивительно, что разработчики аппаратуры высококачественного звуковоспроизведения уделяют наибольшее внимание созданию высококачественных усилителей мощности. Поскольку требования к. снижению нелинейных и динамических искажений являются противоречивыми, то это является источником поиска для разработчиков, это же обстоятельство объясняет многообразие технических решений, появляющихся ;в последнее время.
К основным параметрам усилителей мощности звуковой частоты относятся следующие:
максимальная выходная мощность Ртах [Вт] — выходная электрическая мощность на частоте 1 кГц при значении коэффициента гармоник 10%;
номинальная выходная мощность РЯОм [Вт] — выходная электрическая мощность, при значении коэффициента гармоник, заявленного для этого усилителя на частоте 1 кГц;
номинальная выходная мощность в полосе рабочих частот Рном (Дf) [Вт] — минимальная выходная электрическая мощность в диапазоне частот 20 Гц... 20 кГц при значении коэффициента гармоник, заявленного для этого усилителя на частоте 1 кГц;
коэффициент гармоник КГ [%] — коэффициент нелинейных искажений, когда входным низкочастотным сигналом является синусоидальное напряжение;
коэффициент гармоник в режиме малой выходной мощности Кг (50 мВт) [%] — коэффициент гармоник, измеренный при выходной мощности 50 мВт;
коэффициент гармоник в полосе частот Kг (Дf) [%] — максимальный коэффициент гармоник в диапазоне частот 20 Гц... 20 кГц при номинальной выходной мощности;
отношение сигнал-шум [дБ] — логарифм отношения выходного напряжения усилителя при номинальной мощности к среднеквадратическому напряжению шумов усилителя в полосе частот 20 Гц... 20 кГц;
нормированная АЧХ [дБ] — зависимость нормированного значения усиления G от частоты; G = 20 lg (К/Ко), где К — коэффициент усиления усилителя в диапазоне частот, Ко — коэф.фициент усиления на частоте 1 кГц;
полоса рабочих частот Аf [Гц] — диапазон частот, внутри которого нормированная АЧХ усилителя имеет неравномерность не более ±1,5 дБ, измеряют при Pвых = 0,1 РНОМ;
фазо-частотная характеристика Аф [градус] — зависимость фазового сдвигаДф между составляющими входного и выходного напряжения от частаты f; ДФН — значение Дф на частоте 20 Гц (нижнее), Дфв — значение Аф на частоте 20 кГц (верхнее);
коэффициент нелинейности фазовой характеристики бф [градус] — наибольшее отклонение фазовой характеристики реального усилителя относительно идеальной фазовой характеристики, изменяющейся по линейному закону; бфн — значение б (ф) на частоте 20 Гц, б (фв) — значение б (ф) на частоте 20 кГц;
максимальная скорость нарастания выходного напряжения Vmax [В/мкс] — максимальное отношение ДUВЫх/Дt, где Дt — интервал времени, за который происходит изменение выходного напряжения Uвых на значение ДUВых на участке с наиболее крутым фронтом.
Далее будут описаны усилители мощности, согласованные по входу с выходами узлов, описанных ранее « обеспечивающих согласованную работу на восьми- и четырехомную нагрузку. Чтобы получить приводимые технические характеристики, монтаж усилителей должен соответствовать приведенным чертежам печатной платы и монтажной схемы. Изменение компоновки может привести к ухудшению коэффициента гармоник и отношения сигнал — шум. В качестве материала печатных плат во всех случаях использован односторонний фольгиро-вгнный стеклотекстолит толщиной 1,5 мм.
Усилитель мощности с балансным дифференциальным входным каскадом, Он имеет следующие основные технические характеристики:
Номинальная выходная мощность....... 55 Вт
Коэффициент гармоник.......... 0,07%
Полоса рабочих частот . . . . , , . . . . 20... 50 000 Гп
Отношение сигнал-шум.......... 89 дБ
Напряжение питания........... ±36 В
Ток покоя............ . . 100 мА
Полные технические характеристики усилителя приведены в табл. 4.
Таблица 4
Технические характеристики усилителей мощности
|
Усилитель |
Рmах. ВТ |
Pном (Дf) Вт |
КГ
(Дf), % |
Кг
(50 мВт), % |
Дf. Гц |
в (Фн). град |
в (ФВ), град |
Фн,Гград |
Фв, град |
Vmах, в/мкс |
|
Рис. 66 |
60 |
55 |
0,07 |
0,15 |
20... 50000 |
8 |
8 |
30 |
2 |
20 |
|
Рис. 69 |
80 |
75 |
0,06 |
0,12 |
20... 40000 |
7 |
7 |
25 |
2 |
16 |
|
Рис. 72 |
70 |
60 |
0,04 |
0,1 |
20... 150000 |
5 |
3 |
18 |
5 |
17 |
|
Рис. 75 |
80 |
70 |
0,05 |
0,1 |
20... 80000 |
1 |
2 |
8 |
7 |
|
|
Рис. 79 |
70 |
60 |
0,04 |
0,08 |
20... 100000 |
10 |
3 |
35 |
11 |
12,5 |
|
Рис. 82 |
20 |
.ЛЬ |
0,03 |
0,07 |
20... 80000 |
4 |
3 |
16 |
8 |
10 |
|
Рис. 85 |
70 |
60 |
0,5 |
0,7 |
10... 25000 |
8 |
5 |
40 |
10 |
7,5 |
Другая особенность состоит в применении входного балансного дифференциального каскада, обладающего хорошей термостабильностью.
Принципиальная схема усилителя приведена на рис. 66. Он состоит из входного каскада (транзисторы VT1, VT2), каскада усиления напряжения (VT3) и выходного (VT4 — VT7) и элементов защиты выходных транзисторов (VD3 — VD6). Входной каскад выполнен по схеме дифференциального каскада е несимметричным выходом. Входной сигнал поступает на базу транзистора VT1 через разделительный конденсатор С1. Сигнал ООС подается с выхода через резистор R6 на базу транзистора VT2. Дифференциальный каскад сравнивает выходное напряжение с нулевым напряжением общего провода, и еели по каким-либо причинам постоянное напряжение на выходе усилителя станет отличным от нуля, сигнал рассогласования с выхода дифференциального каскада поступает на выходной каскад, обеспечивая тем самым нулевое напряжение на выходе усилителя. С выхода дифференциального каскада сигнал поступает на усилитель напряжения и через резистор R7 на выходной каскад. Выходной каскад выполнен на составных комплементарных транзисторах VT4, VT6 и VT5, VT7, обладающих большим входным и весьма малым выходным сопротивлениями.
Диоды VD1 и VD2 создают начальное смещение выходного каскада и обеспечивают температурную стабилизацию тока покоя выходных транзисторов. Через конденсатор вольтдо-бавки С5 подключается ПОС в цепь коллекторной нагрузки транзистора VT3, обеспечивая тем самым получение максимального размаха выходного напряжения. Диоды VD3, VD4 и VD5, VD6 защищают выходные транзисторы, шунтируя в случае перегрузки, переходы транзисторов. Элементы СЗ, С6, R14, С7, L1 предотвращают самовозбуждение усилителя на высоких частотах.
Конструктивно усилитель мощности смонтирован на печатной плате, показанной на рис. 67. Для температурной стабилизации тока покоя выходных транзисторов диоды VD1 и VD2 устанавливают на общий с транзисторами VT6 и УТ7 теплоотвод.
Катушка L1 намотана на резисторе R15 (МЛТ-2) и содержит 25 витков провода ПЭВ-2 0,8. Резисторы R12 и R13 изготовлены из высокоом-ного провода (манганин, константан).
Налаживание усилителя заключается в проверке правильности монтажа. При правильном монтаже и использовании исправных элементов дополнительной настройки не требуется. Амплитудно-частотная и фазо-частотная характеристики усилителя приведены на рис. 68. Для питания усилителя необходим двухполярный источник, обеспечивающий при напряжении ±36 В ток не менее 1,2 А.

Рис. 66. Принципиальная схема усилителя мощности с балансным дифференциальным входным каскадом
Усилитель мощности с полевым транзистором в качестве источника тока для входного каскада и элементами симметрирования выходного каскада. Он имеет следующие основные технические характеристики (см. также табл. 4):
Номинальная выходная мощность....... 75 Вт
Коэффициент гармоник.......... 0,06%
Полоса рабочих частот.......... 20... 40 000 Гц
Отношение сигнал-шум.......... 86 дБ
Напряжение питания........... ±40 В
Ток покоя.......... 20 мА
Улучшение качественных показателей в этом усилителе по сравнению с предыдущим достигнуто рядом схемотехнических решений. В эмиттерную цепь входного дифференциального каскада включен источник тока на полевом транзисторе. Это позволяет повысить коэффициент передачи первого каскада и улучшить его термсстабильность. Для улучшения симметрии плеч выходного каскада усилителя и уменьшения нелинейных искажений в эмиттерную цепь одного из транзисторов лредоконечного каскада вводятся корректирующая цепь, состоящая из диода, резистора и конденсатора.
Принципиальная схема усилителя приведена на рис. 69. Он содержит дифференциальный входной каскад (VT2, VT4), усилители тока (VT3) и напряжения (VT6), выходной каскад (VT9 — VT12) и устройство защиты от перегрузок (VT7, VT8). Как уже говорилось, источник тока на транзисторе VT1, включенный в эмиттерные цепи транзисторов VT2, VT4, позволяет, не увеличивая температурную нестабильность, повысить коэффициент передачи по напряжению дифференциального каскада.
Транзистор VT3 позволяет уменьшить нагрузку на выход дифференциального каскада. Каскад с разделенной нагрузкой на транзисторе VT6 усиливает сигнал по напряжению, обеспечивая максимальный размах выходного напряжения.
Квазикомплементарный выходной каскад, выполненный на составных транзисторах (VT9, VT11 и VT10, VT12), хорошо согласовывается с низкоомной нагрузкой. Корректирующая цепь, состоящая из параллельно соединенных диода VD2, резистора R28 и конденсатора С10, улучшает симметрию плеч усилителя, уменьшая тем самым нелинейные искажения. Начальное смещение на базах выходных транзисторов для работы в режиме АВ определяется падением напряжения на участке коллектор — эмиттер транзистора VT5 и регулируется резистором R16. Транзисторы VT7 и VT8 шунтируют при перегрузке эмиттерный переход выходных транзисторов, осуществляя тем самым их защиту. Элементы €3, R5, С4, R31, С12 предотвращают самовозбуждение усилителя на высоких частотах. Цепь R7, С6 служит для выравнивания АЧХ усилителя на высоких частотах звукового диапазона (до 20 кГц).

Рис. 67. Печатная (а) и монтажная (б) платы усилителя мощности с балансным дифференциальным входным каскадом

Рис. 68. Амплитудно-частотная и фазо-частотная характеристики усилителя мощности с балансным дифференциальным входным каскадом
Конструктивно усилитель собран на печатной .плате, показанной на рис. 70. Температурная стабилизация тока покоя выходных транзисторов осуществляется с помощью транзистора VT5, установленного на общем с VT12 или VT11 радиаторе, в непосредственной близости от них. Для питания усилителя необходим двухполярный источник, обеспечивающий при напряжении ±40 В ток не менее 2,5 А.
Налаживание усилителя, собранного из исправных элементов, заключается в проверке правильности монтажа и установке тока покоя выходных транзисторов резистором R16 в пределах 20... 40 мА. Амплитудно-частотная и фазочас-тотная характеристики усилителя приведены на рис. 71.

Рис. 69.
Принципиальная схема усилителя мощности с полевым транзистором в качестве источника тока
Усилитель мощности на комплементарных транзисторах с полной симметрией плеч для обеих полуволн усиливаемого сигнала и с двойным дифференциальным каскадом на входе. Он имеет следующие основные технические характеристики (см. также табл. 4):
Номинальная выходная мощность....... 60 Вт
Коэффициент гармоник.......... 0,04%
Полоса рабочих частот.......... 20... 150000 Гц
Отношение сигнал-шум.......... 88 дБ
Напряжение питания........... ±40 В
Ток покоя.............. 50 мА
Усилитель полностью выполнен на комплементарных транзисторах. Он работает в режиме АВ. Примененные схемные решения позволили до минимума снизить нелинейные искажения. Основная особенность усилителя — симметричность плеч для обеия полуволн усиливаемого сигнала. Это дало возможность снизить нелинейные искажения усилителя без введения ООС. Другая особенность состоит в схеме выходного каскада, позволяющей усиливать сигнал не только по току, но и по напряжению. При этом облегчился режим работы транзисторов предварительного каскада, поскольку требуемая амплитуда сигнала существенно меньше, чем для обычного выходного каскада.

Рис. 70. Печатная (а) и монтажная (б) платы усилителя мощности с полевым транзистором в качестве источника тока

Рис. 71. Амплитудно-частотная и фазо-частотная характеристики усилителя мощности с полевым транзистором в качестве источника тока
Принципиальная схема усилителя показана на рис. 72. Он содержит дифференциальный каскад на комплементарных транзисторах (VT1, VT4, VT2, VT5), каскад усиления сигнала по напряжению (УТ7, VT8), выходной каскад (VT10 — VT13, VT15, VT16) и устройство защиты от перегрузок по току (VT14, VT17). Дифференциальный входной каскад на комплементарных транзисторах имеет дополнительное преимущество по сравнению с обычным: ери равенстве базовых токов транзисторов VT1 и VT2 (VT4 и VT5) через резисторы R2 и R3 и через резистор R30 ток .может вообще не протекать.Это позволяет, не нарушая балансировки каскада, изменять сопротивление этих резисторов в достаточно больших пределах. Чтобы увеличить коэффициент передачи по напряжению и улучшить линейность при высокой термостабильности, в эмиттерные цепи транзисторов дифференциального каскада включены источники тока на транзисторах VT3 и VT6. Каскад усиления по напряжению выполнен на комплементарной паре транзисторов VT7 и VT8, работающих в режиме А.

УЗЛЫ КОНТРОЛЯ УРОВНЯ ВЫХОДНЫХ СИГНАЛОВ
Контроль уровня сигналов звукового тракта имеет важное значение для получения высококачественного воспроизведения. Большое внимание этому уделяют, например, в магнитной звукозаписи, где сигнал должен иметь оптимальное значение. Еели он будет больше, резко возрастают нелинейные искажения, если меньше — ухудшается отношение сигнал-шум. Необходимость контроля уровня выходных сигналов высококачественных усилителей также не вызывает сомнений, поскольку это значительно облегчает балансировку каналов и предотвращает перегрузку усилителей и акустических сиетем (а значит, и возрастание нелинейных искажений и возможный выход из строя динамических головок).Основными параметрами измерителей уровня являются время интеграции и время обратного хода. Время интеграции определяет, насколько правильно отображает измеритель реальный уровень сигнала в данный момент. Чем меньше время интеграции, тем лучше реагирует измеритель на мгновенные изменения-уровня сигнала. Время обратного хода, наоборот, выбирают достаточно большим в пределах 1 ... 3 с, что позволяет отележивать за изменениями среднего уровня сигнала и исключает утомляемость от мелькания отображающих элементов (стрелки измерителя или светодиодов).
В бытовой аппаратуре для контроля уровня широкое распространение получили измерители уровня средних значений (как говорит само название,. они измеряют среднее значение сигнала). За рубежом аналогичные измерители называются волюметрами. Основным недостатком таких измерителей является большое время интеграции (около 200 мс), что не позволяет регистрировать кратковременные изменения уровня сигнала.
Реальная звуковая программа имеет ярко выраженный импульсный характер и часто содержит сигналы с длительностью значительно меньше чем 200 мс. Поэтому для исключения перегрузок и более точной регистрации пиковых уровней ГОСТ 21185 — 75 рекомендует квазипиковые измерители уровня с временем интеграции 5 мс [16]. Иногда также применяют измерители с временем интеграции 60 мс.
В качестве отображающих элементов в измерителях уровня до недавнего времени использовались в основном стрелочные приборы. В настоящее время все чаще применяют газоразрядные, люминесцентные и светодиодные индикаторы ([16]. По сравнению ео стрелочными такие индикаторы практически безынерционны и позволяют регистрировать кратковременное превышение допустимого значения уровня выходного сигнала. Учитывая большой динамический диапазон современных усилителей, желательно, чтобы шкала измерителя была логарифмической.
Далее рассмотрены несложные, но достаточно эффективные измерители с использованием светодиодных индикаторов.
Простой узел контроля перегрузки на О У К153 УД2 и сБетодиоде (рис. 88). Он имеет следующие основные технические характеристики:
Количество индицируемых уровней........ 1
Время интеграции............. 1 мс
Время обратного хода............ 2с
Входное напряжение срабатывания...... . . 0,7 В
Напряжение питания..........., ±15 В
Ток потребления.........,,... 20 мА
Как показывают исследования [17], перегрузки акустических систем очень заметны, даже если они кратковременны. На слух, они воспринимаются как скрип. Кроме того, при .перегрузке может произойти повреждение диффузора или звуковой катушки динамической головки громкоговорителя. (Поэтому в. усилитель целесообразно включать узел контроля перегрузки. В простейшем случае это может быть устройство, срабатывающее при превышении напряжения на выходе усилителя установленного порога. Схема такого устройства приведена на рис. 88. Работает оио следующим образом. Сигналы с выхода левого и правого каналов выпрямляются диодами VD1 и VD2 и суммируются на резисторе R3. Напряжение на резисторе R3 сглаживается конденсатором С1 и поступает на вход 3 компаратора на микросхеме DA1, где сравнивается е напряжением на резисторе R5. Когда напряжение на конденсаторе С1 меньше напряжения яа резисторе R5, на выходе DA1 устанавливается напряжение около — 15 В, При этом светодиод HL1 не светится (диод VD3 в этом случае осуществляет защиту еветодиода по напряжению).
Если напряжение на С1 выше, чем на R5, напряжение на выходе компаратора становится положительным и светодиод загорается. Ток протекающий через HL1, ограничивает сама микросхема. Высокое входное сопротивление позволяет включать этот узел практически в любом «сечении» усилителя.
Узел контроля перегрузки смонтирован на унифицированной монтажной плате с применением резисторов МЛТ-0,25, конденеаторов КМ-5. Вместо указанных на схеме можно использовать микросхему КНОУД7 и светодиод АЛ102.
Настройка заключается в подборе резистора R4 таким образом, чтобы при подаче на вход сигнала уровнем 0,7... 0,8 В (действующее значение) частотой 1 кГц светодиод загорался. Для работы узла необходим етабилизированный двухполярный источник питания напряжением ±15 В и током около 20 мА.

Рис. 88. Принципиальная схема устройства контроля перегрузки на ОУ и светодиоде
Узел контроля перегрузки на светодиодах и транзисторах. Он имеет следую щие основные технические характеристики:
Число индицируемых уровней.......... 1
Время интеграции..........., 180 мс
Время обратного хода............ 1,1 с
Входное напряжение срабатывания........ 11 В
Напряжение питания............ 15В
Ток потребления............. 20 мА
На рис. 89 приведена схема этого узла контроля уровня перегрузки, выполняющего те же функции, что и схема, рассмотренная на рис. 88. В отличие от предыдущего, описываемый узел позволяет контролировать каналы усилителя раздельно. Выполнен он на транзисторах VT1 и VT2. На измеритель уровня сигналы поступают с выходов усилителя мощности, выпрямляются диодами VDI и VD2 и фильтруются конденсаторами С1 и С2.
Часть выпрямленного и сглаженного напряжения с резисторов R7 и R8 поступает на базы транзисторов VT1 и VT2 и сравнивается с напряжением на эмиттерах. Эмиттерное напряжение задается стабилитроном VD3 и равно около 5,6 В. При напряжении на базах менее 6 В транзисторы закрыты и светодиоды HL1 и HL2 не светятся. При напряжении выше 6 В транзисторы VT1 и VT2 открываются и светодиоды загораются, индицируя тем самым перегрузку отдельно по каждому каналу.
Узел смонтирован на унифицированной монтажной плате. В нем использованы резиеторы МЛТ-0,25, конденсаторы К53-1, Вместо указанных на схеме можно использовать также транзисторы типов КТ312, КТ342, КТ3102, светодиоды АЛ102.
Налаживание устройства заключается в установке резисторами R7 и R8 уровня зажигания светодиодов HL1 и HL2 при подаче на его вход синусоидального сигнала частотой 1 кГц уровнем 11 В (действующее значение). Длг работы устройства необходим стабилизированный источник питания напряжением 15 В и током не менее 25 мА.
Измеритель уровня на 11 светодиодах. В этом измерителе в качестве компараторов используются КМОП микросхемы. Он имеет следующие основные технические характеристики;
Число индицируемых уровней ,,...,.. 11
Время интеграции ..…...... 10 мс
Время обратного хода.......... 1,5 с
Диапазон входных напряжений ..... ... 0,077... 1,1 В
Напряжение питания........... 5В
Ток потребления............ 150 мА

Рис. 89. Принципиальная схема устройства контроля перегрузки на светодиодах и транзисторах
Для расширения возможностей измерителя уровня можно увеличить число индицируемых уровней сигнала. Например, в узле, схема которого приведена на рис. 88, можно параллельно конденсатору С1 подсоединить еще несколько компараторов с различными порогами срабатывания, т. е. создать параллельный АЦП. Задавая соответствующие пороги срабатывания компараторов, нетрудно получить любую зависимость закона индикации от уровня входного сигнала. Основной недостаток такого измерителя заключается в большом количестве корпусов аналоговых микросхем (что часто бывает немаловажно для радиолюбителя). Однако можно построить простейшие АЦП, используя цифровые КМОП инверторы тапвв К561 в К564, имеющие фиксированный порог срабатывания и большое входное сопротивление. В этом случае одна микросхема К564ЛН1 заменяет шесть корпусов обычных аналоговых ОУ.
Схема измерителя уровня с использованием КМОП микросхем приведена на рис. 90.
Он состоит из детектора на транзисторе VT1, параллельном АЦП на микросхемах DD1, DD2, устройства индикации на микросхемах DD3 — DD5 и светодиодах HL1 — HL11. При питании от источника с напряжением 5 В порог срабатывания микросхемы 564ЛН1 равен около 2 В. Закон преобразования (в данном случае логарифмический) входного напряжения в выходной код устанавливаются подбором резисторов R3 — R14 делителя.
Измеритель работает следующим образом. При отсутствии входного сигнала напряжение на входах инверторов микросхем DD1, DD2 выше порога срабатывания. На выходах инверторов — напряжение высокого уровня (лог. 1), и светодиоды HL1 — HL11 не светятся. По мере роста входного напряжения напряжение на конденсаторе С2 начинает увеличиваться (относительно 5 В). При этом напряжение на входах микросхем DD1, DD2 будет уменьшаться, и как только оно становится ниже порога срабатывания, последовательно, начиная с DD2.5, начнут срабатывать инверторы. При этом на их выходах будет напряжение низкого уровня (лог. 0) и светодиоды HL1 — HL11 загорятся.
Измеритель собирают на унифицированной монтажной плате с применением переходных монтажных плат для микросхем типов К.564 и КДЗЗ. Вместо микросхемы К564ЛН1 можно использовать К564ЛН1, К564ЛН2, К561ЛН1, К561ЛН2, вместо К133ЛА8 — К133ЛА7, К155ЛА8, К155ЛА7 с соответствующей разводкой выводов. В устройстве используются резисторы МЛТ-0,25, конденсаторы К53-1. Транзистор КТ3107 можно заменить на КТ361, КТ203, КТ208.

Рис. 90. Принципиальная схема измерителя уровня на 11 светодиодах и КМОП компараторах
Налаживание измерителя заключается в следующем. При отсутствии сигнала подбором резистора R1 необходимо установить такое напряжение на входе элемента DD2.5, чтобы светодиод HL1 не горел, а при подаче на вход устройства напряжения около 77 мВ частотой 1 кГц — загорелся. Диоды HL11 — HL1 должны зажигаться последовательно, начиная с HL11, при подаче напряжений 77, 240, 350, 430, 550, 610, 690, 775, 870, 980 и 1100 мВ соответственно.
Как правило, у инверторов одного корпуса разброс порогов срабаты-вания небольшой, но, учитывая возможный разброс порогов срабатывания разных корпусов (DD1 и DD2), иногда бывает необходимо подобрать резне» тор R10. Для работы измерителя уровня необходим стабилизированный источник питания напряжением 5 В и током не менее 150 мА.
Простой измеритель уровня с минимальным числом элементов. Как правило, в большинстве измерителей уровня с использованием дискретных элемен» тов индикации {светодиодов) для каждого из них необходим активный элемент управления (транзистор или микросхема). Для уменьшения элементов управления можно воспользоваться следующим обстоятельством. При изменении в некоторых пределах тока через светодиод напряжение на нем сохраняете» почти неизменным. Тогда, зашунтировав последовательную цепь светодиодов резисторами (как показано на рис. 91,а), можно регулировать пороги зажигания светодиодов при подаче напряжения Uвх. Схему с использованием этого принципа применила в одном из своих усилителей фирма KENWOOD. Аналогичная схема на отечественных элементах показана на рис. 91,6. Простой измеритель уровня с минимальным числом элементов имеет следующие основные технические характеристики:
Число индицируемых уровней.......... 5
Время интеграции............. 10 мс
Время обратного хода............ 1,5 с
Диапазон входных напряжений.......... 0,6 ... 9 В
Напряжение питания........, . . . 10 В
Ток потребления .............. 30 мА
Измеритель состоит из детектора (VD1, VT1) и каскада индикации (VT2, HL1 — HL5). При возрастании сигнала на входе устройства напряжение на конденсаторе С2 увеличивается (относительно 10 В). При этом последовательно будут загораться светодиоды HL3, HL2, HL1. При дальнейшем росте входного сигнала открывается транзистор VT2 и загорается светодиод HL4 и затем HL5. Характер зависимости порогов зажигания от уровня входного сигнала определяется выбором номиналов резисторов R3 — Кб.

Рис. 91.Принципиальная схема измерителя уровня сигнала на последовательно соединенных светодиодах (а) и с использованием детектора и порогового усилителя (б)
Для монтажа измерителя уровня использована унифицированная монтажная плата. Применены резисторы МЛТ-0,25, конденсаторы К53-1, К50-6, светодиоды АЛ307Б. Вместо указанных на схеме можно использовать транзисторы типов КТ315, КТ502, КТ361, КТ503.
Устройство практически не требует настройки. Достаточно проверить правильность монтажа и подать питание от стабилизированного источника напряжением 10 В и током не менее 30 мА. При желании можно изменить в небольших пределах пороги срабатывания светодиодов подбором резисторов R3 — R6.
УЗЛЫ ЗАЩИТЫ ЗВУКОВЫХ КОЛОНОК
Практически все современные линейные усилители мощности звуке» вой частоты построены с использованием двухполярного источника питания и о непосредственной (без разделительного конденсатора) связью с нагрузкой. Та» кая структура усилителя при всех достоинствах имеет один весьма существенный недостаток — возможность появления на выходе усилителя в случае его неисправности постоянного напряжения и, следовательно, выхода из строя дорогостоящей высококачественной динамической головки. Это обстоятельство вызывает необходимость в использовании специальных защитных устройств, отключающих нагрузку при появлении на выходе усилителя постоянного напряжения. Неизбежная проблема, возникающая при создании таких узлов, состоит в определении времени их срабатывания. Позднее срабатывание чревато выходом из строя головки. Преждевременное срабатывание может отключить систему при прохождении через усилитель сигнала очень низкой частоты. Поэтому необходим некоторый компромисс при определении времени задержки срабатывания. Как показывает практика, достаточно 2 с, чтобы устройство ващиты не срабатывало при любых нормальных звуковых сигналах, но прв появлении неисправности отключала громкоговоритель без его теплового повреждения.Кроме того, известно, что при включении питания возникает громкий щелчок, вызванный переходными процессами в усилителе. Для устранения этого явления необходимо подключать громкоговорители к выходу усилителя с некоторой задержкой, достаточной для завершения переходных процессов (обычно 2... 3 с). Эту функцию также возлагают на устройство защиты.
Далее рассмотрены простые, но достаточно эффективные узлы защиты к задержки включения.
Устройство защиты и задержки подключения громкоговорителей на двух транзисторах. Оно имеет следующие основные технические характеристики:
Время задержки.............. 2 с
Напряжение срабатывания........... ±1,5 В
Напряжение питания............ 24 В
Ток потребления.............. 40 мА
На рис. 92 приведена принципиальная схема защитного устройства, подключающего громкоговорители с задержкой и отключающего их при появлении постоянного напряжения на выходе усилителя.
В нормальном режиме работы усилителя при включении питания конденсатор С2 заряжается через резистор R6. Через некоторое время (2 с), определяемое номиналами С2 и R6, напряжение на базе транзистора VT2 возрастает до значения, достаточного для его открывания. Реле K1 срабатывает и его контакты подключают громкоговорители к выходам стереоусилителя. Этим обеспечивается задержка подключения громкоговорителей к выходу усилителей.

Рис. 92. Принципиальная схема устройства защиты и задержки подключения громкоговорителей на двух транзисторах
При появлении на выходе усилителя постоянного положительного напряжения оно через ФНЧ Rl, R2 С1 и диод VD2 открывает транзистор VT1, при этом напряжение на базе транзистора VT2 уменьшается и VT2 закрывается. Постоянное напряжение отрицательной полярности на выходе усилителя через диод VD1 также закрывает транзистор VT2. При этом срабатывает реле K1 и его контакты отключают громкоговорители. При нормальной работе усилиселя ФНЧ шунтирует вход узла защиты, предотвращая его срабатывание о» сигналов звуковых частот.
Для монтажа устройства использована унифицированная монтажная пла~ та. В нем применены резисторы МЛТ-0,25, МЛТ-0,5, конденсаторы К50-6. Вместо транзисторов КТ315Г можно использовать КТ342А, КТ3102А. В устройстве применено реле РЭС-47 (паспорт РФ4.500.417).
Налаживание узла защиты заключается в проверке правильности монтажа. Для работы необходим стабилизированный источник питания напряженней 24 В и током около 40 мА. Для проверки срабатывания на вход нужно подать постоянное напряжение около ±1,5 В.
Устройство защиты и задержки включения громкоговорителей на микросхемах. Основной недостаток узла защиты на транзисторах заключается в следующем. Сигналы с выходов отдельных каналов стереоусилителя подводятся через резисторы R1 и R2 и суммируются (см. рис. 92). Возможен случай {правда маловероятный), когда постоянные напряжения на выходах каналов могут иметь разную полярность и равные значения, и суммарный сигнал на входе защитного устройства будет соответствовать нормальной работе усилителя.
При этом узел защиты не срабатывает, и громкоговорители обоих каналов выйдут из строя. Кроме того, в подобных устройствах используются конденсаторы довольно большой емкости.
На рис. 93 приведена схема узла защиты, в котором эти недостатки устранены. Устройство защиты имеет следующие основные технические характеристика
Время задержки..............2оп
Напряжение срабатывания...........±2 В
Напряжение питания............+24 В
Ток потребления..............40 мА

Рис. 93. Принципиальная схема логического узла (а) и полная схема устройства защиты и задержки включения громкоговорителей на микросхемах (б)
Принцип работы устройства защиты основан на использовании пороговый свойств КМОП цифровых микросхем. Если подать смещение с помощью ре-аисторов R1 — R4 (см. рис. 93,а) на входы А и В микросхемы DD1 и DD2 та-ним образом, чтобы на входе А был потенциал выше порога срабатывания микросхемы, а на входе В — ниже, то на выходе Е будет присутствовать напряжение высокого уровня. Это состояние будет сохраняться, пока постоянное напряжение на входе С будет составлять ±2 В. Если напряжение станет выше +2 В, переключится микросхема DD2, если меньше — 2 В, сработает микросхема DDL При этом на выходе Е будет напряжение низкого уровня {лог. 0). Узел также обеспечивает задержку появления напряжения высокого уровня (лог. 1) на выходе Е в несколько секунд, определяемую временем зарядки конденсатора С1 через резистор R3 до уровня выше UНит/2.
Полная схема устройства защиты приведена на рис. 93,6. Сигналы с выходов левого и правого каналов стереоусилителя поступают на компараторы иа элементах DD1.1, DD1.3 и DD1.2, DD1.4. Пороги срабатывания компараторов определяются резисторами Rl — R8. При нормальном режиме работы усилителя на выходах элемента DD1.3 и DD1.4 при включении питания присутствует напряжение низкого уровня и транзисторы VT1 и VT2 закрыты. По мере зарядки конденсаторов С1 и СЗ напряжения на входах (выводы 1 и 8) элементов DD1.1 и DD1.2 растут и, как только они превысят порог срабатывания, на выходах компараторов появится напряжение высокого уровня: транзисторы VT1 и VT2 откроются, реле К1 сработает, и его контакты подключат громкоговорители к выходам стереоусилителя.Появление постоянного напряжения любой полярности выше 2 В на выходе любого канала вызывает срабатывание одного из компараторов, закрывание одного из транзисторов и отключение контактами реле громкоговорителей.
Узел защиты смонтирован на унифицированной монтажной плате с использованием переходной платы для распайки микросхемы. В нем использованы резисторы МЛТ-0,25, конденсаторы К53-1, КМ-6. Вместо указанной на схеме можно использовать также микросхемы типов К176 и К561. В устройстве защиты использовано реле типа РЭС-47 (паспорт РФ4.500.417).
Налаживание узла заключается в установлении порогов срабатывания компараторов подбором резисторов R5 — R8. Для работы устройства необходим стабилизированный источник питания напряжением 24 В и током около 40 мА.
ВНУТРЕННИЕ ИСТОЧНИКИ ШУМОВ
Если даже исключены все внешние связи ФУ по помехам, все же имеется минимальный уровень собственных {внутренних) шумов. Собственные шумы имеются у всех электронных компонентов, на которых рассеивается иощность. Основными видами собственных шумов являются: тепловые, дробовые, контактные, импульсные.Тепловые шумы возникают в результате теплового движения электронов в веществе резистора и определяют нижний уровень шумов, достижимый в ФУ. Действующее значение напряжения тепловых шумов Uт, в разомкнутой цепи, обусловленное наличием в ней сопротивления R,

где k — 1,38*10-23 Дж/К - постоянная Больцмана: Т — абсолютная темпера-тура, К; AF — полоса пропускания шумов, Гц; R — сопротивление, Ом. При комнатной температуре (290° К или 17'С): 4kT=1.6*10-20 Вт/Гц,
Мощность тепловых шумов имеет равномерную частотную характеристику и в любой части спектра при одинаковой полосе имеет одинаковое значение, независимо от R:
Pш = U2т/R=4kTДF.
Для уменьшения напряжения тепловых шумов необходимо минимизировать сопротивление и полосу пропускания системы.
Дробовой шум связан с прохождением тока через потенциальный барьер. Он возникает из-за флуктуации среднего значения тока при хаотн-ческой диффузии носителей через базу транзистора и из-за случайного характера генерации и рекомбинации пар электрон — дырка.
Действующее значение тока этого шума

где q=1,6-10-19 Кл — заряд электрона; 70 — среднее значение постоянного тока, А; ДF — полоса пропускания, Гц;

т. е. плотность дробового шума зависит только от значения проходящего тока и не зависит от частоты.
Контактные шумы вызываются флуктуацией проводимости вследствие несовершенства контакта между двумя материалами. Они встречаются в композиционных резисторах, угольных микрофонах, транзисторах и диодах, и т. п., которые содержат множество сплавленных между собой частиц. В силу специфичной частотной зависимости их называют низкочастотными или 1/f шумами. Контактный шум If:

где А — постоянная, зависящая от вида материала контакта и его конфигу-рации; Т0 — среднее значение постоянного тока, A; f — центральная частота полосы пропускания, Гц; ДF — полоса пропускания, Гц.
«Вес» контактных шумов из-за характеристики 1/f на низких частотах мо жет быть очень большой. При исследованиях шумы 1/f наблюдаются даже при сигнале, имеющем период несколько часов. Контактные шумы — главный источник помех в низкочастотных цепях.
Импульсные шумы обусловлены производственными дефектами и их можно устранить, улучшив процессы производства. Эти шумы вызываются дефектами в переходе полупроводникового прибора (обычно в виде металлических примесей). Импульсные шумы проявляются как резкие всплески и сопровождаются дискретным изменением уровня. Длительность шумовых импульсов колеблется от микросекунд до секунд, их амплитуда превышает амплитуду тепловых шумов в 2... 100 раз, частотный диапазон составляет 0,01... ... 100 Гц. Так как этот шум связан с наличием тока, то наибольшее напряжение шумов наблюдается в высокоомных цепях, например, во входной цепи ОУ. Для исключения импульсных помех необходимо обнаружить шумящий элемент и заменить его.
Учитывая, что все рассмотренные здесь источники шумов являются некоррелированными, то они суммируются на основе правил сложения мощносей, следовательно, суммарное напряжение теплового, дробового, контактного и импульсного шумов определяется как

Для измерения напряжения шумов лучше всего пользоваться широкополосным осциллографом. Основное преимущество осциллографа перед различными вольтметрами в том, что на осциллографе можно наблюдать форму измеряемого сигнала. При этом можно быть уверенным, что измеряются именно случайные шумы, а не наводки или фон сети частотой 50 Гц.
Действующее значение белого шума равно 1/8 (предполагается, что отношение амплитуды к действующему значению шумов составляет 4:1, при этом точность измерений не хуже 1,5%) двойного амплитудного значения сигнала, измеряемого на экране осциллографа. (При определении двойной амп« литуды на экране осциллографа один-два пика, которые будут значительно выше всей кривой сигнала, в расчет брать не следует.) Для количественной оценки шумов, вносимых отдельными электронными устройствами, используют коэффициент шума:

Коэффициент шума Кш можно определить также как
Kщ = AВХ/AВЫХ,
где АВХ=РС.ВХ/РШ.ВХ, Aвых = Рс.вых/Рш.вых; т. е. Kш показывает, во сколько раз отношение сигнал-шум на входе устройства больше отношения сигнал-шум на его выходе. Коэффициент шума многокаскадного усилителя определяется следующим выражением:

где Kш1 и KP1 — коэффициенты шума и усиления по .мощности первого каскада; Kш2 и Kр2 — те же коэффициенты для второго каскада и т. д.
Из этого уравнения следует, что при достаточном коэффициенте усиления первого каскада суммарный коэффициент шума определяется коэффициентов шума первого каскада.
Для уменьшения уровня помех и шумов в общей системе необходимо ограничивать полосу пропускания усилителя до значения, соответствующего полосе слышимых звуковых сигналов. Поэтому в начале тракта необходимо устанавливать фильтры, ограничивающие полосу слышимых частот. Полоса пропускания последующих ФУ выбирается из условия обеспечения высокого качества их динамических характеристик (линейность фазо-частотной характеристики, высокая крутизна переходной характеристики и т. п.).
ЗАЩИТА ПРОВОДОВ
Один из основных каналов проникновения помех в усилитель ЗЧ — соединительные провода, в которых возникают разного рода паразитные наводки в помехи. В основном это помехи, создаваемые магнитными полями трансформаторов и проводов питания и емкостными связями между проводами. Поэтому необходимо защищать соединительные провода от воздействия на ни» этих полей.Существуют три основные способа защиты проводов! экранирование, з«-вемление и соответствующая ориентация проводников.
Воздействие магнитного и электрического полей на проводники, с точки зрения возникновения в них помех, различно. Так, при воздействии магнитного поля напряжение помехи Uп.м, возникающей в проводнике — приемнике, описывается уравнением;
Uпм=jwMl1,
где М — коэффициент взаимной индуктивности двух цепей проводника-источника помех и проводника-приемника помех; I1 — ток в проводнике-источнике, создающем помехи.
Наличие угловой частоты w = 2пF указывает на то, что связь между цепями пропорциональна частоте F. Коэффициент М, а соответственно, и значение магнитной помехи Uм.м можно уменьшить, разнося цепи в пространстве, либо применив в них витую пару проводов, либо путем соответствующей ориентации этих цепей. Применение витых пар в цепях источника помех и приемника помех приводит к тому, что магнитные поля взаимно компенсируются.
При воздействии электрического поля наведенное из-за емкостной связи между проводниками напряжение от проводника-источника в проводнике-приемнике UH.Э равно:
Uнэ = jwRC12U1.
Значение наведенной помехи прямо пропорционально частоте источника помех w = 2пF, сопротивлению R цепи-приемника помехи относительно земли, емкости Си между проводниками и напряжению U1. Так как напряжение U1и частоту F изменить нельзя, то емкостную связь можно уменьшить шунтированием цепи-приемника малым сопротивлением R и уменьшением емкости Си за счет разнесения и ориентации проводников или их экранирования.
Следует отметить, что уменьшение входного сопротивления приемника помехи в случае магнитной связи не снижает наводки, как это имеет место при связи через электрическое поле.
Для защиты сигнальных цепей от электрических помех экранирующую оп-.летку необходимо заземлять в одной точке, чтобы исключить протекание по ней токов наводки, а для экранировки от магнитных полей оплетку необходимо заземлять в двух точках: непосредственно у источника и у приемника. При этом возвратный ток, текущий по оплетке в обратном направлении, будет компенсировать магнитные наводки. Эти противоречивые требования могут быть разрешены, если применить витые пары проводников (в общем экране). При этом экранирующая оплетка не должна использоваться для передачи сигнала и один из ее концов должен быть изолирован от общего провода. Хорошей разводкой слаботочных сигналов (например, связь между магнитной головкой звукоснимателя и входом предусилителя — корректора) можно считать вариант, показанный на рис. 97. Такой способ экранировки проводников почти полностью исключает электрические помехи и на 70 дБ ослабляет магнитные наводки.
Хороший результат дает соединение экранирующей оплетки и общего провода сигнальных цепей в одной точке, причем в такой, чтобы токи помех не могли проходить с экрана на землю через общий провод сигнальной цепи. Эта точка, как видно из рис. 97, находится на общем проводе усилителей (точка А). Во избежание замыкания экранирующих оплеток вне предусмотренной точки их необходимо изолировать.

Рис. 97. Схема соединения головки звукоснимателя с входом предусилителя-корректора
Разводка слаботочных сигналов в экранированной витой паре также хорошо предохраняет эти цепи от электромагнитных наводок, так как любой ток, протекающий через экран, наводит через взаимную индуктивность в обоих внутренних проводниках равные напряжения, взаимно уничтожающие друг друга. Следует отметить, что эффективность экранирования витой пары растет при увеличении числа витков на единицу длины.
В усилителях 34 для общих проводов сигнальных цепей можно применять два вида заземления: последовательное и радиальное (рис. 98). Последовательное соединение общих проводов сигнальных цепей разных узлов представляет собой самый простой и в то же время наиболее нежелательный вариант.
В этом случае появляется перекрестная связь между каскадами в результате протекания возвратных токов через последовательно соединенные полные сопротивления заземляющих проводников, из-за чего потенциалы общего провода в каждом функциональном узле (ФУ) отличны от нуля. Это вызывает проникновение внутренних помех и часто является причиной неустойчивой работы всего устройства. Однако этот вариант простой и поэтому является наиболее распространенным. Для этой системы в ФУ выделяют цепи с очень малым и стабильным потреблением мощности и далее их общие провода включают последовательно. Причем в такой системе наиболее чувствительный каскад (ФУ1) надо располагать как можно ближе к точке первичного заземления, так как она имеет наиболее близкий к нулю потенциал. Общие провода силовых цепей разводят радиально, объединяя их в точке первичного заземления.

Рис. 98. Последовательное (с) и радиальное (б) соединение сигнальной «земли» в одной точке
ЗАЗЕМЛЕНИЕ
Правильное заземление — основной путь уменьшения помех и наводок. Шина «Земля» — это эквипотенциальная поверхность, потенциал которой является опорным уровнем для отсчета напряжения в любом узле или устройстве. Функции шины «Земля» выполняют общие провода сигнальных и сило-зых цепей. Для правильной прокладки общих проводов требуется, во-первых, »-;«шшизировать напряжение помех, возникающих при прохождении токов от двух или более источников через общее сопротивление общих проводов; во-вторых, исключить образование контуров заземления, весьма чувствительных к магнитным полям и разности потенциалов земляных шин.При решении проблем прокладки общих проводов надо помнить, что все соединительные проводники имеют конечное сопротивление, состоящее из активной и реактивной (емкостной и индуктивной) составляющих (R, L и С) и что разнесенные в пространстве точки заземления практически не имеют одинакового потенциала. Поэтому в усилителях 34 общий провод цепи питания не должен использоваться в качестве общего провода сигнальной цепи. Для высококачественной аппаратуры требуются, как минимум, три раздельные цепи общего провода (рис. 99). Их следует соединять вместе только в одной точке. Она должна быть выбрана близко к наиболее чувствительному узлу зсего устройства.
Способ радиального соединения общих проводов наиболее желательно использовать в усилителях 34, поскольку отсутствует перекрестная связь между каскадами. Однако он механически громоздок и используется в цепях питания з очень большим разбросом потребляемой мощности. Эти сильноточные цепи необходимо отделять от слаботочных. Чтобы заземляющие провода имели низкое сопротивление и не являлись источниками излучений, они должны иметь длину меньше чем 0.05А. На низких частотах это условие всегда удовлетворяется, в связи с чем заземление в нескольких точках, как это часто практикуется, здесь не требуется. Это исключает образование контуров заземления, чувствительных к магнитным помехам и разности потенциалов в точках заземления.
При разводке общих цепей питания на печатных платах и общего провода сигнальных цепей надо внимательно следить за тем, чтобы не образовывались замкнутые контуры.
Усилители 34 монтируют на металлических шасси, являющихся несущей частью конструкции. В целях безопасности они должны быть заземлены. Из-за наличия стыков и соединений их сопротивление может оказаться значительным, что приведет к появлению помех. Корпус ни в коем случае нельзя использовать в качестве общего провода силовых и тем более сигнальных цепей. Его соединяют с общим проводом только в одной общей точке. Это соединение должно выполняться лайкой или сваркой, так как резьбовое соединение неустойчиво. Надо обратить внимание ча все стыки в шасси, они должны быть обеспечены надежным соединением.

Рис. 99. Схема выполнения заземления в усилителе ЗЧ

Рис. 100. Схема разводки сигналов с переменным сопротивлением в цепи
Особо надо подчеркнуть способы заземления экранов переменных резисторов: регуляторов громкости, баланса и регулировки тембров. Прежде всего в высококачественной аппаратуре корпуса всех указанных переменных резисторов должны быть изолированы от шасси усилителя. Ручки, устанавливаемые на их оси, должны быть изготовлены из изоляционного материала. Соединения следует выполнять витой парой в общем экране. Экраны резисторов и проводов надо заземлять так, как показано на рис. 100.
Если сигнальная цепь имеет отдельную точку заземления, экраны витых пар следует заземлять в одной точке, которая должна быть подключена к общей точке приемника сигнала (точка 2). Это удается выполнить, если источник сигнала не заземлен. Если же заземлены и источник, и приемник (как показано на рис. 100), то экран надо заземлять с обоих концов. Но при такой экранировке устойчивость к магнитным помехам падает (ослабление составляет 27 против 77 дБ). Если ослабление помех недостаточно, то требуется разорвать контур заземления, используя трансформаторы, оптроны или дифференциальные усилители.
Во всех случаях в диапазоне частот до 1 МГц необходимо стремиться заземлять экран в одной точке. Если это не выполняется, то по экрану будут протекать большие токи с частотой сети и вносить фон в сигнальную цепь, Заземление в одной точке также устраняет контур заземления и связанные в ним магнитные наводки. Поэтому, если к разъему подводится несколько экранированных проводов, то каждый экран присоединяют к отдельному контакту, иначе образуются контуры заземления, и токи, проходящие через экран, будут протекать между экранами различных витых пар. В тех случаях, когда слаботочные цепи экранируют и делают заземление в одной точке, необходима изоляция экрана.

Реклама: Создание - PR - Софт
- Реклама
- Виды рекламы
- Реклама в СМИ
- Интернет реклама
- Создание рекламы
- Рекламные формы
- Русская реклама
- Рекламный софт
- QuarkXPress и реклама
- Publisher и реклама
- Adobe InDesign и реклама
- Adobe PageMaker
- Public Relations (PR)
- Русский PR
- Видео в DivX для PR
- Софт для звука и музыки для PR
- Создание звука для PR
- История музыки для PR