Свет
Елочная гирлянда из неоновых ламп.
Если после ремонта телевизора у вас остался высоковольтный умножитель, то не торопитесь его выбрасывать. Умножитель, не пригодный для телевизора, можно использовать при работе с более низкими напряжениями, например, он может пригодиться для занимательных экспериментов с елочными гирляндами.Обычно елочные гирляьды изготавливают из низковольтных ламп накаливания, соединяя их последовательно. К сожалению, такие гирлянды оказываются очень ненадежны из-за малого срока службы ламп накаливания: при перегорании всего одной лампы гаснет вся гирлянда, а найти неисправность в гирлянде без специального прибора трудно. Значительно надежнее получаются гирлянды из неоновых ламп.

Правда, для питания последовательно соединенных неоновых ламп требуется источник высокого напряжения Но зато мерцающий оранжевый цвет неоновых ламп, и особенно тиратронов МТХ-90, напоминает настоящие рождественские свечи. Предлагаемая схема содержит готовый высоковольтный телевизионный умножитель (см. рисунок). Несмотря на высокое выходное напряжение устройство практически безопасно, так как выходной ток умножителя А1 очень мал. Устройство работает по принципу релаксационного генератора. После включения в сеть напряжение на конденсаторах умножителя постепенно возрастает. Когда оно достигает определенного значения, лампы вспыхивают, конденсаторы разряжаются, лампы гаснут, процессе зарядки повторяется и т.д. Значительно увеличить яркость свечения ламп и их количество в гирлянде можно, собрав аналог умножителя на дискретных элементах. В этом случае следует использовать бумажные конденсаторы емкостью 0,1 мкф на напряжение не ниже 400 В и диоды типа Д226В или КД105. Яркость свечения ламп и частота вспышек зависят от напряжения сети, емкости конденсаторов, типа и числа используемых ламп, полярности их включения и положения движка резистора R3.
Детали. Кроме указанных на схеме в устройстве можно использовать малогабаритные неоновые лампы ТН-0,5, МН-6 и др. Число ламп в гирлянде устанавливают экспериментально. В одной гирлянде желательно применять лампы одного типа, с одинаковой полярностью включения. Резисторы R1 и R2 типа МЛТ-0,5. Резистор R3 типа СП-1. Конденсатор С1 и остальные - любые бумажные. Резисторы R2 и R3 необходимы только при сборке устройства на дискретных элементах. При использовании телевизионного умножителя они не нужны, так как он имеет очень высокое выходное сопротивление.
С. Л. Дубовой, г. Санкт-Петербург
Стробоскопическая СДУ
Отличительная особенность описываемой светодинамической установки - применение вместо обычных ламп накаливания специальных импульсных. Это позволяет устранить основной недостаток таких устройств - высокую инерционность. С ее помощью можно получить отличное световое сопровождение музыкальных произведений, а также решить проблему с оформлением дискотек, концертных залов, жилой комнаты.На страницах "Радио" в разное время были описаны светодинамические установки (СДУ) различной степени сложности (например, [1, 2]). Во всех этих устройствах использованы лампы накаливания, коммутируемые тиристорами или мощными транзисторами. Однако лампам накаливания присущи существенные недостатки: инерционность и ограниченный срок службы, от которых свободна предлагаемая стробоскопическая СДУ. Она состоит из блока питания и трех активных полосовых фильтров, к их выходам подключены три идентичных блока управления импульсными лампами А1-АЗ.

Блок питания - однополупериодный выпрямитель VD6, VD7, подключенный к сети через балластный конденсатор С12. Выпрямитель нагружен на стабилитроны VD4, VD5 и конденсаторы фильтра С10, СП, формирующие двуполярное напряжение для питания операционных усилителей DA1, DA2. Применение источника с балластным конденсатором позволило значительно уменьшить габариты СДУ. Однако при этом все элементы конструкции имеют гальваническую связь с сетью, что необходимо помнить при налаживании и эксплуатации. По этой же причине переменные резисторы должны быть снабжены диэлектрическими ручками. Входной сигнал с линейного выхода магнитофона, радиоприемника или CD-проигрывателя поступает на первичную обмотку трансформатора Т1, предназначенного для гальванической развязки источника сигнала от элементов СДУ. Если входной сигнал мал (меньше 0,3 В), трансформатор должен быть повышающим и обеспечивать амплитуду напряжения на вторичной обмотке около 0,5 В, Далее сигнал поступает на входы активных полосовых фильтров через переменные резисторы, которыми устанавливают оптимальный уровень. Фильтры выполнены на сдвоенных ОУ DA1, DA2 и заимствованы из [1].
Методика их расчета неоднократно публиковалась на страницах журнала, поэтому здесь не приведена. В СДУ применены фильтры с параметрами: коэффициент усиления на резонансной частоте - 40 дБ; добротность - 10; резонансные частоты - 680 Гц (верхнего по схеме), 3000 Гц (среднего) и 9800 Гц (нижнего). Вообще количество фильтров может быть любым и ограничено лишь мощностью блока питания. Для желающих перестроить резонансные частоты приведем следующие рекомендации. Настраивая фильтр на другую резонансную частоту, необходимо изменить емкость конденсаторов С1, С2 (С4, С5 или С7, С8). Для того, чтобы при этом остались прежними коэффициент усиления на резонансной частоте и добротность фильтра, следует выдерживать соотношение: С2=10С1 (аналогично С4=10С5, С7=10С8). Тогда, зная требуемую резонансную частоту fo, можно определить значение емкости одного из конденсаторов фильтра. Так, для верхнего по схеме фильтра С1 =[( 1 /R2 + 1 /R3)/( 10R4)] ^/(6,28fo), где емкость конденсатора С1 - в фарадах, частота fo - в герцах, сопротивление резисторов - в омах. Аналогично рассчитывают емкость конденсаторов других фильтров.
Нагрузка фильтров - транзисторы VT1-VT3, включенные с общим эмиттером. При малом уровне входного сигнала или в случае, если его частота не попадает в полосу пропускания фильтра, амплитуда отфильтрованного сигнала недостаточна для открывания соответствующего транзистора. Напряжение на его коллекторе - около -8В. Если же на входе фильтра сигнал достаточного уровня и его частота попадает в полосу пропускания фильтра, транзистор открывается амплитудой отрицательной полуволны отфильтрованного сигнала и на его коллекторе наблюдаются импульсы положительной полярности. В цепях базы транзисторов VT1-VT3 последовательно включены вычитающие стабилитроны VD1-VD3, которые увеличивают зону нечувствительности. Импульсы с транзисторов поступают на блоки А1-АЗ. Рассмотрим работу блока А1. Блоки А2 и A3 работают аналогично. Когда импульсы отсутствуют, происходит зарядка накопительного конденсатора 1С1 до напряжения около 300 В через резисторы 1R1, 1R2 и диод 1VD1.
Так как тринистор 1VS1 закрыт, конденсатор 1С2 заряжается через резистор 1R5. Импульсом положительной полярности, поступающим с коллектора транзистора VT1, открывается тринистор, разряжая конденсатор 1С2 на первичную обмотку трансформатора 1Т1. На его вторичной обмотке возникает импульс высокого напряжения, который "поджигает" импульсную лампу VL1. После вспышки лампы процесс зарядки конденсаторов 1С1, 1С2 повторяется. Диоды 1VD2, 1VD3 защищают тринистор от обратного напряжения. Отметим, что на коллекторах транзисторов могут формироваться как отдельные импульсы, так и пачки импульсов. В последнем случае импульсная лампа включится лишь первым импульсом в пачке, имеющим амплитуду, достаточную для открывания тринистора. Так как для зарядки накопительных конденсаторов 1С1, 1С2 требуется определенное время, последующие импульсы в пачке не вызовут вспышку импульсной лампы. СДУ смонтирована на четырех отдельных платах: на трех платах собраны блоки А1-АЗ, на четвертой - остальные элементы. Такое разделение на отдельные платы оказалось довольно удобным по следующим причинам. Для получения максимального эффекта от светового сопровождения импульсные лампы необходимо разнести в пространстве, например, расположив по углам комнаты. Однако использовать длинные провода для подключения импульсных ламп (один из которых - высоковольтный) нецелесообразно и опасно. Намного удобнее разнести сами блоки А1 -A3. К тому же при их расположении на отдельных платах очень просто получить как отдельные, так и связанные между собой стробоскопы. Для этого надо подключить блоки А1-АЗ к простому цифровому устройству, формирующему определенную последовательность управляющих импульсов. Вместо микросхемы К157УД2 можно использовать ОУ серий К140, К153, К544, К553. Особое внимание обратите на корректирующие цепи. Транзисторы - любые из серий КТ361, КТ3107, КТ502; диоды VD6, VD7, 1VD2-3VD2, 1VD3-3VD3 - серий КД209, КД105 с буквенными индексами Б-Г; стабилитроны VD4, VD5 - Д814А-Д814Г, VD1-VD3 -КС133А-КС147А; тринисторы - КУ202М, КУ202Н.
Резисторы - МЛТ, переменные - СПЗ, СПО или аналогичные. Конденсаторы С12, 1С2-ЗС2 - К73-17 на напряжение не менее 400 В; С10, С11 -К50-35, К50-16; 1С1-ЗС1 - К50-27 или другие на напряжение более 350 В; остальные - любые керамические. Трансформатор Т1 - ТОТ-64 или другой малогабаритный. Трансформаторы 1Т1-ЗТ1 намотаны на деревянных каркасах с диаметром стержня 10 мм, диаметром щек 20 мм и расстоянием между щеками 10 мм. Магнитопровод не используют. Первой наматывают вторичную обмотку проводом ПЭВ-2 0,1. Наиболее быстро и просто изготовить трансформатор можно с помощью электродрели. Специально подсчитывать число витков вторичной обмотки нет необходимости: ее наматывают почти до полного заполнения каркаса. Обмотку следует два-три раза пропитать расплавленным парафином для предотвращения высоковольтных пробоев между витками. После слоя изоляции наматывают первичную обмотку, содержащую 10...20 витков провода ПЭЛ или ПЭВ-2 диаметром 0,3...0,6 мм. Необходимо обратить внимание на тип проводов для подключения импульсных ламп. Провода, идущие от вторичной обмотки трансформаторов 1Т1-3Т1, должны иметь хорошую изоляцию. Также следует избегать его скрутки с другими проводами. Общая длина проводов не должна превышать одного метра. В заключение некоторые рекомендации по налаживанию СДУ. Вначале необходимо установить движки переменных резисторов в нижнее по схеме положение. Затем, подав входной сигнал, медленно вращать движок резистора R1. В момент включения лампы VL1 следует зафиксировать положение движка переменного резистора. Аналогично настраивают другие каналы. Надо отметить одну особенность СДУ. При значительном повышении уровня входного сигнала, а также в случае установки завышенного уровня сигнала на входе хотя бы одного фильтра вспышки импульсных ламп будут отсутствовать.
СВЕТОАКУСТИЧЕСКИЕ УСТАНОВКИ
В нашей стране и за рубежом находят широкое применение различные светоакустические устройства, создающие световые эффекты в такт с мелодией воспроизводимой музыкальной программы. За рубежом такие устройства называются "Цветовыми органами:", "Танцевальными огнями", "Ритмиконами" и т. д. Большинство устройств выполняют в виде приставок к приемникам, электро- и магнитофонам. Как известно, работа светоакустических установок основана на изменении цвета и яркости свечения осветительных приборов, размещенных за специальным прозрачным экраном, в такт с изменением тона и громкости звучания акустической системы. Управляющее напряжение для светоакустической приставки снимается со звуковой катушки головки громкоговорителя или с линейного выхода УНЧ, входящего в состав электроакустической установки. Принято считать, что звуковым сигналам басовой группы (нижним частотам), занимающим полосу частот до 150-.200 Гц, должен соответствовать красный цвет; средним частотам (200-1000 Гц) -желтый или зеленый; высшим частотам (более 1 кГц) - синий или голубой. Эти цветовые эффекты создаются источниками света, стеклянные колбы которых покрыты прозрачным лаком соответствующего цвета. Яркость свечения канальных источников света регулируется транзисторными или тиристорными управителями. Число таких управителей должно быть равно числу каналов, обычно трем. Нередко на страницах зарубежных изданий можно встретить описания четырех-, пяти- и более канальных светоакустических установок. В этих случаях либо вводятся так называемые фоновые каналы фиолетового или бледно-желтого цвета, работающие постоянно или в моменты, когда выключаются все остальные каналы, либо выделяются в отдельный канал, управляемый частотами выше 4-б кГц. В соответствии с изложенными принципами построения светоакустические установки должны содержать многоканальные фильтры, разделяющие спектр входного сигнала на несколько частотных полос (3, 4 или 5), канальные управители, работающие совместно с канальными источниками света определенной окраски, и источник питания.Поскольку светоакустические эффекты проявляются наиболее заметно при электрической мощности канальных источников света не менее 50-60 Вт, то питать такие установки целесообразно только от сети. Транзисторные приставки, создающие светоакустические эффекты, маломощны, часто выходят из строя, требуют кропотливого налаживания, хотя и позволяют получить плавное воспроизведение переходов тональности и интенсивности. Наиболее распространены тиристорные приставки. Простая светоакустическая приставка на тиристорах. На рис.1 дана принципиальная схема простой тиристорной светоакустической приставки, содержащей три. цветовых канала и питающейся от сети переменного тока 1'27 В. Для повышения входного управляющего напряжения, снимаемого со звуковой катушки головки акустической системы, а также для развязки входной цепи и сети переменного тока на входе приставки включен повышающий трансформатор Тр1, в качестве которого рекомендуется использовать выходной трансформатор от лампового сетевого приемника II или IV класса, включив его вторичную обмотку на вход, а первичную - к фильтру.
Puc.1 Приставка по схеме рис.1 способна обеспечить одновременную работу всех трех каналов при использовании в каждом из них по одной лампе мощностью 100 Вт. Столь высокие напряжения и мощности требуют принятия дополнительных мер предосторожности при налаживании и работе с приставкой. Все конденсаторы должны быть рассчитаны на рабочее напряжение не менее 200В. Тиристоры, используемые в качестве управляемых ключей, должны выдерживать обратные запирающие напряжения, по крайней мере в 1,5-2 раза большие, чем напряжение питания. Допустимый средний ток тиристоров должен быть не менее максимального тока, потребляемого лампой каскада. В данном случае - не менее 1 А. С учетом вышеизложенного при повторении приставки можно использовать тиристоры типа КУ202И или КУ202Л. При наличии высоковольтных тиристоров типа КУ202Н можно увеличить напряжение питания до 220 В переменного тока. При этом мощность ламп в каждом канале может быть доведена до 200 Вт. Если же в распоряжении радиолюбителя будут только низковольтные тиристоры, например, типа КУ202Б, КУ202В или КУ202Г, допускающие обратные напряжения до 25, 50 и 100 В соответственно, питание приставки следует производить через регулируемый автотрансформатор.
Конечно, лампы накаливания должны быть рассчитаны на более низкое напряжение. И, как показывает практика, даже при таком усложнении схемы приставки ее свечение значительно заметнее, чем у транзисторных приставок. Однако подобные приставки имеют ряд недостатков. Приведем основные из них. 1. В ряде случаев, особенно при работе с большой громкостью, все канальные лампы включаются и выключаются одновременно, в такт с изменением громкости. При этом изменение тональности звука не влияет на работу ламп различных каналов. Как правило, это происходит из-за очень высокого уровня входного сигнала и несовершенства разделительных фильтров, имеющих крутизну скатов характеристик вне полос пропускания всего 6 дБ/окт. Устранить этот недостаток можно включив на входе приставки дополнительный резистор R5. С помощью переменного резистора можно регулировать уровень сигнала на входе разделительных фильтров таким образом, чтобы при установленной выходной мощности УНЧ обеспечивалось четкое включение и выключение каналов. Напряжение сигнала на входе первичной обмотки трансформатора при этом должно быть равно 0,2-0,5 В. При большем напряжении сигнала нарушается нормальная работа приставки. Дополнительный переменный резистор должен быть проволочным на 51- 100 Ом. Для удобства подведения сигнала рекомендуется в качестве входного гнезда использовать разъем типа СГ-3. Во всех случаях должна быть обеспечена надежная изоляция монтажной платы с тиристорами и деталями разделительных фильтров от входного гнезда и переменного резистора. 2. Наблюдается большая неравномерность свечения ламп. Они либо горят полным накалом, либо не светятся совсем. Иногда экран полностью гаснет, чаще всего это бывает, когда громкость звучания сильно падает. Этот недостаток является прямым следствием простоты данной конструкции. Частично его можно устранить введением четвертого, фонового канала, который остается включенным в то время, когда три других выключаются полностью. Конструкция такого улучшенного варианта приставки приводится ниже. 3.
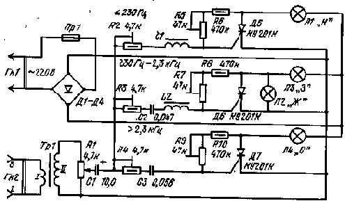
Лампы накаливания не дают яркого свечения, заметно мигание. Этот недостаток объясняется использованием тиристоров, обладающих несимметричной выходной характеристикой. Это значит, что такие тиристоры ведут себя как управляемые однополупериодные выпрямители, тогда как для нормального свечения стандартных ламп накаливания необходимо использование обоих полупериодов - положительного и отрицательного. Устранение такого недостатка возможно двумя путями. Во-первых, питанием анодных цепей тиристоров от сети через двухполупериодный выпрямитель по мостовой схеме. Если для этой цели использовать выпрямитель на четырех диодах типа Д226, то суммарный ток, потребляемый от сети, не должен превышать 0,6 А, что соответствует применению в каждом канале ламп мощностью не более 50 Вт. Как показывает практика, в большинстве случаев этого бывает достаточно. Во-вторых, можно использовать тиристоры с симметричной выходной характеристикой. В этом случае дополнительный выпрямитель в цепи питания не требуется. Светоакустическая приставка с фоновым каналом. Эта приставка была разработана болгарским радиолюбителем. В ней устранены многие недостатки простой приставки, о которой шла речь выше. Приставка имеет три основных частотных канала с полосами частот от самых низших до 230 Гц (лампы красного цвета); от 230 Гц до 2,3 кГц (лампы зеленого цвета); выше 2,3 кГц (лампы синего цвета). Принципиальная схема приведена на рис.2. Из рисунка видно, что питание анодов тиристоров производится от сети переменного тока напряжением 220 В через двухполупериодный выпрямитель на четырех диодах типа Д246, рассчитанных на ток до 5 А. Входной управляющий сигнал подается на гнездо Гн2, далее через повышающий трансформатор Тр1 на входы разделительных фильтров. Для коррекции уровня сигнала на входах разделительных фильтров используется переменный резистор R1. В данном случае он может быть непроволочным.
Puc.2 Разделительные фильтры выполнены с применением катушек индуктивности. Для выравнивания чувствительности тиристоров различных каналов применены дополнительные резисторы, включенные между анодами и управляющими электродами тиристоров.
Один из резисторов - подстроечный. Особенностью схемы является наличие фонового канала на лампе Л2, колба которой окрашена в желтый цвет. Эта лампа подключается параллельно аноду и катоду тиристо-ра Д6. Светится она только тогда, когда тиристор Д6 закрыт и все напряжение с выхода выпрямителя делится примерно поровну между лампами сред-нечастотного (зеленого цвета) и фонового (желтого цвета) канала. Кроме того, в каждом разделительном фильтре есть подстроечные резисторы R2-R4. С их помощью производится коррекция коэффициентов передачи каждого фильтра для достижения правильного срабатывания тиристоров в соответствии со спектральным составом управляющего сигнала. Катушки LI и L2 намотаны на каркасах, в которые потом вставляют сердечники ШЗХ'6 от выходных трансформаторов для карманного приемника. Катушки намотаны проводом ПЭЛ-1 0,1 и содержат соответственно 750 и 500 витков. Светоакустическая приставка на симметричных тиристорах. На рис.3 приведена принципиальная схема простой светоакустической приставки с тремя каналами, в каждом из которых включена лампа мощностью 200 Вт. Приставка была описана на страницах румынского молодежного журнала. Частоты разделения полос каналов 150, 800 Гц и 2 кГц. Конструкция имеет много общего с .приставкой на рис.1: простейшие разделительные фильтры, повышающий трансформатор на входе разделительных фильтров, лампы и тиристоры с симметричной выходной характеристикой. Симметричные тиристоры Д1-ДЗ управляются так же, как тиристоры с несимметричной характеристикой, но проводят так в течение обоих полупериодов переменного напряжения сети.
Puc.3 Как видно из рис.3, приставка содержит, корректирующие переменные резисторы на входе каждого разделительного фильтра, что позволяет регулировать работу приставки в зависимости от музыкального содержания прослушиваемой и .просматриваемой программы. При повторении конструкции можно использовать высоковольтные симметричные тиристоры типа КУ208Г, допускающие обратное напряжение на аноде до 400 В. Сведения о других деталях приставки можно почерпнуть из описаний двух предшествующих приставок. Светоакустические установки являются пока относительно редкими для слушателя и зрителя устройствами, поэтому к ним обычно привлекается внимание многих.Декоративно оформленные экраны светоакустических установок могут быть установлены в жилом помещении или в клубе. Определенный интерес представляет использование двух светоакустических установок, работающих совместно со стереофонической системой. На экранах установок хорошо различается разбалансировка каналов усилителя, особенности работы каналов при воспроизведении звуков от перемещающихся инструментов. И, наконец, все описанные приставки являются по существу простейшими анализаторами спектра электрических сигналов, которые можно использовать без акустических установок. Например, если ко входу приставки подключить выход генератора импульсов, то число и яркость свечения каналов будут зависеть от длительности импульсов и частоты их повторения. Литература: В.А.Васильев. Зарубежные радиолюбительские конструкции. Москва, "Радио и Связь", 1982.
Светотехника на светодиодах
Накнулся в конфе на тему о поворотниках на светодиодах, и так как сам об этом размышлял, то решил написать небольную статейку. Сразу скажу, что здесь я коснусь в основном электрики. Механика конструкции на ваш вкус.Сперва о плюсах и минусах.
Один из таких плюсов, постоянно приводимый в различных печатных издания, это значительно меньшее по срвнению с лампами накаливания, время зажигания светодиода, что повышает безопасность движения. Хотя я считаю, что не так уж и велика эта разница во времени.
Второй плюс, это значительно более высокая надежность. Светодиод может спокойно работать по десять лет и более. Это особенно характерно при большой вибрации.
Третий плюс, меньшее энергопотребление. Поворотник из 30 светодиодов потребляет не более 5 Вт (смотря какие светодиоды).
И четвертый плюс, который должны более всего оценить именно российские мотолюбители – это возможность создавать оптику любой формы. Например можно смонтировать передние поворотники в зеркалах.
Теперь минус - это высокая стоимость.
Кроме этого, если вы будете делать поворотники, то стандартный прерыватель вам скорее всего не подойдет (так как разная мощность), и необходимо будет изготовить специальный. Но, зато вы можете сделать их 4 штуки (я прикидывал, они получаются недорогими) и смонтировать каждый в своем поворотнике. Представляете какая будет надежность.
Также, может возникнуть проблема с передним габаритом, так как белых светодиодов нет. Но HEWLETT-PACKARD выпускает светло-голубые, можно попробывать их.
Теперь о светодиодах.
Прежде всего, яркость обычных светодиодов составляет 20 – 50 мКд (милликанделл). Такие вам не годяться. Необходимы сверхяркие светодиоды (яркость составляет 1000 – 4000 мКд , такие используются в светофорх).
Кстати, 4000 мКд это очень не хилая ярксть, такой светодиод слепит глаза не хуже фонарика.
В России сверхяркие светодиоды выпускает завод Протон Оптоэлектроника в г. Орел. Из зарубежных известны такие фирмы-производители как KINGBRIGHT ELECTRONIC и HEWLETT-PACKARD ( у HP светодиоды дороже).
Кроме того светодиоды разделяються по диаметру (в основном 5 мм, 8 мм, 10 мм и 20 мм), по форме (круглые, прямоугольные и т.д.), по цвету свечения (обычно,также, указывают длину волны излучения), по цвету рассеивателя (окрашенные или неокрашенные), по типу рассеивателя (диффузионый – когда корпус светодиода матовый и прозрачный – когда , соответственно, корпус прзрачный) и по цене (чем ярче, тем дороже. Красные и желтые дешевле зеленых и синих при одинаковой яркости, так как используется другая технология изготовления криссталлов).
Яркость сильно зависит от рассеивателя. Диффузионные светодиоды имеют больший угол излучения (обычно 45 - 60 град), но меньшую яркость (при одинаковой стоимости). У прозрачных светодиодов угол излучения обычно лежит в пределах 15 – 30 град.
Вот цены на светодиоды в Москве, в Платане (Чип и Дип) на 1.09.02 г.
|
Наименование |
Цена, руб. |
Производитель |
|
10R3SCB-6,св.диод кр.d=10мм,1200мКд |
11.00 |
TWN |
|
10Y3SCB-6,св.диод жл.d=10мм,1200мКд |
11.00 |
TWN |
|
L-1503SRC-C св.д. кр.d=5мм 1000мКд |
6.10 |
KNBR |
|
L-1503SRC-Dсв.диод кр.d=5мм 1500мКд |
4.20 |
KNBR |
|
L-1503SRC-Eсв.диод кр.d=5мм 2800мКд |
11.00 |
KNBR |
|
L-1503SRC-Fсв.диод кр.d=5мм 4000мКд |
10.00 |
KNBR |
|
L-1513SRC-D св д. кр.d=5мм 2000мКд |
5.80 |
KNBR |
|
L-1513SRC-E св.д. кр.d=5мм 3500мКд |
9.60 |
KNBR |
|
L-1513SRC-F св.д. кр.d=5мм 4500мКд |
12.00 |
KNBR |
|
L-1543SRC-E св.диод кр.d=5мм2000мКд |
9.60 |
KNBR |
|
L-53SRC-C св.д.кр. d=5мм 1000мКд |
4.80 |
KNBR |
|
L-53SRC-DU св.диод кр.d=5мм 1200мКд |
3.60 |
KNBR |
|
L-53SRC-DV св.диод кр.d=5мм 1500мКд |
3.90 |
KNBR |
|
L-53SRC-DW св.диод кр.d=5мм 1800мКд |
9.00 |
KNBR |
|
L-53SRC-E св.диод кр.d=5мм 2800мКд |
9.00 |
KNBR |
|
L-793SRC-B св.диод кр.d=8мм1000мКд |
9.00 |
KNBR |
|
L-793SRC-C св.диод кр.d=8мм 1500мКд |
5.20 |
KNBR |
|
L-793SRC-D св.диод кр.d=8мм 1800мКд |
13.00 |
KNBR |
|
L-793SRC-E св.диод кр.d=8мм 2800мКд |
13.00 |
KNBR |
Зато, вы можете придать стоп- сигналу любую форму, даже разделить его на две, три части.
Расчет
Светодиоды расчитываются на определенный ток. Это значит, что не бывает, например, 5 вольтовых или 12 вольтовых светодиодов. Вместо этого бывают, например, 20 «мАмперные» или 50 «мАмперные» и т.д. Напряжение на светодиоде колеблеться от 1,5 В до 2,5 В (в зависимости от марки светодиода, и связано с технологией производства) и слабо зависит от тока. Соответственно, если нужно запитать светодиод от 13,8 В, необходимо задать нужный нам, протекающий через него ток. Проше всего это сделаеть с помощью резистора R.

Здесь VD - светодиод, а R – токозадающий резистор.
Для расчета R необходимо знать следующие параметры светодиода:
1. Максимально допустимый прямой ток через светодиод Ivdmax
2. Падение напряжения на на светодиоде Uvd в прямом направлении (обычно в справочниках указывается при каком токе присходило измерение)
При расчетах не обязательно абсолютная точность, так как все электронные компоненты имеют разброс параметров от 5 до 20%.
Теперь пользуясь законами Киргофа находим R:
R=(U-Uvd)/(Ivdmax*0.75), Ом (1)
Где U – напряжни питания,
Uvd - падение напряжения на на светодиоде,
Ivdmax - максимально допустимый прямой ток через светодиод.
Коэффициент 0.75 берем для обеспечения необходимой надежности (обычно в пределах 0.7 – 0.8). Так как, чем ближе заданный нами ток к максимально допустимому, тем меньше надежность.
При этом протекающий через светодиод рабочий ток будет составлять 0.75 от максимально допустимого.
Иногда, в справочных данных указывается рабочий ток Ivd (обозначение может быть другим), тогда коэффициент берем равным 1.
Мощность сопротивления рассчитывается по формуле:
N=R*(Ivdmax*0.75)^2 , Вт. (2)
При этом рабочий ток через светодиоды составит:
Ivd=Ivdmax*0.75 (3)
Так как вам необходимо не один, а штук 10 – 20 светодиодов, то схема включения будет вглядеть так:

Здесь FU – предохранитель на ток :
Ictmax > Ifu > 1,2*m*Ivd, А (4)
Где, m – число паралельно включенных линеек светодиодов.
Ictmax – максимальный ток стабилизации стабилитрона VD1 (указывается в справочниках).
Uct - напряжение стабилизации стабилитрона VD1, должно быть равен U, при котором через светодиоды будет протекать ток Ivdmax, для того, чтобы при слишком большом напряжении он открылся и сработал предохранитель:
Uct = (R*Ivdmax + n*Uvd), В (5)
По Ictmax и Uct необходимо выбрать стабилитрон из справочника. Стабилитрон и предохранитель защищают схему от перенапряжения.
R находим как:
R = (U – n*Uvd)/(Ivdmax*0,75), Ом (6)
Где n – число светодиодов в одной линейке (подключенных на один резистор),
Мощность сопротивления рассчитывается по формуле:
N=R*(Ivdmax*0.75)^2, Вт. (7)
Эту формулу можно записать в другом виде:
N=(U – n*Uvd)*(Ivdmax*0.75), Вт. (8)
Например:
У нас есть светодиоды с Ivdmax = 70 мА и Uvd = 1,85 В и мы используем 4 линейки по 5 светодиодов (итого 20). Тогда при U = 13,8 B:
R=(13,8 B-5*1,85 B)/(70 мА*0,75)=86,6 Ом.
Такие сопротивления найти трудно, так как все номиналы привязаны к стандартному ряду сопротивлений. Наиболее распространен ряд Е24. Выбираем ближайший из ряда, больше расчетного. Это 91 Ом.
N=91 Oм*(70 мА*0,75)^2=0,251 Вт (берем 0,25 Вт)
Сопротивление берем мощьностью не меньше рассчитанной.
Ivd=Ivdmax*0.75 = 52,5 мА
Ictmax > Ifu > 1,2*4*52,5 мА = 252 мА (можно взять 250 мА)
Uct = (91 Ом*70 мА + 5*1,85) = 15,6 В (Можно взять на 15 В).
Из формулы (8) видно, что чем больше светодиодов в линейке, тем меньше рассеиваемая мощьность резистора, да и самих резисторов понадобиться меньше. Но увеличивать число светодиодав в линейке до максимально возможного нельзя. Сейчас объясню почему. Дело в том, что напряжение бортовой сети не когда на бывает абсолютно стабильным., а постоянно изменяется, хотя и в небольших пределах, в то время как Udv практически не меняется. Посмотрим как будет изменяться ток через 4, 5 и 6 светодиодов с Ivdmax = 70 мА и Uvd = 1,85 В, при сопротивлении R=86,6 Ом рассчитанном для U = 13,8 B, если бортовое напряжение U изменяется от 12 В до 14,5 В.
Результаты вычеслений я свел в таблицу:
|
U = 12 B |
U = 13,8 B |
U = 14,5 B | |
|
Ток черз 4 светодиода, мА |
37,7 мА |
52,5 мА |
58,2 мА |
|
Ток черз 5 светодиода, мА |
31,7 мА |
52,5 мА |
60,5 мА |
|
Ток черз 6 светодиода, мА |
17,5 мА |
52,5 мА |
66,1 мА |
Поэтому здесь необходимо находить компромисс, изходя из того, насколько стабильно у вас напряжение бортовой сети.
Теперь немного о конструкции
Во первых, рассеиватель. Дело в том, что светодиоды излучают свет определенной длинны волны, и если цвет рассеивателя не будет соответствовать цвету излучения, то из-за этого будет уменьшаться яркость. Поэтому рассеиватель лучше использовать белый – прозрачный.
Во вторых о креплении светодиодов. Светодиоды вместе с резисторами можно запаять на печатную плату из стеклотекстолита. Но, для увеличения угла излучения светодиоды должны запаиваться не все вертикально, а под разными углами. Если взять тонкий текстолит, то плату можно изогнуть. Кроме этого, для защиты от вибрации, необходимо устанавливить светодиоды на держатели или залить выводы каким нибудь компаундом. При пайке будьте осторожны, не перегревайте светодиоды и не паяйте слишком близко к корпусу.
Реклама: Создание - PR - Софт
- Реклама
- Виды рекламы
- Реклама в СМИ
- Интернет реклама
- Создание рекламы
- Рекламные формы
- Русская реклама
- Рекламный софт
- QuarkXPress и реклама
- Publisher и реклама
- Adobe InDesign и реклама
- Adobe PageMaker
- Public Relations (PR)
- Русский PR
- Видео в DivX для PR
- Софт для звука и музыки для PR
- Создание звука для PR
- История музыки для PR