Арменский Е.В. Фалк Г.Б. - Электромеханические устройства автоматики
Электромеханические устройства - это класс технических средств автоматики, в основе работы которых лежит электромеханическое преобразование энергии и сигналов. Подавляющее большинство электромеханических устройств составляют электромашинные устройства.В учебном пособии рассмотрены конструкция, физические процессы и вопросы теории различных электромашинных устройств,особое внимание уделено их статическим и динамическим характеристикам.
ВВЕДЕНИЕ
Общие сведения об электромеханических устройствах автоматики
Электромеханические устройства - это класс технических средств автоматики, в основе работы которых лежит электромеханическое преобразование энергии и сигналов. В таких устройствах электромеханическое преобразование как правило сопровождается электромагнитным преобразованием энергии.
Электромагнитные устройства - это класс технических средств автоматики, в основе работы которых лежит электромагнитное преобразование энергии и сигналов.
Как и всякая классификация, эта классификация в определённой мере условная. Контактные реле имеют подвижные части, но рассматривают их обычно в теории электромагнитных устройств. Трансформаторы не имеют подвижных частей, но рассматривают их обычно в теории электромашинных устройств.
Подавляющее большинство электромеханических устройств составляют электромашинные устройства.
Электромашинные устройства - это класс технических средств, включающий в себя как классические электрические машины (двигатели, генераторы), так и специальные устройства, выполненные на базе электрической машины и предназначенные для различных функциональных преобразований в системах автоматического управления.
Электрическая машина - это электромеханический преобразователь энергии, состоящий из ряда взаимодействующих электромагнитных контуров, часть из которых неподвижна, а часть перемещается. Электрическая машина является обратимой, т.е. может работать в двух основных режимах: двигателя - преобразователя электрической энергии в механическую, и генератора - преобразователя механической энергии в электрическую. Кроме этого, возможны специальные тормозные режимы работы электрической машины.
В большинстве электрических машин, в том числе в двигателях, перемещение контуров вращательное. Вращающиеся двигатели просты по конструкции и надёжны в эксплуатации. Однако, если в технологическом оборудовании происходит поступательное движение, к двигателю подсоединяют механический преобразователь вращательного движения в поступательное. Это усложняет схему привода. Без механического преобразователя можно обойтись, если сам двигатель будет преобразовывать электрическую энергию в механическую поступательного движения. Такие двигатели называют линейными.
Классификация электрических машин.По выходной мощности электрические машины можно разделить на следующие группы: микромашины - до 0,75 кВт, машины малой мощности - от 0,75 до 10 кВт, машины средней мощности - от 10 кВт до сотен киловатт, машины большой мощности - более сотен киловатт.
По частоте вращения машины подразделяются на тихоходные - с частотой вращения до 300 об/мин, средней быстроходности - 300-1500 об/мин, быстроходные - 1500-6000 об/мин и сверхбыстроходные - свыше 6000 об/мин. Частота вращения электрических машин (об/мин) является широко используемой на практике величиной. Однако при изложении теоретических разделов в учебнике используется другая величина - угловая скорость (рад/с), входящая в систему единиц СИ.
По степени защиты от внешних воздействий конструктивное выполнение электрических машин может быть защищённое, брызгозащищённое, каплезащищённое, водозащищёное, пылезащищённое, закрытое, герметичное и взрывозащищённое. Например, машины защищённого выполнения могут устанавливаться только в закрытых помещениях, т.к. не имеют защитных приспособлений от попадания дождя внутрь машины. В то же время герметичные машины выполняются с особо плотной изоляцией внутреннего пространства от окружающей среды и могут работать под водой, в газовых камерах.
По способу охлаждения различают машины с естественным и искусственным охлаждением. Охлаждение необходимо для предотвращения недопустимого нагрева, вызываемого потерями мощности в электрической машине. Электрические микромашины обычно охлаждаются за счёт естественного теплообмена с окружающей средой (естественное охлаждение). Машины большей мощности имеют искусственное охлаждение, в основном воздушное. Искусственное охлаждение бывает двух типов: а) самовентиляция, когда охлаждение осуществляется вентилятором, насаженным на вал самой машины; б) независимая вентиляция, когда охлаждающий воздух продувается через машину или на поверхность машины вспомогательным вентилятором. Жидкостное охлаждение применяется только в машинах большой мощности.
Классификация по функциональному признаку существенно связана с уровнем мощности машин. Среди электромашинных устройств автоматики значительную долю составляют электрические микромашины. Поэтому в качестве примера рассмотрим функциональную классификацию микромашин, определяющую их назначение и области применения.
Электрические микромашины можно подразделить на две группы: 1) общего назначения; 2) автоматических систем и приборов.
-5-
-6-
Электрические микромашины общего назначения - это в основном микродвигатели (рис. В.1), работающие от сети трёхфазного и однофазного переменного тока или от сети постоянного тока и предназначенные для привода, чаще всего нерегулируемого, различных узлов и механизмов.
Электрические микромашины автоматических систем и приборов (рис. В.2) делятся на четыре подгруппы: 1) силовые микромашины,
преобразующие электрический сигнал в механический; 2) информационные микромашины, преобразующие механический сигнал (угол поворота, угловую скорость и угловое ускорение) в электрический сигнал; 3)
гироскопические микромашины - элементы гироскопических устройств и приборов; 4) преобразователи значения и вида напряжения, частоты и усилители мощности. В настоящем учебном пособии наиболее подробно рассматриваются микромашины первой, второй и четвёртой подгрупп, составляющие основу класса технических средств, называемых электромеханическими устройствами автоматики.
Основные требования, предъявляемые к электрическим
микромашинам, разделяются на две группы:
1.Общие требования, не связанные с конкретными условиями эксплуатации и областью применения. Для электрических микромашин общего применения основными требованиями являются высокие энергетические показатели - коэффициент полезного действия и коэффициент мощности; длительный срок службы; низкая стоимость; простота конструкции и технологии изготовления; ремонтопригодность. Для электрических микромашин автоматических систем и приборов эти требования не являются решающими. Основные требования к информационным микромашинам - высокая точность преобразования и стабильность характеристик. Силовые микромашины и преобразователи наряду с достаточной точностью и быстродействием должны иметь хорошие энергетические показатели. Практически ко всем микромашинам автоматических систем и приборов предъявляется требование высокой надёжности, т.е. способности безотказно работать в течение заданного времени и при определённых условиях эксплуатации.
2. Требования, предъявляемые в зависимости от области применения и условий эксплуатации: минимальные габаритные размеры и масса при заданных выходных параметрах - для микромашин бортовой аппаратуры, подвижных частей промышленных роботов; устойчивость к вибрации и ударным нагрузкам - для транспортных и сельскохозяйственных машин, бортовой аппаратуры; климатическая и радиационная устойчивость - для микромашин, работающих в ядерных реакторах, на космических аппаратах и в условиях тропического климата; взрывобезопасность - для микромашин шахтного и рудничного оборудования; низкий уровень создаваемых шумов - для микромашин звукозаписывающей и звуковоспроизводящей аппаратуры; низкий уровень излучаемых радиопомех - для микромашин, работающих в комплекте с электронной аппаратурой; низкий уровень газовыделений - для микромашин, применяемых в вакуумном технологическом оборудовании.
ГЛАВА 1 . ТРАНСФОРМАТОРЫ
Трансформатором называется статическое электромагнитное устройство, имеющее две или большее число индуктивно связанных обмоток и предназначенное для преобразования посредством электромагнитной индукции одной или нескольких систем переменного тока в одну или несколько других систем переменного тока. В большинстве случаев их используют для повышения или понижения напряжения при неизменной частоте и числе фаз и лишь в некоторых случаях - для преобразования числа фаз или удвоения и утроения частоты.
§ 1.1. Конструкция и принцип действия трансформаторов
Трансформаторы различают:
по уровню мощности - малой мощности, с номинальной мощностью 5 кВ-А и ниже у трехфазных и 4 кВ-А и ниже у однофазных; силовые однофазные и трехфазные трансформаторы большей мощности;
по назначению - силовые трансформаторы систем энергоснабжения, предназначенные для преобразования электрической энергии с целью ее передачи и распределения с наилучшими технико-экономическими показателями; трансформаторы питания - трансформаторы малой мощности, предназначенные для преобразования напряжения электрических сетей в напряжение, необходимое для питания электронной аппаратуры, маломощного электрического оборудования и бытовых устройств, статических преобразователей энергии и т.д.; измерительные трансформаторы, расширяющие пределы измерения амперметров, вольтметров и ваттметров переменного тока; импульсные трансформаторы, предназначенные для формирования, передачи и преобразования импульсных сигналов;
по числу фаз - одно- и трехфазные; трансформаторы с числом фаз более трех встречаются только в некоторых специальных схемах;
по числу обмоток в фазе - двух- и многообмоточные.
Трансформаторы выполняют либо с воздушным, либо с масляным охлаждением; каждый из способов может быть либо с естественным теплообменом, либо с принудительной вентиляцией. В автоматических системах наиболее распространены однофазные и трехфазные трансформаторы питания малой мощности с воздушным охлаждением.
Конструкция однофазных трансформаторов питания. Основные части трансформаторов - обмотки, осуществляющие электромагнитное преобразование энергии, и магнитопровод (магнитная система), выполненный из ферромагнитного материала и предназначенный для локализации магнитного потока и усиления электромагнитной связи обмоток. Магнитопровод трансформаторов малой мощности изготавливают из листовой или ленточной электротехнической стали толщиной 0,1 - 0,35 мм.
 |
|
Рис. 1.1 |
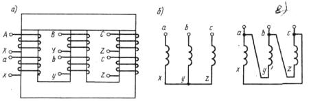
В зависимости от конфигурации магнитопровода различают трансформаторы стержневого, броневого и кольцевого типов. Конструктивные схемы таких двухобмоточных трансформаторов с ленточным магнитопроводом представлены соответственно на рис. 1.1, а-в. Магнитопровод 1 навивают из узкой ленты на станках; при этом магнитопровод броневого типа (рис. 1.1, б) собирают из двух магнитопроводов стержневого типа. Слои ленты изолируют друг от друга тонким слоем окисла, пленкой лака или бумагой с целью уменьшения вихревых токов, наводимых в магнитопроводе переменным магнитным потоком. Навитые магнитопроводы трансформаторов стержневого и броневого типов разрезают на две половины по линии А-А для создания возможности монтажа на них заранее намотанных обмоток. После монтажа обмоток половины вновь соединяют и плотно стягивают специальными обжимами. Использование ленты, нарезанной вдоль направления наибольшей магнитной проницаемости материала, позволяет создавать магнитопроводы на всех участках которых магнитный поток идет по пути наименьшего магнитного сопротивления материала. Участки магнитопровода, на которых расположены обмотки, называют стержнями, остальные участки - ярмом. Для обеспечения постоянной магнитной индукции по всему магнитопроводу у трансформаторов броневого типа ширина центрального стержня в два раза больше, чем боковых участков ярма.
Обмотка трансформатора - это совокупность витков, образующих электрическую цепь, в которой суммируются ЭДС витков. Обмотки 3, 4 трансформаторов стержневого и броневого типов представляют собой катушки, намотанные из изолированного провода, в большинстве случаев медного, на изолирующий каркас 2 или гильзу. Отдельные слои проводов изолируют друг от друга тонкой межслойной изоляцией из специальной бумаги или ткани, пропитанной лаками; между обмотками прокладывают более толстую межобмоточную изоляцию. Обмотки трансформатора, к которым электрическая энергия подводится, называют первичными, обмотки, от которых электрическая энергия отводится, - вторичными. Если на стержне в пределах катушки первичные и вторичные обмотки располагаются концентрично одна поверх другой, их называют концентрическими (рис. 1.1,a). При этом у стержневого трансформатора в катушках расположено по половине витков каждой из обмоток. Возможно раздельное расположение первичных и вторичных обмоток на каждом из стержней, но магнитная связь обмоток в этом случае ухудшается.
Если обмотки чередуются в осевом направлении стержня в виде отдельных катушек, имеющих форму дисков, их называют чередующимися (рис. 1.1,б). В кольцевых трансформаторах (рис. 1.1,в) обмотки наматывают непосредственно на изолированный магнитопровод одна поверх другой по всей длине магнитопровода, при этом на внутренней стороне кольца слоев получается больше, чем на внешней.
Повышение электрической прочности трансформаторов и их устойчивости к механическим и атмосферным воздействиям достигается путем пропитки обмоток изоляционными лаками или компаундами или заливкой трансформаторов в эпоксидную смолу. Стержневые трансформаторы имеют наилучшие условия охлаждения ввиду большой поверхности охлаждения обмоток. Броневые трансформаторы благодаря меньшему числу катушек имеют меньшие размеры и более просты в изготовлении. Кольцевые трансформаторы отличаются малыми потоками рассеяния и низким сопротивлением сердечника благодаря отсутствию воздушных зазоров на пути потока, но более сложны в изготовлении ввиду невозможности предварительной намотки обмоток вне магнитопровода.
 |
|
Рис.1.2 |
 |
|
Рис. 1.3 |
Магнитопроводы трансформаторов, собранные из штампованных листов, представлены на рис. 1.2. Магнитопроводы стержневых трансформаторов собирают из листов П-образной формы (рис. 1.2,а), броневых - из Ш-образной формы (рис. 1.2, б), кольцевых - из колец (рис. 1.2, в).
Принцип действия трансформатора. Принцип действия рассмотрим на примере однофазного двухобмоточного трансформатора (рис. 1.3), первичная обмотка которого с числом витков wi включена в однофазную сеть переменного тока с напряжением u
j, а вторичная обмотка с числом витков w
2 замкнута на сопротивление нагрузки Z
H. Под действием приложенного напряжения u
j по первичной обмотке протекает ток i
j, создающий МДС первичной обмотки F
1= i
jw
1, которая приводит к появлению переменного магнитного потока. Основная часть потока (поток взаимоиндукции Ф
0) замыкается по магнитопроводу, сцепляется с обеими обмотками и наводит в них ЭДС e
1 и e
2. Небольшая часть потока Ф
ст1, называемая потоком рассеяния первичной обмотки, замыкается по воздуху непосредственно вокруг этой обмотки.
Во вторичной обмотке ЭДС е
2 вызывает ток i
2, на сопротивлении нагрузки Z
H снимается выходное напряжение u
2=i
2Z
H и выходная мощность P
2=u
2i
2 Одновременно ток i
2 создает МДС вторичной обмотки F
2=i
2w
2, направление которой в контуре магнитопровода определяется по правилу Ленца. Значение потока взаимоиндукции Ф
0 определяется результирующим действием МДС F
1 и F
2. В обеих обмотках ЭДС взаимоиндукции определяются в соответствии с законом электромагнитной индукции:
е^^^ФоМІ;; е
2=^^Ф
0М1 (1.1)
Поток Ф
ст1 наводит ЭДС самоиндукции в первичной обмотке:
e
CT1=-L
CT1d/j/dt, (1.2)
где L
o1 - индуктивность первичной обмотки, соответствующая потоку рассеяния.
При увеличении тока нагрузки i
2 МДС F
2 стремится уменьшить поток Ф
0 и тем самым - ЭДС ei. Поскольку трансформаторы выполняют с минимальными потоками рассеяния и минимальным активным сопротивлением обмоток, основная часть приложенного напряжения u
j уравновешивается ЭДС e
1, которая направлена в контуре обмотки встречно напряжению uj, при неизменной амплитуде напряжения u
j ток i
j увеличивается. Таким образом, приращение выходной мощности покрывается за счет приращения потребляемой мощности P
1=u
ji
j. Увеличение тока i
j приводит к увеличению МДС F
1, и поток Ф
0 восстанавливается до прежнего значения. Небольшое уменьшение потока может быть вызвано падением части приложенного напряжения на сопротивлении обмотки. Это изменение тем больше, чем меньше мощность трансформатора, однако при изменении тока нагрузки от нуля (холостой ход) до номинального значения оно не превышает нескольких процентов. Магнитодвижущая сила F
2 вызывает также появление потока рассеяния вторичной обмотки Ф
ст2, наводящего ЭДС самоиндукции во вторичной обмотке:
e
CT2=-L
CT2djydt. (1.3)
При допущении о линейной зависимости индукции от напряженности магнитного поля и отсутствии гистерезиса в магнитной системе трансформатора можно утверждать, что в трансформаторе, подключенном к сети переменного синусоидального напряжения, все токи, потоки, ЭДС и напряжения изменяются по синусоидальному закону. Напряжение u
j, приложенное к первичной обмотке, уравновешивается в основном наведенной ЭДС взаимоиндукции, т.е. u
j& ^ При синусоидальном напряжении источника u
J=U
1msin©t выражение (1.1) можно представить в виде
dФ
0«(u
J/W
1)dt=(U
1m/w
1)sin©tdt (©=2nf - угловая частота напряжения), откуда после интегрирования получим выражение для потока
Ф
тС08Ш^ (1.4)
где
Фт&и 1m/(w 1®)= U1/(4,44fW1) (1.5)
- амплитудное значение потока Ф
0.
Из (1.5) видно, что амплитуда основного магнитного потока определяется амплитудой U
1m, угловой частотой первичного напряжения © и числом витков w
1 первичной обмотки.
Подставив (1.4) в (1.1), после дифференцирования получим
e
1=-E
1m sin©t; e
2=-E
2m sin©t (1.6)
где E
1m=©Ф
mw
1; E
2m=©Ф
mw
2 - амплитудные значения ЭДС
взаимоиндукции.
Из формулы (1.6) видно, что ЭДС ei и е
2 совпадают друг с другом по фазе и отстают от вызывающего их магнитного потока на 90°. При переходе к действующим значениям ЭДС получаем
Ei=4,44f^0
mwi; E2=4,44f^w2. (1.7)
Соотношение напряжений на входе и выходе трансформатора определяется в основном соотношением ЭДС взаимоиндукции в первичной и вторичной обмотках, которое называется теоретическим коэффициентом трансформации:
K
T=E
1/E
2=w
1/w
2. (1.8)
Как видно, соотношение напряжений на обмотках трансформатора определяется соотношением чисел витков.
Ток, необходимый для создания магнитного потока и являющийся по характеру реактивным (индуктивным), называют намагничивающим током трансформатора Io
p. Он протекает по первичной обмотке независимо от того, нагружен трансформатор или нет, и является основной составляющей тока холостого хода (х.х.) трансформатора. По закону Ома для магнитной цепи
Фт=?2 Iopwi/R
M, (1.9)
где R
M - магнитное сопротивление магнитопровода трансформатора. Преобразуя (1.9) с учетом (1.5), получим
І0р
=Ф mRM/( ¦'/2 wi)=UiRM/(6,28fwi
2).
Как видно, намагничивающий ток прямо пропорционален магнитному сопротивлению магнитопровода. Поэтому при проектировании и изготовлении магнитопроводов трансформаторов следует сводить к минимуму воздушные зазоры на пути основного магнитного потока, так как магнитная проницаемость воздуха значительно меньше магнитной проницаемости ферромагнитных материалов.
Необходимо отметить, что в реальных трансформаторах перемагничивание магнитопроводов происходит по нелинейному закону (петля намагничивания). Поэтому временной закон изменения ЭДС, токов и напряжений в зависимости от степени насыщения сердечника может более или менее отличаться от синусоидального.
Процесс передачи мощности с первичной на вторичную обмотку трансформатора сопровождается потерями части активной мощности. Мощность, называемая электрическими потерями, выделяется на активном сопротивлении обмоток при протекании по ним тока:
А
(1.
10)
где R
1 и R
2 - активные сопротивления обмоток.
Значение электрических потерь зависит от токов в обмотках, т.е. от режима нагрузки, поэтому электрические потери называют переменными потерями трансформатора.
Мощность А Р
м, называемая магнитными потерями, выделяется в магнитопроводе при прохождении по ней переменного магнитного потока. Она обусловлена наличием вихревых токов, наводимых переменным потоком, и явлением гистерезиса.
Значение А Р
м зависит от свойств материала магнитопровода, индукции в магнитопроводе и частоты его перемагничивания. Как видно из (1.5), поток, а следовательно, и индукция не зависят от нагрузки, поэтому потери А Р
м называют постоянными потерями трансформатора. Так как потери на вихревые токи и гистерезис пропорциональны примерно квадрату индукции, то А P
M~Ui
2. Выделение части потребляемой трансформатором мощности в виде электрических и магнитных потерь приводит к нагреву трансформатора.
Потери А Р
м выделяются в трансформаторе и в режиме х.х., поэтому при х.х., не отдавая полезной выходной мощности, трансформатор потребляет от источника некоторую активную мощность, идущую на покрытие потерь. Следовательно, в токе х.х. І
0 имеется активная составляющая І
0а, которая обычно не превышает 10% от намагничивающей составляющей тока х.х. І
0р. У трансформаторов большой и средней мощности ток І
0= I
0a+j I
0p не превышает 2-10% от номинального; у трансформаторов микромощности его значение может достигать 40-60% от номинального.
Следует отметить, что наряду с трансформаторами, имеющими фиксированный коэффициент трансформации, выпускается ряд типов трансформаторов с регулируемым вторичным напряжением. В основном регулирование осуществляется изменением соотношения между числами витков первичной и вторичной обмоток. При ступенчатом регулировании обмотка, обычно вторичная, имеет ряд ответвлений с различным числом витков. Выводы ответвлений подведены к переключателю. Для плавного регулирования трансформатор может быть выполнен со скользящим контактом - щетками, перемещающимися по неизолированной контактной дорожке на поверхности проводников вторичной обмотки и подключающими к выходу различное число витков.
 |
|
Рис.1.4 |
Трехфазные трансформаторы. Трехфазные трансформаторы мощностью в единицы и десятки кВ-А обычно выполняют с единой магнитной системой фаз; в этом случае конструкция магнитной системы напоминает конструкцию магнитной системы однофазного броневого трансформатора (см. рис. 1.1,б) с той лишь разницей, что здесь поперечное сечение всех трех стержней одинаковое (рис. 1.4,а). Большими буквами A, B, C обозначаются выводы обмотки высокого напряжения, малыми a, b, c -выводы низкого напряжения. Основные схемы соединения обмоток фаз -звезда и треугольник. При схеме звезд (Y) (рис. 1.4,б) концы обмоток x, y, z соединяются в общую нулевую точку, начала a, b и c подсоединяют к внешней цепи; при схеме треугольник (А) (рис. 1.4,в) поочередно
соединяют начала и концы обмоток фаз. ГОСТом рекомендуются следующие схемы соединения обмоток: Y/Y
0, Y/ А и Y
0/ А; для трансформаторов малой мощности допускаются также схемы А / А, А /Y и А/Y
0.Схема Y
0 означает соединение звездой с выведенной нулевой точкой. У трехфазных трансформаторов наряду с рекомендуемой схемой соединения обмоток указывается номер группы (от 0 до 12) трансформатора, соответствующий данной схеме. Группа характеризует сдвиг по фазе между первичным и вторичным линейными напряжениями трансформатора. Для параллельной работы должны подключаться трансформаторы, имеющие одинаковое выходное напряжение и принадлежащие к одной группе, чтобы не возникали уравнительные токи из-за разницы фаз выходных напряжений.
Трехфазные трансформаторы широко используются в качестве трансформаторов статических преобразователей, применяемых для питания электроприводов.
Импульсные трансформаторы. Импульсные трансформаторы применяют в радиоэлектронике и вычислительной технике для преобразования кратковременных сигналов с крутыми фронтами, в основном прямоугольных импульсов длительностью до долей микросекунды. Основное требование, предъявляемое к импульсным трансформаторам, заключается в минимальном искажении формы импульсов и снижении длительности фронтов импульсов. Искажение объясняется нелинейностью кривой намагничивания материала магнитопровода, наличием потоков рассеяния обмотки и увеличивающимся, по мере возрастания частоты импульсов, влиянием вихревых токов в магнитопроводе и паразитных межвитковых и межобмоточных емкостей. В частности, электромагнитная постоянная времени трансформатора, определяющая длительность фронтов импульса, тем больше, чем больше индуктивность рассеяния, паразитная емкость обмоток и вихревые токи. Уменьшение рассеяния в импульсных трансформаторах достигается использованием кольцевых магнитопроводов, уменьшение вихревых токов - использованием магнитопроводов из феррита или тонкой пермаллоевой ленты, уменьшение емкости - специальной схемой укладки проводов и металлическими экранами. Линейность намагничивания обеспечивается выбором соответствующего материала магнитопровода и малыми значениями индукции.
Следует иметь в виду, что трансформация прямоугольных импульсов возможна только в том случае, если длительность импульсов ^ значительно меньше полной электромагнитной постоянной времени первичной обмотки. Это означает, что намагничивающий ток и магнитный поток за время не будут достигать установившегося значения. В противном случае в трансформаторе установится постоянный поток и выходная ЭДС будет равна нулю.

Принцип передачи прямоугольного импульса напряжения через трансформатор (рис. 1.5) рассмотрим, считая трансформатор идеальной индуктивностью с потоком Ф
0, замыкающимся только по магнитопроводу. В этом случае иі»-е
1 и, аналогично (1.4), проинтегрировав, при M
1=Ui=const получим закон изменения потока в пределах импульса:
Фо=.[(и
1/%
1)^= U
1t/w
1, (1.11)
т. е. поток нарастает в пределах импульса по линейному закону. Подставив (1.11) в (1.1) для е
2,получим
e2=-UiW2/Wi=-Ui/K
T, (1.12)
т.е. функция e
2(t) представляет собой прямоугольный импульс. В действительности по указанным выше причинам закон изменения выходной ЭДС и напряжения отличается от прямоугольного (кривая е
2д).
§ 1.2. Уравнения равновесия и схема замещения однофазного
трансформатора
Уравнение равновесия МДС. Уравнение равновесия МДС составим по 2-му закону Кирхгофа для магнитной цепи трансформатора, изображенной на рис. 1.3. Примем, что положительные направления МДС первичной и вторичной обмоток совпадают с направлением потока Ф
0, тогда
Fi+F2=^„ . (1.13)
Выражения для МДС F
1 и F
2, через токи в обмотках приведены в §1.1. Падение магнитного потенциала U
M в магнитопроводе трансформатора, работающего с нагрузкой, практически такое же, как при холостом ходе. Объясняется это тем, что магнитный поток Ф
0 при х.х. и нагрузке практически одинаков, практически одинаково и магнитное сопротивление R
m. Однако при х.х. в трансформаторе действует только одна МДС х.х. первичной обмотки F
0=/
0w
1, и можно записать
Fo=Um . (1.14)
Приравнивая левые части выражений (1.13) и (1.14), получаем
/
1W
1+/
2W
2=/oW
1. (1.15)
Если токи представляют собой синусоидальные функции времени, то уравнение равновесия МДС (1.15) можно записать в комплексной форме
ІW
1+12 W
2=Io w
1, (1.16)
или
І1 W
1=Io W
1+(-12 W
2). (1.17)
Как видно из (1.17), первичная МДС имеет две составляющие: I
ow
1 -намагничивающую, необходимую для проведения основного магнитного потока Ф
0 по магнитопроводу; и (-I
2w
2) - необходимую для компенсации размагничивающего действия вторичной обмотки, т.е. передачи энергии с первичной на вторичную сторону трансформатора.
Уравнения равновесия ЭДС и напряжений. Уравнения равновесия ЭДС и напряжений в первичной и вторичной цепях трансформатора составим по 2-му закону Кирхгофа для электрических цепей (рис. 1.3)
Иі+е1+е
в1=№
ь e2+e
e2=/2R2+/2Ze. (1.18)
Для случая синусоидальных ЭДС, токов и напряжений можно перейти к комплексной форме записи:
О 1= — Ег—E
ei+IiRi, U
2=Е2 +Е
а2—I
2R
2, (1.19)
где ^2
=І2z
h - выходное напряжение трансформатора. Входящие в (1.19) ЭДС самоиндукции Е
о1и Е
о2 на основании (1.2) и (1.3) можно записать в следующем виде
Е
ст2= -j 12 Х2,
Е
01= -jl 1 Х1,
(1 .2o)
где xi= ©L
o1 и x
2= ©L
ct2 - индуктивные сопротивления рассеяния обмоток.
Преобразуем (1.19) c учетом (1.20):
• * • • • •
U^-Ei + Iizi, U
2=E2-bz2, (1.21)
где z
1=R
1+jx
1 и z
2=R
2+jx
2 - комплексные сопротивления обмоток.
Величины I
1z
1 и I
2z
2 - падения напряжения в обмотках.
Трансформаторы проектируют так, чтобы энергия передавалась при минимальных потерях в самом трансформаторе. Поэтому в пределах до номинальной нагрузки напряжение питания U
1 уравновешивается в основном ЭДС взаимоиндукции, которая соответствует передаваемой энергии; падение напряжения в обмотке порядка 3-10% от U
1, причем большие значения относятся к трансформаторам меньшей мощности.
Приведенный трансформатор. В общем случае в трансформаторе число витков в первичной и вторичной обмотках неодинаково (w
2^w
1), что затрудняет количественный анализ трансформаторов посредством схем замещения и векторных диаграмм. Поэтому при анализе часто переходят от реального трансформатора к приведенному. Приведенным называют трансформатор, у которого w
2=w
1 и параметры вторичной обмотки пересчитаны таким образом, что мощность на каждом элементе вторичной цепи такая же, как и в реальном трансформаторе. Параметры вторичной обмотки, приведенные к числу витков первичной обмотки, имеют то же буквенное обозначение с верхним индексом “штрих”.
Поскольку при приведении напряжение и число витков первичной обмотки не изменяются, то основной магнитный поток в приведенном и реальном трансформаторе одинаков. Следовательно, одинакова и ЭДС, приходящаяся на 1 виток вторичной обмотки. Значит
|
E2'=E2w1/w2=KtE2=E1. |
(1.22) |
|
Полная мощность вторичной цепи і2'Е2'=і2Е2, откуда |
|
|
і2'=(Е2/Е2')і2=і2/Кт. |
(1.23) |
|
Электрические потери во вторичной обмотке (I2')2R2'= |
=і2К2, откуда |
|
R2'=Kt2R2. |
(1.24) |
|
По аналогии можно показать, что |
|
|
X2'=Kt2X2, |
|
|
Z2-Kt2Z2, |
(1.25) |
z '=K 2z
н т н* |
|
|
|
Уравнение равновесия МДС для приведенного трансформатора |
• • •
11 w
1+12’w
1=I 0 w
1
после сокращения на w1 преобразуется в уравнение равновесия токов
11 +І2’ = І о. (1.26)
Уравнения равновесия ЭДС и напряжений принимают вид
U
х= —Ei + Iizi, й
2'=Е2
!-b’z/. (1.27)
Схема замещения. Представим ЭДС взаимоиндукции Ei и Е
2' в виде падения напряжения на некотором комплексном сопротивлении z
m при протекании тока х.х. (намагничивающего) I
0
El = E2’= -I о z
m. (1.28)
Тогда уравнения (1.26) и (1.27) принимают вид
I# • •
Ul=I°Z„rHl Zi,
• • •
0= -IоZ
m-I2
fz
2f-12’ z
Hf, (1.29)
• • •
I 1 =I 0 +(-12’).
Нетрудно показать, что уравнения (1.29) - это уравнения, записанные по 1-му и 2-му законам Кирхгофа для электрической схемы, представленной на рис. 1.6.

Эта электрическая схема и называется Т-образной схемой замещения трансформатора. Определив расчетным или экспериментальным путем (из опытов холостого хода и короткого замыкания) параметры трансформатора
zi, z
2' и z
m, можно по схеме замещения проводить расчет основных величин и характеристик - токов, напряжений, мощности, КПД и коэффициента мощности.
Несколько слов следует добавить о сопротивлении г
т=К.
т+.іх
т,которое называют сопротивлением намагничивающего контура схемы замещения. Действительная часть R
m - это условное активное сопротивление, на котором выделяется мощность, равная магнитным потерям, т.е. R
m= А P
M/I
02. Мнимая часть x
m - это индуктивное сопротивление взаимоиндукции обмоток приведенного трансформатора.
§1.3. Основные характеристики трансформатора Внешние характеристики. Внешняя характеристика - это зависимость напряжения на выводах трансформатора от тока, протекающего через нагрузку, подключенную к этим выводам, т.е. зависимость U
2=f(I
2) при U
1=const. При изменении нагрузки (тока I
2) вторичное напряжение трансформатора изменяется. Это объясняется (см. 1.27) изменением падения напряжения на сопротивлении вторичной обмотки I
2'z и изменением ЭДС E
2'=E
1 за счет изменения падения напряжения на сопротивлении первичной обмотки.
Причем, поскольку уравнения (1.27) векторные, U
2 зависит как от значения нагрузки, так и ее характера: активного, индуктивного или емкостного. Значение нагрузки в трансформаторах определяют коэффициентом нагрузки:
K ^^^ном^^^Аном, (КЗО)
характер нагрузки - углом ф
2 сдвига по фазе вторичных напряжения и тока.
Точный расчет внешней характеристики можно выполнить по схеме замещения (рис. 1.6), изменяя z
н и определяя U
2 и I
2. Однако на практике часто пользуются формулой
U2= U20(1-А И/100), (1.31)
где U
20 - вторичное напряжение при холостом ходе; U
2 -вторичное напряжение при данной нагрузке; а А и - изменение вторичного напряжения, т. е. арифметическая разность между напряжением х. х. и напряжением при данной нагрузке в процентах от напряжения х.х.
Значение А И рассчитывают по упрощенному выражению, которое можно получить из схемы замещения трансформатора при определенных допущениях:
А И=K
н(и
каCOSф2+И
KрSШф2). (1.32)
Входящие в выражение (1.32) величины и
ка и и
кр - это активная и реактивная составляющие напряжения короткого замыкания (к.з.) И
к. Напряжение и
к определяется как отношение напряжения U^ при котором проводится опыт к.з., к номинальному напряжению U^™ в процентах. В опыте к.з. вторичную обмотку трансформатора замыкают накоротко (z
H=0), а к первичной подводят такое пониженное напряжение U
K, при котором по обмоткам токи протекают номинальные. В опыте к.з. напряжение питания уравновешивается в основном падением напряжения в обмотках, и величину U
K можно рассматривать как эквивалентное падение напряжения в обмотках при номинальном токе нагрузки. В силовых трансформаторах и трансформаторах питания малой мощности значение и
к составляет 5-15%, причем большие значения относятся к трансформаторам меньшей мощности. Конкретные значения и
к приводятся в соответствующих каталогах. Значения и
ка и и
кр либо определяются экспериментально в опыте к.з., либо рассчитываются через параметры схемы замещения.
U ка =
Iihom(Ri + R2*)
100%
UIhom
(1.33)
100%
U кр—
ном |
 |
І1ном(Хі + X2' )
Ui
Внешние характеристики, построенные по (1.З1) и (1.32), представлены на рис. 1.7,a. Как видно, характеристики линейные и жесткие. Жесткость характеристик, т.е. слабая зависимость функции (U
2) от аргумента (К
н), объясняется тем, что сопротивление обмоток невелико (Uk«5-15%), а основной магнитный поток мало зависит от нагрузки. При активной (ф
2=0) и активно-индуктивной (ф
2>0) нагрузке характеристики всегда падающие, при активно-емкостной (ф
2<0) нагрузке могут быть возрастающими (в формуле (1.32) член и
кр8ІПф
2 становится отрицательным). В трансформаторах небольшой мощности активное падение напряжения обычно больше, чем индуктивное, и характеристика при активной нагрузке менее жесткая, чем при активно-индуктивной (рис. 1.7,а). В трансформаторах большой мощности соотношение падений напряжения противоположное и характеристика при активной нагрузке будет более жесткой.
Коэффициент полезного действия. КПД трансформатора называется отношение отдаваемой (полезной) электрической мощности Р
2 к потребляемой Рі :
П=Р2/Рі. (1.34)
Мощность Р
1 обычно представляют в виде суммы мощности Р
2 и потерь в трансформаторе:
Ро
(1.35)
Р
2 + ДР
Э + ДР
М
Активная мощность Р
2=8
2ео8ф
2, где S
2 - полная мощность. Поскольку выходное напряжение трансформатора слабо зависит от нагрузки, то коэффициент нагрузки (см. (1.30)) Кн^/Ьном^/Зном, где S
TOm -номинальное значение полной мощности; тогда Р
2=К
н8
номео8ф
2. Электрические потери при произвольной нагрузке (см.1.10) можно выразить через коэффициент нагрузки и потери при номинальной нагрузке А Р
э=К
н2 А Р
эном. Потери А Р
эном с достаточной степенью точности равны мощности Р
к, потребляемой трансформатором в опыте к.з. ; магнитные потери А Р
м - мощности Р
0, потребляемой трансформатором в режиме х.х. Значения Р
к и Р
0 приводятся в соответствующих стандартах и каталогах. С учетом вышеизложенного формула (1.35) принимает вид
K Аом СОвф 2
2
К АомС°вф2 +
Р0 + К н
рк
На рис. 1.7,б приведены графики зависимости КПД от нагрузки. При К
н=0 отдаваемая мощность Р
2 и КПД равны нулю. С ростом К
н возрастает мощность Р
2 при неизменном значении магнитных потерь (мощности Р
0) и КПД весьма быстро увеличивается. При некотором значении К
н.
опт. КПД достигает максимума и затем начинает медленно уменьшаться. Причиной уменьшения КПД является увеличение электрических потерь, изменяющихся пропорционально квадрату тока, т.е. К
н2. Максимальное значение КПД мощных трансформаторов достигает 0,98-0,99, у трансформаторов мощностью в единицы В-А снижается до 0,6.
Трансформаторы обычно проектируют так, чтобы оптимальный коэффициент нагрузки, при котором КПД достигает максимума, К
н.
опт»0,5--0,7. При этом наиболее вероятному диапазону нагрузки трансформатора К
н=0,5-1 соответствует КПД, близкий к максимальному.
При уменьшении ео8ф
2 КПД снижается, т.к. уменьшается отдаваемая мощность Р
2 при неизменных электрических и магнитных потерях.
Номинальный режим работы трансформаторов устанавливается обычно по условиям нагрева и безаварийной работы в течение заданного периода эксплуатации. Важнейшим показателем номинального режима является номинальная мощность - мощность, отдавая которую трансформатор может длительно работать, не перегреваясь выше установленной нормы.
ГЛАВА 2. АСИНХРОННЫЕ МАШИНЫ
Асинхронной машиной называется машина переменного тока, у которой угловая скорость ротора не равна угловой скорости магнитного поля статора. Угловая скорость ротора зависит от нагрузки, в режиме двигателя нагрузкой является механический момент сопротивления на валу машины, в режиме генератора - электрическая мощность, отдаваемая приемнику энергии.
У асинхронных машин большой, средней и малой мощности на статоре практически всегда расположена трехфазная обмотка, т.е. обмотка, состоящая из трех отдельных электрических цепей, сдвинутых в пространстве на 120 °. Ротор у трехфазных машин либо короткозамкнутый типа "беличьей клетки", либо с контактными кольцами. Асинхронные микромашины для автоматических систем выпускаются в основном с двухфазной обмоткой статора со сдвигом обмоток фаз на 90°; ротор таких двигателей типа "беличьей клетки" или полый немагнитный, или ферромагнитный. Принцип работы асинхронных машин связан с понятием вращающегося магнитного поля.
§ 2.1. Вращающееся магнитное поле машины переменного тока
Обмотка, создающая вращающееся поле, представляет собой m-фазную систему, т.е. состоит из m обмоток, которые сдвинуты друг относительно друга в пространстве и по которым протекают токи, сдвинутые во времени. Каждая из обмоток фаз создает пульсирующий поток (неподвижный в пространстве и изменяющийся во времени), сдвинутый относительно других в пространстве и во времени. Если все обмотки фаз имеют одинаковое число витков и сдвинуты в пространстве на электрический угол у
э = 2n/m (электрический угол - это пространственный угол, умноженный на число пар полюсов р
м ), токи имеют одинаковую амплитуду I
m и частоту f и сдвинуты во времени на угол Р = 2n/m, то результирующее магнитное поле будет круговым. Это означает, что поток представляет собой вектор постоянной длины, вращающийся в пространстве с постоянной угловой скоростью. Конец этого вектора описывает окружность, его значение Ф= (m/2) Ф
м, где Ф
м -амплитудное значение потока обмотки фазы. Условия
Уэ=2п / m ; в = 2п / m ; I
ral = I
mi =... = I
rara (2.1)
называют условиями кругового поля в m - фазной машине.
|
В электрических машинах переменного тока для создания вращающегося поля используются в основном трехфазные (рис. 2.1.,а) и двухфазные (рис.2.1.,б)обмотки. |
 |
При этом в качестве двухфазной обмотки используется половина четырехфазной, поэтому условия кругового поля в двухфазной обмотке совпадают с четырехфазной, но значение вектора результирующего поля вдвое меньше.
Процесс образования кругового вращающегося поля в трехфазной машине, для которой условия (2.1) принимают вид
Y э =
120 0 ; Р =
120 0; Im1 =
Im2 =
Im3
(2.
2)
можно пояснить графически на примере машины с одной парой полюсов(рис.2.2).

Мгновенные значения потока Ф обмоток фаз изменяются по закону изменения токов (рис. 2.2,а). Каждый из потоков можно представить вектором, направление которого совпадает с осью обмотки фазы. Берем мгновенные значения потоков в различные моменты времени, откладываем по соответствующим пространственным осям (рис. 2.2,б) и в каждый момент времени строим результирующий поток Ф. Нетрудно убедиться, что в любой момент времени поток Ф = (3/2 ) Ф
м и за один период изменения тока он поворачивается на один оборот.
В многополюсной машине (р
м > 1 ), частота ЭДС, наводимой в обмотке вращающимся магнитным полем, пропорциональна не только угловой скорости поля, но и числу пар полюсов. Одному обороту соответствует р
м период изменения ЭДС. Чтобы привести в соответствие пространственный и временной углы, вводят понятие электрического угла, равного пространственному, умноженному на число пар полюсов: у
э = у р
м. Таким образом, вся окружность машины соответствует электрическому углу 360°р
м
Следовательно, в многополюсной машине за один период тока поле повернется на угол, соответствующий одной паре полюсов, а полный геометрический оборот поле завершит за р
м периодов тока. Угловая скорость магнитного поля, называемая синхронной скоростью машины переменного тока, будет равна (рад/с)
Ші = 2nf / Рм, (2.3)
т.е. угловая скорость магнитного поля прямо пропорциональна частоте тока и обратно пропорциональна числу пар полюсов обмотки. Синхронная частота вращения (об/мин) n
1 = 60 f / р
м.
Если изменить порядок чередования любых двух обмоток фаз, то вектор магнитного поля будет вращаться в противоположную сторону. Следует отметить, что когда говорят о круговом вращающемся магнитном поле машины, то имеют в виду пространственную волну индукции, создаваемую в воздушном зазоре и вращающуюся в угловой скоростью Ш
1. Для двухфазной машины условия кругового поля (2.1) принимают вид:
Y э =90° ; в = 90° ; Імі = Ім2 ; (2.4)
и вращающийся вектор поля Ф = Ф
м
Электрическую машину и режим ее работы, подчиняющиеся условиям (2.1), называют симметричными. При отклонении углов у
э и в или соотношения амплитуд токов от условий (2.1) магнитное поле становится эллиптическим и режимы называют несимметричными.
|
§ 2.2. Конструкция и принцип действия трехфазных асинхронных машин |
 |
Рис. 2.3
Конструкция. На рис. 2.3 представлена конструктивная схема трехфазной машины с короткозамкнутым ротором типа "беличьей клетки". Внутри корпуса 1, отлитого из стали, чугуна или сплавов алюминия, закреплен неявнополюсный магнитопровод статора 2, набранный из листовой электротехнической стали толщиной 0,35-0,5 мм. Листы штампуются с |
пазовыми отверстиями и в собранном магнитопроводе на внутренней поверхности образуются пазы для укладки обмотки. Трехфазная обмотка статора 3 обычно выполняется распределенной, т.е. состоит из отдельных катушек, расположенных в пазах вдоль всей окружности статора. У трехфазной обмотки на внешнюю панель выводов либо выходят все 6 выводов, либо обмотки фаз соединяются внутри машины по схеме “звезда” или “треугольник” и на панель выходят 3 вывода. Обмотка статора предназначена для создания вращающегося магнитного поля машины. Магнитопровод ротора 4 выполняется в виде цилиндра, набранного из листовой электротехнической стали с пазами на внешней поверхности. Обмотка ротора 5 типа "беличьей клетки" состоит из неизолированных алюминиевых или медных стержней, расположенных в пазах и замкнутых накоротко с торцов двумя кольцами (рис. 2.4,а). Наиболее часто "беличью клетку" с кольцами получают путем заливки алюминия под давлением в пазы ротора.
 |
|
Рис. 2.4 |
Асинхронные машины с контактными кольцами отличаются от машин с короткозамкнутым ротором тем, что в пазах ротора 1 (рис. 2.4,б) располагается трехфазная распределенная обмотка 2, соединенная “звездой”. Три вывода обмотки подводятся к трем контактным кольцам 3, расположенным на валу ротора и изолированным друг от друга и от вала; контактные кольца изготавливаются из сплавов меди. По поверхности колец скользят щетки 4, выполненные из композиционных материалов на основе графита, расположенные в щеткодержателях, укрепленных на статоре. Скользящий контакт кольца-щетки позволяет подавать или снимать напряжение с вращающейся обмотки ротора, включать в цепь ротора добавочное сопротивление.
Распределенная обмотка статора. Простейшим конструктивным элементом распределенной обмотки является катушка(рис.2.5).
В распределенной обмотке в общем случае магнитные оси катушек не совпадают с результирующей магнитной осью обмотки. Катушка состоит из одного или нескольких последовательно соединенных витков, изготовленных из круглого или прямоугольного медного провода.
|
Расстояние между сторонами катушки (витка) называется шагом катушки по пазам у и примерно равно полюсному делению т. |
 |
а) б)
Рис. 2.5
Полюсным делением называется часть окружности ротора приходящаяся на один полюс: т = nD / 2рм,
где D - диаметр ротора, рм - число пар полюсов машины.
При у = т шаг называется диаметральным, при у < т - укороченным. Изолированные катушки укладываются в пазы в два слоя; таким образом, если одна сторона катушки находится под северным полюсом в верхнем слое паза, то другая сторона -под южном полюсом в нижнем слое паза. Такое расположение обеспечивает одинаковое (по контуру) направление ЭДС в обеих сторонах катушки и одинаковое направление моментов сил, действующих на обе стороны катушки.
Катушки объединяются в группы, каждая из которых образует отдельную
электрическую цепь - обмотку фазы. |
Схема соединения катушек определяет число и расположение фаз и число полюсов в обмотке. На рис. 2.6 в качестве примера показано, как проводники одной обмотки при различной схеме соединения образуют магнитную систему с 1 или 2 парами полюсов. На рис. 2.7 показано образование трех- и двухфазной обмоток. В m - фазной машине каждый полюс создается проводниками всех m фаз, т.о число полюсов одной обмотки фазы равно числу полюсов всей m -фазной обмотки.
 |
|
Рис. 2.6 |
 |
|
Рис. 2.7 |
Электрические машины с распределенными обмотками являются более сложными в изготовлении, чем машины с сосредоточенными обмотками. Тем не менее в машинах переменного тока в основном применяются распределенные обмотки. Объясняется это тем, что полезное преобразование энергии и сигналов в большинстве машин переменного тока идет по первой гармонике ЭДС, тока, индукции ; высшие гармоники
вызывают дополнительные потери мощности или погрешности преобразования сигналов. Сосредоточенные же обмотки не обеспечивают близкого к синусоидальному закона изменения МДС (соответственно, и индукции) в пространстве и ЭДС во времени.

В качестве примера рассмотрим МДС двухполюсной сосредоточенной обмотки одной фазы. МДС такой обмотки 1 - 1’ с числом витков w (рис. 2.8,а) определяется по закону полного тока: при протекании синусоидального тока с действующим значением I амплитудное значение МДС равно (рис. 2.8., б)

В машине с симметричной магнитной системой и одинаковым воздушным зазором в зоне обоих полюсов половина МДС
расходуется на проведение потока в зоне северного полюса и половина - в зоне южного полюса.Тогда можно принять, что любой точке полюсного деления соответствует постоянная МДС F
cx = F
c / 2, знак которой соответствует знаку индукции данного полюса.Следовательно,МДС распределена вдоль окружности машины по прямоугольному закону (сплошная линия на рис. 2.8,б); знак МДС меняется при переходе оси паза с проводниками. Применяя разложение в ряд Фурье, представляем прямоугольное распределение в виде суммы синусоид:
. — 1 . 3—x 1 . v—x Л
sin--+ — sin--+.. +— sin-
t 3 t v т )
(2.5)
где x - расстояние от оси паза; v - порядковый номер гармоники.
Как видно амплитуда первой гармоники МДС сосредоточенной обмотки равна
\L
(2.6.)
а v -й гармоники МДС F
CV = 0,9 I W / v.
Графики 1,3 и 5 гармоник МДС изображены на рис. 2.8,б пунктирными линиями. Как видно v -я гармоника мдс создает вдоль расточки машины в v раз больше магнитных полюсов, чем первая гармоника.
Анализ показывает, что амплитуды высших гармоник при сосредоточенной обмотке весьма велики. Распределение обмотки наряду с укорочением шага катушек относительно полюсного деления ( у / т ), и скосом пазов относительно образующей цилиндрической расточки машины позволяет существенно уменьшить влияние высших гармоник. Однако эти же факторы приводят и к уменьшению амплитуды первой гармоники МДС и ЭДС.
Первая гармоника МДС распределенной обмотки может быть выражена через первую гармонику МДС сосредоточенной обмотки с тем же числом витков и обмоточный коэффициент
F1 =
Fc1 Коб. 1 =
0,9 1 w Коб. 1 .
(2.
7)
Обмоточный коэффициент для первой гармоники Коб.
1 при распределенной обмотке несколько меньше 1; его конкретное значение зависит от схемы обмотки, шага катушек и скоса пазов.
Произведение wK
o6.
1 называют эффективными витками обмотки
1^эф.
Аналогично учитывается влияние распределения обмотки, укорочения шага и скоса пазов на ЭДС обмотки.
Принцип действия. Асинхронная машина, как и электрические машины других типов, является обратимой. Принцип действия асинхронной машины основан на электромагнитном взаимодействии вращающегося магнитного поля статора с токами, наведенными этим полем в роторе. Поскольку наведение ЭДС в роторе возможно только при неравенстве угловых скоростей ротора ш
2 и магнитного поля статора Ші, то условие ш
2 Ф Ш
1 является обязательным для создания электромагнитного момента в любом режиме работы асинхронной машины. В качестве характеристики этого неравенства вводится понятие скольжения:
(2.8)
|
Работу асинхронной машины в различных режимах рассмотрим на примере машины с короткозамкнутым ротором. |
 |
|
Рис. 2.9 |
Пусть магнитное поле статора Фі и ротор вращаются в одну сторону и ©2 < ©1 (рис. 2.9,а). Направление ЭДС е
2 ,наводимой в роторе, определяется по мнемоническому правилу правой руки. Токи ротора І
2 во взаимодействии с полем статора создают электромагнитные силы Р
эм, направление которых определяется по мнемоническому правилу левой руки.
Электромагнитный момент М
эм, создаваемый этими силами, направлен в сторону вращения ротора и разгоняет его в сторону поля, электрическая энергия сети преобразуется в механическую энергию на валу ротора, т.е. машина работает в режиме двигателя. Электромагнитный момент, развиваемый двигателем при неподвижном роторе, является пусковым моментом. Угловая скорость, до которой разгоняется ротор, тем больше, чем меньше момент нагрузки на валу двигателя. При отсутствии нагрузки угловая скорость ©
2 стремится к ©
1, но в реальных машинах никогда не достигает ее, т.к. при ©
2 = ©
1 проводники ротора не пересекают поле и М
эм = 0, а момент сопротивления нулю не равен - его создают силы трения в двигателе. Следовательно, теоретический диапазон работы асинхронной машины в режиме двигателя ©
2 = 0 * ©
1, s = 1 * 0. Режим двигателя является на практике основным режимом работы асинхронной машины.
Если магнитное поле статора и ротор вращаются в одну сторону и за счет подведения внешней механической энергии ©
2 > ©
1, то машина переходит в режим генератора (рис. 2.9,б). Однако трехфазные
асинхронные машины в этом режиме используются крайне редко. Теоретический диапазон асинхронной машины в режиме генератора ©2 = 0 * да, s = 0 * ( - да ).
Если ротор вращается в сторону, противоположную магнитному полю статора (рис. 2.9,в), то электромагнитный момент М
эм направлен против направления вращения ротора и является тормозным. Происходит потребление электрической энергии из сети и механической энергии от устройства, вращающего ротор машины против поля. Вся потребляемая энергия выделяется в виде тепловой, и машина работает в режиме электромагнитного тормоза (торможение противовключением).
Теоретический диапазон работы асинхронной машины в режиме торможения противовключением ©2 = 0 * ( - да ), s = 1 * ( да )
Линейный асинхронный двигатель в простейшем случае можно получить, если вращающийся двигатель разрезать по диаметру и развернуть на плоскости. При этом магнитное поле получается не вращающимся, а бегущим, и электрическая энергия преобразуется в механическую поступательного движения.
§ 2.3. Асинхронный двигатель как обобщенный трансформатор
Можно показать, что физические процессы в асинхронном двигателе имеют много общего с процессами в трансформаторе, и асинхронный двигатель можно анализировать на основе системы уравнений и схемы замещения, полученных для трансформатора.
Как и в трансформаторе, в двигателе имеется основной магнитный поток Ф
0, сцепленный с проводниками статора (первичной обмоткой) и ротора (вторичной обмоткой). Этот поток вращается c угловой скоростью ©1 = 2nf / р
М, т.е. изменяется с частотой напряжения питания f). При этом в обмотках статора и ротора наводятся ЭДС взаимоиндукции e
1 и e
2.
При замкнутой обмотке ротора поток Ф
0 создается в результате взаимодействия МДС статора и ротора, неподвижных друг относительно друга. Действительно, частота тока в обмотке ротора прямо пропорциональна разности угловых скоростей поля и ротора и числу пар полюсов, т.е.

2п
(2.9)
Обмотка ротора является многофазной, и токи ротора создают МДС, вращающуюся относительно ротора с угловой скоростью ©
22 = 2nf
2 / р
м = ©
1 - ©
2. Угловая скорость этой МДС относительно статора ©
21 = ©
2 + ©
22 = ©
1, т.е. МДС статора и ротора вращаются относительно статора с одной угловой скоростью. Воздействие МДС ротора на магнитное поде двигателя называется реакцией ротора. В асинхронных двигателях реакция ротора проявляется так же, как реакция вторичной обмотки в трансформаторах.
МДС обмоток статора и ротора создают потоки рассеяния, сцепленные каждый со своей обмоткой и наводящие ЭДС самоиндукции
ест1
и ест2.
Наряду с этими общими чертами, у асинхронного двигателя имеется и ряд отличий.
1. При уменьшении угловой скорости ротора ©
2 увеличивается частота перемагничивания магнитопровода ротора и, соответственно, магнитные потери мощности в роторе на гистерезис и вихревые токи. Однако примерно в этой же пропорции уменьшаются механические потери на трение в подшипниках. В результате в двигателе можно условно выделить переменные, зависящие от нагрузки потери мощности -электрические потери ДР
э в обмотках, и постоянные потери - сумму магнитных ДР
м и механических ДР
мех потерь.
2. Согласно (2.9) и (2.8) частота токов в роторе
т.е. она зависит от угловой скорости ротора и в двигательном диапазоне изменяется от f
2 = fi до f
2 = 0. Это делает невозможным прямое использование векторных диаграмм и схем замещения трансформатора для анализа асинхронного двигателя.
Поступаем следующим образом.Выразим параметры вращающегося ротора через параметры неподвижного ротора ( s = 1 ), для которого согласно (2.10) f
2 = f
1 = const.
Выражение ЭДС обмотки фазы вращающегося ротора, записанное по аналогии с (1.7),
Егвр = 4,44 f2 Ф„ «-2.эф = 4,44 s fi Ф„ «^.эф =s E2, (2.11)
где ЭДС при неподвижном роторе
Е2 = 4,44 fi Фм «2Эф , (2.12)
Ф
м - амплитуда потока Ф
0 ,
«
2эф - число эффективных витков обмотки фазы ротора.
Индуктивное сопротивление ротора
x 2вр
2п f2
Lct2
s x 2
, (2.
13)
где x
2вр = 2n f
2 L
a2 - индуктивное сопротивление обмотки фазы неподвижного ротора; L
ct2 - индуктивность рассеяния.
Пренебрегая поверхностным эффектом будем считать, что R
2 =
const.
Ток во вращающемся роторе по закону Ома
2 вр
|
2 вр |  |
2 вр
(2.14)
С учетом (2.11) и (2.13) формула (2.14) преобразуется следующим образом
I -
sE =
E2
(2.15)
Как видно, ток ротора определен непосредственно через параметры неподвижного ротора и имеет частоту ЭДС неподвижного ротора. Поэтому индекс "вр" у тока ротора в дальнейшем опускается.
Фаза тока ротора, характеризуемая углом у
2 между Е
2вр и I
2 может
cos у
2
(2.16)
быть определена из выражения (2.16) .
3. У двигателя нагрузка механическая, а у трансформатора -электрическая. Для учета этого различия представим активное сопротивление R
2 / s в (2.15) как сумму R
2 + R
2 (1-s) / s. Тогда R
2 соответствует электрическим потерям в обмотке ротора, а R
2 (1-s) / s соответствует электрической мощности, преобразуемой в механическую. Поскольку s зависит от момента нагрузки, то сопротивление R
2 (1-s) / s является эквивалентом механической нагрузки двигателя. Изменение этого сопротивления так же влияет на токи в обмотках и потребляемую мощность, как и изменение момента нагрузки на валу вращающегося ротора. Таким образом, короткозамкнутая обмотка вращающегося ротора асинхронного двигателя подобна вторичной обмотке трансформатора, включенной на условное сопротивление нагрузки:
Rhj. = R2 (1-s) / s . (2.17)
Следовательно, асинхронный двигатель можно рассматривать как обобщенный трансформатор, у которого сопротивление R
Hy является эквивалентом механической нагрузки двигателя.
Как видно из (2.15), в двигательном диапазоне наибольший ток в роторе будет при пуске ( s =1). При идеальном холостом ходе двигателя, т.е. при s = 0, ток I
2 = 0.
Схема замещения. Схема замещения строится для приведенного асинхронного двигателя, у которого число фаз, расположение обмоток фаз и число витков в обмотке фазы ротора такие же, как на статоре. Приведение параметров ротора к числу фаз и витков обмотки статора осуществляется, как и у трансформатора, исходя из условия инвариантности мощности. Нетрудно показать, что формулы приведения для двигателя примут вид:
Е2’ = KeE2 ; I2’ = І2 / Ki ; (2.18)
Х2’ = Ke Ki X2 ; R2’ = Ke Ki R2,
где K
e = w
1.
эф / w
2.
эф - коэффицент трансформации ЭДС;
K
i = m
1 w
1.
эф / m
2 w
2.
эф - коэффицент трансформации тока; m
1 и m
2 - число фаз статора и ротора. В соответствии с выводами, сделанными в предыдущем разделе настоящего параграфа, в качестве схемы замещения приведенного асинхронного двигателя (в расчете на одну фазу) может использоваться схема замещения однофазного
|
трансформатора (см. рис. 1.6) с заменой сопротивления ветви нагрузки на условное сопротивления RHy по (2.17). Получающаяся схема замещения двигателя изображена на рис. 2.10. |
 |
§ 2.4. Основные характеристики трехфазных асинхронных двигателей Электромагнитный момент. Полная механическая мощность двигателя создается в результате вращения ротора с угловой скоростью ©
2 под действием момента М
эм т.е.
Рмех = М
Эм ®2 . (2.19)
Эта мощность может быть определена по схеме замещения как электрическая мощность, выделяющаяся на условном сопротивлении нагрузки R^\ умноженная на число фаз статора:
мех
На основании (2.19) и (2.20) с учетом (2.8) можно записать
эм
(2.21).
При расчете момента по формуле (2.21) ток І
2’ определяется по схеме замещения (рис. 2.10 ) для соответствующего скольжения.
Формулу (2.21) можно преобразовать, подставив в нее выражение для тока І
2’, получаемое при определенных допущениях из схемы замещения
mU r2i s
M=
Ы ( + CR / s)
2 + ( + Cx
2 )
2 ] ‘
эм
(2.22)
Коэффициент C, входящий в формулу (2.22), есть модуль комплексного коэффициента С = 1 + ( z
1 / z
M ), появляющегося в ходе преобразования. Допущение заключается в учете только модуля коэффициента С, т.к. его аргумент в реальных машинах очень мал. В реальных машинах (исключая микромашины) С = 1,03-1,08 и при качественном анализе иногда принимают С = 1
Выражение (2.21) можно также преобразовать, выразив активное падение напряжения в роторе І
2’ R
2’ / s через ЭДС на основании формул (2.15) и (2.16)
І2’ R2’ / S = E2’ COS У2. (2.23)
Подставляя (2.23) в (2.21) и выполняя преобразования с учетом (2.18) и (2.12) получаем
Мэм = k Фм I2' cos У2 , (2.24)
где конструктивный коэффициент
m ! p W ,
ф
7 _ 1 ± m 1 эф
k !— •
42
Как видно из (2.24), электромагнитный момент прямо пропорционален основному магнитному потоку Ф
м и активной составляющей тока ротора I
2’ cos у
2.
Формулы момента (2.21), (2.22) и (2.24) получены для режима двигателя, но они справедливы и для других режимов с учетом знака и диапазона значений скольжения s. Зависимость электромагнитного момента от скольжения графически представлена на рис. 2.11 (сплошная линия).
 |
|
Рис. 2.11 |
' *?*"*/" I / ел'////У
ЭЁи/'А / j ЭЛ $?ХТ,> о/у/g /’///V / //о г О
ГО/>НО ЗА
Такой вид характеристики легко поясняется с помощью формул (2.24), (2.15) и (2.16). При увеличении скольжения ток ротора I
2 непрерывно растет, но становится все более индуктивным - уменьшается cosy
2 так как увеличивается частота токов в роторе и, соответственно, его индуктивное сопротивление. В результате активная составляющая тока ротора и, соответственно, электромагнитный момент вначале растут, а затем начинают убывать.
Скольжение, при котором момент достигает максимального значения М
мах, называется критическим и обозначается s
Kp. Для определения s
Kp необходимо, воспользовавшись выражением (2.22), взять производную dM^ / ds и приравнять ее нулю. Решение получающегося уравнения имеет вид
CR
2
е - +
лкр

(2.25)
Принимая в первом приближении Сі « 1 и Ri « 0, получим

В большинстве асинхронных двигателей необходимо обеспечить высокий КПД. Поэтому активное сопротивление обмоток, в частности R
2, определяющее уровень электрических потерь в роторе, стремятся получить малым. При этом критическое скольжение лежит в диапазоне 0,1 4- 0,25.
Подставляем (2.25) в (2.22) и получаем выражение максимального момента:
M =±
тД
2
2®, С ± [ + [
2 +( + Cx
2 )
2)
(2.27)
Знак "+" относится к двигательному режиму, "-" - к генераторному.
Как видно, максимальный момент пропорционален квадрату напряжения питания, не зависит от активного сопротивления роторной цепи R2 и наступает при тем большем скольжении, чем больше активное сопротивление роторной цепи (рис. 2.11, штрих-пунктирная линия, R
2B >
R2A).
Пусковой момент двигателя М
п определяется выражением (2.22) при s=1. Значение М
п пропорционально квадрату напряжения питания и возрастает при увеличении R
2 (см. рис. 2.11), достигая максимума при s
Kp =1.
Номинальное скольжение s
H0M, соответствующее номинальному моменту Мном,возрастает с увеличением R
2. Это сопровождается ростом электрических потерь в роторной цепи и снижением КПД. У асинхронных двигателей с малым критическим скольжением Бном = 0,02 - 0,06.
Уравнение равновесия моментов на валу двигателя.
Электромагнитный момент, развиваемый двигателем, преодолевает момент нагрузки М
н, прикладываемый к валу двигателя, и собственный момент сопротивления двигателя М
о (момент холостого хода), определяемый механическими и добавочными потерями в двигателе. Результирующий момент определяет значение и знак ускорения ротора:
dm М -М -М
_ эм и н
2 2.28)
dt J
где J - момент инерции вращающихся частей - ротора и нагрузки.
Это диффиренциальное уравнение движения электропривода, состоящего из двигателя и нагрузки, преобразованное к виду
называют уравнением равновесия моментов на валу двигателя.
В этом уравнении
Мо + М
н = М
ст - статический момент сопротивления,
J(dra/dt)=M^
H - динамический момент сопротивления.
Электромагнитный момент М
эм за вычетом момента М
0 называют полезным или вращающим моментом на валу и обозначают М
2. Из уравнений (2.28) и (2.29) следует, что:
1) если М
эм = М
ст, то dro/dt = 0, ю =const т.е. двигатель работает в установившемся (статическом) режиме, при этом М
2 = М
н;
2) если М
эм > М
ст, то угловая скорость ротора возрастает, т.е. двигатель работает в переходном ( динамическом ) режиме;
3) если М
эм < М
ст, то угловая скорость ротора убывает, т.е. двигатель работает в переходном режиме.
В общем случае при составлении уравнения равновесия моментов следует учитывать знаки моментов, которые определяются направлением действия моментов по отношению к положительному направлению вращения. Если двигатель создает электромагнитный момент, действующий в положительном направлении, то момент считается положительным ( М
эм > 0 ). Если двигатель переходит в тормозной режим, его момент начинает действовать в противоположном направлении ( М
эм< 0 ).
Статические моменты сопротивления, создаваемые рабочим механизмом и передаточным устройством, бывают двух видов: реактивные и активные, или потенциальные. Реактивные моменты сопротивления всегда направлены против направления вращения, т. е. являются тормозными (М
ст< 0 ). К реактивным моментам относятся моменты сил трения, в том числе в самом двигателе, моменты сопротивления при резании металла на обрабатывающих станках и т.д. Активный момент всегда действует в одном и том же направлении, независимо от направления вращения, т.е. может либо препятствовать движению ( М
ст >0 ), либо способствовать ему ( Мст <0 ). К активным моментам относятся моменты сил тяжести, сил упругости пружин и т.д.
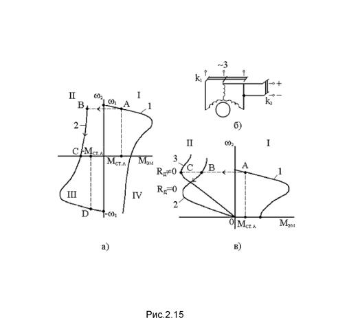
Механические характеристики. Уравнением естественной механической характеристики асинхронного двигателя является выражение (2.21) или (2.22) с заменой скольжения S на угловую скорость ю
2 по (2.8) при U
1=const. График характеристики изображен на рис. 2.12,а.
 |
|
Рис.2.12 |
Оценим механическую характеристику по показателям устойчивости, жесткости и линейности.
Считается, что двигатель в разомкнутом приводе работает устойчиво, если после снятия возмущения он автоматически возвращается в исходную рабочую точку на механической характеристике. Механическая характеристика двигателя представляет собой зависимость угловой скорости ротора от электромагнитного момента: ю
2=^М
эм).Механической характеристикой нагрузки является зависимость статического момента сопротивления на валу двигателя от угловой скорости: М
ст = f(ra
2).
Теоретически установившийся режим работы двигателя возможен в точках Аі и А
2, где М
эм=М
стА. Пусть двигатель работает с нагрузкой M^^const в точке А
1 и появляется возмущение, приводящее к увеличению угловой скорости ю
2. Тогда двигатель создает вращающий момент, соответствующий точке Л'
і, а нагрузка - момент сопротивления,
соответствующий точке Л
1. При этом М
эм<Мс
Х, в соответствии с уравнением равновесия моментов угловая скорость ю
2 уменьшается и двигатель возвращается в точку А
1. Возврат в точку А
1 будет происходить и при отрицательном приращении скорости (точка А”
1 ). Если двигатель работает c нагрузкой в точке Л
2, то при возмущении, приводящем к увеличению скорости, двигатель создает вращающий момент, соответствующий точке Л'
2, а нагрузка - момент сопротивления,
соответствующий точке Л
2. При этом М
эм>М
ст и угловая скорость продолжает увеличиваться, двигатель уходит от точки А
2. Возврата в точку А
2 не происходит и при отрицательном приращении скорости (точка А”
2 ). В этом случае скорость будет продолжать уменьшаться вплоть до остановки двигателя.
Следовательно в точке А
1 двигатель работает устойчиво, а в точке А
2 - неустойчиво. В общем случае, формальным признаком устойчивой работы двигателя является неравенство
(ёМэм/ dro
2) < (dMCT /dro
2) . (2.30)
При моменте нагрузки, не зависящем от скорости, т.е. при M^const, это неравенство принимает вид
(dw
2/dM3M)<0 . (2.31)
Исходя из понятия устойчивости работы двигателя в разомкнутом приводе, принято называть механическую характеристику двигателя устойчивой, если она обеспечивает устойчивую работу двигателя при M
CT=const.
Если воспользоваться формальным признаком устойчивости (2.31), то легко показать, что при M
CT=const устойчивая работа двигателя обеспечивается только на участке от ш
1 до ю
2кр| Участок от ю
2.
ф до 0 является неустойчивым. Рабочий диапазон моментов и скоростей электроприводов с асинхронными двигателями выбирается в пределах устойчивой части механической характеристики двигателя. Точка номинальной нагрузки М
ном располагается на рабочем участке таким образом, чтобы перегрузочная способность Km = M
max / М
ном = 1,7 - 3,5. При малом сопротивлении ротора R
2 критическая скорость ю
2.
ф=(0,8 — 0,9)ю
1 и рабочий участок жесткий. Механическая характеристика в целом нелинейная, но ее рабочий участок близок к линейному.
В пределах рабочего участка происходит саморегулирование двигателя. Увеличение момента сопротивления на валу двигателя от М
ст.
в до Мс
т.
с приводит к уменьшению угловой скорости ротора от ю
2в до ю
2с, увеличению ЭДС и тока, наводимых в роторе вращающимся полем, и, соответственно, росту электромагнитного момента до значения, равного новому значению момента сопротивления (переход из точки В в точку С на механической характеристике).
Рабочие характеристики. Рабочие характеристики асинхронного двигателя - это зависимости угловой скорости ротора ю
2, полезного момента М
2, КПД п, коэффициента мощности СОБф
1 ( ф
1 - сдвиг по фазе между Ui и Ii) и тока статора Ii от полезной мощности Р
2 при U) = и
ном и f = f^M (рис. 2.12,б). Рабочие характеристики могут быть либо сняты экспериментально, либо рассчитаны с использованием схемы замещения.
При переходе от режима х.х. (двигатель не нагружен) к режиму номинальной нагрузки угловая скорость ротора снижается незначительно, т.к. ш
2—(1 - э)ю
1, а Бном, как отмечалось, составляет единицы процентов. Соответственно, полезный момент М
2= Р
2/ю
2 возрастает по закону, близкому к линейному. Изменение тока статора определяется реакцией ротора; относительно большое значение тока при холостом ходе объясняется наличием воздушного зазора. Ток х.х. в основном индуктивный, и соответственно низок СОБф
10 — порядка 0,1 - 0,2. По мере роста нагрузки возрастает потребляемая активная электрическая мощность и СОБф
1 растет - его максимальное значение достигает 0,7-0,9. Ток сохраняет активно-индуктивный характер ( ф
1>0 ) и питающая сеть загружается реактивным током. КПД двигателя ц— Р
2 /Р
1, где Р
1 -активная электрическая мощность, потребляемая двигателем. При симметричном питании Р
1 — т
1и
1І
1СОБф
1, где U
1, I
1 — фазные напряжение и ток. Зависимость КПД от мощности Р
2 — Р
1 - Ар
э - Ар
м - Ар
мех имеет такой же вид, как и у трансформатора, т.к. в двигателе потери также подразделяются на постоянные и переменные. Для машин малой и средней мощности максимальное значение КПД п — 0,7—0,9, при этом меньшие значения относятся к двигателям меньшей мощности, у которых относительно больше активное сопротивление обмоток.
§ 2.5. Пуск, реверсирование и торможение асинхронных двигателей Пуск. Условием пуска двигателя является неравенство М
п>М
ст ; если это условие выполняется, то при включении двигателя в сеть ротор приходит в движение и разгоняется до установившегося режима. При пуске ( ю
2 — 0, S —1) ток в роторе достигает наибольшего значения (см. (2.15)). Соответственно велики пусковые токи и в обмотке статора, электродинамические усилия, действующие на обмотку, токовые перегрузки в питающей сети.
У асинхронных двигателей малой мощности и специальных двигателей с повышенным критическим скольжением обычно кратность пускового тока К
іп=< 6 и допускается непосредственное включение двигателя в сеть. Если К
іп > 6 или требуется более сильно ограничить пусковой ток, то приходится применять специальные способы пуска. У двигателей с короткозамкнутым ротором это в основном способы пуска при пониженном напряжении питания. По мере разгона ротора токи в обмотках уменьшаются и напряжение может быть повышено до номинального значения. Недостатком способов пуска при пониженном напряжении является то, что пропорционально квадрату фазного напряжения уменьшается пусковой момент (см. (2.22)).
У двигателей с рабочей схемой соединения обмоток статора в “треугольник” возможен пуск переключением со “звезды” на “треугольник”. Пуск происходит при соединении обмоток статора в “звезду”. Фазные напряжения и токи в ?3 раз, а линейный ток в 3 раза меньше, чем при прямом пуске на схеме “треугольник”. После разгона обмотки статора переключают на рабочую схему “треугольник”. Однако, как уже отмечалось, уменьшается и пусковой момент - в 3 раза.
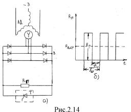
У двигателей с контактными кольцами чаще применяется р е о с т а т н ы й способ пуска, основанный на изменении добавочного активного сопротивления - пускового реостата R, включаемого в цепь ротора (рис. 2.13,a).
 |
а) б)
Рис.2.13 |
Включение в цепь ротора активного сопротивления уменьшает ток в роторе и одновременно, как показано на рис. 2.13,б, увеличивает пусковой момент: при Rno > Rn
C > Rrn > R^ пусковой момент Мдо > М
пС > Мдв > МдА. Пуск осуществляют путем постепенного, обычно ступенчатого, уменьшения сопротивления Rп (жирные линии на рис. 2.13,б).
Максимальное значение сопротивления Rn и его ступени ( Rn
A, Rn
B, Rn
C,
R
nD ) выбирают так, чтобы пики тока не превышали допустимых и пусковой момент М
п был больше момента сопротивления М
ст. Однако эти двигатели более сложные и дорогие и их целесообразно применять только при тяжелых условиях пуска, когда необходим максимальный пусковой момент и мала мощность питающей сети.
Более современным способом пуска двигателя с контактными кольцами, основанным на изменении добавочного активного сопротивления в цепи ротора, является и м п у л ь с н ы й способ (рис. 2.14,а),

Пусковое сопротивление Rn подсоединяют последовательно к обмотке ротора через неуправляемый выпрямитель В. Периодическое подключение R
n производится силовым тиристором Т. Если тиристор Т включен, его сопротивление практически равно нулю, т.е. R
n шунтируется. Если тиристор Т отключен, его сопротивление существенно больше сопротивления R
n и можно считать, что цепь ротора по тиристору разомкнута, а замкнута через сопротивление Rn. Это можно представить как подключение к цепи ротора некоторого пускового сопротивления, среднее значение которого изменяется при изменении относительной продолжительности s включения тиристора: R^
cp = Rn (1- s ) (рис.2.14.б), где s = Іи /Ти.
Относительная продолжительность может изменяться от I до 0, соответственно, R^
cp - от 0 до Rn. Семейство механических характеристик при различной скважности будет иметь такой же вид, что и при обычном реостатном пуске (см. рис. 2.13,6), причем характеристике R^ = 0 соответствует s =1, характеристике R
nD = Яп соответствует s =0.
Преимущества рассмотренного импульсного способа по сравнению с обычным реостатным заключается прежде всего в том, что пуск может быть плавным и что способ удобен для реализации автоматического пуска.
Реверсирование двигателя. Изменение направления вращения ротора осуществляется изменением направления вращения поля статора. Для этого достаточно поменять местами выводы двух любых фаз.
Торможение двигателя. Для быстрой остановки двигателя могут применяться различные способы электрического торможения: рекуперативное, торможение противовключением и динамическое торможение.
Рекуперативное торможение происходит при работе асинхронной машины в режиме генератора параллельно с сетью, т.е. при ю
2 > ш
1 (см. рис. 2.9,б). На практике этот режим встречается в основном при переходе с высших угловыхскоростей на низшие, например, при изменении числа пар полюсов или частоты напряжения питания.
Торможение противовключением происходит в том случае, когда магнитное поле статора вращается в одном направлении, а ротор в противоположном. При этом угловая скорость ротора и создаваемый двигателем момент имеют противоположные знаки. Основным способом перевода работающего двигателя в этот режим является переключение любых двух фаз статора. При этом изменяется направление вращения магнитного поля и двигатель переходит из точки А (рис.2.15,а; характеристика I) в точку В (характеристика2).

Электромагнитный момент М
эм изменяет знак, т.е. становится тормозным, и угловая скорость ротора, продолжающего по инерции вращаться в прежнем направлении, быстро уменьшается. Если в точке С двигатель отключить от сети, ротор остановится. В противном случае произойдет реверсирование двигателя - ротор начнет вращаться в противоположном направлении и перейдет в установившийся режим в точке D.
Реверсирование или торможение противовключением асинхронных двигателей с контактными кольцами средней и большой мощности осуществляется с одновременным подключением к цепи ротора дополнительного активного сопротивления с целью ограничения чрезмерно больших токов.
Динамическое торможение осуществляется отключением обмотки статора от сети переменного тока и подключением к сети постоянного тока
(рис.2.15, б; ключ К
1 - разомкнут, К
2 - замкнут). Возникает неподвижное поле статора, которое наводит ЭДС и токи во вращающемся роторе. В результате взаимодействия этих токов с полем статора создается тормозной момент. Механические характеристики в режиме динамического торможения расположены во II квадранте (кривые 2 и 3 на рис.2.15,в) и похожи на механическую характеристику в режиме двигателя (кривая I). В отличие от режима двигателя максимальный момент наступает при тем большей угловой скорости ротора чем больше активное сопротивление ротора. В момент переключения питания двигатель переходит из точки А характеристики I в точку B характеристики 2, электромагнитный момент меняет знак и начинается интенсивное динамическое торможение, заканчивающееся в точке 0.
У двигателей с контактными кольцами в момент переключения в цепь ротора включается добавочное активное сопротивление Я
д для повышения начального тормозного момента (переход в точку С ) и снижения токов.
§ 2.6. Регулирование угловой скорости трехфазных асинхронных
двигателей
Трехфазные асинхронные двигатели используют в основном в приводах, не требующих широкого регулирования угловой скорости ротора. Однако в последнее время расширяется применение этих дешевых и надежных двигателей и в регулируемом электроприводе, в том числе в станках с числовым программным управлением. Основные способы регулирования угловой скорости ротора основаны на изменении скорости поля за счет изменения частоты напряжения питания или числа полюсов, т. к.
©2=(1-s)® i=(1-s)(2n fi/рм). (2.32)
Регулирование возможно также за счет изменения амплитуды напряжения питания, а у двигателей с контактными кольцами - изменения добавочного сопротивления в цепи ротора.
Регулирование переключением числа полюсов. Изменение числа пар полюсов р
м позволяет дискретно регулировать ю
2. Для реализации этого способа требуется либо укладывать на статоре несколько обмоток с различным рм, либо выполнять одну обмотку из секций, выведенных на коммутатор. Переключая секции, можно получать различное число полюсов обмотки. В обоих случаях возрастают габариты, масса и стоимость, усложняется конструкция многоскоростных двигателей по сравнению с нормальными. Основным недостатком способа регулирования является ступенчатый характер изменения угловой скорости, число ступеней скорости не превышает 3 ^ 4. Диапазон регулирования не превышает D = 4:1. Способ применяется только у двигателей с коротко
замкнутым ротором, у которых число полюсов ротора автоматически становится равным числу полюсов обмотки статора.
Регулирование изменением частоты напряжения питания
(частотное управление). У трехфазных асинхронных двигателей наиболее перспективным способом плавного регулирования является изменение частоты напряжения питания f (см. 2.32).При этом следует иметь ввиду, что для наилучшего использования двигателя изменение частоты должно сопровождаться изменением амплитуды напряжения питания. Объясняется это тем, что в соответствии с (1.5) при неизменной амплитуде напряжения и регулировании частоты изменяется магнитный поток машины O
m=Ui/(4,44f'|W
1.
:;^). Уменьшение f вызовет увеличение Ф
т, что может привести к насыщению магнитопровода, резкому возрастанию намагничивающего тока и перегреву как стали, так и обмоток статора. Увеличение f
1 приводит к уменьшению Ф
т, что при Мст=сопб1; в соответствии с (2.24) вызовет рост тока в роторе и, соответственно, перегрев ротора при недоиспользовании стали.
Закон изменения напряжения зависит от изменения частоты питания и характера нагрузки. Если статический момент нагрузки Мс
т не зависит от скорости, то необходимо при регулировании частоты f
1 так изменять напряжение U
1, чтобы
U
1 /f
1 = const. (2.33)
Если же статический момент нагрузки обратно пропорционален скорости и мощность нагрузки М
стю
2 = const, то соотношение U
1 и f
1 должно иметь следующий вид: U
1/(f
1)
1/2=const.
На рис. 2.16 приведено семейство механических характеристик при изменении частоты и амплитуды напряжения в соответствии с выражением (2.33).
 |
|
Рис.2.16 |
Как видно, с изменением частоты напряжения питания ( f
1a>f
1b
>f
1c ) при неизменном моменте Мном угловая скорость ротора ( ю
2а > ю
2ь > ю
2с ) изменяется в широком диапазоне практически пропорционально частоте.
С уменьшением частоты критическая угловая скорость уменьшается, максимальный момент в области высоких и средних частот остается неизменным, а в области малых частот несколько уменьшается. При этом в широком диапазоне сохраняется перегрузочная способность двигателя Мтах / Мном.
Частотный способ позволяет устанавливать угловую скорость выше и ниже номинальной. Увеличение угловой скорости допускается (в основном из условий механической прочности) в 1,5-2 раза больше номинальной. Нижний предел скорости ограничен тем, что технически сложно получить источники питания с низкой частотой, а также добиться достаточно равномерного вращения ротора двигателя. В разомкнутом приводе частотный способ управления позволяет изменять угловую скорость в диапазоне D = (20 - 30):1; в замкнутом приводе диапазон может быть существенно расширен с помощью обратных связей по скорости, току и напряжению.
Препятствием для широкого внедрения частотного способа является сложность и весьма высокая стоимость полупроводниковых преобразователей частоты. Схема и алгоритмы управления таким приводом получаются более сложными, чем приводом постоянного тока, так как управлять приходится сразу двумя взаимосвязанными величинами: частотой напряжения и магнитным потоком - при существенно нелинейных характеристиках.
Однако асинхронные двигатели с короткозамкнутым ротором благодаря отсутствию скользящего контакта являются более надежными и требуют меньше ухода в эксплуатации, чем коллекторные двигатели постоянного тока. При одинаковой мощности их стоимость в несколько раз меньше. Поэтому создание регулируемых асинхронных приводов с частотным управлением в целом ряде случаев является перспективным.
Регулирование изменением напряжения питания. В принципе такое регулирование возможно, однако используется очень редко. Объясняется это тем, что при малом S
Rp, характерном для двигателей обычного исполнения, диапазон регулирования ш
1 - ю
2кр очень узок.
Регулирование изменением сопротивления в цепи ротора.
Реостатный и импульсный способы регулирования, основанные на изменении добавочного активного сопротивления реостата Я
д, включаемого в цепь ротора двигателя с контактными кольцами, реализуются практически по тем же схемам, что и соответствующие способы пуска (см. § 2.5, рис. 2.13 и 2.14 ). Снижение жесткости механических характеристик при увеличении активного сопротивления в цепи ротора ограничивает диапазон регулирования до D = (2 - 3):1. Существенным недостатком являются также значительные потери мощности в цепи ротора, т.к. в процессе регулирования сильно растет скольжение.
§2.7. Исполнительные асинхронные микродвигатели. Конструкция и
принцип управления.
Исполнительными называются электрические двигатели, преобразующие электрический сигнал в пропорциональную ему угловую (линейную) скорость ротора.
Основные требования, предъявляемые к исполнительным двигателям: линейность механических характеристик и обеспечение устойчивой работы во всем рабочем диапазоне скоростей; линейность регулировочных характеристик и широкий диапазон регулирования угловой скорости (регулировочная характеристика - это зависимость угловой скорости от электрического сигнала управления); отсутствие самохода (явление самохода состоит в том, что двигатель развивает вращающий момент и его ротор вращается при отсутствии сигнала управления); высокое быстродействие.
Кроме этого, к исполнительным двигателям предъявляется ряд требований, зависящих от области применения.
В качестве исполнительных асинхронных микродвигателей в большинстве случаев используют двухфазные микродвигатели.
Конструкция. На статоре исполнительных микродвигателей имеются две обмотки, сдвинутые в пространстве на угол у; у большинства двигателей электрический угол у
э = 90°. Число витков в обмотках возбуждения В и управления У в общем случае разное.
По сравнению с трехфазными асинхронными двигателями общего применения исполнительные асинхронные микродвигатели имеют повышенное активное сопротивление ротора. Это связано с требованием устойчивой работы исполнительных микродвигателей во всем рабочем диапазоне угловых скоростей (s = 0^1). Поскольку устойчивая работа асинхронных машин практически при всех видах нагрузки обеспечивается только на участке s=0^s
RF, активное сопротивление ротора у исполнительного асинхронного микродвигателя должно быть таким, чтобы обеспечивалось условие s
RF > 1. У реальных исполнительных асинхронных микродвигателей обычно s
RF = 2^4.
В зависимости от конструкции ротора различают три основных типа исполнительных асинхронных микродвигателей: с короткозамкнутым ротором типа “беличья клетка”, с полым немагнитным и полым ферромагнитным роторами; из них в схемах автоматики используются в основном двигатели первых двух типов.
Асинхронные двухфазные микромашины с ротором типа “беличья клетка”, используемые в качестве исполнительных микродвигателей, имеют такую же конструкцию, как трехфазный асинхронный двигатель с аналогичным ротором (см. §2.2). Современная технология позволяет изготавливать такие микродвигатели с очень небольшим воздушным зазором порядка 0,03 ^0,05 мм и, соответственно, высокими энергетическими показателями.
гд^-лччч^ч^з:
К1чч?Ч?чччч?^.ч^ччч?л,'
Рис. 2.17
В асинхронном микродвигателе с полым немагнитным ротором (рис. 2.17) внешний статор 1, закрепленный в корпусе 8, ничем не отличается от статора обычного асинхронного микродвигателя. В пазах магнитопровода статора располагают две обмотки 2 - возбуждения и управления, сдвинутые в пространстве на 90°. Внутренний статор 4, который набирают из листов электротехнической стали на цилиндрическом выступе 5 одного из подшипниковых щитов, служит для уменьшения магнитного сопротивления на пути основного магнитного потока, проходящего через воздушный зазор.
В микромашинах мощностью в единицы ватт и менее обмотки возбуждения и управления часто размещают в пазах внутреннего статора.
В воздушном зазоре между внешним и внутренним статорами находится полый ротор 3, выполненный в виде тонкостенного стакана из немагнитного материала, чаще всего из сплавов алюминия. Дно ротора жестко укрепляют на валу 6, который вращается в подшипниках 7, расположенных в подшипниковых щитах. Толщина стенок ротора в зависимости от мощности двигателя колеблется в пределах 0,2 - 1 мм. В полом немагнитном роторе наводятся ЭДС и протекают токи: в результате взаимодействия этих токов с полем статора возникает электромагнитный момент двигателя.
Полый ротор имеет очень малую массу и, следовательно, незначительный момент инерции. В отличие от роторов других типов обладает незначительным индуктивным сопротивлением рассеяния, что повышает линейность характеристик двигателя. Гладкая цилиндрическая поверхность полого немагнитного ротора способствует снижению уровня шумов, создаваемых двигателем. Отсутствие радиальных сил притяжения полого немагнитного ротора к статору и уменьшение массы ротора, соответственно момента трения в подшипниках, обеспечивают уменьшение напряжения трогания.
Недостатком микромашин с полым немагнитным ротором является большой немагнитный зазор, состоящий из двух зазоров: между внешним статором и ротором и ротором и внутренним статором (каждый до 0,25 мм), а также из немагнитной стенки самого ротора. Из-за большого немагнитного зазора между внешним и внутренним статорами, который составляет 0,5^ 1,5 мм, эти машины имеют значительный намагничивающий ток (0,8^0,9 номинального) и низкий коэффициент мощности. Большой намагничивающий ток приводит к большим электрическим потерям в обмотках двигателя и значительно снижает его КПД. У исполнительных микродвигателей с полым немагнитным ротором мощностью в несколько десятков ватт по сравнению с исполнительными микродвигателями той же мощности с ротором типа “беличьей клетки” при частоте 50 Гц КПД снижается с40^50% до 20^35%, а габариты и масса увеличиваются в 1,2^2 раза. При увеличении номинальной частоты напряжения питания до 400^1000 Гц габариты и масса на единицу полезной мощности уменьшаются и эти показатели у указанных типов микродвигателей сближаются. Объясняется это относительным уменьшением активного сопротивления обмоток статора (по сравнению с индуктивным) и электрических потерь в них.
Микромашины с полым немагнитным ротором менее надежны при высоких температурах, вибрации и ударах, так как вероятность деформации полого немагнитного ротора в указанных условиях выше, чем ротора типа “беличьей клетки”. В каждом конкретном случае выбор конструктивного типа двигателя должен определяться с учетом основных требований и условий применения.
Форма поля. Вращающееся магнитное поле статора, создаваемое в результате взаимодействия МДС обмоток В и У является круговым (рис. 2.18,а) при соблюдении условий (2.4), т.е. у
э = 90°, в = 90° и I
yw
y^ = Ів^Уэф.
 |
|
Рис. 2.18 |
Нарушение любого из этих условий приводит к тому, что суммарное магнитное поле Ф при вращении не остается постоянным и конец вектора магнитного потока описывает не окружность, а эллипс. Можно показать, что эллиптическое поле создает меньший вращающий момент, чем круговое такой же амплитуды. Для этого условно представим эллиптическое поле в виде суммы двух неравных по значению круговых полей, вращающихся с синхронной угловой скоростью в противоположные стороны (рис. 2.18,б). Круговое поле Ф
пр, вращающееся в одном направлении с эллиптическим, называют прямым; второе поле Ф
обр именуют обратным. Простые геометрические построения показывают, что такая замена справедлива, если сумма Ф
пр и Ф
обр будет равна большой полуоси эллипса, а разность - малой полуоси эллипса. Скольжение ротора относительно поля обратной последовательности
— ш
х -ш
2
^обр
—&1
2 (2.
34)
Прямое поле создает вращающий момент двигателя, а обратное -тормозящий момент. С увеличением эллиптичности поля за счет изменения углов в и у или уменьшения МДС одной из обмоток статора прямая составляющая поля и момента убывает, а обратная составляющая растет. Уменьшение результирующего момента при неизменном моменте нагрузки приводит к снижению угловой скорости ротора.
Когда полностью не выполняется хотя бы одно из условий кругового поля, т.е. в = 0, или у = 0, или І
в = 0, или І
у = 0, поле статора становится пульсирующим и двигатель не развивает вращающего момента при неподвижном роторе. Для объяснения этого явления заменим пульсирующее магнитное поле Ф (рис. 2.18,в) двумя полями Ф
пр и Ф
обр, вращающимися в противоположные стороны с синхронной угловой скоростью и имеющими амплитуды, равные половине амплитуды пульсирующего поля.
При неподвижном роторе оба поля вращаются относительно ротора с синхронной угловой скоростью. Каждый из них наводит в обмотке ротора токи, равные по амплитуде вследствие равенства полей и скольжений. Возникают равные по модулю вращающие моменты, направление которых противоположно, как и направление полей. Результирующий момент равен нулю, и ротор во вращение прийти не может.
Картина несколько меняется, если поле статора становится пульсирующим при вращении ротора. В этом случае двигатель продолжает развивать электромагнитный момент, так как скольжение относительно прямого и обратного полей уже неодинаковое. Этот момент будет положительным (вращающим) или отрицательным (тормозным) в зависимости от параметров двигателя. При Б
кр< 1 электромагнитный момент пульсирующего поля положительный практически во всем рабочем диапазоне скоростей. Поле статора в исполнительном асинхронном микродвигателе становится пульсирующим при снятии сигнала управления. Следовательно, ротор двигателя может продолжать вращаться при снятом сигнале управления. Это явление, называемое параметрическим самоходом, недопустимо для исполнительных двигателей.
При Б
кр > 1 электромагнитный момент пульсирующего поля отрицательный во всем рабочем диапазоне скоростей, и при снятии сигнала управления ротор обязательно останавливается. Это является второй причиной изготовления исполнительных асинхронных микродвигателей c Б
кр > 1.
§ 2.8. Способы управления и характеристики исполнительных асинхронных микродвигателей
Для управления исполнительными асинхронными микродвигателями применяют в основном несимметричные способы, т.е. основанные на изменении формы вращающегося магнитного поля: амплитудный (изменение U
y), фазовый (изменение в) и пространственный (изменение у, применяется редко). Возможна комбинация этих способов.
Способы управления. При амплитудном способе управления (рис. 2.19) обмотку возбуждения В подключают к сети переменного тока с номинальным напряжением U
1. На обмотку управления У подается сигнал - напряжение управления U
y, сдвинутое по фазе относительно U
1 на угол 90° с помощью фазосдвигающего устройства ФСУ. Управление угловой скоростью ротора осуществляется изменением с помощью потенциометра П амплитуды напряжения управления при неизменной его фазе.
 |
|
Рис. 2.19 |
Равенство МДС обмоток возбуждения и управления имеет место при равенстве напряжений, приведенных к одному числу витков. Если приведение осуществить к обмотке возбуждения, то равенство МДС эквивалентно условию U'
y=U
1, где и'
у=К
ти
у, а коэффициент трансформации обмоток статора К
т = w
b^ / Wyэф. При равенстве приведенных напряжений эффективный коэффициент сигнала а
Эф=и
,у/и
1=аК
т равен 1 и поле статора круговое
(а = U
y / U
1 - коэффициент сигнала при амплитудном управлении). С изменением напряжения управления эффективный коэффициент сигнала становится отличным от единицы, а поле - эллиптическим. При а
эф = 0 поле статора пульсирующее.
При фазовом способе управления (рис. 2.19) на обмотку управления У подается номинальное напряжение. Номинальным называют такое напряжение управления, которое соответствует равенству U'
y = U
1. Управление угловой скоростью ротора осуществляется изменением с помощью ФСУ фазы напряжения управления (угла Р). За коэффициент
сигнала принимают sinp. При sinp = 1 поле статора круговое; при (1 > sinp > 0) - эллиптическое, при sinp = 0 - пульсирующее.
Амплитудно - фазовый способ управления с конденсатором в цепи возбуждения (конденсаторный) (рис. 2.20,а). Обмотку управления У подключают к сети переменного тока через регулятор напряжения; напряжение управления U
y совпадает по фазе с напряжением сети U
1. Сдвиг по фазе тока, а, следовательно, и напряжения на обмотке возбуждения по отношению к обмотке управления осуществляется конденсатором, который включают последовательно с обмоткой возбуждения. Управление двигателем производится за счет изменения амплитуды напряжения управления.

Причем, несмотря на то, что фаза напряжения управления не изменяется (совпадает с фазой напряжения сети), при изменении напряжения управления наблюдается одновременное изменение как амплитуды, так и фазы напряжения на обмотке возбуждения и
в (рис. 2.20, б). Такое же явление наблюдается и при изменении угловой скорости ротора за счет изменения момента нагрузки при неизменном напряжении управления. Это объясняется тем, что напряжение возбуждения и
в равно
• •
геометрической разности напряжений сети и на конденсаторе Ue = U1 -
Uc.
Напряжение на конденсаторе U
c при изменении напряжения управления или угловой скорости ротора меняется вследствие изменения тока в цепи возбуждения, который является функцией скольжения и
коэффициента сигнала: Uc = - j Ів х
с. Следовательно, меняется по амплитуде и фазе напряжение на обмотке возбуждения и
в.
Поскольку круговое поле существует в двигателе только при
соблюдении условия ив = j иу', при заданном значении емкости конденсатора в цепи возбуждения круговое поле возможно только при строго определенном коэффициенте сигнала а
0 = U
yo /Ui и определенном значении скольжения s. Конкретные значения напряжения управления и емкости конденсатора, обеспечивающие круговое поле при заданном скольжении, определяют расчетным или экспериментальным путем. В паспортах исполнительных асинхронных микродвигателей эти данные наиболее часто указывают для режима пуска (s=1).
Реверсирование исполнительных асинхронных микродвигателей при амплитудном и конденсаторном способах управления производят изменением фазы напряжения управления на 180°, например, путем переключения выводов обмотки У. При фазовом и пространственном способах управления реверсирование осуществляют изменением знака угла в или у. В любом из рассмотренных случаев поле статора начинает вращаться в противоположную сторону и изменяется направление вращения ротора.
Электромагнитный момент. Форма магнитного поля в двигателе в общем случае эллиптическая, причем эллиптичность вызвана асимметрией МДС обмоток В и У. Поскольку в большинстве исполнительных двигателей угол между обмотками у,=90°, то можно перейти от асимметрии МДС к асимметрии приведенных токов в обмотках В и У статора двигателя. Это значит, что угол сдвига в векторов I
B и I
y во времени отличен от 90°, а значения модулей, приведенных к числу витков обмотки возбуждения, не равны: I
y'= І
у/К
т. ф І
в.
Для того чтобы при определении токов и вращающего момента в исполнительном микродвигателе можно было использовать методику расчета асинхронных двигателей с симметричным питанием, приведенную в §2.4, воспользуемся методом симметричных составляющих в применении к двухфазным системам.
Согласно этому методу несимметричная двухфазная система векторов токов І
в и І
у неодинаковой длины, сдвинутых между собой на произвольный угол, может быть разложена на две симметричные системы, состоящие каждая из двух векторов, одинаковых по длине и сдвинутых между собой на угол 90°. Система векторов прямой последовательности (І
впр, Г
упр) имеет то же чередование фаз, что и исходная система. Система
векторов обратной последовательности (І
вобр, Г
уобр) имеет
противоположное чередование фаз. При этом
(2.35)
1 упр
J 1 впр;
1 уобр J
1 вобр
Эквивалентность исходной и полученной систем имеет место, если
— і . і
вобр в
' 4- I ' == I '
упр^
L уобр
L у
(2.36)
впр
Составляем схемы замещения двигателя, необходимые для определения токов в обмотках статора и ротора. При одинаковой схеме обмоток параметры схем замещения фаз В и У в приведенной форме практически равны и схему замещения достаточно составить только для фазы В.

Схемы замещения составляют по аналогии со схемой замещения трехфазного асинхронного двигателя (рис. 2.10), но раздельно для прямой (рис. 2.21,а) и обратной (рис. 2.21,б) последовательностей, поскольку поля прямой и обратной последовательностей вращаются относительно ротора с разной скоростью, что определяет выражения для скольжения и значения полных сопротивлений в схемах замещения.
На рис. 2.21: R
e1 и Х
в1 - активное и индуктивное сопротивления статорной обмотки; R'
e2 и Х'
в2 - активное и индуктивное сопротивления ротора, приведенные к числу фаз статора и числу витков обмотки В; R
Em и Х
вт - активное и индуктивное сопротивления фазы, соответствующие магнитному потоку взаимоиндукции статора и ротора; ^
впр и ^
вобр - полное
сопротивление схемы замещения для прямой и обратной последовательностей.
Если в цепь обмотки возбуждения двигателя включают последовательно фазосдвигающий элемент, то его сопротивление Z,^ должно быть введено в статорный участок схемы замещения фазы В, т.е. последовательно с Zbi. При этом методика расчета токов и вращающего момента не изменяется, однако расчетные уравнения несколько усложняются.
Напряжения, подаваемые на обмотки возбуждения и управления, уравновешиваются падениями напряжения от токов обеих последовательностей на сопротивлениях соответствующих схем замещения, т.е.
(2.37)
U 1
1 впр (
Zb^ +
Zф
) +
1 вобр
(Zвобр +
Zф
),
I'
Z
1 упр_^л
' 7
уобр^±вобр
пр
Решая систему (2.37) с учетом (2.35), получаем выражения симметричных составляющих токов фаз І
впр и І
вобр и по схемам замещения (см. рис. 2.21) определяем симметричные составляющие тока ротора І
в2пр и
Ів2обр.
Для определения электромагнитных моментов прямой М
пр и обратной Мобр последовательностей исполнительного асинхронного микродвигателя можно воспользоваться выражением (2.21), так как вращающиеся магнитные поля прямой и обратной последовательностей образованы симметричными системами токов :
ЗД 2
ПР )
2 R’
B 2
co
1s
Мпр
(2.38)
Мобр
_
2(^В2ОБР
) RB2
со
1(2 - s)
Результирующий электромагнитный момент равен разности моментов прямой и обратной последовательностей:
Мэм = Мпр - М
о6р. (2.39)
Статические характеристики. Механические и регулировочные характеристики исполнительных асинхронных микродвигателей в относительных единицах представлены на рис. 2.22 (скорость в

Рис.2.22а
относительных единицах ю* = ю
2 / ю
1 = 1 - s; момент в относительных единицах М* = М
эм / М
по, где М
п0 - пусковой момент при круговом поле). В качестве примера характеристики построены для амплитудного способа управления.
Анализ механических характеристик по уравнениям момента (2.38) -(2.39) показывает, что при всех способах управления характеристики нелинейны и их жесткость уменьшается с уменьшением сигнала управления (см. рис. 2.22а). Повышению линейности механических характеристик способствует увеличение активного сопротивления ротора. Однако, как известно, увеличение активного сопротивления ротора ухудшает энергетические показатели двигателя. У исполнительных асинхронных микродвигателей, работающих в системах автоматики, допускается нелинейность порядка 10%.
Наиболее линейными являются характеристики при фазовом способе управления; причем жесткость характеристик мало меняется при изменении коэффициента сигнала. Наименее линейны механические характеристики при амплитудно - фазовом способе управления. При всех способах управления механические характеристики обеспечивают устойчивость работы во всем диапазоне двигательного режима и с уменьшением коэффициента сигнала смещаются в сторону меньших моментов и скоростей.
 |
|
Рис. 2.22б |
Анализ регулировочных характеристик показывает ( рис. 2.22б), что при всех способах управления они в общем нелинейны. Наибольшая нелинейность - в режиме холостого хода и зависит в основном от тех же параметров двигателя, что и нелинейность механических характеристик. Ближе всех к линейным характеристики микродвигателей с фазовым способом управления, затем следует амплитудный и амплитудно - фазовый способы. Наибольшую линейность и крутизну характеристики имеют в начальной части, поэтому для обеспечения линейности регулирования двигатель должен работать при малых сигналах и относительных скоростях. Уменьшение относительных скоростей наиболее эффективно достигается повышением рабочей частоты напряжения питания двигателя, так как при этом пропорционально повышается синхронная угловая скорость. При нелинейности механических характеристик меньше 10% степень нелинейности регулировочной характеристики холостого хода не превышает 20% в диапазоне изменения коэффициента сигнала 0 ^ 0.7
У исполнительных асинхронных микродвигателей в режиме реального х.х. (М
н*=0) регулировочная характеристика выходит не из нуля (пунктирная линия на рис.2.22б). Объясняется это тем, что ротор начнет вращаться только при сигнале, называемом сигналом трогания атр, при котором электромагнитный момент двигателя превысит момент трения покоя на валу двигателя. Значение сигнала трогания, определяющего зону нечувствительности исполнительного микродвигателя, не должно превышать 0,05.
Рассмотренные способы управления обеспечивают весьма широкий диапазон регулирования. У исполнительных микродвигателей с полым
немагнитным ротором он достигает D=(100^200):1. Пусковой момент при всех способах управления прямо пропорционален сигналу управления и в относительных единицах равен эффективному коэффициенту сигнала.
Анализ мощности управления P
y=U
yI
ycos9
y показывает, что при амплитудном и амплитудно-фазовом способах управления она примерно одинаковая и с уменьшением сигнала уменьшается примерно пропорционально квадрату коэффициента сигнала. При фазовом способе управления эта мощность с уменьшением коэффициента сигнала практически не меняется. В этом отношении амплитудный и амплитуднофазовый способы управления имеют существенное преимущество перед фазовым. КПД исполнительных асинхронных микродвигателей несколько ниже, чем у одинаковых по мощности асинхронных микродвигателей общего применения, из-за повышенного активного сопротивления ротора.
Среди схем питания исполнительных асинхронных микродвигателей наибольшей простотой отличается схема конденсаторного микродвигателя, так как она не имеет сложных устройств для сдвига по фазе напряжений управления и возбуждения.
Таким образом, амплитудно-фазовый способ управления с конденсатором в цепи возбуждения двигателя имеет ряд преимуществ; поэтому его широко применяют в схемах автоматики. Однако в каждом конкретном случае выбор способа управления должен определяться условиями работы системы, звеном которой является двигатель, и требованиями, предъявляемыми к этому звену.
Динамические характеристики. Динамические характеристики представляют собой временные зависимости и показатели, определяющие качество работы исполнительных двигателей в переходных режимах: при пуске, торможении, реверсировании и регулировании скорости. К числу важнейших динамических показателей относится быстродействие -способность развивать заданную угловую скорость ротора с минимальным запаздыванием во времени по отношению к соответствующему изменению электрического сигнала.
У исполнительных микродвигателей время электромагнитных переходных процессов, связанных с индуктивностью обмоток, значительно меньше времени электромеханических переходных процессов, связанных с моментом инерции ротора. Поэтому на начальном этапе анализа динамических характеристик электромагнитными переходными процессами можно пренебречь и провести этот анализ на основе уравнения равновесия моментов (2.29). Для упрощения анализа принимаем Мс
т=0, тогда
Jd ф
эм
dt
( 2.40)
Однако механические характеристики исполнительных асинхронных микродвигателей нелинейные и для получения передаточной функции двигателя необходима их линеаризация.

На рис. 2.23 сплошной линией показана механическая
характеристика при произвольном коэффициенте сигнала а(при фазовом управлении вместо а можно подставить sinP).
Если угловая скорость изменяется во всем диапазоне от нуля до скорости холостого хода, то линеаризацию можно провести посредством секущей АС (штрих-пунктирная линия на рис. 2.23). Это наиболее грубый способ линеаризации, но он позволяет получить качественно наглядные и достаточно точные результаты. При более точном анализе может применяться кусочно-линейная аппроксимация механической
характеристики.
При выбранном нами способе линеаризации механическая характеристика представляет собой прямую линию, проходящую через точки скорости холостого хода а
оа и пускового момента М
па, соответствующие произвольному значению коэффициента сигнала. Уравнение этой прямой линии при данном сигнале а имеет вид
-)¦
М = М
п (1 -
эм п а \
оа
(2.41)
Подставим М
эм из (2.41) в (2.40) и получаем дифференциальное уравнение движение ротора:
(2.42)
d а ,
т а
dt M
(J ——) + а = а .
о а
Решая уравнение(2.42)при нулевых начальных условиях (t=0, ш=0), получаем переходную функцию двигателя:
ш = Шоа (1-е*
м). (2.43)

График переходной функции ш = f(t) изображен на рис. 2.24, а. Уравнение экспоненты (2.43) и указанный график характеризуют, в частности, переходный процесс при пуске двигателя. Величина т
м входящая в выражение (2.43) - это электромеханическая постоянная времени
двигателя, равная коэффициенту при производной от угловой скорости в уравнении (2.42):
(2.44)
Поскольку выражение (2.43) является уравнением экспоненты, то т
м - это время, в течение которого двигатель после подачи сигнала управления развивает угловую скорость, равную 0,632 от установившегося значения (это определение соответствует ГОСТу).
Физически величину т
м можно представить как время, в течение которого ротор ненагруженного двигателя разгоняется от неподвижного состояния до скорости идеального холостого хода при неизменном вращающем моменте, равном пусковому. Практическое время разгона, за которое ротор достигает скорости 0,95-0,98 от заданной, составляет (3^4)
тм.
Уравнение (2.42) в операторной форме имеет вид:
Тмрю(р}+ <a(p)= Ю„а . (2.45)
Если за входную величину принять напряжение управления Uy, а за выходную - угловую скорость ротора ю, то выражение передаточной функции, полученное из (2.45), будет иметь вид
ю( p
) =
K *
Uy ( Р ) Тм Р + 1
(2.46)
Как видно, исполнительный двигатель является апериодическим звеном. Коэффициент передачи двигателя К
дв=ю
оа/и
у представляет собой отношение приращения угловой скорости ротора к приращению напряжения управления в установившемся режиме; при линейной регулировочной характеристике К
дв равен ее крутизне.
Если за выходную величину двигателя принять угол ? поворота ротора (ю(р)=р?(р)), то двигатель является инерционным интегрирующим звеном с передаточной функцией:
?) = K .
U (p)
pTJ> +
1)'
(2.47)
Переходная функция ?=К(1) имеет вид
?= Кдв Uy[t-T
M (1-е
-,/™)].
(2.48)
График переходной функции показан на рис. 2.24, б.
Основные меры по уменьшению т
м и увеличению быстродействия исполнительных асинхронных микродвигателей следующие: снижение момента инерции ротора, например, применение полого немагнитного ротора; увеличение пускового момента за счет совершенствования конструкции.
Сравнение по быстродействию исполнительных асинхронных микродвигателей с полым немагнитным ротором и с ротором типа "беличьей клетки" наиболее целесообразно проводить при одинаковых мощностях на валу, уровне суммарных потерь на единицу поверхности корпуса, характеризующем нагрев двигателя, нелинейности характеристик и частоте питающей сети.
Соотношение т
м рассматриваемых микродвигателей при одинаковой угловой скорости прямо пропорционально отношению моментов инерции ротора и обратно пропорционально отношению пусковых моментов. Момент инерции полого немагнитного ротора значительно меньше, чем ротора типа "беличьей клетки" того же диаметра и длины. Однако у роторов типа "беличьей клетки" допустимое по механической прочности отношение длины к диаметру больше, чем у тонкостенных полых немагнитных роторов, консольно закрепленных на валу. Значит, при неизменной поверхности, необходимый для проведения основного магнитного потока, диаметр ротора типа "беличьей клетки" и его момент инерции могут быть уменьшены за счет увеличения длины.
Пусковой момент при отсутствии насыщения магнитопровода и прочих равных условиях может быть получен больше у микродвигателей с ротором типа "беличьей клетки" за счет меньшего воздушного зазора.
Указанные факторы определяют сравнительные параметры быстродействия исполнительных асинхронных микродвигателей. В диапазоне мощностей в единицы и доли ватт (примерно до 5 Вт) при относительно небольших габаритах и массе ротора у двигателей с ротором типа "беличьей клетки" можно получить меньшую постоянную времени т
м чем при полом немагнитном роторе. При частоте 400 Гц в указанном диапазоне мощностей у микродвигателей с полым немагнитным ротором т
м лежит в пределах 15^90 мс, а с ротором типа "беличьей клетки" - в пределах 10^40 мс. Среди двигателей большей мощности преимущество по быстродействию в основном имеют двигатели с полым немагнитным ротором. При частоте 400 Гц у двигателей мощностью 10^50 Вт с полым немагнитным ротором значение т
м лежит в пределах 15^ 100 мс, а с ротором типа "беличьей клетки" - в пределах 50^300 мс.
§ 2.9. Асинхронные тахогенераторы
Тахогенераторами называют электрические микромашины, работающие в генераторном режиме и служащие для преобразования угловой скорости в пропорциональный электрический сигнал. Выходная характеристика тахогенератора, т.е. зависимость между входной величиной - угловой скоростью вала ю
2 и выходной - напряжением и
вых выходной обмотки, имеет вид
d?2
U вых
Ктг
ю2
Ктг dt
,
(2.50)
где ?
2- угол поворота ротора тахогенератора;
Ктг - коэффициент передачи, равный крутизне тахогенератора ;
Srr Аи
вых/Лю 2.
Как видно, тахогенератор можно использовать для электромеханического дифференцирования, если функцию задавать в виде угла поворота ротора.
Основные требования, предъявляемые к тахогенераторам, состоят в следующем: минимальная погрешность отображения функциональной зависимости, под которой понимают отклонение выходной характеристики от линейной зависимости; минимальное изменение фазы выходной ЭДС при изменении угловой скорости ротора; максимальная крутизна.
К тахогенераторам предъявляют также требования, зависящие от условий применения.
Конструкция и принцип действия. Конструкция асинхронных тахогенераторов аналогична конструкции исполнительных асинхронных двигателей с полым немагнитным ротором (рис. 2.17).
Рассмотрим принцип работы асинхронного тахогенератора. Для этого воспользуемся эквивалентной схемой, представленной на рис. 2.25. На этой схеме для упрощения качественного анализа полый ротор заменен конечным числом проводников, замкнутых накоротко в торцах. Для наглядности дальнейших пояснений проводники расположены в два слоя, хотя в действительности проводящий слой ротора единый. К обмотке статора В подводится неизменное по амплитуде и частоте напряжение возбуждения U
1. Вторая обмотка статора Г является генераторной ,и с её выводов снимается выходной сигнал Е
г. В общем случае обмотка замкнута

При неподвижном роторе тахогенератор можно рассматривать как трансформатор, первичной обмоткой которого служит обмотка статора В, а вторичной - обмотка ротора. Магнитный поток, созданный МДС обмотки В, пронизывает ротор и наводит в его проводниках трансформаторную ЭДС Е
т (условно показана на внутреннем слое проводников). Поскольку ротор короткозамкнутый, по этим проводникам течет ток І
т и создается МДС, направление которой определяется правилом Ленца. Следовательно, по оси В тахогенератора устанавливается результирующий магнитный поток Ф
в, пульсирующий с частотой f
1 напряжения возбуждения. При этом ЭДС Е
г в генераторной обмотке равна нулю, так как вектор магнитного потока Ф
в перпендикулярен оси этой обмотки.
Приведем ротор тахогенератора во вращение с угловой скоростью ю
2. Ввиду симметрии ротора процесс наведения в нем трансформаторной ЭДС Е
т не изменится. По оси В, как и в предыдущим случае, пульсирует магнитный поток Ф
в, который в первом приближении можно считать не зависящим от ю
2. Проводники ротора вращаются в поле Ф
в и в них наводится ЭДС вращения Е
вр (условно показана на внешнем слое проводников). При Ф
в =const ЭДС Е
вр является линейной функцией угловой скорости ротора. Под действием ЭДС вращения в обмотке ротора течет ток І
вр и создается магнитный поток Ф
г. Направление потока Ф
г, определенное по мнемоническому правилу буравчика, совпадает с осью генераторной обмотки Г. Поскольку ток І
вр прямо пропорционален ЭДС Е
вр, то созданный этим током магнитный поток Ф
г прямо пропорционален угловой скорости ротора ю
2. Частота пульсации Ф
г совпадает с частотой напряжения возбуждения. Магнитный поток Ф
г индуцирует в генераторной обмотке статора трансформаторную ЭДС Е
г= 4,441іФ^
г.
эф, где Wj-.эф - число эффективных витков обмотки Г.
Поскольку поток Фг прямо пропорционален угловой скорости ротора, то при принятом допущении о постоянстве потока Фв функция Е
г=1(ю
2) является линейной. Частота выходной ЭДС Е
г совпадает с частотой 1 потока и напряжения возбуждения и не зависит от угловой скорости ротора ю
2.
В действительности, магнитный поток Фв несколько уменьшается при увеличении угловой скорости ротора ю
2, т.к. возрастает размагничивающее действие токов ротора. Выходная характеристика тахогенератора Е
г=:Р(ю
2) отклоняется от линейной зависимости, т.е. появляется погрешность отображения функциональной зависимости.
Если замкнуть обмотку Г на нагрузочное сопротивление Z
n, то по ней потечет ток І
г. Поток Ф
г будет создаваться геометрической суммой МДС ротора и обмотки статора Г, что скажется на амплитуде ЭДС Е
г. Кроме того, само выходное напряжение и
г будет определяться геометрической разностью ЭДС Ег и падением напряжения на собственном
сопротивлении обмотки Z^ т.е. U
г= Е
г -Ij-Zr. Указанные физические процессы обуславливают вид выходной характеристики тахогенератора при работе с нагрузкой.
Выходная характеристика. Поскольку асинхронный тахогенератор по своей конструкции не отличается от рассмотренного ранее асинхронного исполнительного двигателя, то, учитывая принцип обратимости электрических машин, можно определить выходное напряжение U
r, пользуясь изложенной в §2.7 методикой анализа двухфазного микродвигателя.
Фазе Г асинхронного тахогенератора соответствуют схемы замещения фазы В исполнительного двигателя (см. рис. 2.21), если в цепь статора включить сопротивление Z
n, а выходные выводы замкнуть накоротко. Схемы замещения фазы В тахогенератора совпадают со схемами замещения фазы В двигателя. Все параметры фазы Г тахогенератора соответствуют параметрам фазы У двигателя. Тогда
Л _ jU 1 к
тю.
U г _ А
2 Г, ,
A- ю* B
(2.51)
где А и В - комплексные коэффициенты, зависящие от параметров схемы замещения и нагрузки.
Если пренебречь индуктивным сопротивлением ротора, которое у асинхронных тахогенераторов, особенно с полым немагнитным ротором, значительно меньше активного, то
f гу2 ^!2
Z C
-
B1 -- B2 + 2 Z C + R
+
-- B1 -- B2 + C
B2
-- B1 -- B2
-- B2
B2
B2
-- V
Z
B _ -
B1
=-BL + 1
Z©
V--’ У
(2.52)
где C
B2 _ (Z + R
B2)/ Z (обозначения по рис. 2.21)
Относительная угловая скорость ротора ю*=ю
2/ю
1=1-в, где ю
1-синхронная скорость (для тахогенератора эта скорость условная).
Выражение (2.51) является уравнением выходной характеристики асинхронного тахогенератора. Наличие в знаменателе этого выражения квадрата относительной скорости ю*
2 свидетельствует о нелинейности выходной характеристики и изменении фазы выходного напряжения тахогенератора (скоростные погрешности).
Для идеального тахогенератора, не имеющего скоростной погрешности, уравнение выходной характеристики получают из выражения 2.51 с учетом ю*
2В=0:
jU, KQJ
A
Лг
г.ид.
(2.53)
Выходные характеристики, построенные по уравнению (2.51) для режимов
х.х. и активной нагрузки, представлены на рис. 2.26а, где
U
r*=U
r/Ui (пунктиром показаны идеальные линейные характеристики).

Изменение выходного напряжения и
г и крутизны 8
тг под влиянием значения и характера нагрузочного сопротивления определяются изменением комплексных коэффициентов А и В в выражении (2.51) и графически представлено на рис. 2.266.

Физическое обоснование зависимостей и
г, 8
тг= :Г(Хнс,ХнтД) уже было дано при рассмотрении принципа работы тахогенератора. Здесь только следует отметить, что в случае емкостной нагрузки при определенном значении Х
нс в цепи выходной обмотки имеет место резонанс напряжений. У современных асинхронных тахогенераторов крутизна при 2
н>>2
г находится в диапазоне (1-10) мВ/(об/мин).
Погрешности и классы точности. Принципиальной погрешностью преобразования угловой скорости в напряжение у асинхронных тахогенераторов является рассмотренная выше скоростная составляющая погрешности отображения функциональной зависимости и изменения фазы.
Расчетная скоростная составляющая погрешности отображения функциональной зависимости тахогенератора определяется разностью
модулей напряжений согласно (2.51) и (2.53), а изменение фазы -разностью аргументов этих напряжений.
Как следует из (2.51) и (2.52), погрешность отображения уменьшается при увеличении активного сопротивления ротора, так как снижается значение коэффициента В. Однако нужно иметь в виду, что с увеличением активного сопротивления ротора уменьшается крутизна тахогенератора, так как возрастает значение коэффициента А.
Тахогенераторы целесообразно выбирать с такой синхронной скоростью, при которой относительное значение измеряемой скорости не будет превышать 0,2-0,3. В данном случае член ю*
2 мал, и выходная характеристика на рабочем участке ю*=0-0,3 практически линейна. Поэтому часто тахогенераторы выполняют для работы от сети переменного тока с повышенной частотой. Увеличение частоты пропорционально повышает синхронную скорость и соответственно понижает относительное значение измеряемой угловой скорости.
Среди эксплуатационных погрешностей асинхронного тахогенератора наиболее существенной является температурная погрешность. В основном она обусловлена нагревом ротора, активное сопротивление которого в несколько раз больше активного сопротивления статорных обмоток. Увеличение активного сопротивления ротора при нагреве приводит к изменению амплитуды и фазы выходного напряжения, т.е. приводит к появлению температурной погрешности. Чтобы не допустить данные явления, ротор прецизионных асинхронных тахогенераторов выполняют из материалов с низким значением температурного коэффициента сопротивления и применяют температурную компенсацию.
Технологические погрешности изготовления асинхронного тахогенератора приводят к появлению остаточной ЭДС - ЭДС в генераторной обмотке при неподвижном роторе. Эта ЭДС имеет две составляющие: постоянную, не зависящую от углового положения ротора, и переменную, которая изменяется в зависимости от угла поворота ротора.
Постоянная составляющая возникает в результате неточности сдвига статорных обмоток на угол 90
0 и, соответственно, появления трансформаторной связи между ними, и неоднородности магнитных свойств магнитопровода статора. Электрическая асимметрия ротора, заключающаяся в неодинаковой толщине его стенок или неточности его цилиндрической формы, вызывает образование переменной составляющей остаточной ЭДС.
Под влиянием остаточной ЭДС, не совпадающей по фазе с выходной ЭДС Е
г, происходит смещение выходной характеристики из начала координат, появляются дополнительная составляющая погрешности отображения и изменения фазы, особенно при малых угловых скоростях ротора.
Асинхронные тахогенераторы имеют несколько классов точности в зависимости от уровня погрешностей. При определении погрешности отображения функциональной зависимости эталонная характеристика представляет собой прямую, проведенную в установленном диапазоне угловой скорости; у тахогенераторов различного класса погрешность составляет от 0,025 до 1 %. Остаточная ЭДС определяется как наибольшая остаточная ЭДС по основной гармонике в пределах оборота ротора, отнесенная к крутизне тахогенератора; у тахогенераторов различных классов приведенное значение остаточной ЭДС составляет (15-50) об/мин.
Существенными достоинствами асинхронных тахогенераторов являются высокая надежность,благодаря отсутствию скользящих контактов, и простота конструкции. К недостаткам асинхронных тахогенераторов следует отнести принципиальную нелинейность выходной характеристики и невысокую крутизну.
ГЛАВА 3. СИНХРОННЫЕ МАШИНЫ
Синхронной называется машина переменного тока, у которой угловая скорость ротора равна (или кратна) угловой скорости магнитного поля, созданного обмотками переменного тока. Угловая скорость ротора синхронной машины в синхронном режиме находится в постоянном соотношении с частотой сети переменного тока и не зависит от нагрузки машины. В синхронных машинах обмотка, в которой индуктируется основная ЭДС, называется обмоткой якоря. Часть машины, создающая поток возбуждения, называется индуктором. В большинстве синхронных машин обмотка якоря расположена на статоре, а ротор является индуктором. Синхронные машины большой и средней мощности выпускаются с трехфазной обмоткой якоря и используются, в основном, в качестве генераторов переменного тока на электрических станциях. Синхронные машины малой мощности и микромашины выпускаются как с трехфазной, так и с двухфазной обмоткой якоря и используются, в основном, в качестве двигателей.
Синхронные машины большой и средней мощности и большинство машин малой мощности имеют электромагнитное возбуждение, т.е. на роторе расположена обмотка возбуждения постоянного тока. Однако по мере совершенствования магнитотвердых материалов для возбуждения синхронных машин все шире применяются постоянные магниты. Синхронные микродвигатели в зависимости от способа возбуждения, связанного с особенностями конструкции ротора, подразделяют на три типа: с постоянными магнитами (активного типа), реактивные и гистерезисные.
Синхронные двигатели в соответствии с их режимом работы можно разделить на три группы:
1) двигатели непрерывного вращения;
2) двигатели непрерывного вращения с пониженной угловой скоростью ротора;
3) шаговые двигатели.
§ 3.1. Синхронная машина с электромагнитным возбуждением
В данном параграфе рассматривается конструкция и принцип работы синхронной машины с электромагнитным возбуждением.
Конструкция. Статоры таких машин ничем не отличаются от статоров асинхронных машин с двух- или трехфазной распределенной обмоткой. Роторы могут быть явнополюсные и неявнополюсные.

На рис.3.І,а представлена конструктивная схема двухполюсной ( р
м = I) синхронной машины с явнополюсным ротором. В корпусе I расположен магнитопровод статора 2 с распределенной двух- или трехфазной обмоткой 3. Магнитопровод ротора 4 изготовлен из листовой или монолитной электротехнической стали. На нем расположена сосредоточенная обмотка возбуждения 5, которая подключается к источнику постоянного тока через два контактных кольца 6, установленных на валу 9, и щетки 7. В специальных пазах полюсных наконечников ротора уложена короткозамкнутая обмотка типа "беличьей клетки" 8, являющаяся в режиме двигателя пусковой обмоткой. Характерным для явнополюсных синхронных машин является неравенство магнитных сопротивлений по продольной d и поперечной q осям машины ( R
Md^R
Mq). В машинах с большой угловой скоростью по соображениям механической прочности ротор делается неявнополюсным (рис.3.І,б); у таких машин R
Md=R
Mq.
Принцип действия синхронного генератора. По обмотке возбуждения индуктора пропускается постоянный ток, она создает постоянный ток возбуждения Ф
0 - основной поток машины (рис.3.1,а). Индуктор приводится во вращение внешним устройством с угловой скоростью ю
2. Вращающийся с ротором поток Ф
0 наводит в обмотках
фаз якоря ЭДС вращения Е
0, изменяющиеся с частотой
f=0
2 Р^л . (3.1)
При синусоидальном законе распределения индукции в воздушном зазоре закон изменения ЭДС во времени также будет синусоидальным. Сдвиг фазных ЭДС во времени при трехфазной обмотке якоря равен 120
о. При подключении на выводы якоря приемника электрической энергии машина начинает отдавать энергию переменного тока. В этом случае по обмотке якоря начинает протекать трехфазная система токов и возникает вращающееся поле якоря Ф
1. Угловая скорость этого поля в соответствии с (3.1) равна 0
1=2nf/pM
=ro2, т.е. поля якоря и индуктора вращаются с одинаковой угловой скоростью. В результате взаимодействия полей создается электромагнитный момент, направленный встречно внешнему. Следовательно, происходит потребление механической энергии от внешнего источника.

Обмотка статора подключается к трехфазной сети переменного тока с частотой f и обмотка создает магнитное поле Ф
1, вращающееся с угловой скоростью ro
1=2nf/P
M (рис.3.2, а). Индуктор создает постоянный поток возбуждения Ф
о. При вращении ротора с постоянной скоростью поля статора и ротора неподвижны друг относительно друга и в результате их взаимодействия создается электромагнитный момент М
эм. Если ротор отстает по углу от поля статора, то момент направлен в сторону вращения ротора (является вращающим) и с вала двигателя снимается механическая энергия.
Более наглядно процесс возникновения электромагнитного момента можно рассмотреть на статической модели (рис.3.2, б,в), в которой статор и ротор заменены неподвижными постоянными магнитами. В положении, изображенном на рис.3.2,б, угол между полями статора и ротора равен нулю, силы притяжения разноименных полюсов статора и ротора F
3m не имеют тангенциальной составляющей и М
эм = 0. Ротор находится в положении устойчивого равновесия. Повернем ротор относительно полюсов статора на угол у (рис. 3.2, в). У сил притяжения F
3M появляются тангенциальные составляющие F
t ,и создается момент М
эм, стремящийся вернуть ротор в исходное положение. Нетрудно заметить, что максимальное значение момента будет при у = 90
0. При у= 180° момент М
эм снова равен нулю, но это положение неустойчивого равновесия ротора, т.к. между одноименными полюсами статора и ротора действуют силы отталкивания. Достаточно малейшего отклонения угла у от 180
0 и эти силы вернут ротор в положение у = 0 (понятия положений устойчивого и неустойчивого положений ротора соответствуют аналогичным понятиям у обычного физического маятника).
Следовательно, в первом приближении можно считать, что в синхронном двигателе с электромагнитным возбуждением электромагнитный момент изменяется по закону М
эм=М
махвіп у. Этот момент М
эм часто называют синхронизирующим. При числе пар полюсов р
м> I вместо угла у должен быть взят электрический угол у
э= р
м у. В соответствии с уравнением равновесия моментов в установившемся режиме М
эм= М
ст= Мо+М
н. Значит, чем больше момент нагрузки М
н на валу двигателя, тем на больший угол отстает ротор от поля статора. Значение момента сопротивления М
ст не должно превышать М
мах, т.к. в противном случае равновесие моментов не устанавливается при любых значениях у в диапазоне от 0
0 до 360
0 и ротор выходит из синхронизма - начинает отставать от поля статора по угловой скорости. Поэтому М
мах называют моментом выхода из синхронизма. Практически рабочий диапазон моментов выбирается таким образом, чтобы у не превышал 20
0 -30
0.
Пуск синхронных двигателей. У синхронных двигателей без пусковой обмотки среднее значение пускового момента, развиваемого двигателем, равно нулю. Объясняется это тем, что при ш
2^ш
1 угол у=(ш
1-ш
2)р
м1, т.е. при ю
2=0 изменяется во времени с частотой ro=2nf. С этой частотой изменяется и мгновенное значение электромагнитного момента, направление момента дважды изменяется за период оборота поля статора. Ротор, обладающий значительным моментом инерции, за полпериода не может успеть разогнаться до синхронной скорости: под действием пульсирующего момента он вибрирует в положении устойчивого равновесия и во вращение не приходит. Поэтому для пуска синхронных двигателей применяются специальные способы, наиболее распространенным из которых является асинхронный способ пуска (рис.3.З, а ).

Для реализации этого способа на роторе двигателя, как уже отмечалось, располагается короткозамкнутая пусковая обмотка П. В начальный период пуска (переключатель Пер в положении I) обмотка возбуждения В ротора отключена от источника и замкнута на сопротивление с целью снятия перенапряжении и создания дополнительного пускового момента. Двигатель работает как обычный асинхронный двигатель, и под действием асинхронного пускового момента ротор начинает разгоняться (рис.3.3, б). При достижении угловой скорости ю
2~0.95юі переключатель переводится в положение II. Появляется поток возбуждения индуктора, и создается синхронный электромагнитный момент. Частота пульсаций этого момента (<л
1-Ю2)р
м близка к собственной частоте ротора, ротор начинает раскачиваться и в процессе качаний входит в синхронизм. Наибольший момент сопротивления, при котором ротор еще
втягивается в синхронизм, называется моментом входа. Реверсирование двигателя осуществляется изменением направления вращения магнитного поля.
Векторная диаграмма синхронного двигателя. Взаимодействие магнитных потоков индуктора Ф
о и якоря Фі приводит к возникновению в возбужденной машине результирующего магнитного поля. Воздействие МДС якоря на результирующее магнитное поле называется реакцией якоря.
Анализ работы синхронных машин обычно проводят на основе теории двух реакций. При этом поток якоря Ф
1 раскладывается на две составляющие: продольный поток Ф^, совпадающий по направлению с продольной осью индуктора, и поперечный поток Ф
1ф перпендикулярный к Фы. Потоки Ф
1а и Фц считают существующими независимо друг от друга и от потока возбуждения Ф
о. Потоки Фо, Фы, Ф
1ч и поток рассеяния статора Ф
а1 наводят в обмотке якоря ЭДС Е
о, E
1d, E
1q, и Б
ст1, отстающие по фазе на 90° от соответствующих потоков.
Уравнение равновесия ЭДС и напряжений на фазу обмотки статора составляют по второму закону Кирхгофа в форме, аналогичной уравнению для первичной обмотки трансформатора:
U1= — Ёо- Ёы—Ёц — Ё
СТ1+ЁЯ
Ь (3.2)
где U
1 - фазное напряжение питания статора; R
1 -активное сопротивление обмотки фазы статора.
Потоки Ф
1а и Ф
1ч создаются соответствующими составляющими тока якоря I
d и I
q, причем
ЭДС от потоков якоря и потока рассеяния можно представить как падения напряжения на соответствующих индуктивных сопротивлениях
где X
1d и X
1q - индуктивные сопротивления продольной и поперечной реакции якоря; x1 - индуктивное сопротивление рассеяния.
Преобразуем выражение (3.2) с учетом (3.4) и (3.З) и получаем
где X
d= X
1d+x
1 и X
q=X
q1+x
1 - синхронные индуктивные сопротивления машины по продольной и поперечной осям.
В неявнополюсных машинах обычно X
d=X
q, в явнополюсных X
d^X
q, т.к. не равны магнитные сопротивления R
wd и R
Hq. Величины X
d и X
q определяются как индуктивные сопротивления обмотки фазы статора при совпадении её оси с соответствующей остью ротора.
Пренебрегая активным сопротивлением обмотки статора, на основании уравнения (3.5) можно построить упрощенную векторную диаграмму синхронного двигателя. Для перевозбужденного двигателя, у которого по обмотке статора протекает опережающий активно-емкостной ток, т.е. угол между основной ЭДС и током статора ф<0, векторная диаграмма изображена на рис. 3.4.

Электромагнитный момент синхронного двигателя. Активная мощность, потребляемая симметричным двигателем из сети, равна
Pl=miUiIiCOS9, (3.6)
где m
1 - число фаз двигателя; ф - сдвиг по фазе между U
1 и I
1.
Электромагнитная мощность, передаваемая со статора на ротор магнитным полем и соответствующая электромагнитному моменту ,Р
эм=Р
1-АР
э1 - АР
м, где ДР
э1 - электрические потери в обмотке статора; ДР
м -магнитные потери.
Если пренебречь потерями ДР
э1 и ДР
м, то
Рэм-Р1=т1и1І1 cos ф. (3.7)
На векторной диаграмме (рис.3.4), построенной при тех же допущениях, угол ф = ф - ?, где ? - сдвиг по фазе между U
1 и E
0. С учетом этого выражение (3.7) преобразуется к виду
Р
эм= m
1U
1I
1cos ф cos ? + m
1U
1I
1 sin ф sin ?. (3.8)
В соответствии с той же векторной диаграммой можно записать
U
1 cos ? = Е
о - I
dX
d = Е
о- I
1 sin фХ^ (3.9)
U^M = I
qX
q = I
1 cosф X
q.
На основании (3.9) записываем выражения для Ii sin у и Ii cos у, подставляем их в (3.8) и, поскольку электромагнитный момент синхронного режима М
эм = Р
эм/юь получаем
M^m^U^/o^sM +m
1(U
12/2<B
1)(1/X
q - 1/X
d)sin2?. (3.10)
В соответствии с принципом обратимости электрических машин выражение (3.10) справедливо и для режима генератора, с той лишь разницей, что знаки ? и M
эм будут отрицательными.
Как видно из (3.10), электромагнитный момент имеет две составляющие. Первая (основная синхронная) определяется взаимодействием полей статора и ротора:
М
с = m
1 ( U^/^Xd )sin ? (3.11)
и имеет место только в возбужденной машине (при Е
0 ^0).
Вторая (реактивная) составляющая возникает и в невозбужденной машине, но только при условии X
d^X
q:
Mp = m1(U12/2wO(1/Xq - 1/Xd) sin 2?. (3.12)
В возбужденных синхронных двигателях реактивная составляющая обычно значительно меньше основной, при принятых допущениях ( R
1 =0) временной угол ? (рис.3.4) между U
1 и Е
о примерно равен пространственному углу между результирующим потоком машины и осью полюсов ротора, поскольку сдвиг по фазе между Ф
0 и Ео равен 90°, а между результирующим потоком и U
1 примерно равен 90°. Значение этого угла, как следует из принципа работы двигателя, зависит от момента нагрузки, поэтому угол ? называют часто углом нагрузки.
Угловая характеристика двигателя (зависимость М
эм от ? ), соответствующая уравнению (3.10), изображена на рис. 3.5 сплошной линией.

Эта характеристика построена как сумма основной (штрих-пунктирная кривая М
с) и реактивной (пунктирная кривая М
р ) составляющих для случая X
d> X
q. При X
d < X
q знак момента M
p меняется на противоположный (см.(3.12)), что сказывается и на результирующем моменте М
эм.
Рабочие характеристики двигателя. Вид рабочих характеристик синхронного двигателя в значительной мере зависит от степени
возбуждения машины, т.е. соотношения Е
0/и
1. Изменение степени
возбуждения путем регулирования тока возбуждения І
в при неизменном моменте и напряжении питания U
1 существенно сказывается на значении и фазе тока статора І
1 (рис. 3.6,а - U- образная характеристика).

Номинальный ток возбуждения І
в,
ном обеспечивает создание результирующего магнитного потока машины, соответствующего приложенному напряжению Ui, без участия МДС статора. При этом ток статора активный ( ф = 0) и коэффициент мощности двигателя соБф = 1. При недовозбуждении ( І
в < І
в,
ном)в токе статора появляется отстающая (индуктивная, ф> 0) составляющая, подмагничивающая машину. При перевозбуждении ( І
в > І
в,
ном ) в токе статора появляется опережающая (емкостная, ф< 0 ) составляющая, размагничивающая машину. Это делает целесообразным использовать синхронные двигатели в режиме перевозбуждения для повышения соб ф систем энергопитания путем компенсации опережающими реактивными токами синхронных двигателей отстающих реактивных токов асинхронных двигателей или трансформаторов, включенных в ту же систему. Следует отметить, что
конкретное значение І
в, при котором ф=0, тем больше, чем больше момент двигателя. На рис. 3.6,б показаны основные рабочие характеристики синхронного двигателя в режиме перевозбуждения. Если І
в выбран таким, чтобы при Р
2 = Р
ном коэффициент мощности cos ф был близок к максимальному (с ф < О ), то при уменьшении нагрузки в статоре растет реактивная опережающая составляющая и cos ф уменьшается. Кривая КПД П имеет вид, характерный для всех электрических машин. Потребляемая мощность Рі растет практически пропорционально Р
2. Ток Іі растет нелинейно за счет большой реактивной составляющей, особенно при холостом ходе.
§3.2. Синхронные микродвигатели непрерывного вращения
Синхронные микродвигатели с электромагнитным возбуждением имеют наиболее оптимальные рабочие и пусковые характеристики. Однако такие микродвигатели практически не применяют в автоматических устройствах малой мощности, где энергетические характеристики не являются решающими. Основные причины заключаются в следующем: для работы микродвигателя необходимо два источника питания: переменного и постоянного тока; скользящий контакт кольца-щетки снижает надежность микродвигателя и усложняет его конструкцию; требуется специальная пусковая схема, отключающая на период разгона обмотку возбуждения ротора от источника постоянного тока и подключающая ее к внешнему сопротивлению. Поэтому в качестве синхронных электромашинных устройств автоматики наибольшее распространение получили бесконтактные синхронные микродвигатели: с постоянными магнитами на роторе (активного типа), реактивные, гистерезисные.
Статор этих микродвигателей не отличается от статоров обычных синхронных и асинхронных машин. Магнитопровод статора выполняют наборным из листовой электротехнической стали. В пазах статора располагают трехфазную или двухфазную распределенную обмотку, создающую вращающееся магнитное поле.
 |
|
Рис. 3.7 |
На рис.3.7,а,б в качестве примера показаны схемы включения трехфазного двигателя с постоянными магнитами в трехфазную сеть переменного тока и двухфазного гистерезисного двигателя в однофазную сеть переменного тока (конденсаторная схема).
Общим свойством рассматриваемых в настоящем параграфе микродвигателей является равенство в синхронном режиме угловой скорости ротора и первой гармоники магнитного поля статора.
Микродвигатели с постоянными магнитами (активного типа). В рассматриваемых микродвигателях наиболее распространенными являются роторы с радиальным (рис.3.8, а) и аксиальным (рис.3.8, б) смещением постоянных магнитов и пусковой обмотки.

Рис. 3.8
Ротор состоит из двух основных частей: постоянных магнитов 1, создающих магнитный поток возбуждения и обеспечивающих возникновение электромагнитного момента в синхронном режиме; короткозамкнутой пусковой обмотки типа "беличьей клетки" 2, уложенной в магнитопровод из электротехнической стали 3.
Принцип действия двигателей с постоянными магнитами такой же, как и двигателей с электромагнитным возбуждением (см. § 3.1). В реальных синхронных микродвигателях с постоянными магнитами магнитная система несимметрична и X
d^X
q. Это наглядно выражено у микродвигателей радиальной конструкции (рис.3.8, а), в которых магнитное сопротивление ротора по продольной оси d больше, чем по поперечной q, вследствие малой магнитной проницаемости материала постоянных магнитов I по сравнению с электротехнической сталью 2. Электромагнитный момент в первом приближении может быть рассчитан по формуле (3.10). Однако, поскольку активное сопротивление обмотки статора синхронных микродвигателей соизмеримо с индуктивными сопротивлениями, в реальных микродвигателях зависимость М
эм=іг(?) более сложная.
У синхронных микродвигателей с постоянными магнитами применяют асинхронный метод пуска. Особенность пуска заключается в том, что он происходит при наличии потока возбуждения ротора. Этот поток при вращении ротора создает тормозной момент, направленный встречно к асинхронному вращающему моменту. На результирующей зависимости момента двигателя от угловой скорости ротора появляются провалы, которые могут ухудшить условия пуска.
|
Реактивные микродвигатели. Синхронными реактивными называют микродвигатели с переменным вдоль окружности воздушного зазора магнитным сопротивлением (Xd^Xq) и невозбужденным ротором. Вращающееся магнитное поле таких микродвигателей создается только МДС статора. |
 |
Изменение магнитного сопротивления вдоль окружности воздушного зазора двигателя осуществляют путем выбора соответствующей формы и материала ротора. Роторы, схематически изображенные на рис.3.9, а, б, отличаются от обычного короткозамкнутого ротора типа "беличьей клетки" асинхронного микродвигателя только наличием внешних открытых (явнополюсная конструкция, рис.3.9, а) или внутренних (неявнополюсная конструкция, рис.3.9, б) пазов, которые обеспечивают изменение магнитного сопротивления вдоль окружности. У гладкого цилиндрического ротора, показанного на рис.3.9, в, такой же эффект получают за счет выполнения его из двух разнородных по магнитным свойствам материалам (алюминия 1 и стали 2).
Принцип действия реактивного микродвигателя рассмотрим на статической модели (рис.3.10).
 |
|
Рис. 3.10 |
Вращающееся поле статора заменим постоянным магнитом. Угол между осью потока (МДС) статора и продольной осью d ротора обозначим
Y.
На рис.3.10, а показано положение ротора в том случае, когда угол у=0. Магнитные силовые линии проходят по пути наименьшего сопротивления и не деформируются. Электромагнитные силы притяжения ротора к статору F^ имеют только нормальные составляющие, и электромагнитный момент равен нулю. Ротор занимает положение устойчивого равновесия. Если под действием внешнего момента М
вн принудительно повернуть ротор на угол у по часовой стрелке (рис.3.10, б), то магнитные силовые линии изогнутся. У сил появляются тангенциальные составляющие F
t, которые создают реактивный вращающий момент М
р, стремящийся повернуть ротор в исходное положение.
При повороте ротора на 900 (рис.3.10, в) силовые линии поля будут вновь проходить прямолинейно, не изгибаясь, но магнитное сопротивление в этом случае больше, чем при у=0. Реактивный момент М
р=0, т.е. ротор находится в равновесии. Однако, если при у=0 равновесие устойчивое, то при у=90° равновесие неустойчивое, и достаточно малейшего возмущения, чтобы ротор вернулся в устойчивое положение максимальной магнитной проводимости, показанное на рис.3.10,а или отличающееся от него на 1800. Положение устойчивого равновесия ротора будет при у=0, 1800 и неустойчивого - при у= 900, 2700.
Таким образом, реактивный момент изменяется по закону М
р=М
р max sin2y и всегда стремится установить ротор в положение минимального магнитного сопротивления на пути потока двигателя. Обмотки статора двигателя создают вращающееся магнитное поле, и ротор увлекается реактивным моментом вслед за полем и вращается со скоростью поля.
Рассмотрение конструкции и принципа действия синхронного реактивного двигателя позволяет сделать вывод о том, что он является частным случаем явнополюсного синхронного двигателя с электромагнитным возбуждением при U
B=0. Основным электромагнитным моментом реактивного двигателя является дополнительная реактивная составляющая двигателя с возбужденным ротором, определяемая выражением (3.12) (у»?). Угловая характеристика М
р=і"(?), соответствующая уравнению (3.12), изображена на рис.3.5 пунктирной линией. Угловая характеристика микродвигателей, имеющих относительно большое активное сопротивление обмотки статора, несколько отличается от рассчитанной по (3.12).
У синхронных реактивных микродвигателей применяют асинхронный метод пуска. В качестве пусковой служит либо обмотка типа "беличьей клетки" (рис.3.9, а, б), либо алюминиевые части ротора (рис. 3.9,в), играющие роль обмотки.
Гистерезисные микродвигатели. Синхронным гистерезисным называют микродвигатель, вращающий момент которого возникает за счет явления гистерезиса при перемагничивании ротора.
Ротор гистерезисного двигателя делают сборным (рис.3.11):

Рис 3.11
1 - кольцо из магнитотвердого материала, 2 - немагнитная или магнитная втулка, 3 - вал. Для изготовления кольца I используются материалы типа викаллой и альни с широкой петлей намагничивания (гистерезиса). Потери мощности на гистерезис в кольце определяют значение гистерезисного вращающегося момента.
Для выяснения природы гистерезисного момента рассмотрим физические процессы, происходящие в магнитотвердом роторе при асинхронном вращении, когда материал ротора непрерывно перемагничивается (рис.3.12).

В момент времени, когда вектор вращающегося магнитного потока статора Фі занимает положение А (рис.3,12, а), элементарные магнитики ротора ориентируются вдоль этого потока. Силы взаимодействия элементарных магнитиков, например М
1 и М
2, с потоком статора F^ направлены вдоль этого потока и вращающего момента не создают. При перемещении потока статора в положение Б в том же направлении будут поворачиваться и элементарные магнитики (рис.3.12,б). Однако вследствие явления гистерезиса магнитики не повернутся на тот же угол, что и поток Ф
1, и между ними образуется угол у - угол гистерезисного запаздывания. При этом силы Р
эм будут иметь тангенциальные составляющие F
t, которые и создадут гистерезисный момент асинхронного режима М
га. Возникающий гистерезисный момент пропорционален модулю векторного произведения пространственных векторов магнитного потока ротора Ф
2, образованного элементарными магнитиками, и МДС статора F
1, которые вращаются с одинаковой скоростью со сдвигом на угол у
г :
Мга = К Fi Ф2 sinYr, (3.I3)
где К - конструктивный коэффициент.
Значения F
1 и Ф
2 при симметричном, например, трехфазном питании от угловой скорости ротора не зависят. Угол y
r также не зависит от угловой скорости ротора и определяется коэрцитивной силой материала ротора. Чем больше коэрцитивная сила, тем сильнее должно изменяться внешнее поле, прежде чем начнет изменяться направление поля элементарных магнитиков. Соответственно не зависит от угловой скорости ротора и значение вращающего гистерезисного момента М
га.
Механическая характеристика идеального микродвигателя M
ra=f(©
2) показана на рис.3.13 сплошной линией; как видно, характеристика абсолютно жесткая.

У реальных гистерезисных микродвигателей механическая характеристика не абсолютно жесткая. Объясняется это либо появлением дополнительных составляющих момента в двигателе, например асинхронного момента М
вихр взаимодействия вихревых токов в роторе с потоком Ф
ь либо изменением самого момента М
га в результате изменения формы поля Фі, например при конденсаторной схеме включения. Зависи-
мость результирующего электромагнитного момента М
эм для первого случая показана на рис.3.13 штрих-пунктирной линией.
В синхронном режиме магнитное поле статора и ротор вращаются с одинаковой угловой скоростью и перемагничивания материала ротора не происходит. Магнитный поток ротора Ф
2осг сохраняется вследствие остаточного магнетизма и вращается вместе с ротором с синхронной угловой скоростью.
Поток тем больше, чем выше значение остаточной индукции материала ротора. Микродвигатель работает как обычный синхронный микродвигатель с постоянными магнитами на роторе. Отличие только в том, что угол у отставания оси потока ротора, принимаемый за его продольную ось, от МДС статора не может превысить угла гистерезисного запаздывания у
г, так как в противном случае начинается перемагничивание ротора. Следовательно, наибольшее значение момента М
гс, развиваемое гистерезисным двигателем в синхронном режиме, равно М
га. При моменте сопротивления на валу, превышающем Мга, двигатель выходит из синхронизма. У гистерезисных микродвигателей угол у
г - обычно не превышает 200-250.
Увеличение гистерезисного момента возможно за счет выполнения ротора из материала с петлей намагничивания, имеющей наибольшие значения коэрцитивной силы и остаточной индукции. Идеальным был бы материал ротора с широкой прямоугольной петлей намагничивания, материалы типа викаллой и альни весьма близки к этому идеалу.
Режим работы гистерезисного двигателя зависит от значения и характера статического момента сопротивления М
сг на валу ротора (см. рис.3.13). Если во всем диапазоне угловой скорости ротора ©
2 от 0 до ©
1 момент сопротивления (пунктирная прямая I) меньше гистерезисного момента Мга, то двигатель работает в синхронном режиме (точка В). Ось потока ротора отстает от оси потока статора на угол у, при котором М
гс = Мсг. Если момент сопротивления меняется по прямой 2, то равновесие моментов наступит при угловой скорости ©
2А, соответствующей точке А, т.е. двигатель будет работать в асинхронном режиме (М
га = М
сг). Однако использование гистерезисных микродвигателей в асинхронном режиме неэкономично вследствие больших потерь на перемагничивание ротора, особенно при больших скольжениях.
Гистерезисные микродвигатели обладают рядом ценных качеств. Они развивают большой пусковой момент М
п = М
га (см. рис.3.13). Ротор двигателя входит в синхронизм плавно, без рывков благодаря практически постоянному значению гистерезисного момента весь период разгона. Потребляемый двигателем ток незначительно (на 20-30%) изменяется при изменении режима работы от пуска до холостого хода, что позволяет эффективно использовать гистерезисные двигатели в повторнократковременном режиме. Гистерезисные микродвигатели просты по конструкции и надежны в эксплуатации.
У синхронных микродвигателей регулирование угловой скорости ротора производится путем изменения синхронной скорости поля статора за счет регулирования частоты напряжения питания. При неизменной частоте напряжения средняя угловая скорость ротора сохраняется постоянной. Однако, мгновенная угловая скорость ротора может колебаться в пределах одного оборота относительно средней угловой скорости, этот процесс иногда называют качанием ротора синхронного двигателя. Для пояснения этого явления рассмотрим работу синхронного микродвигателя, ротор которого вращается с постоянной средней угловой скоростью Ю2=(0ъ при изменении момента сопротивления (рис. 3.14).

У всех синхронных микродвигателей электромагнитный момент М
эм является функцией угла у между осью потока статора и продольной осью ротора. При моменте сопротивления на валу М
ст.і продольная ось ротора смещена относительно оси потока статора Ф
1 на некоторый угол у
1, при котором М
эм=М
ст1. В случае уменьшения момента сопротивления (М
ст.
2<М
ст1) момент двигателя станет больше момента сопротивления, мгновенная угловая скорость ротора несколько возрастет (+Дш
2) и продольная ось ротора приблизится к оси потока статора - угол у уменьшается. Моменту сопротивления М
ст2 соответствует новое положение ротора у
2, при котором М
эм = М
ст2. Однако вследствие момента инерции ротор не займет сразу положение у
2, а проскочит его, и продольная ось ротора приблизится к оси статора на угол у
2' < у
2. При этом М
эм < М
ст2 и мгновенная угловая скорость ротора начнет уменьшаться ( -Дю
2), а угол у увеличивается вплоть до у
2"> у
2. Это значит, что ротор будет
некоторое время колебаться около углового положения у
2 и его мгновенная угловая скорость будет меняться. Так как ротор вращается не равномерно, то действительное угловое положение вала в данный момент времени отличается от расчетного, что может вызвать погрешность при работе двигателя в прецизионных преобразовательных устройствах. В общем случае неравномерность вращения ротора может вызываться как внешними факторами, так и переменными электромагнитными и механическими силами в самом двигателе.
Наиболее высокие энергетические показатели (КПД п и коэффициент мощности еоэф) и наименьшую массу на единицу номинальной мощности имеют микродвигатели с постоянными магнитами. При частоте напряжения питания 50 Гц в диапазоне мощностей 10^100 Вт П=40^80% (меньшие значения относятся к двигателям меньшей
мощности). Затем идут гистерезисные микродвигатели, режим которых соответствует работе синхронной машины с недовозбуждением, так как поток ротора является вторичным, наведенным магнитным потоком статора. При тех же условиях их п=30^50%. Наихудшие показатели имеют реактивные микродвигатели, у которых поток возбуждения ротора вообще отсутствует (п=20^40%). Следует отметить, что коэффициент мощности существенно зависит от схемы включения двигателя: при однофазной с конденсатором он, естественно, выше, чем при трехфазной.
Из рассмотренных синхронных микродвигателей наиболее простые по конструкции и технологии изготовления и сравнительно дешевые в производстве реактивные микродвигатели, которые выполняют из недорогих магнитомягких материалов.
§ 3.3. Синхронные микродвигатели непрерывного вращения с пониженной угловой скоростью ротора
Синхронные микродвигатели классического типа, рассмотренные в § 3.2, при стандартной частоте напряжения питания 50-1000 Гц развивают частоту вращения ротора порядка 1 тыс. об/мин и более, а в электрических микроприводах часто требуется частота вращения только в несколько единиц или десятков оборотов в минуту. Применение для снижения частоты вращения механических редукторов со столь значительным передаточным отношением усложняет систему микропривода, снижает общую надежность, повышает уровень звуковых шумов, габариты и массу. Кроме того, в условиях вакуума или высоких температур, надежность микродвигателей, имеющих быстро вращающиеся подшипники, резко падает.
В синхронных микродвигателях, рассматриваемых в настоящем параграфе, угловая скорость ротора не равна, а меньше угловой скорости поля статора в определенное число раз. При этом соотношение угловых скоростей в синхронном режиме не зависит от внешних факторов (момента нагрузки, напряжения и т.д.).
Микродвигатели с пониженной угловой скоростью ротора по системе возбуждения бывают в основном двух типов: реактивные - с
невозбужденным ротором; индукторные - с подмагничиванием ротора со стороны статора постоянным магнитным потоком.
Редукторные микродвигатели (субсинхронные). В редукторных микродвигателях осуществляется электромагнитное редуцирование угловой скорости ротора по отношению к угловой скорости первой гармоники поля статора. Это достигается путем использования в качестве рабочих не первой, а высших, зубцовых гармоник магнитного поля, которые усиливаются за счет определенной конфигурации поверхностей статора и ротора. Как отмечалось в § 2.2, число полюсов поля высшей пространственной гармоники пропорционально, а угловая скорость обратно пропорциональна ее порядку.
Особенность конструкции и принципа действия синхронных редукторных микродвигателей наиболее удобно рассмотреть на примере машины реактивного типа (рис.3.15).

Статор и ротор набирают из листов электротехнической стали. Статор С выполняется в виде кольца и имеет пазы на внутренней поверхности; ротор Р - в виде диска и имеет пазы на внешней поверхности. Числа зубцов статора Z
с и ротора Z
F различны; причем обычно Zp > Z^ На статоре укладывается обмотка с числом пар полюсов Р
м, предназначенная для питания от трехфазной или однофазной сети и создающая вращающееся магнитное поле.
Пусть в данный момент времени поток Ф
с занимает положение А и против статорных зубцов 1 и 4 находятся роторные зубцы 1' и 5'. Реактивный момент равен нулю, так как ротор обеспечивает наибольшую магнитную проводимость. При перемещении потока Ф
с в положение Б, т.е. на угол 360°/Z^ ротор под действием реактивного момента повернется на такой угол, чтобы магнитная проводимость снова стала наибольшей. Это наступит тогда, когда против зубцов статора 2 и 5 встанут зубцы ротора 2'
Ю2=Юі/Кред, (3.14)
где ш
1=2п//р
м, а коэффициент редуцирования угловой скорости Кред=2р/(2р^с).
Для рассмотренного случая (рис. 3.15) К
ред=4; у реальных двигателей число зубцов может достигать нескольких сотен, и К
ред существенно возрастает.
В реактивных редукторных микродвигателях соотношение чисел зубцов должно отвечать условию Z
p-Z
c=2p
м, т.е. Коэффициент
редуцирования возрастает с увеличением Z
F. Однако следует иметь в виду, что число зубцов, которое можно разместить на окружности определенного диаметра, ограничено минимальной по технологическим соображениям толщиной зубца.
Микродвигатели с катящимся ротором. В синхронных микродвигателях с катящимся ротором редуцирование угловой скорости ротора по отношению к угловой скорости магнитного поля объясняется тем, что ротор располагается эксцентрично в расточке статора и имеет возможность катиться вдоль окружности статора. Основной электромагнитный вращающий момент создается за счет сил одностороннего магнитного притяжения ротора к статору несимметричным вращающимся магнитным полем.
Несимметричное поле имеет один глобальный максимум в пределах окружности машины (кривая В 5 на рис. 3.16 ).
и 6', т.е. ротор повернется на угол (360°/Z
c - 360°/Z
p). Следовательно, угловая скорость ротора ю
2 меньше синхронной угловой скорости первой
If
360
\ c
360
раз,т.е.
гармоники поля статора ш
1 в

Электромагнитная сила притяжения /
эм, действующая на единицу поверхности ротора, пропорциональна квадрату индукции (соотношение
Максвелла). Следовательно, результирующая сила магнитного притяжения ротора к статору направлена вдоль максимума волны индукции В
8, т.е. по оси А результирующего вращающегося потока.
 |
О) 6) 0}
Рис. 3.17 |
Принцип действия двигателя с катящимся ротором можно рассмотреть на модели, изображенной на рис. 3.17. В расточке статора, имеющей диаметр D
1, эксцентрично расположен ферромагнитный ротор с наружным диаметром D
2.Координатную ось, проходящую через центр статора О
1 и точку минимального зазора, считаем продольной d, а перпендикулярную ей - поперечной q.
В исходном положении (рис.3.17,а) ось потока Ф
8 проходит через точку А соприкосновения статора и ротора. Сила F
3M притяжения ротора к статору направлена по оси d, составляющая по оси q равна нулю и ротор находится в положении устойчивого равновесия.
При смещении потока Ф
8 (рис.3.17,б) относительно точки
соприкосновения А появляется составляющая силы притяжения по оси q. Сила F
q создает момент относительно точки А и под действием этого момента ротор перекатывается по поверхности статора до тех пор, пока точка соприкосновения ротора и статора не переместится в А и центр ротора О
2 не окажется на оси потока Ф
8.
Если поле совершит полный оборот а
1=2п (рис.3.17,в), то за счет разности окружностей качения статора и ротора (nD
1-nD
2) в исходную точку А1 на поверхности статора придет точка ротора, смещенная по полю относительно исходной А
2 на эту разностную дугу. Значит, ротор повернется вокруг своего центра О2 против направления вращения поля на угол
Р - Рг
А
(3.15)
2п
а2
При непрерывном вращении поля с угловой скоростью ш
1 в двигателе синхронно с полем в сторону поля вращается точка соприкосновения ротора со статором и центр ротора О
2 относительно центра статора О
1. Ротор, как следует из (3.15), вращается вокруг своей оси О
2 против поля с угловой скоростью
®2=®l(Di"D2)/D2, (3.16)
которая является выходной скоростью двигателя. Если диаметры статора и ротора выбраны близкими, то (D
1-D
2)/D
2<<1 и ю
2<<ю
1, т.е. в двигателе осуществляется значительное редуцирование угловой скорости.
В реальном двигателе, чтобы предохранить поверхности ротора и статора от непосредственного соприкосновения и износа, происходит обкатывание не ротора по статору, а катков ротора по направляющим статора. Диаметры катков и направляющих D
R и D
n немного отличаются соответственно от D
2 и D
1. Поэтому выражение (3.16) принимает вид:ю
2=ю
1/К
ред, где коэффициент редуцирования К
ред= D
R/( D
n -О
к). У современных микродвигателей коэффициент редуцирования достигает 1500.
Недостатком микродвигателей с катящимся ротором является сложность конструкции самого двигателя и механизма передачи вращения, что связано со специфическим несоосным вращением ротора. Центробежные силы, возникающие за счет вращения центра ротора относительно центра статора, вызывают вибрации, шумы и неравномерность мгновенной угловой скорости ротора.
|
Волновые микродвигатели. Синхронные волновые микродвигатели представляют собой конструктивное объединение электрической машины и волновой зубчатой передачи. |
 |
На рис. 3.18,а показана конструктивная схема синхронного волнового реактивного микродвигателя. Статор имеет классическую для машин переменного тока конструкцию: наборный цилиндрический магнитопровод 1 с многофазной обмоткой 2, создающей вращающееся магнитное поле. Жесткий зубчатый венец 3 укреплен на поверхности статора. Гибкий зубчатый венец 4 находится на поверхности гибкого деформирующегося ротора 5. Внутренний магнитопровод 6 представляет собой упругое гибкое кольцо, навитое из ленты пермаллоя. Он служит для замыкания магнитного потока вдоль окружности ротора и деформации ротора под действием сил притяжения к статору.
При отсутствии магнитного поля статора ротор имеет цилиндрическую форму, и зацепление между гибким и жестким зубчатыми венцами отсутствует. Если подать переменное напряжение на обмотку статора, то в воздушном зазоре создается вращающееся со скоростью ю
1=2я//Р
м магнитное поле Ф
1. В поле на внутренний магнитопровод ротора действуют силы электромагнитного притяжения к статору. Эти силы растягивают упругий магнитопровод в радиальном направлении вдоль результирующих сил притяжения F
3M, действующих по оси поля (рис. 3.18, б). При этом деформируется ротор и находящийся на нем гибкий венец волновой передачи, и зубцы гибкого венца входят в зацепление с зубцами жесткого венца, расположенного на статоре. Число волн механической деформации ротора в двигателях реактивного типа равно числу полюсов.
Волны механической деформации ротора вращаются синхронно с полем с угловой скоростью ю
1, и гибкий венец катится по поверхности жесткого. В волновой передаче происходит редуцирование скорости, и гибкий венец вместе с ротором медленно вращается относительно своей оси в сторону, противоположную полю, с постоянной скоростью ю
2 = ю
1/ К
ред, где К
ред=7
г/(7
ж-7
г) - коэффициент редуцирования, равный передаточному отношению волновой передачи; 7
ж и Z
r - число зубцов соответственно жесткого и гибкого венцов, причем Z
ж >Z
F.
В волновых двигателях вращающиеся массы динамически уравновешены, что обеспечивает более низкий уровень вибрации, чем у двигателей с катящимся ротором.
Недостатком волновых микродвигателей является сложность конструкции и технологии изготовления, связанная в основном с требованием обеспечения необходимой эластичности ротора.
Существенное преимущество всех рассмотренных микродвигателей заключается в отсутствии быстровращающихся частей и подшипников, что значительно повышает их надежность. Например, гарантируемый срок службы синхронных редукторных микродвигателей в три-четыре раза больше, чем у синхронных микродвигателей с механическими редукторами, обеспечивающих одинаковую частоту вращения выходного вала. КПД и масса на единицу развиваемой мощности у рассмотренных микродвигателей сильно зависят от реализуемого коэффициента
редуцирования скорости: чем больше коэффициент редуцирования, тем хуже эти показатели.
Конструкция индукторного типа за счет подмагничивания ротора обеспечивает лучшие массо-энергетические и моментные характеристики, чем конструкции реактивного типа. Однако при этом усложняется конструкция и возрастает стоимость двигателя.
§ 3.4. Синхронные шаговые микродвигатели
В связи с развитием цифровой вычислительной техники разрабатывают и совершенствуют исполнительные элементы дискретного действия и, в частности, электрические шаговые двигатели. Шаговыми называют синхронные двигатели, преобразующие команду, заданную в виде импульсов, в фиксированный угол поворота вала или фиксированное перемещение без датчиков обратной связи. Шаговые двигатели выпускаются мощностью от единиц микроватт до киловатта, т.е. в основном, это микродвигатели малой мощности.
Шаговые микродвигатели (ШД) работают в комплекте с полупроводниковыми коммутаторами. Роль коммутатора состоит в переключении обмоток управления ШД с последовательностью и частотой, соответствующими заданной команде. Шаговый двигатель совместно с коммутатором можно рассматривать как систему частотного регулирования угловой скорости синхронного двигателя, отличающегося импульсным питанием и возможностью фиксации углового положения ротора. При этом результирующий угол поворота ШД строго соответствует числу переключений обмоток управления, направление поворота - порядку переключений, а угловая скорость - частоте переключений.
Шаговые двигатели можно подразделить на три основные конструктивные группы: с постоянными магнитами (активного типа), реактивные и индукторные. Они могут иметь различное число фаз, но наибольшее распространение получили двух-, трех- и четырехфазные ШД. Обмотка фазы статора либо целиком является обмоткой управления, либо ее расщепляют на две (выводом средней точки), магнитные оси которых сдвинуты в пространстве на 180°. Напряжение питания обмотки управления шагового двигателя представляет собой последовательность однополярных или разнополярных прямоугольных импульсов, поступающих от коммутатора.
Двигатели активного типа. Статор шаговых двигателей в отличие от синхронных микродвигателей непрерывного вращения имеет явновыраженные полюсы, на которых располагают обмотки управления. Число пар полюсов каждой из обмоток правления Р
м равно числу пар полюсов ротора.
Наибольшее распространение получили ШД активного типа (рис. 3.19) с ротором Р из постоянного магнита, выполненного в виде «звездочки» литой или составной конструкции.
 |
|
Рис 3.19 |
Приведенный на рис. 3.19 ШД имеет две обмотки управления и три пары полюсов. Катушки, расположенные на нечетных полюсах 1,3... 11 статора С, соединены последовательно, образуя одну обмотку управления. Катушки, расположенные на четных полюсах 2,4... 12 образуют вторую обмотку управления, сдвинутую относительно первой на электрический угол 90°. При подаче напряжения на любую из обмоток управления входящие в ее состав полюсы намагничиваются в следующей последовательности: N,S, N,S, N,S.
Принцип действия рассмотрим на примере двухполюсного двигателя.
 |
|
Рис.3.20 |
На рис. 3.20,а показана схема подключения обмоток управления 1 и 2 двухфазного ШД к коммутатору К. Точками обозначены начала обмоток, U - напряжение питания, и
у - импульсный сигнал управления. На рис. 3.20,б изображена временная диаграмма силовых импульсов напряжения на обмотках управления двигателя при восьмитактной ( I-УШ ), разнополярной системе коммутации. Переход от одного такта к другому соответствует поступлению на коммутатор очередного импульсного сигнала управления. При этом, как видно, скачкообразно изменяется значение или полярность напряжения на обмотках управления.
Рассмотрим более подробно, что происходит в эти моменты времени в двигателе. Во время такта I положительный импульс тока возбуждает обмотку управления 1 (рис. 3.20,а). Магнитный поток статора Ф
с направлен по оси этой обмотки (рис.3.20,в). Ротор (постоянный магнит NS) притягивается к полюсам обмотки I и занимает положение вдоль ее оси. При переходе к такту II дополнительно возбуждаются полюсы обмотки управления 2. Результирующий поток статора Ф
с, создаваемый теперь двумя обмотками, скачком поворачивается на 45° (рис. 3.20,в). Возникает синхронизирующий момент синхронного двигателя, и ротор поворачивается на тот же угол. При переходе к такту III остается возбужденной только обмотка 2. Поток статора и ротор поворачиваются еще на один шаг, равный 45°. Положение потока статора на всех восьми тактах показано на рис. 3.20, в.
Показанная на рис. 3.20 раздельно-совместная последовательность включения обмоток управления является несимметричной системой коммутации, так как нечетным и четным тактам соответствует возбуждение различного числа обмоток. Результирующий поток статора меняется от такта к такту, что вызывает пульсацию синхронизирующего момента и является недостатком схемы.
Систему коммутации называют симметричной, если на всех тактах возбуждается одинаковое число обмоток управления (раздельно, парами и т. д.).

На рис. 3.21 изображены схемы включения обмоток управления, временные диаграммы импульсов напряжения на обмотках и пространственные диаграммы положений результирующего потока статора Ф
с для симметричной разнополярной схемы (рис. 3.21,а)
коммутации ШД с двухфазной нерасщепленной обмоткой статора (т
у =2) и симметричной однополярной схемы (рис. 3.21,б) коммутации ШД с двухфазной расщепленной обмоткой статора (т
у =4, такую обмотку часто называют четырехфазной). Сравнение этих двух схем показывает, что применение разнополярной коммутации в двигателях с нерасщепленными обмотками фаз статора сказывается на шаге равносильно расщеплению обмоток управления при однополярной коммутации.
Из сравнения рис. 3.20,в и 3.21,а видно, что при симметричной коммутации шаг увеличивается вдвое, а результирующий поток статора на всех тактах одинаков.
В общем случае число шагов результирующего потока статора и ротора в пределах 360° прямо пропорционально числу обмоток управления т
у и зависит от схемы управления. Количество состояний коммутатора, обеспечивающих новое угловое положение результирующего магнитного потока статора Ф
с в пределах электрического угла 360°, назовем числом тактов коммутации К
тк схемы управления. Согласно вышеизложенному
К
тк = Шу Кі К2, (3.17)
где К
1 - коэффициент, равный 1 при симметричной и 2 при несимметричной коммутации; К
2 - коэффициент, равный 1 при однополярной и 2 при разнополярной коммутации (применение разнополярной коммутации в двигателях с расщепленными обмотками фаз статора смысла не имеет).При этом электрический шаг ротора ШД
а
шэ=360°/К
тк. (3.18)
Реальные шаговые микродвигатели являются многополюсными (р
м>1) и механический шаг, т.е. угол поворота ротора при воздействии одного сигнала управления и установленной схеме коммутации,
аш ашэ / рм 360 /(Ктк рм). (3.19)
Увеличение числа пар полюсов при неизменном диаметре ротора ограничено технологическими возможностями и увеличением потока рассеяния между полюсами, обычно р
м =4^6. Увеличение числа обмоток управления связано с усложнением коммутатора, обычно ш
у =2^4. Поэтому у активных ШД а
ш составляет порядка десяти градусов. Дальнейшее уменьшение шага достигается либо механическим редуцированием с помощью специальных кинематических механизмов, либо специальными схемами электрического дробления шага, которые будут описаны далее в § 3.6.
Реактивные двигатели. В конструкции реактивных шаговых двигателей с целью уменьшения шага используют принцип электромагнитного редуцирования скорости, изложенный в § 3.3
Рассмотрим особенности конструкции и принцип действия четырехфазного реактивного редукторного ШД (рис. 3.22).

Статор и ротор набирают из листовой электротехнической стали. Поверхность ротора и полюсов статора зубчатая. Зубцовые деления ротора и статора равны. Зубцы полюсов статора выполнены так, что, если зубцы ротора соосны с зубцами одной диаметрально расположенной пары полюсов статора, то относительно каждой из оставшихся трех пар полюсов статора они смещены на 1/4, 2/4 и 3/4 зубцового деления. При поочередном однополярном питании обмоток управления происходит поворот магнитного потока статора на 45° и синхронизирующий реактивный момент поворачивает ротор на 1/4 зубцового деления в положение минимального магнитного сопротивления относительно возбужденной пары полюсов. При большом числе зубцов ротора Z
F его угол поворота значительно меньше угла поворота статора.
В общем случае указанное смещение осей зубцов полюсов статора производится на угол 360°/(m
yz
p). За полный цикл коммутации ротор поворачивается на одно зубцовое деление 360/z
p ,и шаг определяют по формуле
аш = 360° /(Kткzр ). (3.20)
Следует иметь в виду, что в реактивном микродвигателе изменение направления поля на 180° не влияет на состояние ротора и при вычислении шага в выражении (3.17) для К
тк необходимо брать К
2 = 1 при однополярной и при разнополярной коммутации.
В реактивном ШД полный период изменения магнитного поля в воздушном зазоре соответствует повороту ротора относительно статора на одно зубцовое деление. Это значит, что зубец и паз ротора эквивалентны паре полюсов и занимают электрический угол 360°, т.е. Z
p = р
м и электрический шаг можно определять по (3.17).
Сравнение выражений (3.19) и (3.20) показывает, что при одинаковом числе полюсных выступов на роторе шаг реактивного ШД в два раза меньше, чем активного. Кроме того, при одинаковом диаметре ротора в соответствии с технологическими особенностями у реактивного ШД можно выполнять значительно больше зубцов, чем полюсов постоянных магнитов у ШД активного типа. Поэтому у реактивных ШД шаг достигает нескольких градусов или долей градуса.
Индукторные двигатели. Индукторные ШД отличаются от рассмотренных реактивных тем, что в них применяется подмагничивание ротора (электромагнитное или постоянными магнитами). Постоянный поток подмагничивания возбуждается со стороны статора или ротора.

На рис. 3.23, а показана конструктивная схема двухпакетного индукторного ШД. В корпусе 2 расположены два магнитопровода статора 3 с общими обмотками управления 4. Два магнитопровода ротора 6 насажены на общий вал 5 и подмагничиваются постоянным магнитом 1, имеющим аксиальную намагниченность. Конструкция правого и левого комплектов магнитопроводов статора и ротора не отличается в отдельности от конструкции реактивного редукторного ШД, показанной на рис. 3.22. При этом магнитопроводы ротора 4 посажены на вал со сдвигом по углу на половину зубцового деления, т.е. электрический угол 180°. В результате магнитное сопротивление потоку подмагничивания Ф
п не
зависит от углового положения ротора.
Поток подмагничивания Ф
п вдоль всей окружности ротора имеет
одинаковое направление: в левом комплекте — от ротора к статору, в правом — от статора к ротору. Это наглядно видно на рис. 3.23,б, представляющем собой поперечный разрез левого магнитопровода ротора. Для упрощения принято, что на роторе четыре зубца, в реальных двигателях их значительно больше.
Поскольку поверхности статора и ротора зубчатые, магнитное сопротивление потоку Ф
п в разных точках окружности ротора разное. Следовательно, индукция В
п потока подмагничивания зависит от угла ? , отсчитываемого вдоль окружности. Индукцию В
п можно представить в виде двух составляющих: постоянной B
п.
пост и переменной В
п.
пер. Переменная составляющая В
п.
пер превращает магнитопровод ротора в некоторый эквивалентный постоянный магнит с числом пар полюсов, равным числу зубцов ротора z
р. Процесс возникновения
электромагнитного S момента, обусловленного взаимодействием переменной составляющей потока подмагничивания с полюсами статора, такой же, как в двигателях активного типа.
Шаг индукторного ШД, как и реактивного, определяется формулой (3.20). По сравнению с реактивными ШД при одинаковом шаге увеличивается синхронизирующий момент, улучшаются энергетические и динамические характеристики.
Линейные шаговые двигатели. Линейные шаговые двигатели (ЛШД) преобразуют импульсную команду непосредственно в линейное перемещение. Это позволяет значительно упрощать кинематическую схему ряда электроприводов, устраняя механические преобразователи вращательного движения в поступательное.
Однокоординатный ЛШД можно представить как развернутный на плоскости ШД вращательного типа.
 |
|
Рис.3.24 |
На рис. 3.24,а показана схема магнитной системы двухфазного однокоординатного ЛШД индукторного типа. Ротор ЛТТТД (подвижная часть), называемый иногда позиционером, выполнен в виде двух П-образных магнитопроводов 2 из электротехнической стали, которые подмагничиваются постоянным магнитом 3. На каждом из магнитопроводов ротора расположено по обмотке управления 1. Статор 4 представляет собой плиту из магнитомягкого материала; поверхность плиты, обращенная к ротору, зубчатая.
Поверхность полюсов ротора I—IV также зубчатая. Зубцовые деления r
z ротора и статора равны. Зубцы двух полюсов в пределах одного магнитопровода ротора сдвинуты по отношению к зубцам статора на 1/
2 зубцового деления, одного магнитопровода по отношению к другому — на 1/
4 зубцового деления. В результате зубцы всех полюсов ротора по-разному ориентированы относительно зубцов статора, но магнитное сопротивление потоку подмагничивания не зависит от перемещения якоря.
Принцип работы такого ЛШД не отличается от принципа работы рассмотренного выше индукторного ШД вращательного типа. В зависимости от наличия и знака импульса в обмотках управления максимум магнитного поля перемещается от полюса к полюсу ротора, например, по схеме I—III—II—IV. Синхронизирующая сила F
0
перемещает ротор в такое положение, чтобы против зубцов данного полюса ротора находились зубцы статора, т.е. на 1/4 зубцового деления.
В общем случае линейный механический шаг Ахш = Т/Ктк . Поскольку в индукторных ШД и ЛШД зубцовое деление является двойным полюсным делением, то электрический угловой шаг, соответствующий Ах
ш , будет равен а
шэ = 360o(Ах
ш / T
z) = 360o/К
тк.
По аналогии можно утверждать, что в общем случае электрический угол ?
э связан с механическим перемещением х
мех соотношением
?э = 3600 (Хме
Х/r
z). (3.21)
В многокоординатном ЛШД осуществлено механическое объединение электромагнитных систем, обеспечивающих перемещение по нескольким координатам. При этом рассмотренные выше однокоординатные ЛШД являются электромагнитными модулями, обеспечивающими перемещение по каждой из координат.
В настоящее время из многокоординатных ЛШД наиболее распространен двухкоординатный (X, Y) ЛШД с плоским воздушным зазором. На рис. 3.24,б показана схема конструкции двухкоординатного ЛШД индукторного типа. Статор 1 представляет собой плиту из магнитомягкого металла, на рабочей поверхности которой выполнены две системы взаимно перпендикулярных зубцов. Ротор 2 содержит две системы электромагнитных модулей для перемещения по двум координатам. Электромагнитные модули ротора 4, предназначенные для перемещения ротора по оси Y, имеют на поверхности, обращенной к статору, зубцы вдоль оси X. Электромагнитные модули 3, предназначенные для перемещения по оси X, имеют зубцы вдоль оси Y. Принцип коммутации обмоток управления и принцип работы по каждой из координат такие же, как и у однокоординатного ЛШД.
В линейных ЛШД применяют магнитно-воздушную подвеску. Ротор притягивается к статору силами магнитного притяжения полюсов ротора. Через специальные форсунки под ротор нагнетается сжатый воздух, между ротором и статором возникает воздушная подушка, и ротор подвешивается над статором с минимальным воздушным зазором. При этом обеспечивается близкое к нулю сопротивление движению ротора и высокая точность позиционирования.
В заключение следует отметить, что на базе ШД и ЛШД могут быть созданы двух-,трех- и четырехкоординатные двигатели, осуществляющие сложные перемещения в декартовой, цилиндрической и сферической системах координат, что имеет большое значение при создании промышленных роботов.
§ 3.5. Режимы работы и характеристики шаговых двигателей
Режимы работы и характеристики шаговых двигателей рассмотрены в данном разделе на примере вращающегося ШД. Однако все основные положения справедливы и для линейного шагового двигателя с заменой моментов на силы и определением электрических углов по формуле (3.21).
Работу ШД считают устойчивой, если он работает без потерь шага, т.е. ротор занимает устойчивое положение, соответствующее положению вектора результирующей МДС статора, при каждом шаге вектора МДС.
Режим работы ШД в значительной мере определяется частотой управляющих импульсов f.
Статический режим (f = 0) соответствует прохождению
постоянного тока по обмоткам управления, создающим неподвижное магнитное поле. Основной характеристикой этого режима является
зависимость статического синхронизирующего момента М
с от электрического угла рассогласования у
э между продольной осью ротора и
МДС статора. Продольная ось ротора совпадает с направлением потока ротора в ШД активного типа и с направлением наименьшего магнитного сопротивления в реактивных и индукторных ШД. Как известно из теории
синхронных двигателей (§ 3.1), зависимость М
c периодическая. Основная гармоника синхронизирующего момента
(3.22)
®„, ?2, —
М = НmaxSinY = М таХ*Іп(?1э -?2эX
где М
с max— максимальный синхронизирующий момент;
электрические углы поворота МДС статора и оси ротора.
|
А |
|
Д Г\Г
С№Х jBt Д м |
|
|
‘ ? \ |
Г . сп |
-ж j о
!
/ |
\ °' |
У\(” / ** ?2Э
Л / |
|
|
|
|
Рис 3.25. |
На рис. 3.25 показана зависимость (сплошная линия) момента от угла поворота ротора ?
2э при фиксированном положении поля статора
?1э = 0 когда у
э = ?2э.
Зоной статической устойчивости ?
су является окрестность точки
устойчивого равновесия на угловой характеристике, из любой точки которой после снятия возмущающего воздействия ротор возвращается в исходную точку устойчивого равновесия. При статическом моменте сопротивления М
ст = 0 точка устойчивого равновесия — 0, точки неустойчивого равновесия — А, В, т.е. зона статической устойчивости АОВ симметрична: ?
су = (-п) + (+п). В случае наличия нагрузки М
ст Ф 0 зона статической устойчивости становится несимметричной, например ААВі при Мсті > 0.
Режим отработки единичных шагов соответствует частоте управляющих импульсов, при которой переходный процесс, чаще всего колебательный, на каждом шаге заканчивается к началу следующего шага,
|
т.е. угловая скорость ротора ?2 в начале каждого шага равна нулю (рис. 3.26). |
 |
В момент времени t
a ротор переместился на один шаг, однако он
имеет максимальную скорость ?
2 max и кинетическую энергию и
продолжает перемещаться против сил поля. Начинается процесс свободных колебаний (качаний) ротора относительно положения устойчивого равновесия, как у всех синхронных микродвигателей (см. § 3.2). Колебания затухают, когда вся кинетическая энергия израсходована на электрические, магнитные и механические потери, вызванные этим процессом. Амплитуда и время затухания колебаний тем меньше, чем больше эти потери.
Основными показателями режима отработки единичных шагов являются перерегулирование Л?
п, т.е. максимальное отклонение от нового положения устойчивого равновесия ротора при переходном
процессе; максимальное значение мгновенной скорости ротора ?2 max в процессе шага; время затухания свободных колебаний ротора на одном
шаге t
зат.
У шаговых двигателей желательно уменьшать Л?
п иt
зат при
сохранении необходимой мгновенной угловой скорости ротора ?2 .
Установившийся режим работы шаговых двигателей соответствует
постоянной частоте управляющих импульсов, причем t
зат больше времени одного такта коммутации.
В установившемся режиме вращение ротора с некоторой средней угловой скоростью
П г
ю
2 =-fa
180
(3.23)
сопровождается вынужденными колебаниями относительно мгновенной точки устойчивого равновесия. Амплитуда колебаний достигает наибольшего значения при частоте управляющих импульсов, совпадающей с резонансной — собственной частотой ротора.
Если время электромагнитных переходных процессов значительно меньше, чем механических, движение ротора ненагруженного ШД математически можно описать уравнением равновесия моментов:
Ч = Мдин + Чем + Ч, (3.24)
где М
дин — динамический момент сопротивления; М
дем —
демпфирующий электромагнитный момент; М
т — момент трения.
Динамический момент определяется моментом инерции ротора J и ускорением:
М = Td2?2 = J d202э
дин dt2 Р
м dt2 . (3.25)
Внутренне электромагнитное демпфирование колебаний ротора обеспечивается за счет наведения ЭДС вращения в обмотках управления. В ШД активного типа ЭДС вращения наводится потоком возбуждения ротора, в индукторных и реактивных ШД — переменной составляющей потока возбуждения, возникающей в результате изменения магнитного сопротивления при вращении ротора. ЭДС вращения вызывает в цепи обмоток управления дополнительные токи, которые во взаимодействии с вызвавшим их потоком создают демпфирующий момент, препятствующий изменению угловой скорости ротора. Значение демпфирующего момента пропорционально угловой скорости ротора:
І?
2
дем
(3.26)
где D — коэффициент демпфирования.
Наибольший коэффициент демпфирования у ШД активного типа, у реактивных двигателей он близок к нулю.
Если пренебречь моментом трения М
т и рассматривать работу ШД при малых углах рассогласования осей ротора и МДС статора (sin /-/), то подставив (3.22), (3.25) и (3.26) в (3.24), получим дифференциальное уравнение движения ротора:
d2?, DP І?, M P
М P
с max м
J
2э
?
ъ.
с max м
(3.27)
2э
J dt
В выражении (3.27) коэффициент при ?
2э есть квадрат угловой частоты
собственных колебаний ротора (рад/с): OJ
0 =?м;
max Р
м/J . Частота управляющих импульсов, соответствующая главному резонансу,
/
0 =^
0/2п.
Важной характеристикой установившегося режима является предельная механическая характеристика — зависимость предельного
вращающего момента шагового двигателя М
пред от частоты управляющих импульсов (рис. 3.27,а).
 |
|
Рис. 3.27 |
Она определяет тот предел, до которого при данной частоте управляющих импульсов можно плавно нагружать вал ШД, сохраняя при этом синхронный режим. Предельную механическую характеристику
рассматривают обычно при f > f
0.
С увеличением частоты происходит уменьшение вращающего момента ШД, что объясняется в основном двумя факторами: действием демпфирующего момента от ЭДС вращения и тем, что ЭДС самоиндукции в обмотках управления становится соизмеримой с напряжением источника питания и ток в обмотках управления за время такта не успевает нарастать до установившегося значения, что снижает результирующий поток статора. Снижение синхронизирующего момента тем резче, чем больше электромагнитная постоянная времени обмоток управления.
Переходные режимы — пуск, торможение, реверсирование, переход с одной частоты на другую — сопровождаются переходными процессами в ШД, вызванными изменением частоты управляющих импульсов и угловой скорости ротора.
Важным показателем переходного режима является приемистость
ш. дв ,
ШД — наибольшая частота управляющих импульсов
отрабатываемых шаговым электродвигателем без потери шагов при пуске из состояния фиксированной стоянки под током.
Скачкообразное увеличение частоты управляющих импульсов при пуске от нуля до рабочей частоты приводит к тому, что в начале ротор отстает от МДС статора под действием момента инерции вращающихся частей. По мере ускорения он достигает угловой скорости МДС статора и за счет запасенной кинетической энергии может опередить МДС. Постепенно колебания затухают и двигатель переходит в установившийся режим. Таким образом, в процессе пуска может возникнуть расхождение между числом шагов ротора и МДС статора. Приемистость растет с увеличением синхронизирующего момента, а также с уменьшением шага и момента инерции вращающихся частей; момент трения отрицательно влияет на приемистость (рис. 3.27, б).
С целью повышения приемистости при пуске ШД может применяться форсировка. В современных схемах форсировка часто производится модуляцией амплитуды импульса напряжения на обмотках управления. В начальный момент подачи импульса амплитуда напряжения с помощью специального регулятора устанавливается завышенной. Ток, нарастая по экспоненте с повышенным установившимся значением, достигает номинального значения за более короткий отрезок времени; в этот момент времени напряжение снижается до номинального. Указанный регулятор должен функционировать с частотой коммутации обмоток.
Предельная частота торможения из установившегося режима вращения несколько выше предельной частоты пуска, поскольку, в частности, момент трения на валу двигателя способствует торможению. Предельная частота реверса на 30—40% ниже предельной частоты пуска.
ГЛАВА 4.ЭЛЕКТРОМАШИННЫЕ ПРЕОБРАЗОВАТЕЛИ УГЛОВЫХ ПЕРЕМЕЩЕНИЙ
В данной главе рассматриваются электрические микромашины переменного тока, предназначенные для преобразования в электрический сигнал и передачи угловых перемещений- сельсины и вращающиеся трансформаторы. Эти микромашины осуществляют преобразование и передачу информации в системах автоматического управления и контроля, и одно из основных требований к ним - минимальная погрешность преобразования. Погрешности в зависимости от их физической природы условно подразделяют на четыре группы: принципиальные, т.е. вытекающие из принципа работы данной микромашины; конструктивные, т.е. определяемые конструкцией микромашины; технологические, т.е. определяемые технологией изготовления, и эксплуатационные, т.е. определяемые условиями эксплуатации. Уровень погрешностей определяет класс точности, который присваивается каждой информационной микромашине заводом- изготовителем по результатам испытаний.
§4.1. Сельсины
Сельсинами называют электрические микромашины переменного тока, обладающие способностью самосинхронизации и применяемые в синхронных системах дистанционной передачи угла в качестве датчиков и приемников. Передача угловой величины в такой системе происходит синхронно, синфазно и плавно. При этом между устройством, задающим угол (датчиком), и устройством, принимающим передаваемую величину (приемником), существуют только электрические соединения в виде линии связи.
Сельсины бывают трехфазные силовые и однофазные, однако в системах управления практически используются только однофазные.
Однофазные сельсины работают в основном в двух режимах. В индикаторном режиме датчик поворачивается принудительно, а приемник устанавливается в согласованное с датчиком положение под воздействием собственного синхронизирующего момента. Этот режим используют в
системах контроля угла поворота объекта. Погрешность передачи порядка

В трансформаторном режиме датчик поворачивается принудительно, а приемник вырабатывает напряжение, являющееся функцией угла рассогласования. Этот режим наиболее часто используют в системах управления углом поворота объекта.
Для обоих режимов возможны следующие схемы:
а) парная: датчик - приемник;
б) многократная: датчик - несколько приемников;
в) дифференциальная: два датчика- приемник.
Однофазный сельсин может работать как в индикаторном, так и в трансформаторном режимах в качестве датчика и приемника. Однако ввиду специфичности предъявляемых требований выпускаемые сельсины предназначаются для конкретного режима работы.
Основные требования, предъявляемые к дистанционным передачам на сельсинах:
1) высокая статическая и динамическая точности. Статическая точность определяется погрешностью следования в режиме медленного поворота, а динамическая - в режиме вращения с меняющейся по заданному закону угловой скоростью. Погрешность следования дистанционной передачи - это отклонение угла поворота ротора сельсина -приемника от угла поворота сельсина-датчика в положении согласования;
2) способность к самосинхронизации в пределах одного оборота, т.е. свойство системы на сельсинах занимать только одно устойчивое согласованное положение в пределах оборота;
3) сохранение свойства самосинхронизации и заданной точности при высоких угловых скоростях и наличии в системе нескольких приемников.
Кроме этого, в зависимости от условий применения к сельсинам предъявляется ряд дополнительных требований (см. Введение).
Конструкция. Однофазные сельсины по конструкции и наличию скользящего контакта можно подразделить на контактные и бесконтактные.
|
2 |
 |
Рис 4.1
Контактные сельсины состоят из двух частей: статора и ротора. На статоре (или роторе) располагают однофазную обмотку возбуждения В (рис. 4.1,а); на роторе (или статоре) - обмотку синхронизации С. Конструктивно они подобны синхронным машинам с электромагнитным возбуждением.
У однофазных сельсинов обмотку синхронизации выполняют по типу трехфазной, т.е. три отдельные обмотки смещены в пространстве на 1200 и соединены в звезду. Обмотка синхронизации всегда распределенная; обмотка возбуждения может быть и распределенной, и сосредоточенной.
Число пар полюсов в сельсине выбирают равным единице (р
м=1), чтобы получить самосинхронизацию в пределах одного оборота.
Обмотка возбуждения сельсина создает пульсирующий магнитный поток. Этот поток, проходя по магнитопроводу сельсина, пересекает витки обмотки синхронизации и наводит в них трансформаторные ЭДС, зависящие от угла поворота ротора. Так как при повороте ротора взаимоиндуктивность между обмотками возбуждения и синхронизации плавно изменяется по закону косинуса, то в обмотке синхронизации наводятся фазные ЭДС, пропорциональные косинусу угла поворота ротора.
У некоторых сельсинов имеется короткозамкнутая демпферная обмотка Д, расположенная перпендикулярно обмотке В.
Принцип работы сельсина не зависит от места расположения каждой из обмоток: на статоре или на роторе. Однако наиболее распространены (рис. 4.1,б) сельсины с обмоткой возбуждения 4, расположенной на роторе 3, и обмоткой синхронизации 2 на статоре 1. У них меньше контактных колец 6 и щеток 7, что обеспечивает более высокую надежность, меньший момент трения и объем сельсина. В цепи передачи сигнала (линии связи обмоток синхронизации) отсутствуют скользящие контакты. При такой конструкции проще выполнить на роторе демпферную обмотку 5.
Наличие скользящих контактов значительно снижает надежность контактных сельсинов. Поэтому были разработаны также бесконтактные сельсины: с униполярным возбуждением ротора со стороны статора и с переходным кольцевым трансформатором.
Трансформаторный режим. Для передачи углового перемещения на расстояние с преодолением значительного момента сопротивления используются системы дистанционной передачи угла в виде следящих систем, частью которых являются сельсины, работающие в трансформаторном режиме. При этом по линии связи передается незначительный по мощности сигнал.


На рис. 4.2а приведена схема сельсинов в трансформаторном режиме. Обмотка возбуждения сельсина-датчика СД подключена к питающей сети и служит для создания в магнитной системе пульсирующего магнитного потока. Обмотки синхронизации датчика и приемника соединены между собой строго соответственно линией связи. Однофазная обмотка трансформаторного сельсина-приемника
предназначена для выработки сигнала (напряжения), зависящего от угла рассогласования ?=?
д-?
п, и называется обмоткой управления.
В трансформаторном режиме согласованным называют такое состояние схемы, когда ЭДС обмотки управления сельсина-приемника равна нулю. Взаимное расположение обмоток в датчике и приемнике для исходного согласования состояния схемы показано на рис. 4.2а.
Пульсирующий магнитный поток обмотки возбуждения датчика Ф
в индуктирует в обмотке синхронизации фазные ЭДС
ЕД1= Етах COS ?д Ед2= Етах COS (?д -12Q0)
ЕД3 Emax COS (?д "240°) , (4.1)
где ?
д - угол поворота ротора сельсина-датчика от исходного положения (за исходное положение примем такое, когда обмотка, образующая первую фазу обмотки синхронизации, соосна с потоком возбуждения); Е
тах- наибольшее действующее значение фазной ЭДС обмотки синхронизации, соответствующее совпадению оси фазы и потока возбуждения.
Токи, проходящие под действием этих ЭДС по фазам обмотки синхронизации приемника, создают пульсирующие ЭДС Б
п1, Fn
2 и Fn
3. При повороте ротора датчика на угол ?
д вектор результирующей ЭДС обмотки синхронизации приемника Fn поворачивается относительно этой обмотки на угол, равный ?
д, но в противоположную сторону. Результирующая ЭДС создает пульсирующий поток Ф
п, который наводит в обмотках управления сельсина- приемника выходную ЭДС E
y = E
ymax si^^ где E
ymax -максимальное значение выходной ЭДС, соответствующее совпадению направления потока Фп с осью обмотки управления. Фаза выходной ЭДС меняется дискретно на 1800 через 1800 угла поворота ротора.
Нами были рассмотрены физические процессы при фиксированном угле поворота приемника ?
п =0, т.е. при угле рассогласования ?=?
д. В этом случае угол поворота потока Фп относительно оси d, перпендикулярной оси обмотки управления, получился равным углу поворота потока Фп относительно обмотки синхронизации приемника, т.е. углу ?
д. При произвольном угле поворота ротора приемника ?
п поток Фп окажется повернутым относительно оси d на угол ?=?
д-?
п ,и выходная ЭДС будет изменяться по закону
ЕУ ЕУmaxsin?. (4.2)
Выражение (4.2) является уравнением выходной характеристики Ey=
/(?) ; график выходной характеристики при сопротивлении линий связи, близком к нулю (Rji= 0), показан на рис. 4.2б сплошной линией.
Важной характеристикой сельсинов при работе в трансформаторном режиме является крутизна сельсина-приемника, т.е. приращение выходного напряжения U
y (ЭДС Е
у при холостом ходе), приходящееся на единицу угла рассогласования. Крутизна определяется при ?<50 и характеризует угол наклона выходной характеристики в начале координат (В/град):
r dUy
d&
или
180o
AUy
А?°
У современных сельсинов при холостом ходе S
n= 0,5-2 В/град.
 |
|
Рис 4.3 |
На рис. 4.3 изображена функциональная схема системы
дистанционной передачи угла (следящей системы) с сельсинами в трансформаторном режиме. Выходное напряжение сельсина-приемника через усилитель мощности УМ поступает на исполнительный двигатель ИД, который через редуктор Ред. поворачивает объект управления ОУ, а вместе с ним и ротор сельсина -приемника на угол, заданный датчиком. После поворота ОУ и ротора приемника на угол ?
п=?
д магнитный поток сельсина-приемника Ф
п вновь будет перпендикулярен к оси выходной обмотки, выходное напряжение станет равным нулю и система будет находиться в новом положении устойчивого равновесия.
Трансформаторные системы дистанционной передачи угла в зависимости от погрешности следования делятся на семь классов точности: в высшем классе точности статическая погрешность не превышает + 0,1', в низшем классе статическая погрешность достигает + 30'. Трансформаторные сельсины позволяют, как правило, создавать системы с погрешностью от + 5' до + 30'.
Погрешность определяется в основном конструктивными и технологическими факторами: асимметрией обмоток, неравномерностью магнитной проводимости вдоль окружности машины, разбросом параметров датчика и приемника и т.д. При прочих равных условиях погрешность следования тем меньше, чем больше крутизна Sc. Это можно объяснить следующим образом. Технологические погрешности и разброс параметров датчика и приемника приводят к тому, что в согласованном положении системы ( ?=0) на выходе приемника появляется добавочная ЭДС Е
доб. ЭДС Е
доб имеет в общем случае две составляющие: ЭДС ошибки Е
ош, совпадающую по фазе с выходной ЭДС Е
у, и остаточную ЭДС Е
ост, сдвинутую по фазе на 900. ЭДС ошибки может быть скомпенсирована выходной ЭДС Еу путем дополнительного поворота ротора приемника на угол, при котором Е
у=-Е
ош. Это значит, что исполнительный двигатель следящей системы повернет объект управления и ротор приемника на угол ?
П^?
Д, т.е. появится угловая ошибка (погрешность следования) Л?
т=Еош^п.
Учет: Делопроизводство - Автоматизация - Софт
Содержание раздела