Платежные системы коммерческих банков, построенные с использованием пластиковых карт.
1.1.Платежные системы и их место в структуре безналичных расчетов.
Развитие экономики любого государства сегодня невозможно без высокоэффективной системы денежного обращения и использования современных платежных механизмов. Практика показывает, что каждодневные проблемы финансирования, кредитования экономики, исполнения бюджета, а также задачи отдаленной перспективы, позволяет успешно решать интенсивное развитие различных форм безналичных расчетов.
Платежный механизм - структура экономики, которая опосредует "обмен веществ" в хозяйственной системе. Методы платежа делятся на наличные и безналичные. Безналичные расчеты постепенно вытесняют налично-денежные платежи в денежных системах различных стран.
Основная доля проведения безналичных расчетов приходится на коммерческие банки. Именно им принадлежит важнейшая расчетно-платежная функция в платежной системе государства.
Если рассмотреть структуру денежной массы России, то показатель доли безналичных средств составляет около 64% (см. таблицу 1.1). Рассматривая соотношение наличной и безналичной денежной массы, можно сделать вывод о стабилизации этого показателя: за первое полугодие 1996 года колебания доли безналичных средств составили всего 2,3% около среднего значения в 63,9%. С одной стороны, данные цифры свидетельствуют об успешном контроле Банка России за состоянием денежного обращения, с другой высокий удельный вес наличных денег подчеркивает неразвитость кредитно-расчетных отношений в российской экономике. Следует отметить, что в развитой рыночной экономике на безналичные платежи приходится основная доля общей суммы платежей.
Так, в Соединенных Штатах безналичные платежи составляют по имеющимся оценкам, почти 100 процентов от суммы всех операций1.
Таблица 1.1.
|
1.01.96
|
1.02.96
|
1.03.96
|
1.04.96
|
1.05.96
|
1.06.96
|
|
трлн.руб.
|
%
|
трлн.руб.
|
%
|
трлн.руб.
|
%
|
трлн.руб.
|
%
|
трлн.руб.
|
%
|
трлн.руб.
|
%
|
Денежная масса М2, всего
|
220,8
|
100
|
216,7
|
100
|
229,2
|
100
|
241,8
|
100
|
251
|
100
|
254,2
|
100
|
Ежемесячные темпы прироста, %
|
|
-
|
|
-1,9
|
|
5,8
|
|
5,5
|
|
3,8
|
|
1,3
|
Наличные деньги
|
80,8
|
36,6
|
75,4
|
34,8
|
80,4
|
35,1
|
86,7
|
35,9
|
93,1
|
37,1
|
93,7
|
36,9
|
Ежемесячные темпы прироста, %
|
|
-
|
|
-6,7
|
|
6,6
|
|
7,8
|
|
7,4
|
|
0,6
|
Безналичные сред-ва
|
140
|
63,4
|
141,3
|
65,2
|
148,8
|
64,9
|
155,1
|
64,1
|
157,9
|
62,9
|
160,5
|
63,1
|
Ежемесячные темпы прироста, %
|
|
-
|
|
0,9
|
|
5,3
|
|
4,2
|
|
1,8
|
|
1,6
|
Тесная связь банковских расчетов и безналичных средств обращения предполагает рассматривать сущность банковских расчетов, прежде всего через определение их места в системе безналичных расчетов.
Расчеты, проводимые коммерческим банком можно определять с различных точек зрения: во-первых, с точки зрения техники осуществления расчетов, во-вторых, в зависимости от особенности организации расчетов и, в-третьих, по экономической сущности банковских расчетов. В экономической литературе даются различные определения банковских расчетов. М.П. Березина и Ю.С. Крупнов определяют межбанковские расчеты как "систему безналичных расчетов между банковскими учреждениями, основанную главным образом на прямых переводах денежных средств и регулярных зачетах их взаимных требований и обязательств.
В отдельных случаях расчеты между банками могут вестись и с помощью наличных денег"2. О.И. Лаврушин раскрывает организационную сторону межбанковских расчетов, представляя их как "совокупность платежей через расчетные центры центрального банка, специализированные расчетные и клиринговые организации, а также расчетов через корреспондентские субсчета, открытые в других банках"3.
В зарубежной литературе при характеристике межбанковских расчетов чаще всего используются понятия "платежный оборот" и "платежная система". Например, Э. Роде под платежным оборотом понимает "осуществление банками за счет клиентов и за их собственный счет наличных и безналичных платежей"4. Такое определение платежного оборота не получило распространения в современной российской литературе, так как традиционно оно подразумевает собой другое понятие. Ц.М.
Хайтина определяет платежный оборот как "часть безналичного денежного оборота, включающая платежи, совершаемые путем перечисления денег со счета плательщика на счет получателя, обслуживаемая деньгами в форме средств платежа"5. По мнению А.М. Косого, "платежный оборот - часть обращения безналичных средств платежа"6, а Г.А.
Шварц понимает под этим определением "совокупность платежей с использованием денег в качестве платежного средства"7. Очевидно, что основное отличие состоит в том, что зарубежные экономисты связывают понятие платежного оборота с межбанковскими операциями, а отечественные - с функционированием денег в качестве средства платежа.
Второй термин - "платежная система" - напротив, очень широко используется в настоящее время практически во всех публикациях, связанных с банковскими расчетами. Западными специалистами это понятие раскрывается как "набор механизмов для выполнения обязательств, принимаемых хозяйствующими субъектами при приобретении ими материальных или финансовых ресурсов"8. К числу таких механизмов они относят "учреждения, предоставляющие платежные услуги, различные инструменты, используемые для передачи платежных указаний (включая каналы связи) и договорные отношения между заинтересованными сторонами"9. Межбанковские расчеты определяются ими с технологической позиции.
П. Ван ден Берг считает, что "межбанковские переводы средств - это переводы, при осуществлении которых банки выступают в роли плательщика и получателя платежа. Такие переводы имеют место либо когда банки производят платежи друг другу во исполнение платежей своих клиентов либо когда они выполняют обязательства друг перед другом, например, по операциям на денежном рынке"10. Г.Д. Бломштейн и Б.Д.
Саммерс дают почти аналогичное определение, представляя межбанковские расчеты в виде расчетов "между коммерческими банками, осуществляемыми для удовлетворения потребностей клиентов в платежах и проводимыми через межбанковскую сеть корреспондентских счетов"11.
Можно остановится на определении безналичных расчетов О.И. Лаврушина - “Система безналичных расчетов представляет собой совокупность принципов организации расчетов, предъявляемых к ним требований, форм и способов расчетов.” Данное определение характеризует не только систему безналичных расчетов, но и платежные системы создаваемые банком для их проведения.
В экономической науке сложилось неоднозначное понимание принципов безналичных расчетов. Традиционно эти принципы формулируются следующим образом: проведение всех расчетов предприятиями и организациями через учреждения банков; платежи совершаются, как правило, после отгрузки продукции, оказания услуг, выполнения работ, наступления сроков погашения финансовых, кредитных и других денежных обязательств; платежи осуществляются при наличии средств на счете плательщика или права его на кредит; наличие согласия плательщика на списание средств с его счета.
Укоренившиеся принципы безналичных расчетов критически исследованы В.И. Таракановым12, который разделил все принципы на общеэкономические и специфические. К общеэкономическим принципам отнесены экономичность и дифференцированность безналичных расчетов.
Специфические принципы, по мнению В.И. Тараканова, разделяются на две группы. Первая группа делает организационные аспекты расчетов.
Вторая группа, раскрывающая экономические основы платежных операций, “включает такие принципы, как целевой характер, срочность, обеспеченность платежей”. В этом определении отражена близость принципов безналичных расчетов и кредитования.
Свою позицию по поводу принципов безналичных расчетов высказали участники Международной конференции по банковскому делу в России. В рекомендациях конференции указано, что основополагающим принципами расчетов является равенство всех платежей, осуществляющие их с согласия плательщиков.
При всей неоднородности определения принципов безналичных расчетов можно выделить следующие, наиболее часто встречающиеся в трудах отечественных экономистов:
- обязательное условие хранение денежных средств в кредитных организациях;
- принцип согласия плательщика на списание средств;
- принцип платежей в пределах собственных средств и полученных кредитов;
- принцип оптимальной скорости безналичных расчетов;
- принцип периодической очередности платежа;
- принцип повышения эффективности затрат на ведение безналичных расчетах.
Рассмотрим некоторые принципы более подробно. Принцип оптимальной скорости безналичных расчетов можно определить следующим образом. Скорость платежа в значительной мере обусловлена его срочностью. Срочность платежа означает соблюдение частных сроков. Предположим, что при сроке оплаты обязательства 20 июня и сроке зачисления средств на счет получателя 28 июня фактически обе стадии платежа совершены в эти сроки, и срочность платежа достигнута.
Но при этом средства находились в течение недели в расчетах, т.е. были изъяты из полезного хозяйственного оборота.
Проблемы функционирования платежных систем на пластиковых картах.
- Виды платежных систем основанных на использовании пластиковых карт и этапы их развития.
Эволюцию платежных систем построенных на пластиковых картах в этом веке можно проследить, рассматривая историю и виды пластиковых карт. Идею кредитной карточки первым выдвинул Эдуард Беллами (Edward Bellamy) в книге "Взгляд в прошлое: 2000--1887" (Looking Backwards: 20001887). Пластиковые карточки, точнее их прообраз появились в США, традиционной стране потребительского кредита. Еще в 1914 г. крупные универмаги стали здесь выдавать кредитные карточки своим клиентам.
В 1928 г. был изобретен прообраз пластиковых карточек - металлический ярлык, на котором было выдавлено имя и адрес клиента. В 1936 г. появилось первой объединение предприятий, согласившихся кредитовать общих клиентов. Особый успех выпал на долю ресторанной кредитной карточки “Diners Club” (“Обеденный клуб”). Постоянные посетители ресторанов, имеющие хорошую репутацию, могли получить карточку “DC” и предъявлять ее во многих ресторанах Нью-Йорка вместо наличных денег.
Рестораны передавали копии счетов в “DC”, который ежемесячно выставлял клиенту общий счет. Клиент расплачивался с “DC”, а тот - с ресторанами. Ряд крупных американских банков, оценив успех первооткрывателей, выпустили свои кредитные карточки, пользоваться которыми можно было не только в ресторанах, но и в других местах.
Так, начали образовываться платежные системы: банк выпускал карточку и открывал счет клиенту; на территории страны и за рубежом создавалась целая сеть магазинов, баров, ресторанов, отелей и т.д., где принимали к оплате карточки, выпущенные банком-эмитентом, оборудовался центр, который занимался обслуживанием (процессингом) пластиковых карточек. Первопроходцами в освоении рынка пластиковых денег были известные ныне всему миру Bank of America; Master Card; American Express; Visa International.
Успех использования небумажных платежных средств объясним:
- они более защищены от подделки, что позволяет их использовать в более широкой сфере расчетов и с большим количеством участников;
- клиенты видят в них более удобную форму расчетов и позволяют широко использовать кредит в повседневной практике;
- заинтересованность появляется у торговых точек, которые с согласием принимать, как платежное средство, карточки расширяют круг своих клиентов;
- с позиций государства использование платежных систем снижает стоимость обслуживание наличной массы, ускоряет оборачиваемость денежной массы.
Основная особенность платежных систем построенных на пластиковых картах состоит в обслуживании розничного товарооборота в экономике. Особенности выражаются в технических особенностях проведения платежей и раскрываются при рассмотрении видов пластиковых карт, их эволюции.
В ходе развития платежных систем возникли разные виды пластиковых карточек, различающихся назначением, функциональными и техническими характеристиками.
С точки зрения механизма расчета выделяются двусторонние и многосторонние системы. Двусторонние карточки возникли на базе двусторонних соглашений между участниками расчетов, где владельцы карточек могут использовать их для покупки товаров в замкнутых сетях, контролируемых эмитентом карточек (универмаги, бензоколонки и т.д.). В отличие от этого многосторонние системы, которые возглавляют национальные ассоциации банковских карточек, а так же компании, выпускающие карточки туризма и развлечений (Американ Экспресс), предоставляют владельцам карточек возможность покупать товары в кредит у различных торговцев и организаций сервиса, которые признают эти карточки в качестве платежного средства.
Карточки этих систем так же позволяют получать кассовые авансы, пользоваться автоматами для снятия наличных денег с банковского счета и т.д.
Другое деление карточек определяется их функциональными характеристиками. Здесь различаются кредитные и дебетовые карточки. Первые связаны с открытием кредитной линии в банке, что дает возможность владельцу пользоваться кредитом при покупках товаров или получении кассовых ссуд.
Вторые предназначены для получения наличных денег в банковских автоматах или покупки товаров с расчетом через электронные терминалы. Деньги при этом списываются со счета владельца карточки в банке в пределах остатка.
Иногда выделяют особую категорию - платежные карточки как разновидность кредитных карточек. Отличие состоит в том, что общая сумма долга при использовании карточки должна погашаться полностью в течение определенного времени после получения выписки без права продления кредита.
Имеются различия в использовании карточек в системах основанных на бумажной технологии (paper-based systems), или в электронных системах (electronic systems). В “бумажных” системах держатель ставит свою подпись на торговом счете или другом документе, подготовленном торговцем, что является подтверждением его разрешения дебетовать свой счет в банке. Затем торговый счет направляется эмитенту карточки как основание для выплаты соответствующей суммы торговцу (кредитование его счета) и списание денег со счета владельца карточки. В электронной системе держатель карточки напрямую связывается с эмитентом через терминал.
Вместо подписи на счете он вводит с помощью клавиатуры секретную комбинацию цифр, что при правильном наборе является санкцией на дебетование его банковского счета.
Рассмотрим кратко основные виды карточек.
Банковские кредитные карточки (bank credit cards) предназначены для покупки товаров с использованием банковского кредита, а так же для получения авансов в денежно-кредитной форме. Главная особенность этой карточки - открытие банком кредитной линии, которая используется автоматически каждый раз, когда производится покупка товара или берется кредит в денежной форме. Кредитная Линия используется в пределах установленного банком лимита. В некоторых системах банковская кредитная карточка может применяться для льготной оплаты некоторых видов услуг, а так же для получения денег в банковских автоматах.
Различаются индивидуальные и корпоративные карточки.
Карточки туризма развлечений и отдыха (travel entertaiment cards). Это “платежные” карточки, согласно произведенной выше терминологии. Они выпускаются компаниями, специализирующимися на обслуживании указанной сферы (American Express, Dinners Club).
Карточки принимаются сотнями тысяч в торговых и сервисных предприятий во всем мире для оплаты товаров или услуг, а также предоставляют владельцам карт различные льготы при по бронированию авиабилетов, номеров в гостиницах, получению скидках с цены товара, страхованию жизни и т.д.
Карточки для банковских автоматов (ATM cards). Это разновидность дебетовых карточек, которые дают возможность владельцу счета в банке получать наличные деньги в пределах остатка средств на счете через автоматические устройства, установленные в банках, торговых залах и т.д.
Карточка для покупки через терминалы в торговых точках (point-of-sale terminals - POS - cards). Карточки этого вида также относятся к разряду дебетовых. Они “привязаны” к чековому или сберегательному счету владельца карточки и не предусматривают автоматического предоставления кредита.
Карточка POS выполняет функции банковского чека, однако, ее применение более надежно, так как идентификация владельца производится в момент совершения сделки и деньги перечисляются на банковский счет торгового предприятия немедленно.
В последнее время получили распространение дебетовые карточки частных сетей (property debit cards). Их выпускают банки, которые участвуют в региональных системах торговых терминалов, а не подключенных к общенациональным коммуникациям. Банки привлекает то обстоятельство, что в этом случае не нужно платить комиссию за передачу информации по общим коммуникациям.
Еще одна классификация кредитных карточек связана с их технологическими особенностями. Наиболее распространены карточки двух видов - с магнитной полосой и со встроенной микросхемой (chip card - чиповая карта, smart card - смарт карта, “умная” карта)
Карточки с магнитной полосой имеют на обороте магнитную полосу, где записаны данные необходимые для идентификации личности владельца карточки при ее использовании в банковских автоматах и электронных терминалах торговых учреждений. Когда карточка вставлена в соответствующее считывающее устройство, индивидуальные данные владельца передаются по коммуникационным сетям для получения разрешения на осуществление сделки.
На карточках крупных международных карточных ассоциаций “Виза” и “Мастер Кард” магнитная полоса имеет несколько дорожек для фиксации необходимых сведений в закодированной форме. На одной из дорожек записан персональный идентификационный номер - ПИН (Personal Identification Number), который вводится владельцем карточки с помощью специальной клавиатуры при использовании им банковских автоматов и терминалов POS. Набранные цифры сравниваются с ПИН-кодом, записанным на полосе. В случае их несовпадения владельцу дается возможность сделать еще несколько попыток набора ПИН-кода.
Затем карточка изымается или возвращается владельцу (еврокарта).
Карточка с микросхемой (chip card, smart card) была изобретена во Франции в 1974 г.
Очень важным техническим вопросом является стандартизациz.
Желание VISA проникнуть в данный сектор рынка говорит о его перспективности. Оценка стратегии VISA неоднозначна: с одной стороны создание такой системы, лидером в карточном бизнесе, обеспечит совместимость национальной системы с международной; с другой стороны, остро встает вопрос распределения доходов, и размещения страховых депозитов.
Современные платежные системы позволят банку значительно расширять сферу своих услуг, охватывая все большие объемы бездоходных для него наличных операций, переводя их в безналичные - доходные.
С самого начала платежные системы были нацелены на разработку новых электронных продуктов для замены прежних, как правило, гораздо менее эффективных, способов осуществления финансовых транзакций. Так, кредитные карточки появились в качестве более привлекательной альтернативы мелким ссудам. Позднее в качестве более удобной, безопасной и экономичной замены традиционных бумажных чеков и наличности приобрели популярность карточки доступа к счету (дебетовые карточки). Сегодня перспективным платежным продуктом являются смарт - карты охватывающие рынок мелких транзакций (до 10 $). На этом пути совершенствования платежных средств, современный банк видит в использовании платежных систем свое будущие.
И Российские банки не исключение. Отсутствие наследия платежных технологий вселяет серьезную надежду на то, что хотя бы в области банковских технологий страна наша вступит в следующее столетие далеко не позади ведущих мировых держав, а в одном строю с ними.
2.2.Критерии выбора платежной системы на пластиковых картах.
При создании карточной системы банку предстоит решить множество вопросов. Диапазон этих вопросов простирается от выбора технологической платформы, до маркетинговых изысканий направленных на изучение рынка данного вида услуг.
Достижения технического прогресса последних десяти лет сделали возможным использование в платежных системах новейших технологий на базе микропроцессорных карт. Этот переход на новые системы в западных странах замедляется и откладывается из-за огромных капиталовложений, которые банки в свое время сделали в традиционную, существующую сегодня технологию магнитных карт, инфраструктуру из сотен тысяч банкоматов, миллионов торговых терминалов и специализированных высококачественных сетей передачи данных. Эти системы отлажены, работают, а потери, связанные с мошенничеством, статистически вычисляются и учитываются как неизбежные эксплуатационные издержки.
Причина, по которой западные банки все же активно работают сегодня над использованием смарт-карт в платежных системах, это, в первую очередь, стоящая задача на сокращение расходов на эксплуатацию системы.
Ситуация на Российском рынке абсолютно иная. С одной стороны, очень низкая кредитоспособность массового клиента, отсутствие высококачественных разветвленных и надежных средств коммуникаций (особенно на периферии) и высокий уровень криминальности делает практически невозможным применение стандартных западных систем в национальном масштабе. С другой стороны, находясь на начальном этапе своего развития, российские системы имеют уникальную возможность использовать все последние технологические достижения.
Вот почему количество поставщиков платежных систем на Российском рынке столь велико. Многие из этих фирм, реально оценивая ситуацию, предлагают только микропроцессорные карты в качестве базового элемента систем.
Кроме того, и крупнейшие международные системы (VISA, EUROPAY и др.) перестраивают свою маркетинговую политику по мере осознания того факта, что борьба за будущий стандарт платежных систем уже развернулась и полигоном для этой борьбы становится российский рынок. В этой ситуации российский банк стоит перед сложной задачей выбора платежной системы. В результате решения данной задачи банк должен определить направление своих инвестиций и направление развития своей платежной системы на ближайшие десять лет.
При формировании платежной системы в России у банка два основных направления:
- это участие в уже существующих платежных системах как российских, так и зарубежных;
- создание собственной платежной системы.
Вставая на путь участия в уже существующих карточных проектах, банк однозначно расширяет сферу своей платежной системы за счет уже существующих участников. Но за это банку приходится платить, в виде вступительного взноса, в виде процента за обслуживания своих карт. Первый путь является самым простым и вполне подходит для банков, в регионе которых уже существуют другие платежные системы (при условии, что банк, устраивает техническое развитие платежной системы). Но учитывая специфику российского рынка платежных систем банк может, без особых затрат пойти по второму пути. Второй путь предпочтительней для создания именно региональных систем.
Мировая практика показывает, что пользователь пластиковых карт, убедившись в удобстве и выгодности их использования, имеет в своем кошельке целый арсенал платежных средств в виде разнообразных пластиковых карт. Это означает, что при наличии именитых конкурентов на рынке, банк, создавший свою платежную систему при определенной политике, может найти своего клиента.
Основными критериями выбора платежной системы являются:
- маркетинговая оправданность;
- технологические характеристики;
- оценка рисков;
- защищенность инвестиций;
- экономическая эффективность.
Маркетинговая оправданность заключается в подходе к созданию системы, к выбору предоставляемых услуг, с целью максимально удовлетворить потребности потенциальных клиентов.
Под технологическими характеристиками здесь понимается: современность технологий, соответствие уже существующим стандартам и возможностью функционального объединения с действующими системами. Очень важным техническим вопросом является вопрос стандартизации. Стандартизация пластиковых карт осуществляется на международном уровне, организацией по стандартам (ИСО) в составе совместного с Международной электротехнической комиссией (МЭК) технического комитета (ИСО/МЭК СТК1) создан подкомитет ПК17 для руководства разработкой стандартов, относящихся к пластиковым карточкам и различным аспектам их использования.
На основе этих стандартов национальные организации по стандартизации создают свои нормативные базы. В России подобные разработки начались с большим запозданием из-за отставания во внедрении систем с пластиковыми карточками, но в январе 1995 г. Госстандарт РФ и Госкоминформ РФ образовали в составе технического комитета "Информационные технологии" (ТК22) подкомитет ПК117 с названием, аналогичным названию соответствующего подкомитета ИСО/МЭК, а именно "Идентификационные карточки и соответствующие устройства". Подкомитет образован на базе Сбербанка России.
В состав подкомитета вошли представители Центрального банка России, Ассоциации российских банков, ФАПСИ, ряда ведущих банков и организаций, заинтересованных в том, чтобы принять участие в формировании документов, которыми придется руководствоваться в дальнейшем, и в том, чтобы влиять на политику в области внедрения пластиковых карточек.
Самое важное направление деятельности подкомитета - обеспечение разработки отечественных стандартов. Непосредственная организация этой работы поручена Ассоциации центров инжиниринга и автоматизации (АЦИА, г. Санкт-Петербург). Первоочередная задача состоит в создании и внедрении российских стандартов, аналогичных действующим международным, но учитывающих отечественную специфику и требования. 19
Оценка рисков важный критерий при выборе платежной системы. Как и любая деятельность банка, создание и функционирование системы безналичных расчетов несет на себе определенные риски. Риски платежных систем на пластиковых картах можно объединить в две основные группы:
- общие риски функционирования системы;
- риски зависящие от вида оказываемых услуг.
Общие риски функционирования платежной системы возникают из-за возможных технических отказов и возможностью хищения денежных средств банка или клиента. Другими словами природа данного риска лежит в области технических особенностей работы системы. Величина данного риска довольно значительна на сегодняшний день.
Основная доля убытков от данного риска приходится на хищения. Крупные платежные системы закладывают в свои бюджеты расходные статьи с учетом возможных убытков от хищений, рассчитанные статистически на основе прошлых периодов. Размер убытков может достигать 2 % от общего объема платежей.
Владельцы платежных систем не расположены, обнародовать свои потери от обслуживания системы, боясь подорвать доверие к ней. В России в силу ограниченности использования эти цифры значительно скромнее. Можно привести следующие цифры.
Суммарные потери российских и иностранных банков - участников системы Europay/MasterCard - от мошенничества в России. (данные неполные)20
|
1994
|
1995
|
1996
|
1997 9мес
|
Число транзакций
|
695
|
1521
|
776
|
365
|
Всего ЭКЮ
|
162820
|
590387
|
184267
|
102850
|
Хищения происходят как сторонними лицами, так и персоналом платежной системы. Если с последним еще можно справиться, проводя продуманную кадровую политику и используя систему контроля за персоналом, то с первым можно бороться, лишь повышая надежность носителей информации и средств телекоммуникаций.
Смарт - карты являются на сегодняшний день самым надежным вариантом пластиковой карты. Процессы двойного кодирования с использованием современных устойчивых криптографических алгоритмов, позволяют значительно снизить вероятность не санкционированных платежных транзакций. Но прогресс не стоит на месте, и уже сегодня ведутся разработки в области повышения надежности смарт - карт.
Примером таких работ может служить научно-исследовательский проект, спонсируемый Европейской Комиссией - программа Esprit (EP8670) под названием Cascade. Перевод данной аббревиатуры на русском выглядит как, способы идентификации портативных “разумных” устройств. Способ повышения надежности специалисты данной организации видят в увеличении объема памяти (для работ с большим количеством данных), и в наращивании разрядности процессора.
Данная организация ведет разработки технологии биометрической идентификации: по голосу, по отпечаткам пальцев.
При той открытости стандартов, к которой стремятся и которая требуется для совместимости оборудования и программного обеспечения, особое требование по безопасности возлагаются на операционные системы.
Проблемы безопасности платежных систем носят не только частный характер, а представляют собой национальные интересы. С этой позиции государству необходимо разрабатывать процедуры сертификации систем платежей с точки зрения безопасности. Основная контрольная функция должна принадлежать Центральному Банку.
В России уделяется недостаточное внимание разработки национальной концепции безопасности платежных систем. К основным проблемам национального характера можно причислить:
- отсутствие национального законодательства и других норм, регулирующих взаимоотношения между участниками платежных систем;
- отсутствие в Уголовном кодексе статей, предусматривающих наказание за незаконное использование пластиковых карт (ст. 187 УК регламентирует только один вид мошенничества - подделку);
- недостаток специалистов и специальных подразделений правоохранительных органов по борьбе с “карточным” мошенничеством;
- слабое взаимодействие между банками и правоохранительными органами;
- отсутствие единой национальной организации по противодействию мошенничеству с использованием пластиковых карт.
Риски, зависящие от вида оказываемых услуг, носят экономический характер. Оказывая услуги своим клиентам по краткосрочному кредитованию с помощью пластиковых карт, банк берет на себя все риски, присущие операциям кредитования. Основной вес приходится на кредитный риск - риск не возврата кредита в срок и не уплаты процентов. В операциях кредитования с использование пластиковых карт, кредитный риск носит более выраженный характер, учитывая небольшой размер кредита, неопределенность возникновения кредитных отношений.
Процентный риск также более выражен, по причине несовпадения сроков заключения договоров на обслуживание пластиковых карт и моментом выдачи кредита.
Для уменьшения кредитного риска при выдаче кредитной пластиковой карты, банк должен разрабатывать рейтинговые методы оценки кредитоспособности клиента. Принимая во внимание, что выдача кредитной карты, носит поточный характер, рейтинг клиента не сможет в должной мере застраховать банк от данного риска. Наиболее надежным способом оценки кредитоспособности в данном случае является история взаимоотношений заемщика с банком. Сюда входит и кредитная история клиента и наличие вкладов у клиента.
Банк более информирован о финансовом положении клиента, с которым он работает определенный промежуток времени, при привлечении клиента со стороны банк берет на себя повышенный риск. В условиях России использование рейтинговых методов оценки затруднено, из-за отсутствия надежных источников информации о клиенте.
Защищенность инвестиций коммерческого банка при создании платежной системы состоит из обоснованности затрат на создание платежной системы сегодня и неподверженность моральному износу завтра. С этих позиций коммерческий банк должен сделать выбор между современными технологиями, как правило, более капиталоемкими, и менее современными, но более дешевыми.
Степень важности перечисленных критериев равнозначна, и их взаимосвязь неделима. Но все же основным критерием для коммерческого банка, является конечный финансовый результат от деятельности созданной системы.
Первые пластиковые карты - Diners Club International.
и получило большое распространение в этой стране и за рубежом. Встроенная в карточку микросхема (чип) - является хранителем информации, которая записывается заранее, а затем может обновляться в момент совершения сделки. Это расширяет функциональные возможности карточки и повышает ее надежность.
На основании записанных в чипе сведений сделка по карточке может осуществляться в автономном режиме офф-лайн (off-line), т.е. без непосредственной связи с центральным процессором банковской компьютерной системы в момент совершения операции. Поскольку карточка сама хранит в памяти сумму средств, имеющихся на банковском счете, то авторизации здесь не требуется: если лимит превышен, сделка просто не состоится. Если же сумма операции меньше суммы лимита, то в момент ее совершения сумма свободного лимита будет уменьшена и записывается новый остаток, который может быть использован при следующей покупке.
При внесении денег на счет лимит восстанавливается, о чем делается новая запись в микросхеме.
Информационные возможности смарт карт гораздо шире чем, у карточек с магнитной полосой (8 тыс. бит по сравнению с 1 тыс. бит, с возможностью последующего расширения в 24 раза). Кроме того, достоинством ее является возможность оперативного обновления данных в памяти микропроцессора. Наконец, важным достоинством карточки является ее более высокая надежность.
Смарт карты имеют относительно высокую стоимость (в 5-7 раз выше по сравнению с магнитной карточкой). Кроме того, их введение в оборот в странах, которые с начала создания системы карточных расчетов ориентировались на магнитные карточки, затруднено. Там установлены десятки и сотни тысяч единиц оборудования, не приспособленного для считывания информации с микросхемы, а замена этого оборудования на устройства, совместимые со смарт-картами, потребовала бы крупных капиталовложений. Поэтому эксперты не ожидают быстрого внедрения смарт-карт в таких странах как США, Канада, Бельгия и т.д., хотя эксперименты по разработке международного стандарта на эти карточки проводятся крупнейшими карточными ассоциациями мира.
Разнообразие карточных систем отображено на рис 2.1.
В настоящее время платежные системы переживают модернизацию технологий расчетов, которая заключается в переходе с пластиковых карт на магнитном носителе, на смарт - карты. Причина модернизации состоит в технологических преимуществах этих карт, и возможностью расширения сферы использования платежных систем.
Оценки специалистов в области платежных систем о переходе на смарт - карты не однозначны, одни говорят о не своевременности отказа от магнитных карт и неоправданности расходов при переходе на смарт - карты, другие напротив видят в них панацею от всех бед. В одном их мнения совпадают - это в перспективах их использования. Вопросы возникают, как правило, из серии, когда начнется повсеместный переход на смарт технологии в глобальных масштабах, кто разработает и унифицирует стандарты на использование смарт - карт?
2.1.
VISA одна из первых глобальных платежных систем, обратившая внимание на перспективы смарт - технологий. Остальные глобальные платежные системы такие как, EuroPay, MasterCard также не стоят в стороне, активно работая в поисках форм сотрудничества для создания проектов на смарт - картах.
При поддержании определенных технических стандартов, объединение локальных платежных систем вполне реально, и вполне вероятно, что формирование глобальных платежных систем будет осуществляться на основе уже существующих локальных проектов.
Как это не удивительно звучит, пластиковые деньги пришли на российский, точнее советский рынок в конце 60-х годов. Первые пластиковые карты были Diners Club International. Представители этой системы подписали с Госкомимуществом в лице ВАО "Интурист" агентское соглашение на обслуживание в СССР этой платежной системы.
В 1974 году аналогичное соглашение было подписано с Visa International, в 1975 году с Evrocard, Master Card, в 1986 году с JBC International. Обслуживались по пластиковым карточкам исключительно иностранцы, форма обслуживания была скрытной и выполняла сервисные функции предоставляемые Интуристом своим клиентам.
Перемены, начавшиеся в нашей стране в середине восьмидесятых годов и ознаменовавшие собой начало приобщения банковской системы к западным стандартам, создали почву для появления пластиковых карточек.
В начале девяностых годов за освоение рынка пластиковых карт взялись российские коммерческие банки. В сентябре 1991 года “Кредобанк”, принятый в члены Visa International, начал эмиссию карточек VISA в России. Затем программы по выпуску карточек VISA в России начали осуществлять “Мост-банк”, “Инкомбанк” и “Мосбизнесбанк”.
А обслуживал платежи процессинговый центр "Интуркредиткард" (39% акций которого принадлежали “Кредобанку”). Данные представленные в таблице 2.1.18 ярко характеризуют интерес VISA к российскому рынку.
|
Число выпущенных
карточек (тыс)
|
Расходы держателей карточек тыс.дол.
|
Число транзакций
(тыс)
|
Средняя сумма транзакции
дол.
|
|
1995
|
1996
|
1995
|
1996
|
1995
|
1996
|
1995
|
1996
|
Россия
|
162
|
389
|
380047
|
586518
|
1423
|
2384
|
3,74
|
4,06
|
СНГ
|
17
|
60
|
51634
|
|
1210
|
|
23,43
|
|
Через некоторое время “Кредобанк”, “Мост-банк” и “Диалог-банк” (первые три банка, ставшие членами как Visa International, так и Европейинтернешнл) учредили другой процессинговый центр - “Кардцентр”. Однако вскоре, “Кредобанк” отделился от “Кардцентра” и учредил АО United Card Service с русским вариантом названия “КОКК - Компания объединенных кредитных карточек”.
В апреле 1992 года на российском рынке появилось АО "СТБ КАРД", учрежденное банком "Столичный", которое в январе 1993 года выпустило первую отечественную пластиковую карточку STB CARD.
Одной из коммерческих структур, активно занимающихся развитием услуг, связанных с внедрением электронных платежей, является “Мост-банк”. В июне 1992 года им были выпущены первые карточки "Еврокард-Мастеркард". В январе 1993 года была эмитирована карточка VISA. Затем появилась дебетовая карточка самого "Моста". Чуть позже "Мост-банк" стал акционером “КОКК” (49% акций).
А в феврале 1995 года группа “Мост ввела” в строй процессинговый центр "Мультикарта", который сертифицирован сразу двумя системами - "Визой" и "Еврокард-Мастеркард", и занимается как выпуском пластиковых карт, так и их обслуживанием.
Третьим расчетным центром, обслуживающим в основном карточки American Express, стала компания “American Express (Russia) LTD”.
Среди российских карточек, следует отметить, прежде всего, Union Card (эмитенты "Автобанк", "Инкомбанк") и СТБ-кард (банк "Столичный").
Опыт и сильные стороны карточной технологии на магнитном носителе, успешно используемых западными банками и компаниями, активно используется российскими коммерческими банками, для развития карточного дела, отдача от которого в полной мере будет позднее.
Россия, находившаяся в изоляции от мировых платежных систем вплоть до 90-х годов, получила уникальный шанс миновать технически не совершенный вариант организации платежных систем построенных на пластиковых картах, использующих в качестве носителя информации магнитную полосу. И стремление некоторых российских эмитентов организованно “перескочить” через этап повсеместной магнитизации карточек, чтобы сразу же развивать наиболее перспективные технологические схемы, понятен. Речь идет о проектах внедрения на внутри российском рынке “SMART-карт”.
Первые российские публикации, посвященные SMART-картам, как платежному средству, стали появляться в 1992 году.
В настоящее время ряд компаний и банков России ведут работы по созданию системы безналичных расчетов с использованием пластиковых карт, произведенных по SMART-технологии. После определенного изучения российских и зарубежных карточных систем, опыта их использования и условий функционирования на территории России технические специалисты пришли к необходимости построения карточной системы комбинированного (гибридного) типа. Такая карта несет в себе магнитную полосу (как обычная магнитная карта) и микропроцессор с памятью (как SMART-карта).
Таким образом, при сохранении всех достоинств SMART-карты, обеспечивается качественно лучшая защита от мошенничества, ибо появляется возможность, в случае необходимости, провести авторизацию карточки. Что немаловажно в современных российских условиях.
При этом также ставиться задача по обеспечению совместимости разрабатываемой системы с одной из уже существующих наиболее развитых российских систем (Union Card, STB Card и т.д.).
В последние время все чаще в банковских кругах возникает вопрос о создании национальной платежной системы построенной на смарт-картах. VISA проявляет в этом вопросе завидную бойкость. VISA в сентябре 1996 года объявила о создании в России масштабного проекта COPAC по введению в обращении универсальной платежной микропроцессорной VISA карточки, на платформе системы U.E.P.S. Первоначально VISA планировала создание пилотного проекта на базе Инкомбанка.
Но на фоне этого VISA вела переговоры с Сбербанком, который на сегодняшний день уже имеет платежную систему, на платформе U.E.P.S., по поводу ее сертификации.
Правовые особенности создания и функционирования платежной системы на картах
3.1.Правовые особенности создания и функционирования платежной системы на пластиковых картах.
На сегодняшний день самым перспективным карточным продуктом является смарт - карта, преимущества данной технологии для банков, в общем, и для Российских банков в частности, упоминались выше. Одной из крупных платежных систем функционирующих в Росси на смарт - картах, является система “СБ Кард”, разрабатываемая Сберегательным банком. Ее принципы основаны на технологиях фирмы U.E.P.S., являющихся одним из лидеров в данной отрасли.
Стандарты U.E.P.S. поддерживаются крупнейшей платежной системой VISA, что говорит о перспективности данного направления. Рассмотрим основные проблемы основания и функционирования платежных систем на смарт технологиях.
После определения технических параметров своей системы, выбора поставщиков оборудования и программного обеспечения, банку необходимо разработать нормативные документы и положения по платежной системе. Одной особенностью использования платежных систем заключаются в отсутствии сложившихся правовых норм, регулирующих их деятельность.
Если рассматривать платежную систему с правовой точки, то отношения между ее участниками строятся на договорной основе. Договора, регулирующие отношения между участниками системы прямо не предусмотрен действующим ГК. Но п1 ст1: ”Основные начала гражданского законодательства”, предусматривает свободу договора.
Таким образом, не смотря на отсутствие какого- либо Федерального законодательства и исходя из общего смысла ст. 434 ГК:” Если стороны договорились заключить договор в определенной форме, он считается заключенным после придания условной формы, хотя бы законом, для договоров данного вида такая форма не требовалась.” Для функционирования платежной системы необходимы следующие положения и договора:
- договор, регулирующий отношения между эмиссионным центром (осуществляющим процедуру эмиссии) и банком - эмитентом (выпускающим от своего имени пластиковые карты);
- договор между банками - эмитентами;
- договор между банком - экваэром и торговой точкой, обязующийся обслуживать пластиковые карты;
- договор между банком и клиентом, использующим пластиковую карту.
Разновидности этих договоров присутствуют в любых платежных системах. Учитывая специфику смарт карт данные договора должны содержать следующие пункты. Предметом договора между эмиссионным центром и банком - экваэром, является совместная деятельность направленная на выпуск и обслуживание смарт - карт.
В обязанности ЭЦ входит выпуск смарт - карт, а также, если в системе не существует процессингового центра, он может выполнять функцию взаиморасчетов. Расчеты за оказанные услуги ЦЭ так же могут быть предусмотрены данным договором. В договоре должны быть упомянуты процедуры безопасности и ответственности за нарушение данных процедур.
Обязательно должна быть предусмотрена процедура выхода из платежной системы. Функции эмиссионного центра может выполнять, как отдельный банк, так и банк обязанный нести функции эмиссионного центра на основании договора о совместной деятельности по формированию платежной системы. На основании последнего договора банки, могут передавать средства на формирование ЭЦ и участвовать в доходах от деятельности последнего.
Основные сложности взаимоотношения между ЦЭ и банком - эмитентом, лежат в разработке ценовой политики на проведение эмиссии, взаимозачетов, выполнения функций безопасности. Разработка гибкой системы оплаты, бесспорно, дает преимущества в конкурентной борьбе, а, следовательно, в этой гибкости заинтересованы все банки участники. Управление платежной системой становится камнем преткновения при разрастании системы. Проблема состоит в выборе схемы управления платежной системы.
Кто определяет ценовую политику, направления развития - банки создавшие систему, или все банки участники? Если все, то чем определяется вес “голоса” банка участника? На эти вопросы сложно дать однозначный ответ, все зависит от целей, которые ставит перед собой банк (банки) при создании платежной системы.
Либеральная ценовая политика, заложенная в договорах и положениях платежной системы, закладывает фундамент всей платежной системы.
Что касается процедур безопасности, регламентируемые выше названным договором, они должны включать процесс эмиссии, транспортировку смарт - карт, внесение в стоп лист утерянных или украденных карт. Если исполнение первых двух процедур, еще можно проконтролировать, то с третьей возникают определенные трудности. Внесение в стоп - лист стандартная процедура в платежных системах, но особенность смарт - карт состоит в том, что основная масса транзакций осуществляется в режиме off-line.
А, следовательно, установить ответственность о не внесении в стоп - лист тем или иным эмитентом, представляет определенную сложность (хотя я не говорю о том, что это невозможно). Для того чтобы упростить взаимоотношения и избежать ненужных трений, как с клиентами, так и между эмитентами, встает необходимость в создании единых фондов на возможные потери по операциям с пластиковыми картами. Для исключения возможностей злоупотребления отдельными банками, этими фондами, а также по причине законодательных ограничений на страховую деятельность банков, рациональнее использовать независимые страховые компании.
Страхование данного вида банковских операций, так же носит неопределенный характер в правовых отношениях, по причинам упомянутым выше.
Договор между банками - эмитентами, может явно и не существовать, а его основное назначение в виде установления процента комиссии за обслуживание карт другого эмитента, может устанавливаться определенным соглашением между банками участниками. Наличие и особенности данного договора определяются схемой управления.
Договор между банком - экваэром и торговой точкой, регулирует отношения возникающие при обслуживании торговой точкой пластиковых карт. Основной обязанностью торговой точки является безусловное принятие карт покупателей в качестве платежного средства, и обслуживание их в тех же ценах. Банк по этому договору обязуется компенсировать средства торговой точке в определенное время после инкассации торговой карты. В данном договоре предусматривается процент с проведенной транзакции выплачиваемый торговой точкой.
В договоре так же необходимо предусмотреть принудительную инкассацию карты с целью записи на нее, стоп - листа, и ответственность за несвоевременную инкассацию, при проведении операций с картами внесенными в стоп лист.
Договор между банком и клиентом, использующим пластиковую карту в качестве платежного средства, должен предусматривать:
- условия выдачи карты, страховой взнос, тариф за обслуживание;
- обязательства клиента соблюдать правила пользования картой;
- обязательства банка гарантирующие сохранность средств клиента и своевременное проведение операций по карте клиента;
- ответственность за утерю карты, и проведения в результате этого не законных действий с данной картой.
Российское Гражданское законодательство не предусматривает норм направленных на защиту интересов клиентов использующих пластиковые карты, в случае хищения средств клиента. В связи с этим клиент, подписавший договор, не предусматривающий компенсации средств в случае хищения, остается полностью не защищенным. Одним из самых защищенным пользователем пластиковых карт можно считать гражданина США, где хищения свыше 50 $ полностью ложатся на эмитента.
Разработка норм защищающих пользователей пластиковых карт, повысит доверие клиентов к достаточно новым услугам подобного рода в России.
Определенные особенности возникают при обслуживании банковских карт юридических лиц, так называемые корпоративные карты. Основные проблемы заключаются в праве распоряжения счетом, и в соблюдении очередности платежа. Распоряжение счетом, право первой и второй подписи регламентируется Уставом предприятия.
Но пользование картой далеко не всегда ограничивается сферой лиц имеющих право распоряжением счетом. Практика использования смарт - карт показывает, что сфера их применения лежит в основном в осуществлении небольших текущих платежей сотрудниками фирм. (чаще всего используются на заправках). Передовая сотруднику карту фирма полностью доверяет находящиеся на ней средства сотруднику. По сути дела она передает денежные средства подотчет. Передача подотчет должна сопровождаться подтверждением суммы подписью сотрудника, но это безналичные средства и, следовательно, сотрудник не уверен в точном наличии средств на карте.
Поэтому организации для учета данного вида операций проще выдавать клиенту пустую смарт - карту, перед этим перечислив с р/с, на связанный счет карты денежные средства в лимите установленным руководством для сотрудника. При этом осуществляется проводка Д56 К51. Перевод на смарт - карту средств осуществляется сотрудником самостоятельно, с одновременной заменой ПИН кодов на списание и зачисление. На основании выписки со связанного счета по карте, предприятие осуществляет проводку на выдачу средств в подотчет сотруднику распоряжающимся картой Д71 К56.
При использовании средств сотрудником бухгалтерия предприятия на основании выписки со счета карты проводит списание средств из подотчета на соответствующие счета.
Правовые особенности существования платежных систем.
Современная электронная техника и особенно автоматизированные каналы связи придают новое качество понятию срочности платежа: создается возможность соединить сроки отдельных стадий платежа воедино. Тем самым принцип срочности платежа перерастает в принцип оптимальной скорости платежа. Например, при расчетах за товар скорость платежа определяется взаимозависимыми показателями времени получения товара покупателем, срока его оплаты и времени зачисления средств на счет поставщика.
Оптимальная скорость безналичных расчетов достигается совпадением трех перечисленных показателей.
Установление очередности платежей обусловлено потребностью регулирования цепной реакции кредита. Кредиту свойственна прямая цепная реакция, когда банковская ссуда, предоставленная предприятию-покупателю, направляется на оплату счетов предприятия, по всей цепи взаимосвязанных расчетов. Наряду с прямой реакцией существует и обратная цепная реакция кредита, когда предприятие по каким-либо причинам приостановило платежи по срочным обязательствам и эта просроченная задолженность распространяется по цепи от предприятия к предприятию. В этих условиях регулирование очередности платежей издавна является одним из острых вопросов денежно-кредитной политики.
Разрешение проблемы очередности платежей лежит в делении платежей на текущие и периодические. Коренной недостаток календарной очередности платежей состоит в том, что она не разрешает противоречий между текущими и периодическими платежами.
Все рассмотренные принципы безналичных расчетов взаимодействуют с принципом повышения эффективности затрат на их ведение. С позицией коммерческого банка эффективность затрат на ведение безналичных расчетов определяется соотношением затрат на эту цель и суммы доходов от услуг, оказываемых клиентам по их расчетным операциям. На макроэкономическом уровне представление об эффективности затрат на ведение безналичных расчетов дает коэффициент, который определяется делением суммы затрат на сумму вложений средств в расчеты.
Следовательно, коэффициент эффективности затрат на ведение безналичных расчетов прямо пропорционален величине необходимых затрат и обратно пропорционален сумме оборотных средств хозяйства и банков, отвлеченных в расчеты.
Принцип повышения эффективности затрат на ведение безналичных расчетов пронизывает все другие принципы безналичных расчетов. И это естественно: этот принцип, как и другие принципы, основан на категории времени, а каждый выигрыш во времени трудно переоценить.
В самом общем виде национальную систему безналичных расчетов можно подразделить на следующие логические составляющие:
- система Центрального банка;
- система негосударственных клиринговых и расчетных палат (банков);
- система внутрибанковских межфилиальных расчетов.
В свою очередь системы негосударственных клиринговых и расчетных палат (банков) имеют еще три крупных компоненты:
- платежные системы международных расчетов;
- платежные системы расчетов по пластиковым карточкам;
- платежные системы взаиморасчетов участников фондового рынка.
Их особенность заключается в том, что они создаются и регулируются не Центральным банком, а коммерческими организациями: международные расчеты - управляющими органами соответствующих расчетных систем (например, SWIFT), расчеты по пластиковым карточкам - органами платежных систем, взаиморасчеты участников фондового рынка - органами, регулирующими данный рынок. Кроме того, они имеют довольно значительные технологические особенности.
Перечисленные компоненты имеются сейчас практически в любой стране мира, за исключением самых слаборазвитых. Есть они и у нас. Необходимо иметь в виду, что каждая компонента, как правило, не является чем-то единым, а состоит из множества взаимодействующих между собой юридических лиц, технологических комплексов, правил, протоколов и т.п. Обычно исключением из этого правила бывает система Центрального банка, но у нас она пока что едина только с точки зрения ведомственной принадлежности: ЦБ РФ является одним юридическим лицом, и все его учреждения представляют собой подразделения этого юридического лица.
В системе ЦБ РФ едины только правила проведения платежей, утвержденные ведомственными инструкциями. Технологии же, регламенты и программно-аппаратные комплексы, по словам многих представителей Центробанка, еще сейчас являют собой довольно пестрый “зоопарк”.
Сущность безналичных расчетов и платежных систем лежит в области определения денег и их функций. С экономической точки зрения природа безналичных и наличных денег одинакова - это агрегат М1. В свое время Милтон Фридман определил деньги, как социальную условность, а сегодня к этому можно добавить, что деньги это еще информационная условность (средства платежа превращаются в чистую информацию, хранимую на разных носителях). Создание банками платежных систем не дают им возможность получать эмиссионный доход, он остается прерогативой государства.
Но государство дает на откуп, за выполнение расчетно-платежных функций, возможность извлекать коммерческим банкам доход из обслуживания денежной массы.
Можно дать определение банковским платежным системам с точки зрения их экономической сущности. С этой позиции, банковские платежные системы представляют собой часть системы безналичных расчетов, основанной на собственных принципах, способах платежа и формах расчетов и активно взаимодействующей со всей системой безналичных расчетов.
1.2.Правовые особенности существования платежных систем.
Для рассмотрения непосредственно правовых особенностей существования системы безналичных расчетов необходимо разобраться в сущности правоотношений, возникающих при осуществлении расчетных, платежных и иных операций. Важно определить объем прав и обязанностей, приобретаемых их субъектами, пределы ответственности, а также особенности объекта.
В самом широком смысле под объектом любого правоотношения понимается то, по поводу чего субъекты вступают в правоотношения, т. е. то, по поводу чего они становятся носителями взаимных прав и обязанностей. В силу установленной законодательством системы денежного обращения "расчеты между юридическими лицами, а также расчеты с участием граждан, связанных с осуществлением ими предпринимательской деятельности, производятся в безналичном порядке" (п. 1 ст. 861 ГК РФ).
В безналичных расчетах переход денег от плательщика к получателю осуществляется не путем их непосредственной передачи, а путем денежных переводов через учреждения банка. Такой переход не следует связывать только с расчетами в форме платежных поручений: он имеет место и при расчетах посредством аккредитива, расчетного чека, акцепта платежного требования, т. е. при любой форме расчетов.
Поскольку при несбалансированной экономике движение больших наличных денежных масс может вызывать кризисные ситуации, переход денежных средств из безналичной формы в наличную довольно жестко контролируется государством, и искусственно создаются и законодательно закрепляются условия для преимущественного хранения денежных средств в безналичной форме на счетах в кредитных организациях. Безналичные денежные средства весьма подвижны: для уплаты (передачи) денег достаточно списать сумму задолженности со счета плательщика и зачислить ее на счет получателя, чтобы таким способом передать денежный эквивалент стоимости поставок, работ, услуг.
Объектом расчетных правоотношений являются деньги, подлежащие уплате за выполненные работы, поставленную продукцию, оказанные услуги. Но, учитывая, что характерной чертой безналичных расчетов является отсутствие передачи денег плательщика непосредственно получателю, возникают такие вопросы, как "что следует понимать под термином "безналичные деньги"?" и "являются ли они самостоятельным объектом расчетных правоотношений?".
Сам по себе способ безналичных расчетов как бы не создает новых средств платежа - "безналичных денег", которые следовало бы включить в понятие объекта расчетных правоотношений. Их объектами остаются деньги в виде денежных знаков, причем не только в идеальном представлении, когда они используются для расчетов или как мера стоимости, но и реально, в виде банковских и казначейских билетов, когда в предусмотренных законом случаях банк выдает их владельцу счета на основании чеков.
Сущность денег при переходе их в безналичную форму не нарушается. Более того, все функции денег, сформулированные современными экономистами, в полном объеме выполняются и безналичными деньгами.
Развитие техники привело к появлению новых терминов - "электронные деньги" и "электронные расчеты". С этим связан следующий эволюционный шаг денежного обращения, и объектом этих подобных расчетов по-прежнему являются те же безналичные деньги. "Электронные деньги" являются подвидом безналичных денег и имеют все характеристики, присущие безналичным деньгам. Знаки стоимости, отраженные на электронных носителях информации, находятся в прямой зависимости не только от специального субъекта - банка, но и от целой системы обеспечения их оборота, включающей технические средства приема, обработки и хранения информации (компьютеры, базы данных, специальное программное обеспечение поддержки платежных операций, каналы связи и такие средства проведения платежных и расчетных операций, как банкоматы, платежные терминалы и пластиковые карточки).
Способы проведения расчетов
Соблюдение очередности платежей серьезная проблема при использовании смарт - карт. Проблему очередности можно решить технически, запретив операции по снятию наличности и по зачислению средств на связанный счет наличными деньгами. Проводя зачисление средств на счета пластиковых карт через расчетный счет организации, банк выполняет процедуру очередности платежа, а при переводе средств на пластиковую карту делает невозможным дальнейшее соблюдение очередности платежа.
Действующий ГК признает существование такого понятия, как обычай делового оборота ст. 5. п.1. Это предоставляет банкам огромные полномочия по внедрению новых видов услуг. При составлении выше названных договоров банк должен основываясь на понятии аналогии права, т.е. в зависимости от услуг предоставляемых с помощью пластиковой карты банк должен обращаться к правовым нормам, регламентирующим сходные услуги. Так договор между клиентом и банком на обслуживание пластиковых карт должен в первую очередь составляться на основе договора банковского счета, а договор на выдачу кредитной карты должен содержать обязательные условия кредитного договора.
Проблема определения безналичных денег с правовой точки зрения, не решена окончательно юристами. Появление новых носителей безналичных денег определяет новые грани в этих проблемах и требует внимания со стороны правоведов.
3.2. Способы проведения расчетов.
Организация взаиморасчетов между участниками важный момент при формировании платежной системы. От нее завесит как надежность всей системы, так и оперативность платежей. Схема организации взаиморасчетов между банками-участниками карточной платежной системы, построенной на основе смарт - карт может осуществляться несколькими методами.
Приведем пример иерархической схемы взаиморасчетов используемой в системе КБ КАРД. На 3.1. изображена упрощенная схема много банковской карточной платежной системы, построенной по строго иерархическому принципу. Вершиной системы является Расчетный Банк платежной системы, в котором Головные Филиалы банков-участников имеют корреспондентские счета, предназначенные для проведения взаиморасчетов по операциям с карточками.
Каждый из Головных Филиалов, в свою очередь, является расчетным банком для своих Филиалов, которые также имеют соответствующие корреспондентские счета в Головном Филиале для проведения взаиморасчетов.
3.1.
АРМ автоматизированное рабочие место.
Таким образом, устанавливается следующее правило: единый Расчетный Банк системы проводит взаиморасчеты только между Головными Филиалами банков по сводным суммам взаимных обязательств, а каждый из Головных Филиалов проводит взаиморасчеты между своими Филиалами.
При такой схеме АРМ МБР (межбанковские расчеты) устанавливается в Филиалах банков, где находятся серверы участников КБ КАРД, в Головных Филиалах банков (независимо от того - есть ли карточная система в Головном Филиале или нет), а также в Расчетном банке системы. Информационный поток между АРМ МБР имеет иерархический древовидный характер: каждый филиал имеет одну связь с вышестоящим Головным Филиалом, каждый Головной Филиал имеет одну связь с Расчетным Банком платежной системы. При этом в Головных Филиалах на вышестоящий уровень уходят только те транзакции, которые не относятся к Филиалам - эмитентам данного банка.
В результате обработки транзакций, прошедших через Расчетный Банк, средствами АРМ МБР производится расчет чистой позиции участников системы взаиморасчетов - Головных Филиалов и формируются платежные документы, на основании которых выполняется проводки по корреспондентским счетам. После исполнения таких проводок в Головные Филиалы по двум каналам направляется информация о произошедшем расчете:
- первый канал - традиционная для банка выписка по корреспондентскому счету из вышестоящего банка, а также уведомления о кредитовании и/или дебетовании, причем в этих документах операция по взаиморасчетам карточной системы может проходить одной позицией с указанием итоговой суммы;
- второй канал - уведомление об оплате транзакций, поступающее от АРМ МБР Расчетного Банка в АРМ МБР Головного Филиала.
После того, как Головные Филиалы получают уведомления об оплате, в них средствами АРМ МБР также производится расчет чистой позиции участников системы взаиморасчетов своего уровня - Филиалов банков и формируются платежные документы, на основании которых выполняется проводки по их корреспондентским счетам. После исполнения проводок в Филиалы, также по двум каналам, направляется информация о произошедшем расчете.
В Филиалах банков поступившая информация обрабатывается на АРМ МБР по аналогии с вышестоящими уровнями системы, однако, вычисления чистой позиции и формирования документов по взаиморасчетам не производится: поступающие сверху уведомления об оплате транзакций преобразуются в дебетовые и кредитовые уведомления, которые заносятся в журналы операционного дня системы управления платежной системы.
На 3.2 изображена упрощенная схема многобанковской карточной платежной системы, построенной по комбинированному принципу: Головные Филиалы банков-участников карточной платежной системы выполняют функции расчетных банков для своих Филиалов по аналогии с предыдущей схемой, а взаиморасчеты между Головными Филиалами производятся напрямую, например, через корреспондентские счета в Центральном Банке с использованием платежных поручений.

3.2.
При такой схеме АРМ МБР устанавливается в Филиалах банков, где находятся серверы участников КБ КАРД, а также в Головных Филиалах банков (независимо от того - есть ли карточная система в Головном Филиале или нет). Информационный поток между АРМ МБР Филиалов и Головными филиалами имеет иерархический характер: каждый Филиал имеет одну связь с вышестоящим Головным Филиалом. Связь между Головными Филиалами банков строится по принципу “каждый с каждым”.
В результате обработки транзакций, прошедших по перекрестным связям между Головными Филиалами, средствами АРМ МБР производится построение платежных поручений, на основании которых выполняется взаиморасчет верхнего уровня системы. АРМ МБР также производит расчет чистой позиции нижестоящих участников системы взаиморасчетов - Филиалов банков, и формирует платежные документы, на основании которых выполняется внутренние проводки по корреспондентским счетам. Совместная работа Головных Филиалов и Филиалов строится по аналогии с предыдущей схемой.
В частном случае, взаиморасчеты всех банков-участников карточной платежной системы могут строиться по принципу “каждый с каждым”. Схема организации взаимодействия банков при этом аналогична схеме взаимодействия Головных Филиалов по предыдущей схеме, АРМ МБР каждого банка обеспечивает процедуры обмена сообщениями с другими банками, строит платежные поручения (или требования), однако никаких операций по взаиморасчетам между нижестоящими участниками не выполняет, поскольку нижестоящие участники отсутствуют.
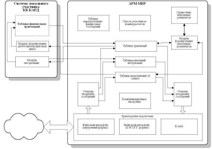
Для того чтобы не быть голословными приведем краткое пояснение к структуре АРМ МБР. (см 3.3.) Основными функциональными компонентами АРМ являются:
- таблицы настроечной информации, включающие в себя список участников взаиморасчетов, таблицу маршрутизации финансовых сообщений, коммуникационные настройки, справочник платежных реквизитов участников взаиморасчетов;
- таблицы транзакций, квитанций авторизации, уведомлений об оплате;
- транспортная подсистема, включающая в себя модули поддержки файлового интерфейса (формат BGS и S.W.I.F.T.), интерфейса MS E-mail;
- очереди входящих и исходящих сообщений;
- модуль формирования платежных документов.

3.3.
Ключевыми понятиями АРМ МБР являются “участник взаиморасчетов”, “таблица маршрутизация финансовых сообщений” и “глобальный идентификатор участника расчетов”.
- Участник взаиморасчетов - это субъект, участвующий в процедурах взаиморасчетов на данном уровне системы.
В частном случае, участник взаиморасчетов может не быть эквайрером (эмитентом) КБ КАРД.
- Таблица маршрутизации финансовых сообщений - структура данных, определяющая список банков-участников КБ КАРД, закрепленных за каждым из участников взаиморасчетов данного уровня.
- “Глобальный идентификатор участника расчетов” - параметр, позволяющий однозначно идентифицировать каждого из участников взаиморасчетов в рамках всей платежной системы. Данный параметр используется для обозначения отправителя и получателя сообщений.
Каждый уровень иерархической системы межбанковских расчетов имеет собственные списки участников взаиморасчетов и таблицы маршрутизации. Например, участниками взаиморасчетов в Расчетном банке платежной системы являются Головные Филиалы банков. Таблица маршрутизации Расчетного банка закрепляет за каждым Головным Филиалом список всех его участников (Филиалов).
Участниками взаиморасчетов Головных Филиалов являются, с одной стороны, собственно Филиалы и, с другой стороны - Расчетный банк.
Бухгалтерский учет в коммерческом банке операций по банковским картам ведется на счетах второго порядка согласно приказа ЦБ РФ от 18.06.97 N 02-263 "ОБ УТВЕРЖДЕНИИ ПРАВИЛ ВЕДЕНИЯ БУХГАЛТЕРСКОГО УЧЕТА В КРЕДИТНЫХ ОРГАНИЗАЦИЯХ, РАСПОЛОЖЕННЫХ НА ТЕРРИТОРИИ РОССИЙСКОЙ ФЕДЕРАЦИИ, И ДОПОЛНЕНИЙ И ИЗМЕНЕНИЙ К ПЛАНУ СЧЕТОВ БУХГАЛТЕРСКОГО УЧЕТА В КРЕДИТНЫХ ОРГАНИЗАЦИЯХ РОССИЙСКОЙ ФЕДЕРАЦИИ".К счетам второго порядка открываются лицевые счета исходя из количества карт.
Организация взаиморасчетов между участниками важный момент при формировании платежной системы. В систему расчетов входит: организация расчетов на межбанковском уровне; межфилиальном уровне; внутрибанковском; организация непосредственно обслуживания пластиковых карт. Организация расчетов в платежных системах на пластиковых картах имеет свои особенности, особенно это, становится заметно на современном этапе. Сегодня, когда платежные системы банков переходят на работу в реальном времени, постепенно отказываясь от пакетной обработки данных, системы с использованием пластиковых карт идут в обратном направлении.
Самые перспективные системы на смарт - картах позволяют проводить платежные транзакции в режиме off-line, что позволяет значительно повысить экономическую эффективность функционирования платежных систем. И очевидно, что эта тенденция сохранится при обслуживании пластиковыми картами розничного товарооборота, на который приходится основная масса платежных транзакций, как в количественном, так и в суммовом выражении.
1 Бломштейн Г.Д. Саммерс. Б.Д.
Банковское дело и платежная система. М., 1995. С. 2.
2 Березина М.П., Крупнов Ю.С. Межбанковские расчеты. М.: Финстатинформ, 1994.
С.4.
3 Банковское дело / Под ред. О.И. Лаврушина.
М., 1992. С.107-110.
4 Роде Э. Банки, биржи, валюты современного капитализма. М.: Финансы и статистика, 1986. С. 215.
5 Кредит и обращение денег в сфере безналичного оборота / Под ред. Ц.М. Хайтиной.
Саратов, 1971. С. 3.
6 Косой А.М. Управление безналичным платежным оборотом. М.: Финансы, 1978.
С. 11.
7 Шварц Г.А. Безналичный оборот и кредит в СССР. М.: Госфиниздат, 1963.
С.49.
8 Ван ден Берг П. Операционная и финансовая структура платежной системы. М., 1995. С. 19.
9 Там же. С. 20.
10 Там же. С. 22.
11 Бломштейн Г.Д. Саммерс. Б.Д.
Банковское дело и платежная система. М., 1995. С. 17.
12 Деньги и кредит - 1990 №2 с 36.
13 Пол Пенроуз Электронные деньги и отмывание денег //Банковские технологии №1, 1996г.
14 Гражданское право Росси. Курс лекций. М., 1997. с.415
15 Положение о безналичных расчетах в Российской Федерации. Письмо Центрального банка Российской Федерации от 9 июля 1992 года №14.
16 Статьи 28, 30 Федерального закона "О банках и банковской деятельности" от 3 февраля 1996 года № 17-ФЗ.
17 М.П. Березина Построение платежных систем за рубежом //Банковское дело, 1997, №8 с.35
18 Банковские технологии, №4, 1997г.
19 А. Жданов Стандартизация карточных технологий в России // Банковские технологии №3 1996
20 Мир карточек 1998г. №2
Виды платежных систем и их характеристики
Появление электронных носителей стоимости породило новые правовые проблемы, при неизменной экономической природе новоявленных денег. Эти проблемы лежат в области “отмывания” денежных средств теневой экономики и прав человека. Существует специальная межправительственная комиссия по финансовым операциям (Financial Action Task Force, FATF) из представителей 26 стран изучает возможность использования систем электронных денег для отмывания незаконных доходов.
Она хочет убедиться, что создаваемые системы электронных денег позволят банкам выявлять подозрительные сделки и сообщать о них.13 В опубликованном докладе юридической группы по вопросам информационных технологий при Лондонском университете содержится предостережение, что развитие систем электронных денег чревато опаснейшими последствиями. В частности, в этом докладе говорится, что способы регистрации операций в действующих системах электронных денег существенно облегчают отмывание денег и уклонение от уплаты налогов. В этом докладе предлагается организовать систему агентств для контроля частных телефонных сообщений с целью выявления операций с электронными деньгами.
Если бы даже такой контроль был возможен, то получаемые данные, включая номера телефонов отправителя и получателя, необходимо было бы переправлять в полицейские компьютеры. А это затрагиваются права человека на неприкосновенность частной жизни и защиту данных, так что эти вопросы еще необходимо рассматривать с правовой точки зрения.
Платежные системы создаваемые банками для проведения расчетно-кредитных операций, регулируются Гражданским кодексом. Он устанавливает наиболее общие правила для кредитных и расчетных обязательств, которые не могут быть изменены другими законами и иными правовыми актами. Важным является предоставление сторонам при заключении соглашений в области кредитных и расчетных обязательств права строить свои взаимоотношения, основываясь не только на законе и банковских правилах, но также с учетом обычаев делового оборота, применяемых в банковской практике14.
В отличие от банковских правил, закрепляющих императивный характер отношений при осуществлении безналичных расчетов, ГК расширил возможность сторон устанавливать права и обязанности по своему усмотрению.
Законодательство не устанавливает определенных норм для создания, эксплуатации, управления, определения ответственности в платежных системах. Все отношения в платежных системах носят договорной характер. Определенно тот правой пробел, сложившийся в данной области, будет решен.
И учитывая заинтересованность государства в контроле за платежными системами, можно предположить, что дальнейшее развитие нормотворчества в этой области будет идти по пути повышения контроля и ответственности.
1.3.Виды платежных систем и их характеристики.
При проведении межбанковских расчетов используются три основных метода. Первый метод состоит в кредитовании и дебетовании счетов, открытых банками в центральном банке, который является специализированным банком банков. Второй метод включает кредитование и дебетование межбанковских платежей на счета "ностро" и "лоро", открываемые банками на двусторонней основе.
Третий метод - кредитование и дебетование счетов, открытых в банке-корреспонденте, являющемся третьей стороной, либо в специализированной расчетной или клиринговой организации.
Данные методы проведения межбанковских платежей обусловлены структурой платежной системы, характерной для всех стран с двухуровневой банковской системой. На 2.1 показаны отношения и связи между основными участниками платежной системы. В число основных участников платежной системы входят небанковские учреждения, коммерческие банки и центральный банк.
Переводимые средства включают: обязательства центрального банка на руках у населения и небанковских учреждений (банкноты); депозиты коммерческих банков в центральном банке (резервные остатки коммерческих банков); обязательства банков по отношению к "небанковской публике" (банковские депозиты); и обязательства банков перед другими банками (депозиты банков-корреспондентов).
Небанковское учреждение
|
|
Небанковское учреждение
|
Активы:
- наличность
- банк. Депозиты
- депозиты в ЦБ
|
|
|
Активы:
- наличность
- банк. Депозиты
- депозиты в ЦБ
|
|
Коммерческий банк
|
|
Коммерческий банк
|
Активы:
- наличность
- депозиты в ЦБ
- депозиты в КБ
- требования к КБ
|
Обязательства:
- небанковские депозиты
- депозиты КБ
- ссуды от ЦБ
|
|
Активы:
- наличность
- депозиты в ЦБ
- депозиты в КБ
- требования к КБ
|
Обязательства:
- небанковские депозиты
- депозиты КБ
- ссуды от ЦБ
|
|
Центральный банк
|
|
|
|
Активы:
- требования к банкам
|
Обязательства:
- банкноты
- резервы банков
|
|
|
2.1. Участники платежной системы, потоки сообщений и переводимые средства.
В Российской Федерации расчеты между предприятиями проводят коммерческие банки и другие кредитные учреждения15. Расчеты между банками на территории России осуществляются через расчетно-кассовые центры, созданные Центральным банком России в республиках, краях, областях, городах, районах. Кроме того, банковские операции по расчетам могут осуществляться и по корреспондентским счетам банков, открываемым ими друг у друга на основе межбанковских соглашений.
Отношения между Банком России, кредитными организациями и их клиентами осуществляются на основе договоров16. Взаимоотношения РКЦ, как структурного подразделения Центрального банка Российской Федерации, со своими клиентами, в том числе и с обслуживаемыми кредитными организациями, строятся также на договорной основе.
Взаимоотношения между коммерческим банком и ЦБ в сфере расчетов осложнены беспроцентным хранением средств и техническим несовершенством платежной системы ЦБ. В этой ситуации КБ старается минимизировать остаток на своем корсчете, что в конечном итоге влияет на уменьшение его ликвидности.
Процесс проведения электронных платежей в системе Центробанка пока далек от совершенства. Само понятие “электронный документ”, принятое во всем мире, в том числе в подавляющем большинстве развивающихся стран, у нас существует теоретически, но не закреплено в законодательстве.
Надо отдать должное руководству ЦБ РФ: оно очень серьезно занимается сейчас всеми аспектами своей системы банковских расчетов.
Приоритетная задача, предусмотренная Центробанком в его концепции развития, - это создание системы брутто-расчетов в реальном времени (RTGS). Завершена работа над планом ее реализации. Цель ее создания - установить единый для всех регионов регламент работы системы, единые правила расчетов и единую технологию их проведения.
Внедрение системы планируется начать в первых месяцах 1998 г. в Московском регионе - наиболее развитом в технологическом отношении, наиболее восприимчивом к перспективным технологиям и сосредоточившем наибольшую часть рынка (примерно 80% всех платежей и расчетов).
Развертывание системы расчетов в реальном времени должно перевернуть всю “пирамиду” межбанковских расчетов в регионах, поставив ее на основание. Сейчас банки работают в традиционной и всем привычной технологии пакетной обработки. Прежде чем провести расчеты через учреждение Центробанка, они фактически осуществляют “неявный клиринг”, зачитывая взаимные обязательства.
Все это происходит на достаточно шаткой правовой базе; банки чаще всего даже не имеют соответствующих договоров об открытии 761 счета. Дальше результаты клиринга формально проводятся через учреждения Центробанка, причем действует та же схема: клиринг на уровне региона - проведение межрегиональных платежей, клиринг на межрегиональном уровне - проведение платежей в ЦБ.
Архитектура системы расчетов в реальном времени будет двухуровневой: на уровне регионов расчеты будут замыкаться на один, максимум два расчетных центра Центробанка (скорее всего, они будут создаваться на базе нынешних ГРКЦ), а на межрегиональном уровне эти центры будут работать через Федеральный расчетный центр (ФРЦ).
Создание национальной платежной системы необходимо, но также не стоит забывать о мировом опыте при создании таких систем. Национальная платежная система, сформированная на современных банковских технологиях, является базисом при проведении расчетных операций в экономике, но не должно быть монополии одной платежной системы. Мировой опыт показывает нам, что рядом могут существовать различные системы, создаваемые кредитными и не кредитными организациями. В современных платежных системах за рубежом центральные банки играют ключевую роль.17
Во-первых, они организуют системы перевода средств, специально разрабатываемые для обеспечения валовых расчетов в режиме реального времени по отдельным межбанковским обязательствам, и управляют ими. При этом ЦБ непосредственно отвечают за управление кредитными рисками.
Во-вторых, предоставляют услуги по межбанковским расчетам системам многосторонних зачетов взаимных требований, выявляемые в конце определенного расчетного цикла.
В-третьих, ЦБ выполняют функции контроля и надзора за платежными системами.
В-четвертых, ЦБ предоставляют кредиты на завершение расчетов.
Очевидно, что создание оптимального механизма функционирования платежных систем, должен основываться на активном диалоге между частным и государственным секторами, а также на эффективности официального надзора.
Платежные системы создаваемые коммерческими банками можно подразделить на системы переводов крупных сумм, системы, построенные на использовании пластиковых карт и совсем новые системы, построенные на цифро-наличных деньгах, платежи по которым проходят через интернет. Основные модели платежных систем за рубежом представлены в приложении (таблице №2).
Принципы построения перечисленных выше платежных систем сходны, при видимом технологическом различии проведения расчетов. Эти принципы полностью формируются на основе принципов безналичных расчетов упомянутых в 1.1..
Российская банковская система смело перешагнула через многие этапы развития банковских систем западных стран, и в настоящее время уровень автоматизации отдельных российских банков просто поражает наших умудренных вековым опытом западных коллег. Для организации систем передачи информации о платежах и расчета по ним в России были применены наиболее прогрессивные (из возможных) технологий. Особенно явно это проявилось в создании платежных систем построенных на использовании пластиковых карт, которые более подробно будут рассмотрены в последующих главах.
Безналичный оборот: Деньги - Расчеты - Карты